Selective Removal of Malachite Green Dye from Aqueous Solutions by Supported Liquid Membrane Technology
Abstract
:1. Introduction
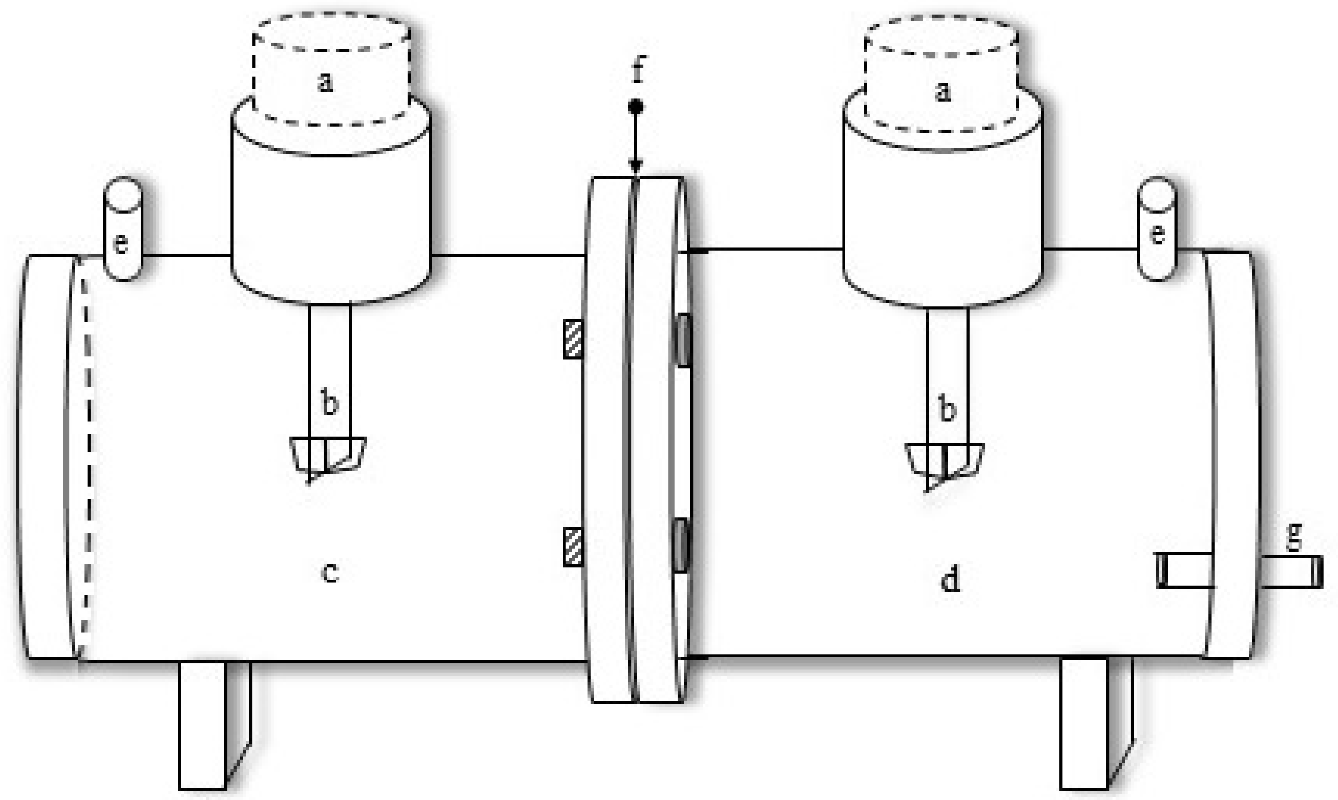
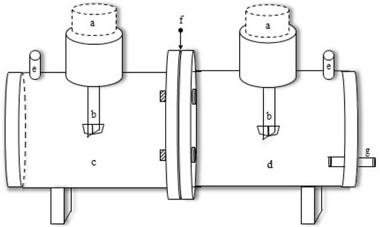
2. Materials and Methods
3. Results and Discussion
3.1. Role of pH in the Feed Chamber
3.2. Effect of Acid Concentration in the Stripping Chamber
3.3. Effect of the Dye Concentration
3.4. Effect of Mixing Stirrer Speed
3.5. Life of Vegetable Oil-Supported Liquid Membrane
3.6. Permeation Mechanism
4. Conclusions
Author Contributions
Funding
Conflicts of Interest
References
- Raval, N.P.; Shah, P.U.; Shah, N.K. Malachite green a cationic dye and its removal from aqueous solution by adsorption. Appl. Water Sci. 2017, 7, 3407–3445. [Google Scholar] [CrossRef]
- Ashraf, M.W. Removal of methylene blue dye from wastewaters by using supported liquid membrane technology. Pol. J. Chem. Technol. 2016, 18, 26–30. [Google Scholar] [CrossRef]
- Muthuraman, G.; Palanivelu, K. Transport of textile dye in vegetable oils based supported liquid membrane. Dye Pigment. 2006, 70, 99–104. [Google Scholar] [CrossRef]
- Venkateswaran, P.; Palanivelu, K. Recovery of phenol from aqueous solution by supported liquid membrane using vegetable oils as liquid membrane. J. Hazard. Mater. 2006, 131, 146–152. [Google Scholar] [CrossRef] [PubMed]
- Forgács, E.; Cserháti, T.; Oros, G. Removal of synthetic dyes from wastewaters: A review. Environ. Int. 2004, 30, 953–971. [Google Scholar] [CrossRef] [PubMed]
- Banat, I.M.; Nigam, P.; Singh, D.; Marchant, R. Microbial decolorization of textile-dye containing effluents: A review. Bioresour. Technol. 1996, 58, 217–227. [Google Scholar] [CrossRef]
- Hasnat, M.A.; Siddiquey, I.A.; Saiful, I.S.M. Photodegradation of malachite green in the aqueous medium. Indian J. Chem. Sect. A 2003, 42, 1865–1867. [Google Scholar]
- An, S.Y.; Min, S.K.; Cha, I.H. Decolorization of triphenylmethane and azo dyes by Citrobacter sp. Biotechnol. Lett. 2002, 24, 1037–1040. [Google Scholar] [CrossRef]
- Oladoja, N.A.; Aliu, Y.D. Snail shell as coagulant aid in the alum precipitation of malachite green from aqua system. J. Hazard. Mater. 2009, 164, 1496–1502. [Google Scholar] [CrossRef] [PubMed]
- Modirshahla, N.; Behnajady, M.A. Photooxidative degradation of malachite green (MG) by UV/H2O2: Influence of operational parameters and kinetic modeling. Dyes Pigment. 2006, 70, 54–59. [Google Scholar] [CrossRef]
- Pandit, P.; Basu, S. Removal of ionic dyes from water by solvent extraction using reverse micelles. Environ. Sci. Technol. 2004, 38, 2435–2442. [Google Scholar] [CrossRef] [PubMed]
- Berberidou, C.; Poulios, I.; Xekoukoulotakis, N.P.; Mantzavinos, D. Sonolytic, photocatalytic and sonophotocatalytic degradation of malachite green in aqueous solutions. Appl. Catal. B Environ. 2007, 74, 63–72. [Google Scholar] [CrossRef]
- Asfaram, A.; Ghaedi, M.; Goudarzi, A.; Soylak, M.; Sanaz, M.L. Magnetic nanoparticles based dispersive micro-solid-phase extraction for the determination of malachite green in water samples: Optimized experimental design. New J. Chem. 2015, 39, 9813–9823. [Google Scholar] [CrossRef]
- Ghaedi, M.; Azad, F.N.; Dashtian, K.; Hajati, S.; Goudarzi, A.; Soylak, M. Central composite design and genetic algorithm applied for the optimization of ultrasonic-assisted removal of malachite green by ZnO nanorod-loaded activated carbon. Spectrochim. Acta Part A Mol. Biomol. Spectrosc. 2016, 167, 157–164. [Google Scholar] [CrossRef] [PubMed]
- Shi, X.D.; Ruan, W.Q.; Hu, J.W.; Fan, M.Y.; Cao, R.S.; Wei, X.H. Optimizing the removal of Rhodamine B in aqueous solutions by reduced Graphene Oxide-Supported Nanoscale Zerovalent Iron (nZVI/rGO) using an Artificial Neural Network-Genetic Algorithm (ANN-GA). Nanomaterials 2017, 7, 134. [Google Scholar] [CrossRef]
- Ruan, W.Q.; Hu, J.W.; Qi, J.M.; Hou, Y.; Cao, R.S.; Wei, X.H. Removal of crystal violet by using reduced-graphene-oxide-supported bimetallic Fe/Ni nanoparticles (rGO/Fe/Ni): Application of artificial intelligence modeling for the optimization process. Materials 2018, 11, 865. [Google Scholar] [CrossRef] [PubMed]
- Ruan, W.Q.; Shi, X.D.; Hu, J.W.; Hou, Y.; Fan, M.Y.; Cao, R.S.; Wei, X.H. Modeling of malachite green removal from aqueous solutions by nanoscale zerovalent zinc using an artificial neural network. Appl. Sci. 2018, 7, 3. [Google Scholar] [CrossRef]
- de Gyves, J.; Rodríguez de San Miguel, E. Metal Ion Separations by Supported Liquid Membranes. Ind. Eng. Chem. Res. 1999, 38, 2182–2202. [Google Scholar] [CrossRef]
- Ashraf, W.M.; Al-Malack, H. Effect of membrane preparation method on performance of polyol supported membrane used for separation of phenol. Transp. Porous Media 2005, 61, 307–314. [Google Scholar] [CrossRef]
- Danesi, P.R. Separation of metal species by supported liquid membranes. Sep. Sci. Technol. 1985, 11–12, 857–894. [Google Scholar] [CrossRef]
- El Aamrani, F.Z.; Kumar, A.; Beyer, L.; Florido, A.; Sastre, A.M. Mechanistic study of active transport of silver (I) using sulfur containing novel carriers across a liquid membrane. J. Membr. Sci. 1999, 152, 263–275. [Google Scholar] [CrossRef]
- Yang, X.J.; Fane, A.G. Effect of membrane preparation on the lifetime of supported liquid membrane. J. Membr. Sci. 1997, 133, 269–273. [Google Scholar] [CrossRef]
- Ferriera, F.C.; Shejiao, H.; Livingston, G. Recovery of aniline from aqueous solution using the membrane aromatic recovery system (MARS). Ind. Eng. Chem. Res. 2002, 41, 2766–2774. [Google Scholar] [CrossRef]








| Removal Methods | Advantages | Disadvantages |
|---|---|---|
| Photochemical | No sludge formation | By-product formation |
| Adsorption | Very effective | Expensive on a commercial scale |
| Electrochemical | Non-toxic end products | High cost of electrical power |
| Ozonization | Environmentally friendly and no change in wastewater volume | Very short half-life |
| Membrane Filters | Removes all dyes | Concentrated sludge is generated |
| Supported Liquid Membranes | Selective removal and cost-effective | Membrane lifetime and aging |
| Number | Vegetable Oil | Viscosity (cP) | Flux (mg/cm2/sec) × 10−5 |
|---|---|---|---|
| 1 | Mustard Oil | 96 | 0.81 |
| 2 | Virgin Olive Oil | 93 | 0.96 |
| 3 | Coconut Oil | 58 | 1.53 |
| 4 | Sunflower Oil | 56 | 1.65 |
| 6 | Palm Oil | 108 | 0.59 |
| 7 | Groundnut Oil | 117 | 0.78 |
| 8 | Castor Oil | 485 | No permeation |
| No oil impregnation | No permeation |
© 2019 by the authors. Licensee MDPI, Basel, Switzerland. This article is an open access article distributed under the terms and conditions of the Creative Commons Attribution (CC BY) license (http://creativecommons.org/licenses/by/4.0/).
Share and Cite
Ashraf, M.W.; Abulibdeh, N.; Salam, A. Selective Removal of Malachite Green Dye from Aqueous Solutions by Supported Liquid Membrane Technology. Int. J. Environ. Res. Public Health 2019, 16, 3484. https://doi.org/10.3390/ijerph16183484
Ashraf MW, Abulibdeh N, Salam A. Selective Removal of Malachite Green Dye from Aqueous Solutions by Supported Liquid Membrane Technology. International Journal of Environmental Research and Public Health. 2019; 16(18):3484. https://doi.org/10.3390/ijerph16183484
Chicago/Turabian StyleAshraf, Mohammad Waqar, Nidal Abulibdeh, and Abdus Salam. 2019. "Selective Removal of Malachite Green Dye from Aqueous Solutions by Supported Liquid Membrane Technology" International Journal of Environmental Research and Public Health 16, no. 18: 3484. https://doi.org/10.3390/ijerph16183484
APA StyleAshraf, M. W., Abulibdeh, N., & Salam, A. (2019). Selective Removal of Malachite Green Dye from Aqueous Solutions by Supported Liquid Membrane Technology. International Journal of Environmental Research and Public Health, 16(18), 3484. https://doi.org/10.3390/ijerph16183484
