Performance Analysis of Uplink Code Division Multiplexing for LEO Satellite Constellations Under Nonlinear Power Amplifiers
Abstract
1. Introduction
Motivation and Contribution
- The study of the impact of input power level on system performance across different numbers of satellites.
- A first theorem for the exact calculation of error probability when the amplifier operates in saturation as a function of the number of satellites, including a simplified formula.
- The validation of exact and simplified analytical results through simulations.
- A second theorem for the analytical computation of loss based on the number of satellites served.
- A comprehensive analysis of the impact of amplifier non-linearities on system performance, along with guidelines for simplifying satellite uplink operation under power amplifier constraints.
2. Problem Statement
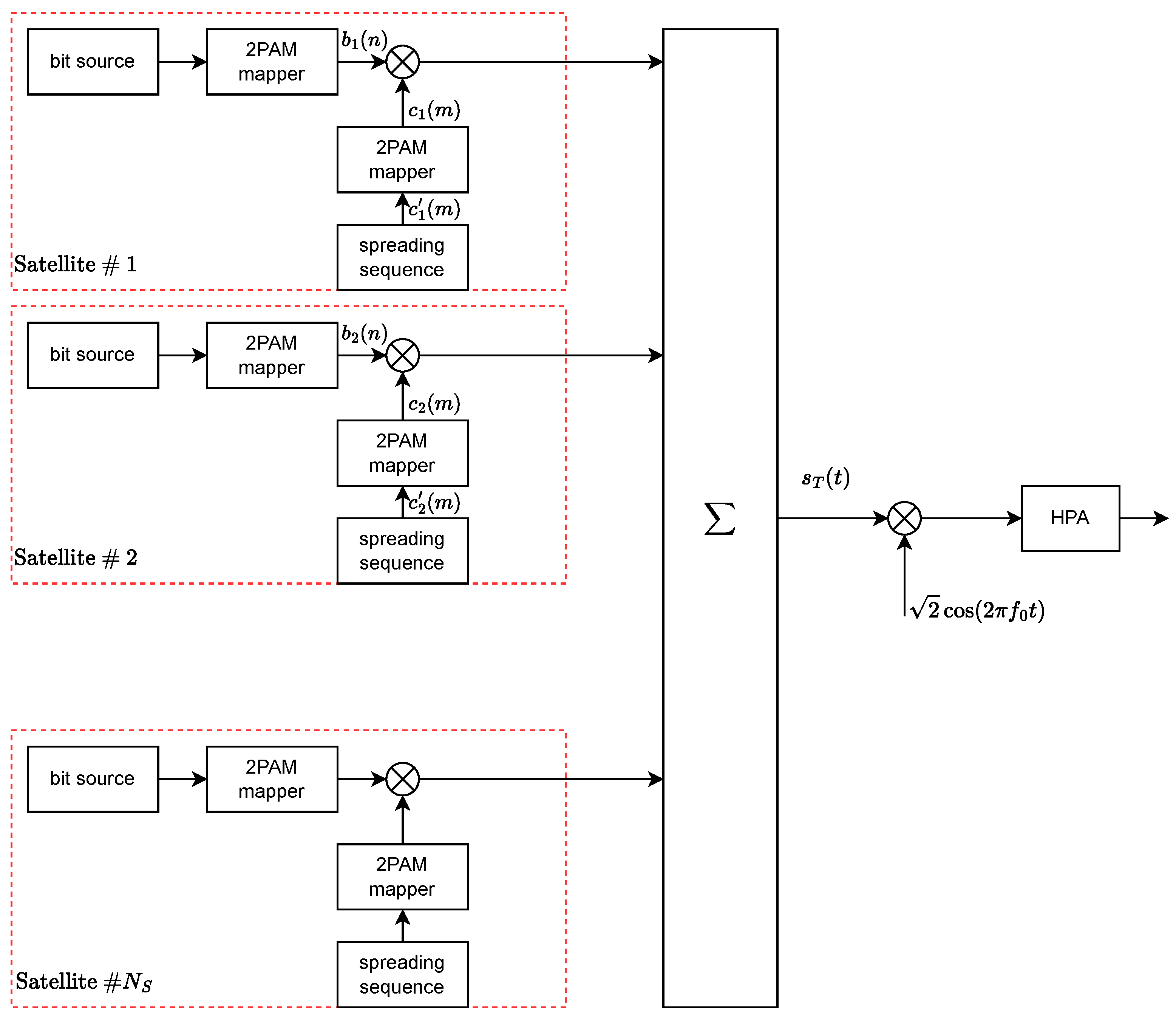
2.1. CDM-Transmitted Signal
- is the number of satellites currently served.
- is the signal level that determines the power transmitted to user i, equal to . Hereafter, we will assume , which is equal for all the users so that the average power of is .
- is the n-th bipolar (+1/−1) symbol carrying information.
- is the rectangular pulse with the unit amplitude for and zero elsewhere.
- is the bit/symbol time.
- is the m-th bipolar symbol corresponding to the binary spreading sequence chip assigned to user i.
- is the chip time, where , and M is the spreading factor.
2.2. Power Amplifier
- Gain equal to 100 dB, maximum output power 31 dBW, intermodulation with respect to the sum of 2 equal carriers 5 MHz apart dBc max. at 400 W total output power.
- The input–output model is as follows:where is the input RF signal, (corresponding to 100 dB).
- Coefficients and were found by measuring the intermodulation at several input powers and numerically finding the solution that gives intermodulation equal to dBc and 400 W of output power. The fifth harmonic was necessary to obtain the maximum output power equal to 31 dBW (or 61 dBm).
- The HPA datasheet [27] specifies the following for the AM/PM conversion: “6.0°/dB max; with optional linearizer, can be tuned to 2.0°/dB max”. Given this limited information, we assumed a constant AM-PM curve, which might be reasonable in the presence of a linearizer. Further comments on this hypothesis and its impact on performance in terms of linearity and saturation will be discussed in the following:
3. Impact of Power Amplifier Nonlinearities on the System Performance
- When , the maximum output power is limited to 28 dBW (instead of dBW), and this maximum is reached when dBW;
- When , max dBW at dBW;
- When , and max dBW at dBW.
- When there are satellites, is either equal to 0 (with a probability of 0.5) or to (with a probability of 0.25) or to (with a probability of 0.25); therefore, the signal at the HPA output has either instantaneous power (with a probability of 0.5) or 0 (with a probability of 0.5); the average power at the HPA output is ( = 28 dBW, as in Figure 4).
- When there are satellites, is equal to zero with a probability ofif is even (at a given instant t half of the chips are , half are ), whereas, when is odd. If the input power is large enough, the output instantaneous power is with a probability of , and it is zero with a probability of . The average output power is, therefore,and the ratio between and isThis loss cannot be recovered, it is, at most, 3 dB when , and it decreases when increases.
- When there are 6 satellites, is zero with a probability ofAssuming that, when (probability 0.6875), the HPA output is , then the average output power is (31 − 1.627=29.37 dBW, against the measured 29.36 dBW in Figure 4).
- When there are 11 satellites, the probability that is zero (there are 11 chips that add together, so the result can never be 0). The output average power can reach the maximum value provided that is large enough. In general, an odd number of satellites allows us to obtain the following: .
BER Performance
- When the HPA average input power is very small (−60 dBm), the amplifier works in its linear region, the output power is small and a much smaller is necessary to obtain a desired BER.
- On the other hand, when the HPA input power is large ([−20, −10] dBm), the amplifier works in the saturation region, and the output power is large, but interference arises among the CDM signal components, due to the hard limiting effect.
- When standard CDM without sign operation is transmitted, if the HPA introduces phase distortion (due to non-ideal AM/PM characteristics, which were not considered in the simulations), then the BER for the HPA linear region is higher than shown in Figure 6. On the contrary, when the sign is transmitted, the BER for larger than −30 dBm does not change since the output power is consistently equal to and the HPA-induced phase shift is also constant, as assumed in the simulations. Note that the receiver’s carrier phase recovery subsystem compensates for constant phase shifts.
- For desired BER values larger than , the minimum is obtained by driving the HPA at saturation (see Figure 7).
4. The Analytical Performance of Uplink CDM-Serving Satellites with a Saturated Amplifier
- For even, the exact error probability is as follows:and can be approximated by the following:where
- For odd, the exact error probability is as follows:and can be approximated by the following:where we have the following:
5. Loss with an Increasing Number of Satellites
- The case suffers from a 3 dB loss because with a probability of 0.5 the signal is zero. At low , the error probability for is, therefore, smaller than that for , even if the interference is obviously higher. At and — is better than .
- Similar phenomena occur with and : is better than at higher values of (e.g., ), whereas is worse than at smaller values of (e.g., ).
- The error floor for is smaller than the error floor for ; using the approximation for , we see that when , there is a term () at the denominator, whereas the term at the denominator is for ; note that the two values of are not equal for and 8, but this is the only difference in the formula.
- odd:where we have the following:
- even:where we have the following:
- Figure 16 shows the overall loss with respect to the ideal 2-PAM of the CDM system with saturated HPA at dB (i.e., at ): note that, for , an odd number of satellites gives rise to a smaller loss (less than 2 dB), whereas an even number gives a higher loss (more than 2 dB).
- Figure 17 shows the extra loss (with respect to the same CDM system and an ideal perfectly linear amplifier) due to the saturated HPA at dB (i.e., at ).
- Figure 18 shows the relationship between the number of satellites and the corresponding loss with respect to an ideal 2-PAM system at certain values of . Having set, for example, , the maximum number of satellites is 12 for the system with saturated HPA (for , the error floor for is higher than ), whereas the linear system allows for 18 satellites. The relationship between and the loss for the case of saturated HPA is not as smooth as that for the case of a linear system due to the fact that two different loss equations exist for even or odd values of .
- Figure 19 shows the maximum number of satellites that the system can support at the desired value of at the satellite with the smallest signal-to-noise ratio. When the channel is nonlinear, the maximum number of satellites is understandably smaller than when the channel is linear, but the difference amounts to 2–3 satellites only.
Discussion
- The extra loss due to the saturated HPA at is less than 3 dB for and .
- For and , the extra loss tends to 2 dB ().
- Overall, the loss to be factored into the link budget (to account for the presence of a nonlinear amplifier) can be safely set at 3 dB, provided that , which is almost always the case.
- If a 3 dB loss is acceptable, it might be more convenient to directly use the high-power amplifier in the saturated region (or to transmit the sign of the CDM signal) for easier management of the transmitter (as explained before, since the number of served satellites changes rapidly, maintaining the amplifier in the linear zone with appropriate back-off is complex).
6. Conclusions
Author Contributions
Funding
Institutional Review Board Statement
Informed Consent Statement
Data Availability Statement
Conflicts of Interest
Appendix A. Proof of Theorem 1
- even larger than 2.The random variable d is the sum of an odd number of terms and can never be equal to zero; instead, it is positive (i.e., ≥1) with a probability of 1/2, and negative (i.e., ≤−1) with a probability of 1/2. Therefore, we have the following:
- -
- with a probability of the following:
- -
- with a probability of the following:
- -
- with a probability of the following:
Overall, we have the following:- -
- with a probability of .
- -
- with a probability of .
- -
- with a probability of .
If there are terms equal to 0, then z takes values between and ; if there are terms equal to , then . The exact error probability for an even is as follows:The exact expression above can be approximated using the central limit theorem on z: it represents the sum of M (typically large) i.i.d. random variables with the mean and variance as follows:Therefore, andThe error probability is reduced to the following:Note that when is even, the average power at the output of the saturated amplifier iswhere - In this case, having set , without loss of generality, we have the following:The term if , which occurs with a probability ofIf , which occurs with a probability of , then . Therefore, z is the sum of M terms that can take values 1 or 0 with the same probability. The exact error probability is as follows:The random variable has a mean value, mean square value, and variancerespectively. The approximate error probability given in (A3) applies also to the case .
- oddThe random variable d is the sum of an even number of terms and is zero with a probability of the following:it is positive (i.e., ) with a probability of the following:it is negative (i.e., ) with a probability of the following:Therefore
- -
- with a probability of .
- -
- with a probability of .
- -
- with a probability of .
Overall, z is the sum of M random variables such that we have the following:- -
- with a probability of .
- -
- with a probability of .
Therefore, the error probability for odd is as follows:Note the following:and andThe error probability is reduced to the following:Note that when is odd, the average power at the output of the saturated amplifier is equal to the maximum power:
- A.
- The amplifier is nonlinear and at saturation, in which case, is set according to the maximum power: .
- B.
- The amplifier is ideal and linear, in which case, is set according to the average power: . Recall that for odd.
- The difference in the definition of the signal-to-noise ratio in the two cases iswhich is negligible when is large, but is equal to 3 dB when .
Appendix B. Proof of Theorem 2
References
- Giordani, M.; Zorzi, M. Non-terrestrial networks in the 6G era: Challenges and opportunities. IEEE Netw. 2020, 35, 244–251. [Google Scholar] [CrossRef]
- Araniti, G.; Iera, A.; Pizzi, S.; Rinaldi, F. Toward 6G non-terrestrial networks. IEEE Netw. 2021, 36, 113–120. [Google Scholar] [CrossRef]
- Dakkak, M.R.; Riviello, D.G.; Guidotti, A.; Vanelli-Coralli, A. Evaluation of Multi-User Multiple-Input Multiple-Output Digital Beamforming Algorithms in B5G/6G Low Earth Orbit Satellite Systems. Int. J. Satell. Commun. Netw. 2023. [Google Scholar] [CrossRef]
- Huo, Y.; Lin, X.; Di, B.; Zhang, H.; Hernando, F.J.L.; Tan, A.S.; Mumtaz, S.; Demir, Ö.T.; Chen-Hu, K. Technology trends for massive MIMO towards 6G. Sensors 2023, 23, 6062. [Google Scholar] [CrossRef] [PubMed]
- Xie, H.; Zhan, Y.; Zeng, G.; Pan, X. LEO Mega-Constellations for 6G Global Coverage: Challenges and Opportunities. IEEE Access 2021, 9, 164223–164244. [Google Scholar] [CrossRef]
- Al-Hraishawi, H.; Minardi, M.; Chougrani, H.; Kodheli, O.; Montoya, J.F.M.; Chatzinotas, S. Multi-layer space information networks: Access design and softwarization. IEEE Access 2021, 9, 158587–158598. [Google Scholar] [CrossRef]
- Maiolini Capez, G.; Caceres, M.; Armellin, R.; Bridges, C.; Frey, S.; Garello, R.; Bargellini, P. Characterization of Mega-Constellation Links for LEO Missions with Applications to EO and ISS Use Cases. IEEE Access 2023, 11, 25616–25628. [Google Scholar] [CrossRef]
- Chougrani, H.; Kodheli, O.; Georganaki, A.; Thoemel, J.; Vittoria Turtoro, C.; Zeppenfeldt, F.; Pissias, P.; Hofmann, M.; Chatzinotas, S. Connecting Space Missions Through NGSO Constellations: Feasibility Study. Front. Commun. Netw. 2023, 5, 1356484. [Google Scholar] [CrossRef]
- Maiolini Capez, G.; Caćeres, M.; Armellin, R.; Bridges, C.; Fraire, J.; Frey, S.; Garello, R. On the Use of Mega Constellation Services in Space: Integrating LEO Platforms into 6G Non-Terrestrial Networks. IEEE J. Sel. Areas Commun. 2024; Early Access. [Google Scholar] [CrossRef]
- Qu, Z.; Zhang, G.; Cao, H.; Xie, J. LEO Satellite Constellation for Internet of Things. IEEE Access 2017, 5, 18391–18401. [Google Scholar] [CrossRef]
- Capez, G.M.; Henn, S.; Fraire, J.A.; Garello, R. Sparse Satellite Constellation Design for Global and Regional Direct-to-Satellite IoT Services. IEEE Trans. Aerosp. Electron. Syst. 2022, 58, 3786–3801. [Google Scholar] [CrossRef]
- Kua, J.; Loke, S.W.; Arora, C.; Fernando, N.; Ranaweera, C. Internet of things in space: A review of opportunities and challenges from satellite-aided computing to digitally-enhanced space living. Sensors 2021, 21, 8117. [Google Scholar] [CrossRef] [PubMed]
- Plastras, S.; Tsoumatidis, D.; Skoutas, D.N.; Rouskas, A.; Kormentzas, G.; Skianis, C. Non-Terrestrial Networks for Energy-Efficient Connectivity of Remote IoT Devices in the 6G Era: A Survey. Sensors 2024, 24, 1227. [Google Scholar] [CrossRef] [PubMed]
- Kim, M.G.; Jo, H.S. Performance analysis of NB-IoT uplink in low earth orbit non-terrestrial networks. Sensors 2022, 22, 7097. [Google Scholar] [CrossRef] [PubMed]
- Zhang, B.; Wu, Y.; Zhao, B.; Chanussot, J.; Hong, D.; Yao, J.; Gao, L. Progress and challenges in intelligent remote sensing satellite systems. IEEE J. Sel. Top. Appl. Earth Obs. Remote Sens. 2022, 15, 1814–1822. [Google Scholar] [CrossRef]
- Janga, B.; Asamani, G.P.; Sun, Z.; Cristea, N. A review of practical ai for remote sensing in earth sciences. Remote Sens. 2023, 15, 4112. [Google Scholar] [CrossRef]
- Curzi, G.; Modenini, D.; Tortora, P. Large constellations of small satellites: A survey of near future challenges and missions. Aerospace 2020, 7, 133. [Google Scholar] [CrossRef]
- Modenini, A.; Ripani, B. A tutorial on the tracking, telemetry, and command (TT&C) for space missions. IEEE Commun. Surv. Tutorials 2023, 25, 1510–1542. [Google Scholar]
- Baldi, M.; Bertinelli, M.; Chiaraluce, F.; Closas, P.; Dhakal, P.; Garello, R.; Maturo, N.; Navarro, M.; Palomo, J.M.; Paolini, E.; et al. State-of-the-art space mission telecommand receivers. IEEE Aerosp. Electron. Syst. Mag. 2017, 32, 4–15. [Google Scholar] [CrossRef]
- Torrieri, D. Principles of Spread-Spectrum Communication Systems; Springer Nature: Cham, Switzerland, 2022. [Google Scholar]
- Morlet, C.; Alamanac, A.B.; Ginesi, A.; Gallinaro, G.; Erup, L.; Takats, P. Implementation of spreading techniques in mobile DVB-S2/DVB-RCS systems. In Proceedings of the 2007 International Workshop on Satellite and Space Communications, Salzburg, Austria, 13–14 September 2007; pp. 259–263. [Google Scholar]
- Zhang, Y.; Yan, W.; Yuan, T.; Yan, P.; Song, J.; Bu, X. On the Uplink Performance of Multi-User MC-CDMA Satellite-Terrestrial Deliveries. In Proceedings of the 2022 14th International Conference on Wireless Communications and Signal Processing (WCSP), Nanjing, China, 1–3 November 2022; pp. 770–775. [Google Scholar] [CrossRef]
- Yip, L. Performance Evaluation of Asynchronous Direct-sequence CDMA Systems for Satellite Communications. In Proceedings of the 2024 IEEE Aerospace Conference, Big Sky, MT, USA, 2–9 March 2024; pp. 1–8. [Google Scholar] [CrossRef]
- Baldi, M.; Chiaraluce, F.; Garello, R.; Maturo, N.; Aguilar Sanchez, I.; Cioni, S. Analysis and performance evaluation of new coding options for space telecommand links—Part II: Jamming channels. Int. J. Satell. Commun. Netw. 2015, 33, 527–542. [Google Scholar] [CrossRef]
- Cahn, C. A note on signal-to-noise ratio in band-pass limiters. IRE Trans. Inf. Theory 1961, 7, 39–43. [Google Scholar] [CrossRef]
- Sacchi, C.; Gera, G.; Regazzoni, C. Performance evaluation of MC-CDMA techniques for variable bit-rate transmission in LEO satellite networks. In Proceedings of the ICC 2001, IEEE International Conference on Communications, Conference Record (Cat. No.01CH37240), Helsinki, Finland, 11–14 June 2001; Volume 9, pp. 2650–2654. [Google Scholar] [CrossRef]
- Communications and Power Industries. CPI 2.5 kW SuperLinear Modular TWTA Datasheet. 2024. Available online: https://www.cpii.com/docs/datasheets/821/tl25xi_mkt189.pdf (accessed on 9 October 2024).



















Disclaimer/Publisher’s Note: The statements, opinions and data contained in all publications are solely those of the individual author(s) and contributor(s) and not of MDPI and/or the editor(s). MDPI and/or the editor(s) disclaim responsibility for any injury to people or property resulting from any ideas, methods, instructions or products referred to in the content. |
© 2024 by the authors. Licensee MDPI, Basel, Switzerland. This article is an open access article distributed under the terms and conditions of the Creative Commons Attribution (CC BY) license (https://creativecommons.org/licenses/by/4.0/).
Share and Cite
Visintin, M.; Schiavone, R.; Garello, R. Performance Analysis of Uplink Code Division Multiplexing for LEO Satellite Constellations Under Nonlinear Power Amplifiers. Sensors 2024, 24, 6879. https://doi.org/10.3390/s24216879
Visintin M, Schiavone R, Garello R. Performance Analysis of Uplink Code Division Multiplexing for LEO Satellite Constellations Under Nonlinear Power Amplifiers. Sensors. 2024; 24(21):6879. https://doi.org/10.3390/s24216879
Chicago/Turabian StyleVisintin, Monica, Riccardo Schiavone, and Roberto Garello. 2024. "Performance Analysis of Uplink Code Division Multiplexing for LEO Satellite Constellations Under Nonlinear Power Amplifiers" Sensors 24, no. 21: 6879. https://doi.org/10.3390/s24216879
APA StyleVisintin, M., Schiavone, R., & Garello, R. (2024). Performance Analysis of Uplink Code Division Multiplexing for LEO Satellite Constellations Under Nonlinear Power Amplifiers. Sensors, 24(21), 6879. https://doi.org/10.3390/s24216879

