Beat-Notes Acquisition of Laser Heterodyne Interference Signal for Space Gravitational Wave Detection
Abstract
1. Introduction
2. Composition of the LHI Signal
3. Multi-Frequency Correction
3.1. Limitations of the Traditional Method
3.2. Principles of COG
3.3. Derivation of the Main Lobe Function
4. Error Integration
5. Simulation
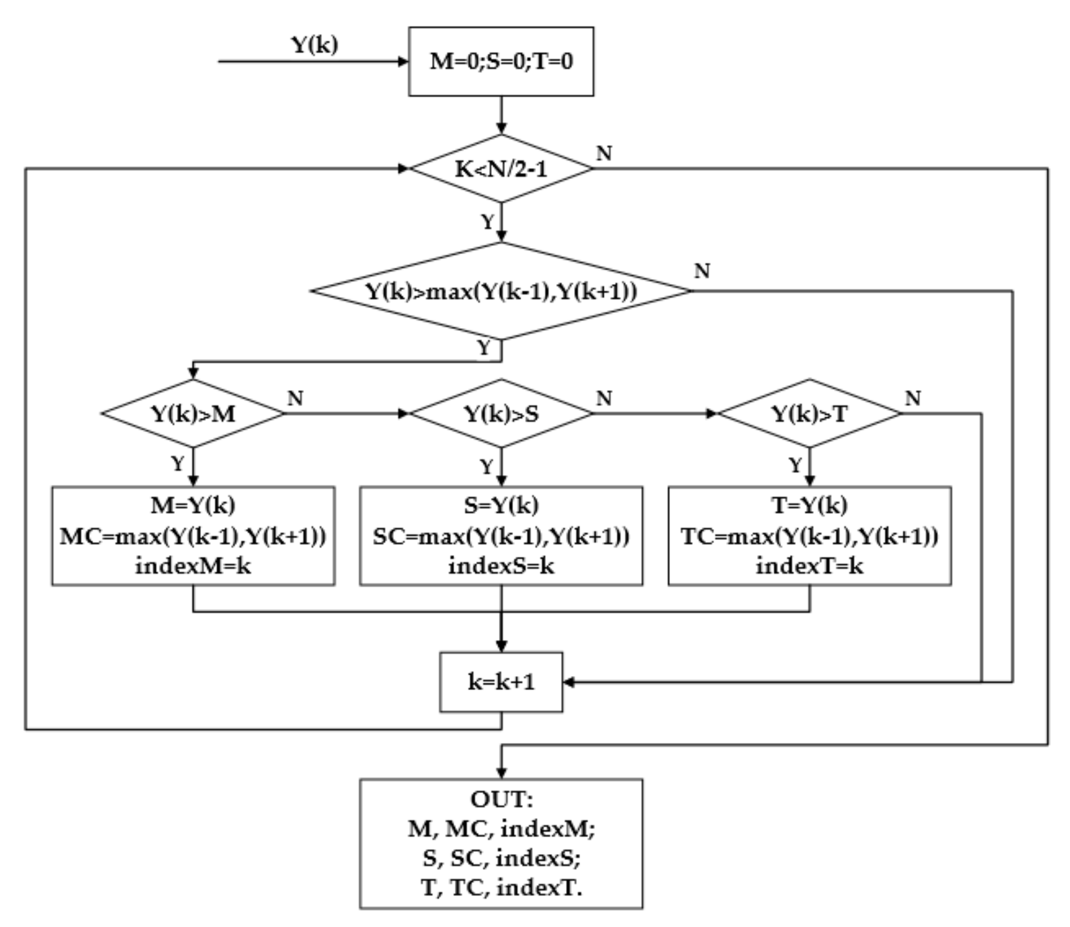
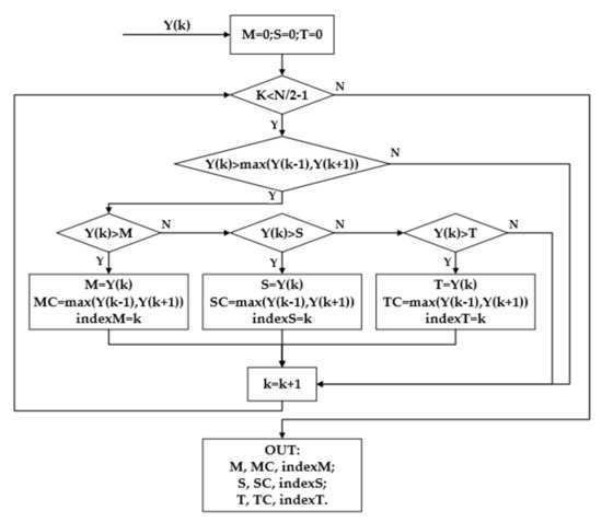
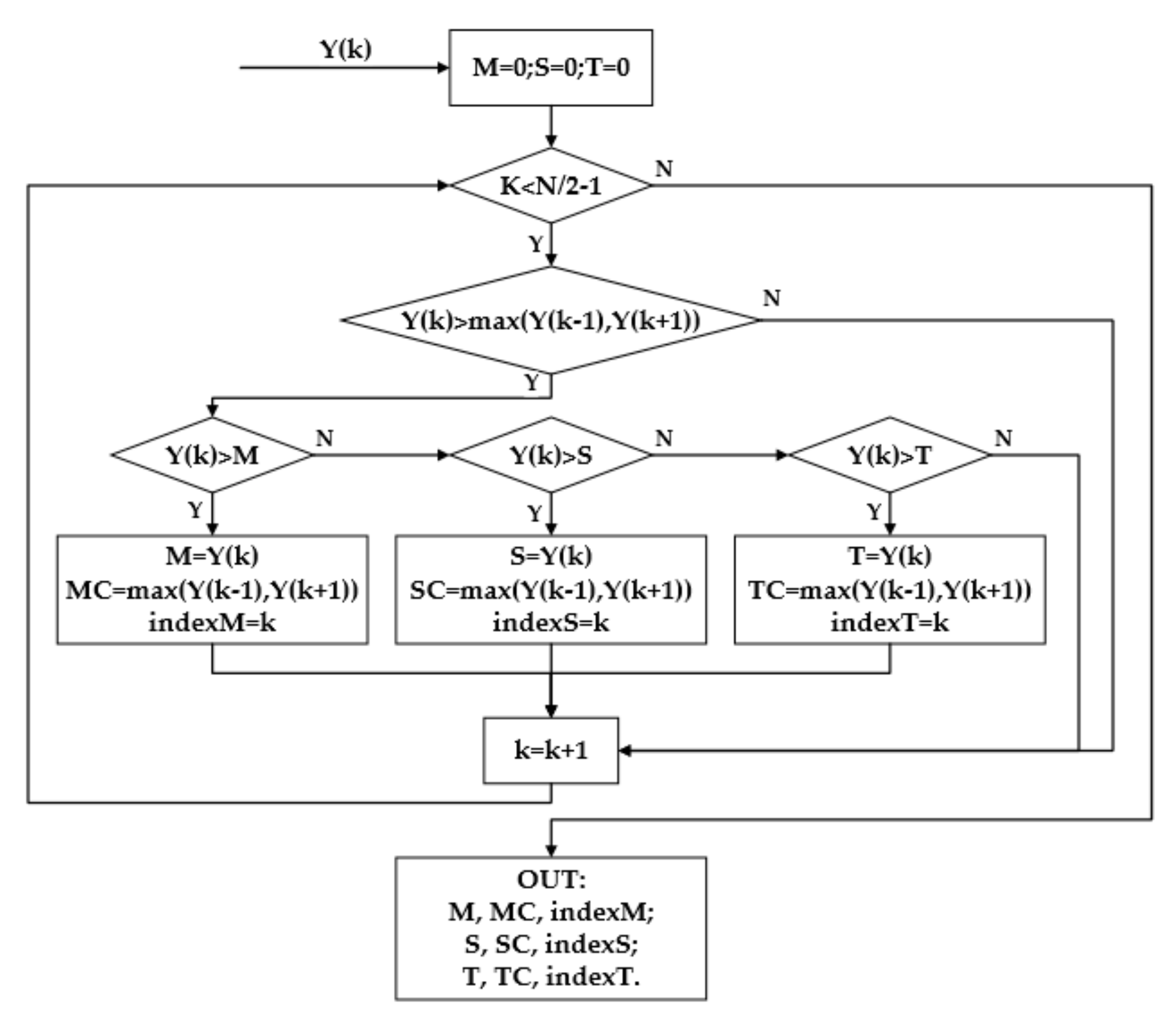
6. Implementation of the Algorithm
7. Experimental Facilities and Test Results
8. Conclusions
Author Contributions
Funding
Institutional Review Board Statement
Informed Consent Statement
Data Availability Statement
Conflicts of Interest
References
- Barausse, E.; Berti, E.; Hertog, T.; Hughes, S.A.; Jetzer, P.; Pani, P.; Sotiriou, T.P.; Tamanini, N.; Witek, H.; Yagi, K.; et al. Prospects for fundamental physics with LISA. Gen. Relativ. Gravit. 2020, 52, 81. [Google Scholar] [CrossRef]
- Arun, K.G.; Belgacem, E.; Benkel, R.; Bernard, L.; Berti, E.; Bertone, G.; Besancon, M.; Blas, D.; Böhmer, C.G.; Brito, R.; et al. New horizons for fundamental physics with LISA. Living Rev. Relativ. 2022, 25, 4. [Google Scholar] [CrossRef]
- Barke, S.; Brause, N.; Bykov, I.; Jose Esteban Delgado, J.; Enggaard, A.; Gerberding, O.; Heinzel, G.; Kullmann, J.; Pedersen, S.M.; Rasmussen, T. LISA Metrology System-Final Report; PubMan Inc.: Atlanta, GA, USA, 2014. [Google Scholar]
- Han, S.; Tong, J.Z.; Wang, Z.P.; Yu, T.; Sui, Y.L. A Simulation System of Laser Heterodyne Interference Signal for Space Gravitational Wave Detection. Infrared Laser Eng. 2022, 51, 217–226. [Google Scholar]
- Gerberding, O. Phase Readout for Satellite Interferometry. Ph.D. Theses, Leibniz Universit, Hannover, Germany, 2014. [Google Scholar]
- Li, X.; Tao, J.; Li, J.; Jia, Q.; Wang, C.; Liu, J. A Simple Photonic System for DFS and AOA Simultaneous Measurement. Photonics 2022, 9, 980. [Google Scholar] [CrossRef]
- Pitkin, M.; Reid, S.; Rowan, S.; Hough, J. Gravitational Wave Detection by Interferometry (Ground and Space). Living Rev. Relativ. 2011, 14, 5. [Google Scholar] [CrossRef] [PubMed]
- Brause, N.C. Auxiliary Function Development for the LISA Metrology System. Ph.D. Theses, Leibniz Universit, Hannover, Germany, 2018. [Google Scholar]
- Xie, Q.; Chi, C.; Jin, S.; Wang, G.; Li, Y.; Huang, H. Underwater Tone Detection with Robust Coherently-Averaged Power Processor. J. Mar. Sci. Eng. 2022, 10, 1505. [Google Scholar] [CrossRef]
- Qin, Y.; Li, X.; Han, X.; Tong, J.; Gao, M. Research on Spectral Restoration and Gas Concentration Inversion Accuracy Based on Quasi-Trapezoidal Window. Photonics Multidiscip. Digit. Publ. Inst. 2022, 9, 885. [Google Scholar] [CrossRef]
- Chioncel, C.P.; Gillich, N.; Tirian, G.O.; Irian, G. Limits of the discrete Fourier transform in exact identifying of the vibrations frequency. Rom. J. Acoust. Vib. 2015, 12, 16–19. [Google Scholar]
- Wen, H.; Zhang, J.; Meng, Z.; Guo, S.; Li, F.; Yang, Y. Harmonic estimation using symmetrical interpolation FFT based on triangular self-convolution window. IEEE Trans. Ind. Inform. 2014, 11, 16–26. [Google Scholar] [CrossRef]
- Kim, Y.H.; Son, K.J.; Kang, S.H.; Chang, T.G. Improved frequency estimation algorithm based on the compensation of the unbalance effect in power systems. IEEE Trans. Instrum. Meas. 2020, 69, 9880–9892. [Google Scholar] [CrossRef]
- Kuwałek, P.; Otomański, P.; Wandachowicz, K. Influence of the phenomenon of spectrum leakage on the evaluation process of metrological properties of power quality analyser. Energies 2020, 13, 5338. [Google Scholar] [CrossRef]
- Radil, T.; Ramos, P.M.; Serra, A.C. New spectrum leakage correction algorithm for frequency estimation of power system signals. IEEE Trans. Instrum. Meas. 2009, 58, 1670–1679. [Google Scholar] [CrossRef]
- Wu, R.C.; Chiang, C.T. Analysis of the exponential signal by the interpolated DFT algorithm. IEEE Trans. Instrum. Meas. 2010, 59, 3306–3317. [Google Scholar] [CrossRef]
- Serbes, A. Fast and efficient sinusoidal frequency estimation by using the DFT coefficients. IEEE Trans. Commun. 2018, 67, 2333–2342. [Google Scholar] [CrossRef]
- Minda, A.A.; Barbinita, C.I.; Gillich, G.R. A Review of Interpolation Methods Used for Frequency Estimation. Rom. J. Acoust. Vib. 2020, 17, 21–26. [Google Scholar]
- Wang, K.; Wen, H.; Li, G. Accurate frequency estimation by using three-point interpolated discrete Fourier transform based on rectangular window. IEEE Trans. Ind. Inform. 2020, 17, 73–81. [Google Scholar] [CrossRef]
- Borkowski, J.; Mroczka, J.; Matusiak, A.; Kania, D. Frequency estimation in interpolated discrete fourier transform with generalized maximum sidelobe decay windows for the control of power. IEEE Trans. Ind. Inform. 2020, 17, 1614–1624. [Google Scholar] [CrossRef]
- Ales, F.; Mandel, O.; Gath, P.; Johann, U.; Braxmaier, C. A phasemeter concept for space applications that integrates an autonomous signal acquisition stage based on the discrete wavelet transform. Rev. Sci. Instrum. 2015, 86, 084502. [Google Scholar] [CrossRef] [PubMed]
- Huang, X.; Cao, L.; Lu, W. Multi-Tone Frequency Estimation Based on the All-Phase Discrete Fourier Transform and Chinese Remainder Theorem. Sensors 2020, 20, 5066. [Google Scholar] [CrossRef]
- Hao, Y.; Song, P.; Wang, X.; Pan, Z. A Spectrum Correction Algorithm Based on Beat Signal of FMCW Laser Ranging System. Sensors 2021, 21, 5057. [Google Scholar] [CrossRef]
- Campobello, G.; Segreto, A.; Donato, N. A novel low-complexity frequency estimation algorithm for industrial internet-of-things applications. IEEE Trans. Instrum. Meas. 2020, 70, 1–10. [Google Scholar] [CrossRef]
- Hsu, C.Y.; Indyk, P.; Katabi, D.; Ali Vakili, A. Learning-Based Frequency Estimation Algorithms. In Proceedings of the International Conference on Learning Representations, New Orleans, LA, USA, 6–9 May 2019. [Google Scholar]
- Zhang, J.; Tang, L.; Mingotti, A.; Peretto, L.; Wen, H. Analysis of white noise on power frequency estimation by DFT-based frequency shifting and filtering algorithm. IEEE Trans. Instrum. Meas. 2019, 69, 4125–4133. [Google Scholar] [CrossRef]
- Campobello, G.; Segreto, A.; Donato, N. A new frequency estimation algorithm for IIoT applications and low-cost instrumentation. In Proceedings of the 2020 IEEE International Instrumentation and Measurement Technology Conference (I2MTC), Dubrovnik, Croatia, 25–28 May 2020; pp. 1–5. [Google Scholar]
- Landi, G. Properties of the center of gravity algorithm. In Nuclear Instruments and Methods in Physics Research Section A: Accelerators, Spectrometers, Detectors and Associated Equipment; Elsevier: Amsterdam, The Netherlands, 2004; pp. 480–483. [Google Scholar]
- Zhang, Z.; Yin, G.; Wu, Z. Joint Estimation of Mass and Center of Gravity Position for Distributed Drive Electric Vehicles Using Dual Robust Embedded Cubature Kalman Filter. Sensors 2022, 22, 10018. [Google Scholar] [CrossRef] [PubMed]













| Method | Error of fm | Error of fu | Error of fl | |
|---|---|---|---|---|
| FFT | 610.5531 Hz | 610.5632 Hz | 610.7658 Hz | |
| frequency correction | Hann | 1.5336 Hz | 25.7858 Hz | 30.6588 Hz |
| Blackman | 1.8053 Hz | 28.5197 Hz | 43.9575 Hz | |
| Blackman–Harris | 2.3936 Hz | 35.9808 Hz | 37.8291 Hz | |
| error integration | Hann | 0.3325 Hz | 4.0745 Hz | 4.5455 Hz |
| Blackman | 0.2945 Hz | 4.0925 Hz | 4.1662 Hz | |
| Blackman–Harris | 0.3708 Hz | 2.9534 Hz | 3.3880 Hz | |
Disclaimer/Publisher’s Note: The statements, opinions and data contained in all publications are solely those of the individual author(s) and contributor(s) and not of MDPI and/or the editor(s). MDPI and/or the editor(s) disclaim responsibility for any injury to people or property resulting from any ideas, methods, instructions or products referred to in the content. |
© 2023 by the authors. Licensee MDPI, Basel, Switzerland. This article is an open access article distributed under the terms and conditions of the Creative Commons Attribution (CC BY) license (https://creativecommons.org/licenses/by/4.0/).
Share and Cite
Wang, Z.; Yu, T.; Sui, Y.; Wang, Z. Beat-Notes Acquisition of Laser Heterodyne Interference Signal for Space Gravitational Wave Detection. Sensors 2023, 23, 3124. https://doi.org/10.3390/s23063124
Wang Z, Yu T, Sui Y, Wang Z. Beat-Notes Acquisition of Laser Heterodyne Interference Signal for Space Gravitational Wave Detection. Sensors. 2023; 23(6):3124. https://doi.org/10.3390/s23063124
Chicago/Turabian StyleWang, Zhenpeng, Tao Yu, Yanlin Sui, and Zhi Wang. 2023. "Beat-Notes Acquisition of Laser Heterodyne Interference Signal for Space Gravitational Wave Detection" Sensors 23, no. 6: 3124. https://doi.org/10.3390/s23063124
APA StyleWang, Z., Yu, T., Sui, Y., & Wang, Z. (2023). Beat-Notes Acquisition of Laser Heterodyne Interference Signal for Space Gravitational Wave Detection. Sensors, 23(6), 3124. https://doi.org/10.3390/s23063124

