Multiple-Input-Multiple-Output Filtered Multitone Time Reversal Acoustic Communications Using Direct Adaptation-Based Turbo Equalization
Abstract
1. Introduction
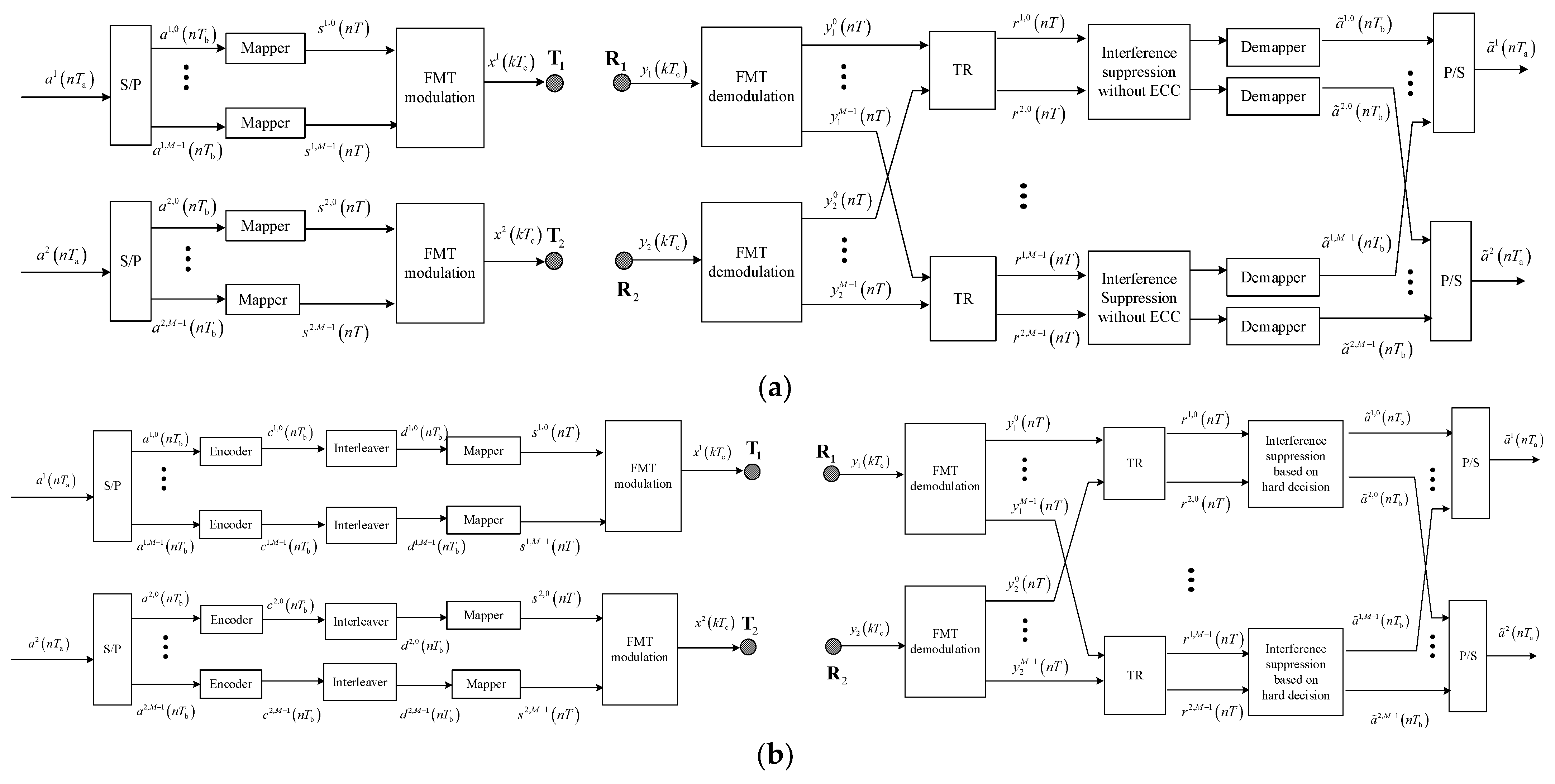
2. System Model
2.1. Transmitter
2.2. Receiver
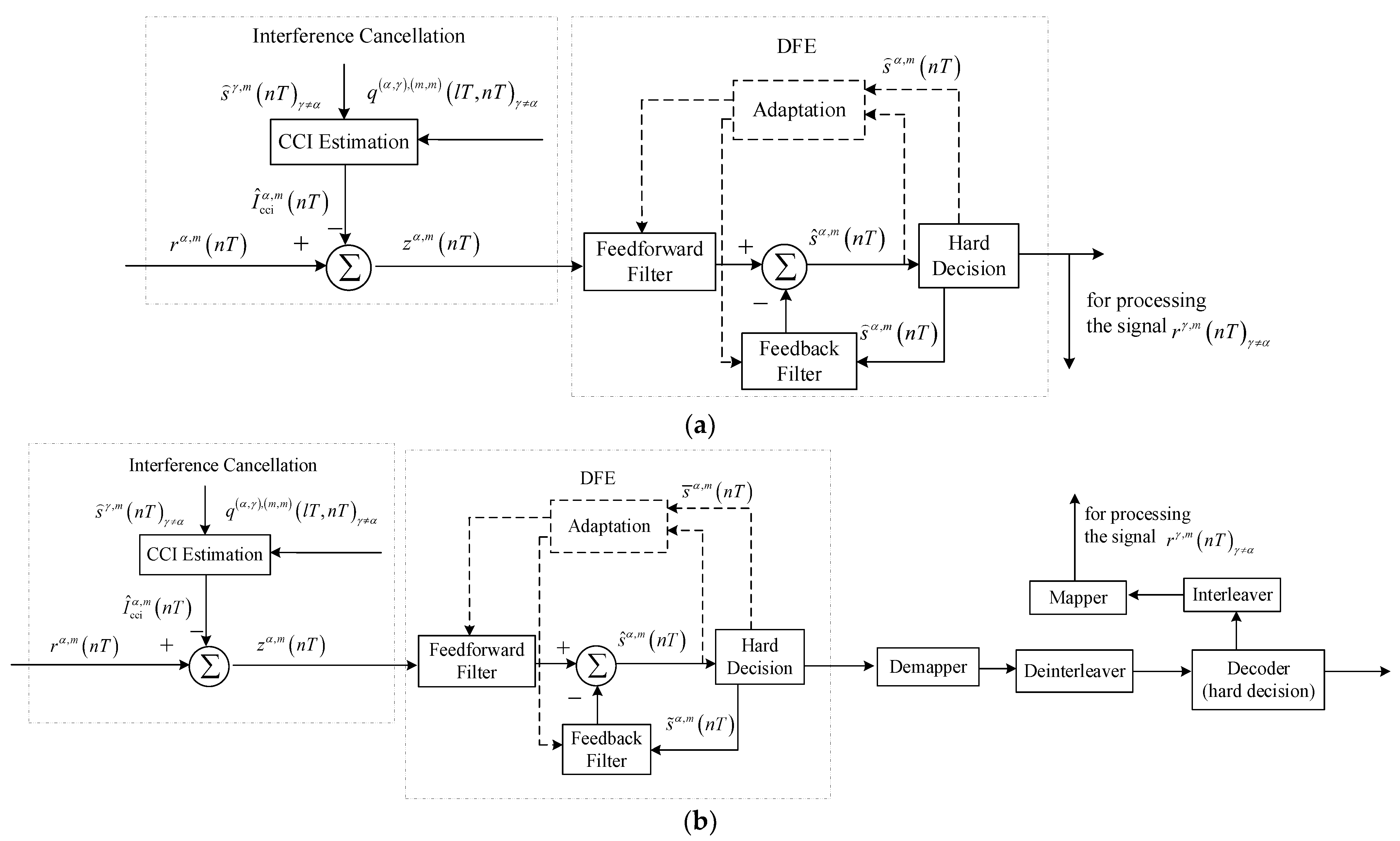
3. DA-Based Turbo Equalization
3.1. Structure of DA-Based Turbo Equalization
3.2. Interference Cancellation
3.3. Soft Information-Based ADFE
3.3.1. Signal Filtering
3.3.2. Adaptive Coefficient Adjustment
3.4. Decoding
4. Performance Assessment
4.1. Channel Responses Measured in an Actual Experiment
4.2. Two Methods for Comparison
4.3. Parameters Setting
4.4. Comparison between the Proposed Method and the Method without ECC
4.5. Comparison between the Proposed Method and the Method Based on Hard Decision
5. Conclusions
Author Contributions
Funding
Institutional Review Board Statement
Informed Consent Statement
Data Availability Statement
Conflicts of Interest
References
- Li, B.; Huang, J.; Zhou, S.L.; Ball, K.; Stojanovic, M.; Freitag, L.; Willett, P. Further results on high-rate MIMO-OFDM underwater acoustic communications. In Proceedings of the Oceans, Quebec City, QC, Canada, 15–18 September 2008. [Google Scholar]
- Zhang, L.; Kang, T.; Song, H.C.; Hodgkiss, W.S.; Xu, X. MIMO-OFDM acoustic communication in shallow water. In Proceedings of the Oceans, San Diego, CA, USA, 23–27 September 2013. [Google Scholar]
- Tao, J. DFT-Precoded MIMO OFDM underwater acoustic communications. IEEE J. Ocean. Eng. 2018, 43, 805–819. [Google Scholar] [CrossRef]
- Li, H.S.; Sun, L.; Du, W.D.; Zhou, T.; Chen, B.W. Multiple-input multiple-output passive time reversal acoustic communication using filtered multitone modulation. Appl. Acoust. 2017, 119, 29–38. [Google Scholar] [CrossRef]
- Sun, L.; Yan, M.; Li, H.S.; Xu, Y.J. Joint time-reversal space-time block coding and adaptive equalization for filtered multitone underwater acoustic communications. Sensors 2020, 20, 379. [Google Scholar] [CrossRef] [PubMed]
- Tao, J.; Zheng, Y.R.; Xiao, C.S.; Yang, T.C. Robust MIMO underwater acoustic communications using turbo block decision-feedback equalization. IEEE J. Ocean. Eng. 2010, 35, 948–960. [Google Scholar] [CrossRef]
- Rafati, A.; Lou, H.; Xiao, C.S. Soft-Decision feedback turbo equalization for LDPC-Coded MIMO underwater acoustic communications. IEEE J. Ocean. Eng. 2014, 39, 90–99. [Google Scholar] [CrossRef]
- Duan, W.M.; Zheng, Y.R. Bidirectional soft-decision feedback turbo equalization for MIMO Systems. IEEE Trans. Veh. Technol. 2016, 65, 4925–4936. [Google Scholar] [CrossRef]
- Zhang, Y.W.; Zakharov, Y.V.; Li, J.H. Soft-decision-driven sparse channel estimation and turbo equalization for MIMO underwater acoustic communications. IEEE Access 2018, 6, 4955–4973. [Google Scholar] [CrossRef]
- Stojanovic, M.; Preisig, J. Underwater acoustic communication channels: Propagation models and statistical characterization. IEEE Commun. Mag. 2009, 47, 84–89. [Google Scholar] [CrossRef]
- Singer, A.C.; Nelson, J.K.; Kozat, S.S. Signal processing for underwater acoustic communications. IEEE Commun. Mag. 2009, 47, 90–96. [Google Scholar] [CrossRef]
- Tadayon, A.; Stojanovic, M. Low-complexity superresolution frequency offset estimation for high data rate acoustic OFDM systems. IEEE J. Ocean. Eng. 2019, 44, 932–942. [Google Scholar] [CrossRef]
- Li, B.; Zheng, S.Y.; Tong, F. Bit-error rate based Doppler estimation for shallow water acoustic OFDM communication. Ocean Eng. 2019, 182, 203–210. [Google Scholar] [CrossRef]
- Ma, L.; Jia, H.B.; Liu, S.Z.; Khan, I.U. Low-complexity doppler compensation algorithm for underwater acoustic OFDM systems with nonuniform Doppler shifts. IEEE Commun. Lett. 2020, 24, 2051–2054. [Google Scholar] [CrossRef]
- Gomes, J.; Stojanovic, M. Performance analysis of filtered multitone modulation systems for underwater communication. In Proceedings of the Oceans, Biloxi, MS, USA, 26–29 October 2009. [Google Scholar]
- Amini, P.; Chen, R.R.; Farhang-Boroujeny, B. Filterbank multicarrier communications for underwater acoustic channels. IEEE J. Ocean. Eng. 2015, 40, 115–130. [Google Scholar] [CrossRef]
- Stojanovic, M. Retrofocusing techniques for high rate acoustic communications. J. Acoust. Soc. Am. 2005, 117, 1173–1185. [Google Scholar] [CrossRef]
- Benvenuto, N.; Rui, D.; Falconer, D.; Tomasin, S. Single carrier modulation with nonlinear frequency domain equalization: An idea whose time has come—Again. Proc. IEEE 2010, 98, 69–96. [Google Scholar] [CrossRef]
- Zheng, Y.R.; Wu, J.X.; Xiao, C.S. Turbo equalization for single-carrier underwater acoustic communications. IEEE Commun. Mag. 2015, 53, 79–87. [Google Scholar] [CrossRef]
- Choi, J.W.; Riedl, T.J.; Kim, K.; Singer, A.C.; Preisig, J.C. Adaptive linear turbo equalization over doubly selective channels. IEEE J. Ocean. Eng. 2011, 36, 473–489. [Google Scholar] [CrossRef]
- Duan, W.M.; Tao, J.; Zheng, Y.R. Efficient adaptive turbo equalization for multiple-input–multiple-output underwater acoustic communications. IEEE J. Ocean. Eng. 2018, 43, 792–804. [Google Scholar] [CrossRef]
- Zhao, S.D.; Yan, S.F.; Xi, J.Y. Adaptive turbo equalization for differential OFDM systems in underwater acoustic communications. IEEE Trans. Veh. Technol. 2020, 69, 13937–13941. [Google Scholar] [CrossRef]
- Yellepeddi, A.; Preisig, J.C. Adaptive equalization in a turbo loop. IEEE Trans. W Ireless Commun. 2015, 14, 5111–5122. [Google Scholar] [CrossRef]
- Yellepeddi, A.; Preisig, J.C. Design of decision device for the adaptation of decision directed equalizers. In Proceedings of the 2013 IEEE International Conference on Acoustics, Speech and Signal Processing, Vancouver, BC, Canada, 26–31 May 2013. [Google Scholar]












| Parameters | Setting |
|---|---|
| Communication frequency band | 8–16 kHz |
| Carrier modulation mode | FMT |
| The number of subbands | 4 |
| Roll-off factor | 0.5 |
| Symbol rate on each subband | 4000/3 |
| Constellation | Binary phase shift keying (BPSK) |
| Number of symbol for channel estimation | 250 |
| Algorithm for channel estimation | Recursive least square |
| Forgetting factor | 0.999 |
| Parameters | The Proposed Method | The Method without ECC | The Method Based on Hard Decision |
|---|---|---|---|
| Number of information bits for each user | 20,000 | 20,000 | 20,000 |
| ECC | The rate 1/2 RSC with generator polynomial [5,7] | none | The rate 1/2 RSC with generator polynomial [5,7] |
| Constellation | QPSK | BPSK | QPSK |
| Number of mapped symbols for each user | 20,000 | 20,000 | 20,000 |
| Total information rate of each user | 16,000/3 | 16,000/3 | 16,000/3 |
| Feedforward filter taps of each DFE | 23 | 23 | 23 |
| Feedback filter taps of each DFE | 8 | 8 | 8 |
| Adaptive equalization algorithm | RLSE | RLS | RLS |
| Decoding algorithm | Log-MAP | None | Viterbi |
| Method | Subband Index | The 1st Iteration (User1/User2) | The 2nd Iteration (User1/User2) | The 3rd Iteration (User1/User2) | The 4th–8th Iterations (User1/User2) |
|---|---|---|---|---|---|
| The method without ECC | 1 | 2.0 × 10−2/7.6 × 10−5 | 0/0 | 0/0 | 0/0 |
| 2 | 7.8 × 10−2/1.3 × 10−3 | 2.2 × 10−4/6.1 × 10−4 | 1.5 × 10−4/4 × 10−4 | 1.3 × 10−4/4 × 10−4 | |
| 3 | 4.1 × 10−3/0 | 0/0 | 0/0 | 0/0 | |
| 4 | 1.8 × 10−3/4 × 10−3 | 0/6.8 × 10−4 | 0/6.5 × 10−4 | 0/6.5 × 10−4 | |
| The proposed method | 1 | 4.4 × 10−2/0 | 0/0 | 0/0 | 0/0 |
| 2 | 7.4 × 10−2/0 | 5 × 10−4/0 | 0/0 | 0/0 | |
| 3 | 3 × 10−4/0 | 0/0 | 0/0 | 0/0 | |
| 4 | 0/0 | 0/0 | 0/0 | 0/0 |
| Method | Subband Index | The 1st Iteration (User1/User2) | The 2nd Iteration (User1/User2) | The 3rd Iteration (User1/User2) | The 4th–8th Iterations (User1/User2) |
|---|---|---|---|---|---|
| The method based on hard decision | 1 | 4.4 × 10−2/0 | 0/0 | 0/0 | 0/0 |
| 2 | 7.4 × 10−2/0 | 1.5 × 10−4/0 | 1.5 × 10−4/0 | 1.5 × 10−4/0 | |
| 3 | 3.0 × 10−4/0 | 0/0 | 0/0 | 0/0 | |
| 4 | 0/0 | 0/0 | 0/0 | 0/0 | |
| The proposed method | 1 | 4.4 × 10−2/0 | 0/0 | 0/0 | 0/0 |
| 2 | 7.4 × 10−2/0 | 5 × 10−4/0 | 0/0 | 0/0 | |
| 3 | 3.0 × 10−4/0 | 0/0 | 0/0 | 0/0 | |
| 4 | 0/0 | 0/0 | 0/0 | 0/0 |
Disclaimer/Publisher’s Note: The statements, opinions and data contained in all publications are solely those of the individual author(s) and contributor(s) and not of MDPI and/or the editor(s). MDPI and/or the editor(s) disclaim responsibility for any injury to people or property resulting from any ideas, methods, instructions or products referred to in the content. |
© 2023 by the authors. Licensee MDPI, Basel, Switzerland. This article is an open access article distributed under the terms and conditions of the Creative Commons Attribution (CC BY) license (https://creativecommons.org/licenses/by/4.0/).
Share and Cite
Sun, L.; Li, H. Multiple-Input-Multiple-Output Filtered Multitone Time Reversal Acoustic Communications Using Direct Adaptation-Based Turbo Equalization. Sensors 2023, 23, 6081. https://doi.org/10.3390/s23136081
Sun L, Li H. Multiple-Input-Multiple-Output Filtered Multitone Time Reversal Acoustic Communications Using Direct Adaptation-Based Turbo Equalization. Sensors. 2023; 23(13):6081. https://doi.org/10.3390/s23136081
Chicago/Turabian StyleSun, Lin, and Haisen Li. 2023. "Multiple-Input-Multiple-Output Filtered Multitone Time Reversal Acoustic Communications Using Direct Adaptation-Based Turbo Equalization" Sensors 23, no. 13: 6081. https://doi.org/10.3390/s23136081
APA StyleSun, L., & Li, H. (2023). Multiple-Input-Multiple-Output Filtered Multitone Time Reversal Acoustic Communications Using Direct Adaptation-Based Turbo Equalization. Sensors, 23(13), 6081. https://doi.org/10.3390/s23136081
