Using Voice Activity Detection and Deep Neural Networks with Hybrid Speech Feature Extraction for Deceptive Speech Detection †
Abstract
:1. Introduction
- Proposing, implementing, and validating a VAD system based on CNNs, using several postprocessing techniques, obtaining improved performance on the widely used benchmark database CENSREC-1-C, as well as on the TIMIT database;
- Proposing, implementing, and validating a modified version of the VAD system, based on a hybrid CNN-MLP network, to be used for utterance-level DSD on the RLDD and RODeCAR databases;
- Proposing, implementing, and validating a novel DSD system based on a hybrid CNN-MLP network and using a fusion of automatically and algorithmically extracted speech features, selected based on Kolmogorov–Smirnov feature ranking;
- Obtaining results for the DSD task approached in a “local lie” manner, i.e., determining which particular utterances are truthful vs. deceptive, more relevant for forensic and law enforcement applications than other approaches (e.g., determining the overall truthful or deceptive attitude of a speaker).
2. System Architecture
2.1. The Voice Activity Detection (VAD) System
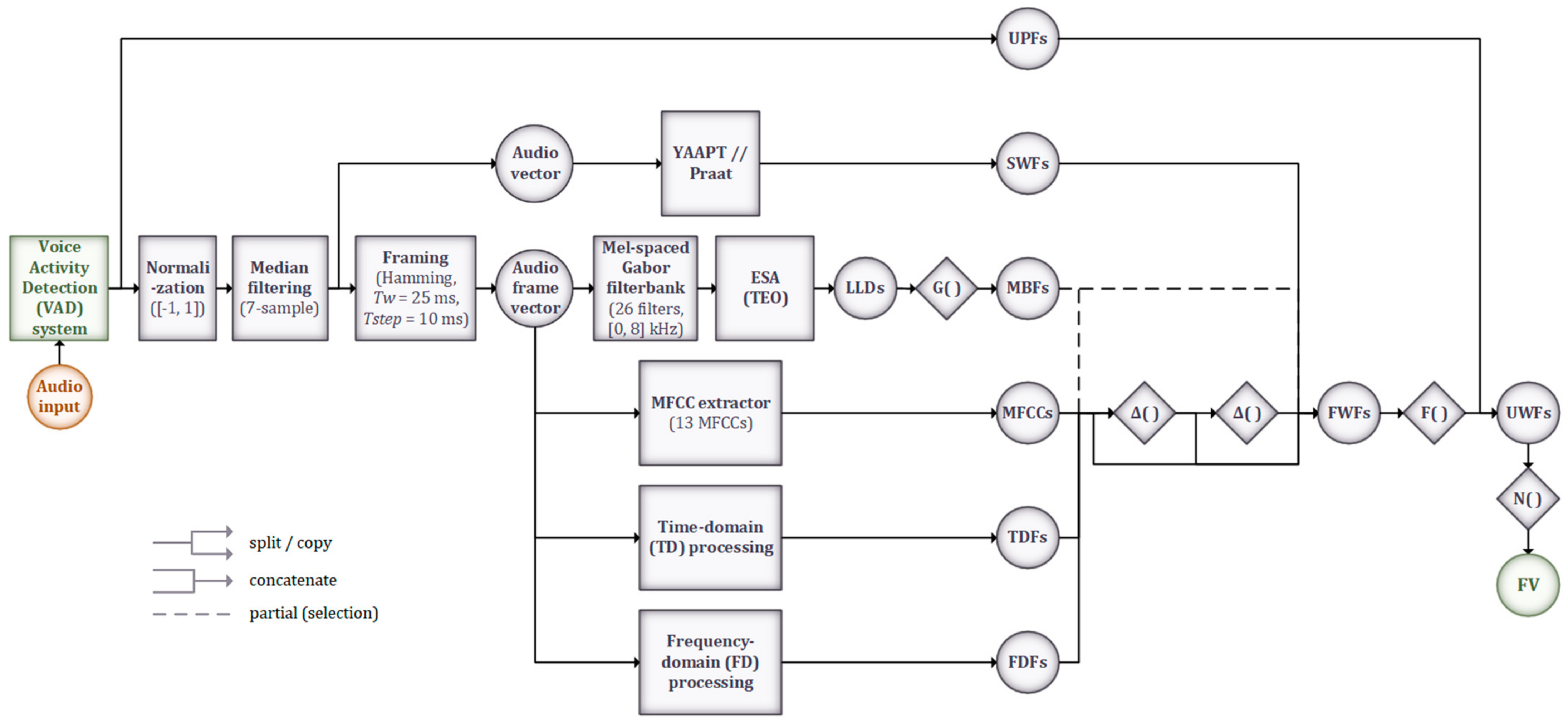
2.2. The Deceptive Speech Detection (DSD) System
3. Experimental Setup and Results
3.1. Databases and Subsets
3.1.1. The CENSREC-1-C Database
3.1.2. The TIMIT Database
3.1.3. The RLDD Database
3.1.4. The RODeCAR Database
3.2. Setup and Details–VAD Task
3.3. Results and Discussions–VAD Task
3.4. Setup and Details–DSD Task
- For each feature in the full set of size 2260, establish the null hypothesis that its distribution for the truthful samples is the same as that for the deceptive samples (i.e., the feature would not be relevant for the DSD task);
- Compute the empirical cumulative distribution functions (ECDFs) of each feature, according to Equation (5), where: Fk,Nk(x) are the ECDFs across all values for the truthful samples (k = 0) and for the deceptive samples (k = 1), respectively, with Nk representing the number of samples in the class; 1[–∞,x](Xi) is the indicator function, equal to 1 if Xi ≤ x or 0 otherwise; and Xi is the current sample;
- Compute the KS statistic, D, using the two ECDFs and Equation (6), where sup is the supremum function;
- Eliminate the features for which the null hypothesis cannot be rejected with p = 0.01, i.e., when Equation (7), derived from the KS critical value tables [42], does not hold;
- Rank the remaining (relevant) features in reverse order according to the value of D;
- Select the top features according to the desired number.
3.5. Results and Discussions–DSD Task
4. Conclusions
Author Contributions
Funding
Institutional Review Board Statement
Informed Consent Statement
Data Availability Statement
Conflicts of Interest
References
- Hinton, G. Deep Neural Networks for Acoustic Modeling in Speech Recognition: The Shared Views of Four Research Groups. IEEE Signal Process. Mag. 2012, 29, 82–97. [Google Scholar] [CrossRef]
- Shao, Y.; Lin, Q. Use of Pitch Continuity for Robust Speech Activity Detection. In Proceedings of the IEEE International Conference on Acoustics, Speech and Signal Processing (ICASSP), Calgary, AB, Canada, 15–20 April 2018; pp. 5534–5538. [Google Scholar] [CrossRef]
- Wisdom, S. Voice Activity Detection Using Subband Noncircularity. In Proceedings of the IEEE International Conference on Acoustics, Speech and Signal Processing (ICASSP), South Brisbane, Australia, 19–24 April 2015; pp. 4505–4509. [Google Scholar] [CrossRef]
- Heese, F.; Niermann, M.; Vary, P. Speech-codebook Based Soft Voice Activity Detection. In Proceedings of the IEEE International Conference on Acoustics, Speech and Signal Processing (ICASSP), South Brisbane, Australia, 19–24 April 2015; pp. 4335–4339. [Google Scholar] [CrossRef]
- Espi, M. Using Spectral Fluctuation of Speech in Multi-feature HMM-based Voice Activity Detection. In Proceedings of the INTERSPEECH, Florence, Italy, 27–31 August 2011; pp. 2613–2616. [Google Scholar]
- Fujimoto, M.; Watanabe, S.; Nakatani, T. Voice Activity Detection Using Frame-Wise Model Re-Estimation Method Based on Gaussian Pruning with Weight Normalization. In Proceedings of the INTERSPEECH, Makuhari, Chiba, Japan, 26–30 September 2010; pp. 3102–3105. [Google Scholar] [CrossRef]
- Jassim, W.; Harte, N. Voice Activity Detection Using Neurograms. In Proceedings of the IEEE International Conference on Acoustics, Speech and Signal Processing (ICASSP), Calgary, AB, Canada, 15–20 April 2018; pp. 5524–5528. [Google Scholar] [CrossRef]
- Fujimura, H. Simultaneous Gender Classification and Voice Activity Detection Using Deep Neural Networks. In Proceedings of the INTERSPEECH, Singapore, 14–18 September 2014; pp. 1139–1143. [Google Scholar] [CrossRef]
- Bai, L.; Zhang, Z.; Hu, J. Voice Activity Detection Based on Deep Neural Networks and Viterbi. IOP Conf. Ser. Mater. Sci. Eng. 2017, 231, 12–42. [Google Scholar] [CrossRef] [Green Version]
- Hughes, T.; Mierle, K. Recurrent Neural Networks for Voice Activity Detection. In Proceedings of the IEEE International Conference on Acoustics, Speech and Signal Processing (ICASSP), Vancouver, QC, Canada, 26–31 May 2013; pp. 7378–7382. [Google Scholar] [CrossRef] [Green Version]
- Ghaemmaghami, H.; Baker, B.; Vogt, R.; Sridharan, S. Noise Robust Voice Activity Detection Using Features Extracted from the Time-domain Autocorrelation Function. In Proceedings of the INTERSPEECH, Makuhari, Japan, 26–30 September 2010; pp. 3118–3121. [Google Scholar]
- Zazo Candil, R.; Sainath, T.N.; Simko, G.; Parada, C. Feature Learning with Raw-Waveform CLDNNs for Voice Activity Detection. In Proceedings of the INTERSPEECH, San Francisco, CA, USA, 8–12 September 2016; pp. 3668–3672. [Google Scholar]
- Thomas, S.; Saon, G.; Van Segbroeck, M.; Narayanan, S.S. Improvements to the IBM Speech Activity Detection System for the DARPA RATS Program. In Proceedings of the IEEE International Conference on Acoustics, Speech and Signal Processing (ICASSP), South Brisbane, Australia, 19–24 April 2015; pp. 4500–4504. [Google Scholar] [CrossRef]
- Kitaoka, N.; Yamamoto, K.; Kusamizu, T. Development of VAD Evaluation Framework CENSREC-1-C and Investigation of Relationship between VAD and Speech Recognition Performance. In Proceedings of the IEEE Workshop on Automatic Speech Recognition & Understanding (ASRU), Kyoto, Japan, 9–13 December 2007; pp. 607–612. [Google Scholar] [CrossRef]
- Garofolo, J.S. DARPA TIMIT Acoustic-Phonetic Continuous Speech Corpus; U.S. Department of Commerce, National Institute of Standards and Technology: Gaithersburg, MD, USA, 1 February 1993. [Google Scholar]
- Montacie, C.; Caraty, M.-J. Prosodic Cues and Answer Type Detection for the Deception Sub-Challenge. In Proceedings of the INTERSPEECH, San Francisco, CA, USA, 8–12 September 2016; pp. 2016–2020. [Google Scholar] [CrossRef] [Green Version]
- National Research Council. The Polygraph and Lie Detection. Committee to Review the Scientific Evidence on the Polygraph. In Division of Behavioral and Social Sciences and Education; National Academies Press: Washington, DC, USA, 2003; pp. 13–14. [Google Scholar] [CrossRef]
- Verschuere, B.; Prati, V.; De Houwer, J. Cheating the Lie Detector. J. Psychol. Sci. 2009, 20, 410–413. [Google Scholar] [CrossRef] [PubMed]
- Hirschberg, J. Distinguishing Deceptive from Non-deceptive Speech. In Proceedings of the INTERSPEECH, Lisbon, Portugal, 4–8 September 2005; pp. 1833–1836. [Google Scholar]
- Levitan, S.I. Cross-cultural Production and Detection of Deception from Speech. In Proceedings of the ACM on Workshop on Multimodal Deception Detection, Seattle, WA, USA, 13 November 2015; pp. 1–8. [Google Scholar] [CrossRef]
- Perez-Rosas, V.; Abouelenien, M.; Mihalcea, R.; Burzo, M. Deception Detection using Real-Life Trial Data. In Proceedings of the ACM on International Conference on Multimodal Interaction, New York, NY, USA, 9 November 2015; pp. 59–66. [Google Scholar] [CrossRef]
- Mihalache, S.; Pop, G.; Burileanu, D. Introducing the RODeCAR Database for Deceptive Speech Detection. In Proceedings of the 10th International Conference on Speech Technology and Human-Computer Dialogue (SpeD), Timisoara, Romania, 10–12 October 2019; pp. 1–6. [Google Scholar] [CrossRef]
- Sen, U.M.; Perez-Rosas, V.; Yanikoglu, B.; Abouelenien, M.; Burzo, M.; Mihalcea, R. Multimodal Deception Detection using Real-Life Trial Data. IEEE Trans. Affect. Comput. 2020, 1–13. [Google Scholar] [CrossRef]
- Fathima Bareeda, E.P.; Shajee Mohan, B.S.; Ahammed Muneer, K.V. Lie Detection using Speech Processing Techniques. J. Phys. Conf. Ser. 2021, 1921, 012028. [Google Scholar] [CrossRef]
- Mendels, G.; Levitan, S.I.; Lee, K.-Z.; Hirschberg, J. Hybrid Acoustic-Lexical Deep Learning Approach for Deception Detection. In Proceedings of the INTERSPEECH, Stockholm, Sweden, 20–24 August 2017; pp. 1472–1476. [Google Scholar] [CrossRef] [Green Version]
- Jaiswal, M.; Tabibu, S.; Bajpai, R. The Truth and Nothing but the Truth: Multimodal Analysis for Deception Detection. In Proceedings of the IEEE 16th International Conference on Data Mining Workshops (ICDMW), Barcelona, Spain, 12–15 December 2016; pp. 938–943. [Google Scholar] [CrossRef] [Green Version]
- Velichko, A.; Budkov, V.; Kagirov, I.; Karpov, A. Applying Ensemble Learning Techniques and Neural Networks to Deceptive and Truthful Information Detection Task in the Flow of Speech. In Intelligent Distributed Computing XIII. Studies in Computational Intelligence; Kotenko, I., Badica, C., Desnitsky, V., El Baz, D., Ivanovic, M., Eds.; Springer: Cham, Switzerland, 2019; Volume 868, pp. 477–482. [Google Scholar] [CrossRef]
- Schuller, B.; Steidl, S.; Batliner, A.; Hirschberg, J.; Burgoon, J.K.; Baird, A.; Elkins, A.; Zhang, Y.; Coutinho, E.; Evanini, K. The INTERSPEECH 2014 Computational Paralinguistics Challenge: Cognitive & Physical Load. In Proceedings of the INTERSPEECH, Singapore, 14–18 September 2014; pp. 427–431. [Google Scholar]
- Zhang, J.; Levitan, S.I.; Hirschberg, J. Multimodal Deception Detection using Automatically Extracted Acoustic, Visual, and Lexical Features. In Proceedings of the INTERSPEECH, Shanghai, China, 25–29 October 2020; pp. 359–363. [Google Scholar] [CrossRef]
- Levitan, S.I.; Maredia, A.; Hirschberg, J. Linguistic Cues to Deception and Perceived Deception in Interview Dialogues. In Proceedings of the Conference of the North American Chapter of the Association for Computational Linguistics (NAACL), New Orleans, LA, USA, 1–6 June 2018; pp. 1941–1950. [Google Scholar] [CrossRef] [Green Version]
- Kopev, D.; Ali, A.; Koychev, I.; Nakov, P. Detecting Deception in Political Debates Using Acoustic and Textual Features. In Proceedings of the IEEE Automatic Speech Recognition and Understanding Workshop (ASRU), Singapore, 14–18 December 2019; pp. 652–659. [Google Scholar] [CrossRef] [Green Version]
- Mihalache, S.; Ivanov, I.-A.; Burileanu, D. Deep Neural Networks for Voice Activity Detection. In Proceedings of the 44th International Conference on Telecommunications and Signal Processing (TSP), Brno, Czech Republic, 26–28 July 2021; pp. 191–194. [Google Scholar] [CrossRef]
- Bauerle, A.; Van Onzenoodt, C.; Ropinski, T. Net2Vis—A Visual Grammar for Automatically Generating Publication-Tailored CNN Architecture Visualizations. IEEE Trans. Vis. Comput. Graph. 2021, 27, 2980–2991. [Google Scholar] [CrossRef] [PubMed]
- Chaspari, T.; Dimitriadis, D.; Maragos, P. Emotion Classification of Speech Using Modulation Features. In Proceedings of the 22nd European Signal Proceedings Conference (EUSIPCO), Lisbon, Portugal, 1–5 September 2014; pp. 1552–1556. [Google Scholar] [CrossRef]
- Mihalache, S.; Burileanu, D.; Pop, G.; Burileanu, C. Modulation-based Speech Emotion Recognition with Reconstruction Error Feature Expansion. In Proceedings of the 10th International Conference on Speech Technology and Human-Computer Dialogue (SpeD), Timisoara, Romania, 10–12 October 2019; pp. 1–6. [Google Scholar] [CrossRef]
- Kasi, K.; Zahorian, S.A. Yet Another Algorithm for Pitch Tracking. In Proceedings of the IEEE International Conference on Acoustics, Speech, and Signal Processing (ICASSP), Orlando, FL, USA, 13–17 May 2002; pp. I-361–I-364. [Google Scholar] [CrossRef]
- Jadoul, Y.; Thompson, B.; De Boer, B. Introducing Parselmouth: A Python Interface to Praat. J. Phon. 2018, 71, 1–15. [Google Scholar] [CrossRef] [Green Version]
- Ioffe, S.; Szegedy, C. Batch Normalization: Accelerating Deep Network Training by Reducing Internal Covariate Shift. In Proceedings of the 32nd International Conference on Machine Learning, Lille, France, 6–11 July 2015; pp. 448–456. [Google Scholar]
- Li, X.; Chen, S.; Hu, X.; Yang, J. Understanding the Disharmony between Dropout and Batch Normalization by Variance Shift. In Proceedings of the IEEE/CVF Conference on Computer Vision and Pattern Recognition (CVPR), Long Beach, CA, USA, 15–20 June 2019; pp. 2677–2685. [Google Scholar] [CrossRef] [Green Version]
- Kingma, D.P.; Ba, J.L. Adam: A Method for Stochastic Optimization. In Proceedings of the 3rd International Conference on Learning Representations (ICLR), San Diego, CA, USA, 7–9 May 2015; pp. 1–15. [Google Scholar]
- Hodges, J.L. The Significance Probability of the Smirnov Two-sample Test. Ark. Mat. 1958, 3, 469–486. [Google Scholar] [CrossRef]
- Smirnov, N. Table for Estimating the Goodness of Fit for Empirical Distributions. Ann. Math. Stat. 1948, 19, 279–281. [Google Scholar] [CrossRef]











| Metric | Model | ||
|---|---|---|---|
| MLP | RNN | CNN | |
| Accuracy [%] | 77.07 | 79.87 | 80.25 |
| Precision [%] | 68.59 | 76.65 | 85.50 |
| FAR [%] | 11.65 | 7.67 | 5.60 |
| FRR [%] | 46.75 | 46.39 | 49.10 |
| SNR | Ambient Noise Type | |||
|---|---|---|---|---|
| Subway | Babble | Car | Exhibition | |
| >30 dB | 98.20 | |||
| 20 dB | 94.80 | 96.10 | 96.28 | 96.60 |
| 15 dB | 93.41 | 91.60 | 92.28 | 92.40 |
| 10 dB | 92.40 | 90.90 | 90.17 | 91.70 |
| 5 dB | 87.61 | 86.51 | 87.47 | 88.71 |
| 0 dB | 78.40 | 56.74 | 82.16 | 74.02 |
| −5 dB | 60.50 | 22.37 | 67.33 | 68.13 |
| System | Ambient Noise Type | Model | Descriptors | ||||
|---|---|---|---|---|---|---|---|
| Restaurant | Highway | Average | |||||
| High SNR | Low SNR | High SNR | Low SNR | ||||
| CENSREC-1-C baseline [14] | 74.20 | 56.50 | 39.40 | 41.40 | 52.88 | HMM | MFCC, Energy |
| [5] | 76.75 | 63.02 | 92.44 | 79.64 | 77.96 | GMM-HMM | Energy, Pitch, DFT |
| [6] | 92.75 | 65.51 | 100.00 | 100.00 | 89.57 | Kalman | MFCC |
| [8] | 75.65 | 21.45 | 95.94 | 49.86 | 60.73 | MLP | MFCC |
| MLP | 88.11 | 57.46 | 56.65 | 54.34 | 64.14 | MLP | MFCC, Energy |
| RNN | 74.25 | 39.10 | 65.80 | 51.50 | 57.66 | RNN (LSTM) | MFCC |
| CNN-DFT1 | 85.21 | 64.92 | 82.60 | 75.65 | 77.10 | CNN | DFT |
| CNN-DFT2 | 97.10 | 59.13 | 95.36 | 89.56 | 85.29 | CNN | DFT |
| CNN-DFT3 | 99.13 | 68.69 | 97.97 | 90.72 | 89.13 | CNN | DFT |
| Metric | Model | |||||||
|---|---|---|---|---|---|---|---|---|
| Original CNN 127-pt. DFT, 8 kHz s.r. No Retraining (Baseline) | Original CNN 127-pt. DFT, 8 kHz s.r. Retrained (10%) | Original CNN 255-pt. DFT, 16 kHz s.r. Retrained (10%) | CNN-MLP 255-pt. DFT, 16 kHz s.r. Retrained (10%) | |||||
| RLDD | RODeCAR | RLDD | RODeCAR | RLDD | RODeCAR | RLDD | RODeCAR | |
| Accuracy [%] | 83.22 | 80.55 | 86.18 | 85.92 | 91.53 | 86.37 | 94.92 | 89.92 |
| Precision [%] | 89.55 | 87.34 | – | – | – | – | 96.79 | 90.89 |
| FAR [%] | 35.73 | 18.25 | – | – | – | – | 11.05 | 14.69 |
| FRR [%] | 11.31 | 20.21 | – | – | – | – | 3.35 | 7.15 |
| Model | Accuracy [%] | |
|---|---|---|
| RLDD | RODeCAR | |
| CNN-MLP; input: 255-pt. DFT + 39; 16 kHz s.r. | 78.71 | 64.45 |
| Feature | Description | In Group | D |
|---|---|---|---|
| m_d_Sxx_EgyH | Mean of delta of high frequency energy (1–4 kHz) | FDF | 0.300252 |
| m_d_Sxx_Enpy_sbb_14 | Mean of delta of spectral entropy in subband 14 | FDF | 0.269789 |
| m_d_Sxx_Enpy_sbb_6 | Mean of delta of spectral entropy in subband 6 | FDF | 0.261999 |
| m_d_Sxx_Slop_sbb_3 | Mean of delta of spectral slope in subband 3 | FDF | 0.252644 |
| m_d_Sxx_Slop_sbb_15 | Mean of delta of spectral slope in subband 15 | FDF | 0.250614 |
| m_d_Sxx_Slop_sbb_0 | Mean of delta of spectral slope in the full band (0–8 kHz) | FDF | 0.250545 |
| m_d_Sxx_Slop_sbb_2 | Mean of delta of spectral slope in subband 2 | FDF | 0.250102 |
| m_Sxx_Enpy_sbb_2 | Mean of spectral entropy in subband 2 | FDF | 0.248943 |
| m_d_Sxx_Enpy_sbb_13 | Mean of delta of spectral entropy in subband 13 | FDF | 0.248888 |
| m_d_Sxx_EgyL | Mean of delta of low frequency energy (250–650 Hz) | FDF | 0.248805 |
| Feature | Description | In Group | D |
|---|---|---|---|
| m_dd_Sxx_Roll75_sbb_1 | Mean of double delta of 75% spectral roll-off in subband 1 | FDF | 0.231245 |
| m_d_Sxx_Roll90_sbb_1 | Mean of delta of 90% spectral roll-off in subband 1 | FDF | 0.230591 |
| s_dd_Sxx_Skew_sbb_10 | Std. dev. of double delta of spectral skewness in subband 10 | FDF | 0.228881 |
| s_dd_Sxx_Skew_sbb_11 | Std. dev. of double delta of spectral skewness in subband 11 | FDF | 0.221929 |
| s_d_Sxx_Skew_sbb_10 | Std. dev. of delta of spectral skewness in subband 10 | FDF | 0.220162 |
| s_d_Sxx_Skew_sbb_11 | Std. dev. of delta of spectral skewness in subband 11 | FDF | 0.217571 |
| m_dd_Sxx_Enpy_sbb_23 | Mean of double delta of spectral entropy in subband 23 | FDF | 0.213800 |
| m_d_Sxx_Slop_sbb_1 | Mean of delta of spectral slope in subband 1 | FDF | 0.211873 |
| m_dd_Sxx_Enpy_sbb_22 | Mean of double delta of spectral entropy in subband 22 | FDF | 0.205927 |
| m_d_Sxx_Kurt_sbb_3 | Mean of delta of spectral kurtosis in subband 3 | FDF | 0.196904 |
| Subband | Central Freq. [Hz] | Bandwidth [Hz] | Subband | Central Freq. [Hz] | Bandwidth [Hz] |
|---|---|---|---|---|---|
| 1 | 62.5 | 125 | 14 | 1890.5 | 469 |
| 2 | 140 | 156 | 15 | 2140.5 | 531 |
| 3 | 218.5 | 187 | 16 | 2421.5 | 593 |
| 4 | 312 | 188 | 17 | 2718.5 | 625 |
| 5 | 406 | 188 | 18 | 3062 | 688 |
| 6 | 515.5 | 219 | 19 | 3421.5 | 781 |
| 7 | 625 | 250 | 20 | 3828 | 844 |
| 8 | 765.5 | 281 | 21 | 4281 | 938 |
| 9 | 906 | 312 | 22 | 4765.5 | 1031 |
| 10 | 1078 | 344 | 23 | 5312.5 | 1125 |
| 11 | 1249.5 | 375 | 24 | 5906 | 1250 |
| 12 | 1453 | 406 | 25 | 6546.5 | 1343 |
| 13 | 1656 | 438 | 26 | 7265.5 | 1469 |
| Feature Subset | Subset Size | RLDD | RODeCAR | ||
|---|---|---|---|---|---|
| UA [%] | WA [%] | UA [%] | WA [%] | ||
| all | 2260 | 54.0 | 54.0 | 51.0 | 53.4 |
| APF | 26 | 53.0 | 53.0 | 52.4 | 53.4 |
| FDF | 1842 | 55.3 | 55.3 | 52.4 | 52.9 |
| MFCC | 78 | 52.0 | 52.0 | 52.5 | 52.9 |
| MBF | 312 | 58.6 | 58.6 | 53.8 | 54.8 |
| UPF | 2 | 49.8 | 49.7 | 51.4 | 59.6 |
| APF + FDF | 1868 | 55.5 | 55.5 | 52.7 | 52.8 |
| APF + MFCC | 104 | 52.5 | 52.5 | 53.6 | 54.2 |
| APF + MBF | 338 | 57.5 | 57.5 | 53.9 | 54.2 |
| APF + UPF | 28 | 51.8 | 51.8 | 52.6 | 53.0 |
| FDF + MFCC | 1920 | 54.9 | 54.9 | 52.6 | 53.2 |
| FDF + MBF | 2154 | 56.5 | 56.5 | 52.8 | 52.1 |
| FDF + UPF | 1844 | 55.1 | 55.2 | 51.9 | 52.5 |
| MFCC + MBF | 390 | 57.9 | 57.9 | 52.7 | 55.0 |
| MFCC + UPF | 80 | 53.4 | 53.4 | 52.0 | 53.6 |
| MBF + UPF | 314 | 56.8 | 56.8 | 53.4 | 55.5 |
| APF + FDF + MFCC | 1946 | 55.7 | 55.7 | 53.1 | 54.7 |
| APF + FDF + MBF | 2180 | 56.0 | 56.0 | 51.6 | 51.3 |
| APF + FDF + UPF | 1870 | 57.4 | 57.5 | 52.4 | 53.5 |
| APF + MFCC + MBF | 416 | 57.4 | 57.5 | 53.8 | 54.6 |
| APF + MFCC + UPF | 106 | 54.8 | 54.8 | 52.4 | 53.4 |
| APF + MBF + UPF | 340 | 58.1 | 58.1 | 54.9 | 55.0 |
| FDF + MFCC + MBF | 2232 | 57.2 | 57.2 | 51.6 | 52.4 |
| FDF + MFCC + UPF | 1922 | 54.9 | 55.0 | 52.4 | 54.0 |
| FDF + MBF + UPF | 2156 | 55.5 | 55.5 | 52.7 | 53.8 |
| MFCC + MBF + UPF | 392 | 55.4 | 55.4 | 53.1 | 55.1 |
| APF + FDF + MFCC + MBF | 2258 | 56.8 | 56.8 | 52.1 | 54.7 |
| APF + FDF + MFCC + UPF | 1948 | 55.7 | 55.7 | 52.0 | 54.2 |
| APF + FDF + MBF + UPF | 2182 | 55.5 | 55.5 | 52.1 | 53.6 |
| APF + MFCC + MBF + UPF | 418 | 56.0 | 56.0 | 53.0 | 55.6 |
| FDF + MFCC + MBF + UPF | 2234 | 56.2 | 56.2 | 52.3 | 51.7 |
| top-10 selected by the KS-based algorithm | 10 | 59.3 | 59.2 | 51.6 | 53.6 |
| top-20 selected by the KS-based algorithm | 20 | 58.1 | 58.2 | 52.3 | 56.5 |
| top-50 selected by the KS-based algorithm | 50 | 58.3 | 58.3 | 52.5 | 53.3 |
| top-100 selected by the KS-based algorithm | 100 | 58.0 | 58.0 | 52.0 | 53.4 |
| top-200 selected by the KS-based algorithm | 200 | 55.0 | 55.1 | 52.3 | 51.5 |
| Model | RLDD | RODeCAR | ||
|---|---|---|---|---|
| UA [%] | WA [%] | UA [%] | WA [%] | |
| CNN; input: 1183 × 257/2392 × 257 linear magnitude spectrogram; 16 kHz s.r. | 62.6 | 62.6 | 61.4 | 61.6 |
| Model | RLDD | RODeCAR | ||
|---|---|---|---|---|
| UA [%] | WA [%] | UA [%] | WA [%] | |
| CNN-MLP; input: 1183 × 257/2392 × 257 linear magnitude spectrogram + 10/340; 16 kHz s.r. | 63.7 | 63.6 | 62.4 | 62.5 |
Publisher’s Note: MDPI stays neutral with regard to jurisdictional claims in published maps and institutional affiliations. |
© 2022 by the authors. Licensee MDPI, Basel, Switzerland. This article is an open access article distributed under the terms and conditions of the Creative Commons Attribution (CC BY) license (https://creativecommons.org/licenses/by/4.0/).
Share and Cite
Mihalache, S.; Burileanu, D. Using Voice Activity Detection and Deep Neural Networks with Hybrid Speech Feature Extraction for Deceptive Speech Detection. Sensors 2022, 22, 1228. https://doi.org/10.3390/s22031228
Mihalache S, Burileanu D. Using Voice Activity Detection and Deep Neural Networks with Hybrid Speech Feature Extraction for Deceptive Speech Detection. Sensors. 2022; 22(3):1228. https://doi.org/10.3390/s22031228
Chicago/Turabian StyleMihalache, Serban, and Dragos Burileanu. 2022. "Using Voice Activity Detection and Deep Neural Networks with Hybrid Speech Feature Extraction for Deceptive Speech Detection" Sensors 22, no. 3: 1228. https://doi.org/10.3390/s22031228
APA StyleMihalache, S., & Burileanu, D. (2022). Using Voice Activity Detection and Deep Neural Networks with Hybrid Speech Feature Extraction for Deceptive Speech Detection. Sensors, 22(3), 1228. https://doi.org/10.3390/s22031228
