A Crest Factor Reduction Technique for LTE Signals with Target Relaxation in Power Amplifier Linearization
Abstract
:1. Introduction
2. Signal Modeling and CFR Method
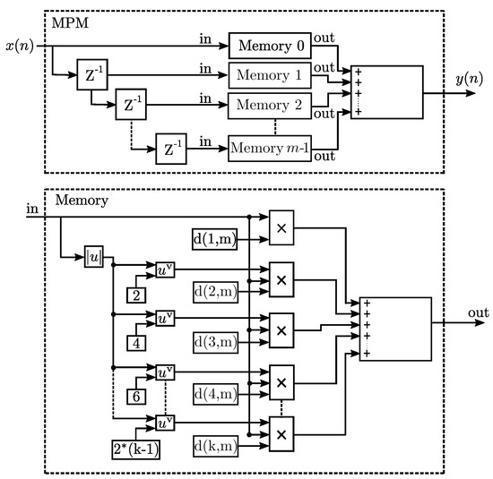
2.1. CFR Model Identification with Joint PAPR Clipping
2.2. CFR Algorithm to Single-Band Signals with PAPR Target
| Algorithm 1: CFR algorithm with PAPR target. |
| Input: |
| Output: |
| ; |
| ; |
![]() |
3. Implementation and Measurement
Experimental Setup Testbed
4. Experimental Results
4.1. CFR Measurement Results with LTE Signals
LTE Proposal Study Case
4.2. Determining the Digital Predistorter Model
4.3. Discussion
5. Conclusions and Future Work
Author Contributions
Funding
Institutional Review Board Statement
Informed Consent Statement
Data Availability Statement
Acknowledgments
Conflicts of Interest
References
- Angelotti, A.M.; Gibiino, G.P.; Florian, C.; Santarelli, A. Broadband Error Vector Magnitude Characterization of a GaN Power Amplifier using a Vector Network Analyzer. In Proceedings of the 2020 IEEE/MTT-S International Microwave Symposium (IMS), Los Angeles, CA, USA, 4–6 August 2020. [Google Scholar]
- Borel, A.; Barzdėnas, V.; Vasjanov, A. Linearization as a Solution for Power Amplifier Imperfections: A Review of Methods. Electronics 2021, 10, 1073. [Google Scholar] [CrossRef]
- Mengozzi, M.; Gibiino, G.P.; Angelotti, A.M.; Florian, C.; Santarelli, A. GaN Power Amplifier Digital Predistortion by Multi-Objective Optimization for Maximum RF Output Power. Electronics 2021, 10, 244. [Google Scholar] [CrossRef]
- Franco, I.B.; Mendes, L.L.; Rodrigues, J.; Cruz, T. 5G Waveforms for IoT Applications. IEEE Commun. Surv. Tutor. 2019, 21, 2554–2567. [Google Scholar]
- Sezginer, S.; Sari, H. Metric-Based Symbol Predistortion Techniques for Peak Power Reduction in OFDM Systems. IEEE Trans. Wirel. Commun. 2007, 6, 2622–2629. [Google Scholar] [CrossRef]
- Becerra, J.A.; Madero, M.J.; Reina-Tosina, J.; Crespo-Cadenas, C. Sparse Identification of Volterra Models for Power Amplifiers Without Pseudoinverse Computation. IEEE Trans. Microw. Theory Tech. 2020, 68, 4570–4578. [Google Scholar] [CrossRef]
- Chen, X.; Chen, W.; Huang, F.; Ghannouchi, F.M.; Feng, Z.; Liu, Y. Systematic Crest Factor Reduction and Efficiency Enhancement of Dual-Band Power Amplifier Based Transmitters. IEEE Trans. Broadcast. 2017, 63, 111–122. [Google Scholar] [CrossRef]
- Peng, S.; Liu, S.; Song, L.; Memon, I.; Wang, H. Spectral Efficiency Maximization for Deliberate Clipping-Based Multicarrier FasterThan-Nyquist Signaling. IEEE Access 2018, 6, 13617–13623. [Google Scholar] [CrossRef]
- Quaglia, R.; Bell, J.; Cripps, S. New General Formulation and Experimental Verification of Harmonic Clipping Contours in High-Frequency Power Devices. IEEE Trans. Microw. Theory Tech. 2017, 65, 3903–3909. [Google Scholar] [CrossRef] [Green Version]
- Lee, B.; Kin, Y. Interference-Aware PAPR Reduction Scheme to Increase the Energy Efficiency of Large-Scale MIMO-OFDM Systems. Energies 2017, 10, 1184. [Google Scholar] [CrossRef] [Green Version]
- Galaviz-Aguilar, J.A.; Vargas-Rosales, C.; Tlelo-Cuautle, E. Automated Driving of GaN Chireix Power Amplifier for the Digital Predistortion Linearization. IEEE Trans. Circuits Syst. II Express Briefs 2021, 68, 1887–1891. [Google Scholar] [CrossRef]
- Manai, M.; Chenini, H.; Harguem, A.; Boulejfen, N.; Ghannouchi, F.M. Robust digital predistorter for RF power amplifier linearisation. IET Microw. Antennas Propag. 2020, 14, 649–655. [Google Scholar] [CrossRef]
- Kumar, N.; Rawat, M.; Rawat, K. Software-Defined Radio Transceiver Design Using FPGA-Based System-on-Chip Embedded Platform with Adaptive Digital Predistortion. IEEE Access 2020, 8, 214882–214893. [Google Scholar] [CrossRef]
- Amiri, M.; Helaoui, M.; Boulejfen, N.; Ghannouchi, F.M. Optimized spectrum constrained crest factor reduction technique using polynomials. IEEE Trans. Commun. 2015, 63, 2555–2564. [Google Scholar] [CrossRef]
- Braithwaite, R.N. A Combined Approach to Digital Predistortion and Crest Factor Reduction for the Linearization of an RF Power Amplifier. IEEE Trans. Microw. Theory Tech. 2013, 61, 291–302. [Google Scholar] [CrossRef]
- Wang, S.; Roger, M.; Sarrazin, J.; Lelandais-Perrault, C. A joint crest factor reduction and digital predistortion for power amplifiers linearization based on clipping-and-bank-filtering. IEEE Trans. Microw. Theory Tech. 2020, 68, 2725–2733. [Google Scholar] [CrossRef]
- Mohammady, S.; Farrell, R.; Malone, D.; Dooley, J. Performance Investigation of Peak Shrinking and Interpolating the PAPR Reduction Technique for LTE-Advance and 5G Signals. Information 2020, 11, 20. [Google Scholar] [CrossRef] [Green Version]
- Wang, S.; Roger, M.; Sarrazin, J.; Lelandais-Perrault, C. Augmented Iterative Learning Control for Neural-Network-Based Joint Crest Factor Reduction and Digital Predistortion of Power Amplifiers. IEEE Trans. Microw. Theory Tech. 2020, 68, 4835–4845. [Google Scholar] [CrossRef]
- Anoh, K.; Tanriover, C.; Adebisi, B.; Hammoudeh, M. A New Approach to Iterative Clipping and Filtering PAPR Reduction Scheme for OFDM Systems. IEEE Access 2017, 6, 17533–17544. [Google Scholar] [CrossRef]
- Gökceli, S.; Levanen, T.; Riihonen, T.; Yli-Kaakinen, J.; Brihuega, A.; Turunen, M.; Renfors, M.; Valkama, M. Novel Iterative Clipping and Error Filtering Methods for Efficient PAPR Reduction in 5G and Beyond. IEEE Open J. Commun. Soc. 2020, 2, 48–66. [Google Scholar] [CrossRef]
- Yang, L.; Song, K.; Siu, Y.M. Iterative Clipping Noise Recovery of OFDM Signals Based on Compressed Sensing. IEEE Trans. Broadcast. 2017, 63, 706–713. [Google Scholar] [CrossRef]
- Abdelali, H.; Bachir, S.; Oumsis, M. New Technique Combining the Tone Reservation Method with Clipping Technique to Reduce the Peak-to-Average Power Ratio. Int. J. Electr. Comput. Eng. (IJECE) 2018, 8, 5215–5226. [Google Scholar] [CrossRef] [Green Version]
- Olfat, E.; Bengtsson, M. Joint Channel and Clipping Level Estimation for OFDM in IoT-based Networks. IEEE Trans. Signal Process. 2017, 65, 4209–4911. [Google Scholar] [CrossRef]
- Campo, P.P.; Brihuega, A.; Anttila, L.; Turunen, M.; Korpi, D.; Allén, M.; Valkama, M. Gradient-Adaptive Spline-Interpolated LUT Methods for Low-Complexity Digital Predistortion. IEEE Trans. Circuits Syst. I Regul. Pap. 2021, 68, 336–349. [Google Scholar] [CrossRef]
- Galaviz-Aguilar, J.; Vargas-Rosales, C.; Tlelo-Cuautle, E. RF-PA Modeling of PAPR: A Precomputed Approach to Reinforce Spectral Efficiency. IEEE Access 2020, 8, 138217–138235. [Google Scholar] [CrossRef]
- Chatrath, J.; Aziz, M.; Helaoui, M. Forward Behavioral Modeling of a Three-Way Amplitude Modulator-Based Transmitter Using an Augmented Memory Polynomial. Sensors 2018, 18, 770. [Google Scholar] [CrossRef] [PubMed] [Green Version]
- Sanjika, R.; Kurup, D. A Novel Baseband Generation Method for Modeling RF Power Amplifers for Bit Error Rate Computations. Wirel. Pers. Commun. 2021, 120, 911–922. [Google Scholar] [CrossRef]
- Al-Kanan, H.; Li, F. A Simplified Accuracy Enhancement to the Saleh AM/AM Modeling and Linearization of Solid-State RF Power Amplifiers. Electronics 2020, 9, 1806. [Google Scholar] [CrossRef]
- Mohammady, S.; Farrell, R.; Dooley, J.; Varahram, P. Comparison of Piece-Wise and full CFR for OFDM (LTE, 5G beyond), W-CDMA, and DVB-S2X signals. In Proceedings of the 2021 Wireless Days (WD), Paris, France, 30 June–2 July 2021; pp. 1–8. [Google Scholar]













| Meas | LTE 5-MHz wo/ CFR | LTE 5-MHz w/CFR | LTE 10-MHz wo/ CFR | LTE 10-MHz w/CFR |
|---|---|---|---|---|
| Min EVM (%) Peak | 3.50% | 19.75% | 4.13% | 22.48% |
| Max EVM (%) Peak | 9.20% | 49.14% | 9.59% | 61.69% |
| Peak-to-average EVM (%) | 4.56% | 30.62% | 5.67% | 31.03% |
| Minimum EVM (%) RMS | 1.59% | 10.95% | 2.16% | 11.50% |
| Maximum EVM (%) RMS | 4.18% | 16.89% | 4.51% | 17.64% |
| Average of RMS (%) | 1.89% | 13.32 % | 2.60% | 14.12% |
| LTE 5-MHz | PAPR Tx w/CFR (dB) | ACPR Lower & Upper (dBc) | (dBm) |
|---|---|---|---|
| CFR1 | / | ||
| CFR2 | / | ||
| CFR3 | / | ||
| LTE 10-MHz | PAPR Tx w/CFR(dB) | ACPR Lower & Upper(dBc) | Pout(dBm) |
| CFR1 | / | ||
| CFR2 | / | ||
| CFR3 | / |
| Case | RMS EVM (%) | Avg EVM (dB) |
|---|---|---|
| PA output | ||
| With PD | ||
| With PD |
| Related | Fundamental | Predistortion | Baseband Signal |
|---|---|---|---|
| Work | Frequency | Technique | Generation |
| This work | 47 MHz–6 GHz | CFR-Clipping and | FPGA RF Agile Transceiver |
| Memory polynomial model | |||
| Xiaofan Chen, et al. [7] | 1.9–2.6 GHz | 2-D power distribution reshaping | CW Source |
| Mehdi V. Amiri, et al. [14] | Not specified | new spectrum constrained-CFR | VSG |
| R. Neil Braithwaite [15] | 1952–1965 MHz | DPD-CFR | VSG |
| S. Wang [16] | 3.3–3.8 GHz | clipping-and-bank | Arbitrary waveform |
| filtering | generator | ||
| S. Mohammady, et al. [17] | Not specified | DPD-least squares (LS) | FPGA-Transceiver |
| optimization | |||
| K. Anoh, et al. [19] | Not specified | Clipping signal | Not specified |
| S. Gökceli, et al. [20] | 9 kHz–3.5 GHz | Iterative clipping | VSG |
| and weighted error filtering | |||
| L. Yang and Y. Siu [21] | Not specified | Clipping and filtering | Monte Carlo Simulation |
| H. Abdelali, et al. [22] | Not specified | Tone Reservation | Simulated WiMax a |
| clipping method | system | ||
| J. Chatrath, et al. [26] | GHz | MPM Modeling | VSG |
| R. Sanjika and D. Kurup [27] | 3.44–3.60 GHz | Not specified | Not specified |
| S. Mohammady, et al. [29] | Not specified | Clipping-Filtering and | Not Specified |
| Peak-Shrinking Interpolating |
| Digital Application | Achieved Precision and Spectral Improvement | Spectral Reduction Technique |
|---|---|---|
| LTE 1.4 MHz [26] | dB NMSE | Augmented MP |
| QPSK, 8-PSK and 16-QAM MHz [27] | −35.62 10 MHz, −37.40 20 MHz | ANN, Rapp model |
| LTE, W-CDMA [29] | PAPR 4 dB | CFR techniques-Clipping based |
| 16 QAM and 64 QAM, OFDM [17] | PAPR 4 dB | CFR techniques-Clipping based |
| OFDM, WiMax e [20] | PAPR not specified | Clipping based |
| OFDM, WiMax e [22] | PAPR not specified | Clipping based |
| OFDM [21] | PAPR not specified | iterative clipping noise |
| OFDM [19] | PAPR dB | Iterative clipping |
| and BER improvement | and filtering | |
| Not specified [16], general purpose | PAPR 3 dB | CFR and DPD neural networks (NN) based |
| W-CDMA multi-carrier [15] | PAPR dB | CFR and envelope clipping |
| OFDM, 64–QAM [14] | PAPR dB | CFR and envelope clipping |
| LTE 10-MHz [7] | to dB Power improvement | 1D-CFR |
| OFDM, LTE-10 and 5-MHz [This work] | PAPR 3 dB (5-MHz) | CFR technique |
| PAPR dB (10-MHz) | Clipping based |
Publisher’s Note: MDPI stays neutral with regard to jurisdictional claims in published maps and institutional affiliations. |
© 2022 by the authors. Licensee MDPI, Basel, Switzerland. This article is an open access article distributed under the terms and conditions of the Creative Commons Attribution (CC BY) license (https://creativecommons.org/licenses/by/4.0/).
Share and Cite
Cárdenas-Valdez, J.R.; Galaviz-Aguilar, J.A.; Vargas-Rosales, C.; Inzunza-González, E.; Flores-Hernández, L. A Crest Factor Reduction Technique for LTE Signals with Target Relaxation in Power Amplifier Linearization. Sensors 2022, 22, 1176. https://doi.org/10.3390/s22031176
Cárdenas-Valdez JR, Galaviz-Aguilar JA, Vargas-Rosales C, Inzunza-González E, Flores-Hernández L. A Crest Factor Reduction Technique for LTE Signals with Target Relaxation in Power Amplifier Linearization. Sensors. 2022; 22(3):1176. https://doi.org/10.3390/s22031176
Chicago/Turabian StyleCárdenas-Valdez, José Ricardo, Jose Alejandro Galaviz-Aguilar, Cesar Vargas-Rosales, Everardo Inzunza-González, and Leonardo Flores-Hernández. 2022. "A Crest Factor Reduction Technique for LTE Signals with Target Relaxation in Power Amplifier Linearization" Sensors 22, no. 3: 1176. https://doi.org/10.3390/s22031176
APA StyleCárdenas-Valdez, J. R., Galaviz-Aguilar, J. A., Vargas-Rosales, C., Inzunza-González, E., & Flores-Hernández, L. (2022). A Crest Factor Reduction Technique for LTE Signals with Target Relaxation in Power Amplifier Linearization. Sensors, 22(3), 1176. https://doi.org/10.3390/s22031176

