Squat Detection of Railway Switches and Crossings Using Wavelets and Isolation Forest
Abstract
:1. Introduction
2. Materials and Methods
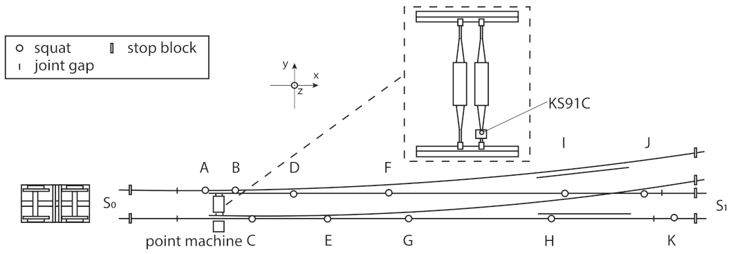
2.1. Track Layout and the Testbed
2.2. Test Procedure and Data Acquisition
2.3. Signal-Processing Procedure
2.4. Wavelets
2.5. SAWP
Isolation Forest
3. Results and Discussions
3.1. Segmentation
3.2. Feature Extraction
3.3. Feature Scaling
3.4. Feature Selection
3.5. Threshold for Anomaly Score
3.6. Anomaly Indicator for the Whole Switch
4. Conclusions and Future Works
- The study shows that accelerometers placed within the protective environment within a point machine can be utilised for monitoring defects such as squats along the S&Cs of the railway infrastructure.
- The signal-processing procedure of extracting features from both the time domain vibration signal and the SAWP is effective and promising.
- Skewness, peak to peak amplitude, crest factor, clearance factor, Nr. of peaks and total peak power are ranked to be the top features for anomaly detection.
- The selected five PCA space features explain 96.55% of all the variance in the features.
- Anomaly-detection algorithms can be utilised to generate anomaly scores to indicate the health state of the S&C regarding squat defects. Using knee point technique, 12% of the total segments of all nine instances were determined to be anomalies.
- The mean value of the total anomaly scores for each test scenario increase from 11.65 to 20.31 and 29.59 for the S&C with healthy, 1 mm deep, and 4 mm deep squat cases. The values for 1 mm and 4 mm cases are almost 1.7 and 2.5 times greater compared to the healthy case, respectively.
- The mean value of the number of anomalies for each test scenario increases from 18.67, 32.67 and 45.00 for the S&C with healthy, 1 mm deep and 4 mm deep squat cases. The values for 1 mm and 4 mm cases are almost 1.7 and 2.5 times greater compared to the healthy case, respectively.
- An isolation forest algorithm is suitable for anomaly detection related to the squat defects.
Author Contributions
Funding
Institutional Review Board Statement
Informed Consent Statement
Data Availability Statement
Acknowledgments
Conflicts of Interest
Sample Availability
References
- Chandran, P. An Investigation of Railway Fastener Detection Using Image Processing and Augmented Deep Learning. Sustainability 2021, 13, 12051. [Google Scholar] [CrossRef]
- Silva, R.; Ribeiro, D.; Bragança, C.; Costa, C.; Arêde, A.; Calçada, R. Model Updating of a Freight Wagon Based on Dynamic Tests under Different Loading Scenarios. Appl. Sci. 2021, 11, 10691. [Google Scholar] [CrossRef]
- Famurewa, S.; Asplund, M.; Rantatalo, M.; Aditya, P.; Kumar, U. Maintenance analysis for continuous improvement of railway infrastructure performance. Struct. Infrastruct. Eng. 2014, 11, 1–13. [Google Scholar] [CrossRef]
- Kassa, E.; Andersson, C.; Nielsen, J.C. Simulation of dynamic interaction between train and railway turnout. Veh. Syst. Dyn. 2006, 44, 247–258. [Google Scholar] [CrossRef]
- Hamadache, M.; Dutta, S.; Olaby, O.; Ambur, R.; Stewart, E.; Dixon, R. On the Fault Detection and Diagnosis of Railway Switch and Crossing Systems: An Overview. Appl. Sci. 2019, 9, 5129. [Google Scholar] [CrossRef] [Green Version]
- Cornish, A.; Smith, R.A.; Dear, J. Monitoring of strain of in-service railway switch rails through field experimentation. Proc. Inst. Mech. Eng. Part F J. Rail Rapid Transit 2016, 230, 1429–1439. [Google Scholar] [CrossRef] [Green Version]
- Administration, S.T. Trafikverkets Årsredovisning, Annual Report; Technical Report; Trafikverket: Stockholm, Sweden, 2018. [Google Scholar]
- Liu, X.; Markine, V.; Wang, H.; Shevtsov, I. Experimental tools for railway crossing condition monitoring (crossing condition monitoring tools). Measurement 2018, 129, 424–435. [Google Scholar] [CrossRef]
- Boogaard, M.; Li, Z.; Dollevoet, R. In situ measurements of the crossing vibrations of a railway turnout. Measurement 2018, 125, 313–324. [Google Scholar] [CrossRef]
- Barkhordari, P.; Galeazzi, R.; Blanke, M. Prognosis of railway ballast degradation for turnouts using track-side accelerations. Proc. Inst. Mech. Eng. Part O J. Risk Reliab. 2020, 234, 601–610. [Google Scholar] [CrossRef] [Green Version]
- Milosevic, M.D.G.; Pålsson, B.A.; Nissen, A.; Nielsen, J.C.O.; Johansson, H. Condition Monitoring of Railway Crossing Geometry via Measured and Simulated Track Responses. Sensors 2022, 22, 1012. [Google Scholar] [CrossRef]
- Kerrouche, A.; Najeh, T.; Jaen-Sola, P. Experimental Strain Measurement Approach Using Fiber Bragg Grating Sensors for Monitoring of Railway Switches and Crossings. Sensors 2021, 21, 3639. [Google Scholar] [CrossRef] [PubMed]
- Wei, Z.; Núñez, A.; Li, Z.; Dollevoet, R. Evaluating Degradation at Railway Crossings Using Axle Box Acceleration Measurements. Sensors 2017, 17, 2236. [Google Scholar] [CrossRef] [PubMed] [Green Version]
- Grossoni, I.; Hughes, P.; Bezin, Y.; Bevan, A.; Jaiswal, J. Observed failures at railway turnouts: Failure analysis, possible causes and links to current and future research. Eng. Fail. Anal. 2021, 119, 104987. [Google Scholar] [CrossRef]
- Molodova, M.; Li, Z.; Núñez, A.; Dollevoet, R. Parametric study of axle box acceleration at squats. Proc. Inst. Mech. Eng. Part F J. Rail Rapid Transit 2015, 229, 841–851. [Google Scholar] [CrossRef]
- Molodova, M.; Li, Z.; Núñez, A.; Dollevoet, R. Automatic Detection of Squats in Railway Infrastructure. IEEE Trans. Intell. Transp. Syst. 2014, 15, 1980–1990. [Google Scholar] [CrossRef] [Green Version]
- Cho, H.; Park, J. Study of Rail Squat Characteristics through Analysis of Train Axle Box Acceleration Frequency. Appl. Sci. 2021, 11, 7022. [Google Scholar] [CrossRef]
- Hamadache, M.; Dutta, S.; Ambur, R.; Olaby, O.; Stewart, E.; Dixon, R. Residual-based Fault Detection Method: Application to Railway Switch & Crossing (S&C) System. In Proceedings of the 2019 19th International Conference on Control, Automation and Systems (ICCAS), Jeju, Korea, 15–18 October 2019; pp. 1228–1233. [Google Scholar] [CrossRef]
- Wei, X.; Yin, X.; Hu, Y.; He, Y.; Jia, L. Squats and corrugation detection of railway track based on time-frequency analysis by using bogie acceleration measurements. Veh. Syst. Dyn. 2019, 58, 1167–1188. [Google Scholar] [CrossRef]
- Dumitriu, M. Fault detection of damper in railway vehicle suspension based on the cross-correlation analysis of bogie accelerations. Mech. Ind. 2019, 20, 102. [Google Scholar] [CrossRef]
- Malekjafarian, A.; OBrien, E.J.; Quirke, P.; Cantero, D.; Golpayegani, F. Railway track loss-of-stiffness detection using bogie filtered displacement data measured on a passing train. Infrastructures 2021, 6, 93. [Google Scholar] [CrossRef]
- Skarlatos, D.; Karakasis, K.; Trochidis, A. Railway wheel fault diagnosis using a fuzzy-logic method. Appl. Acoust. 2004, 65, 951–966. [Google Scholar] [CrossRef]
- Belotti, V.; Crenna, F.; Michelini, R.C.; Rossi, G.B. Wheel-flat diagnostic tool via wavelet transform. Mech. Syst. Signal Process. 2006, 20, 1953–1966. [Google Scholar] [CrossRef]
- Van Esbeen, B.; Finet, C.; Vandebrouck, R.; Kinet, D.; Boelen, K.; Guyot, C.; Kouroussis, G.; Caucheteur, C. Smart Railway Traffic Monitoring Using Fiber Bragg Grating Strain Gauges. Sensors 2022, 22, 3429. [Google Scholar] [CrossRef] [PubMed]
- Mosleh, A.; Montenegro, P.A.; Costa, P.A.; Calçada, R. Railway vehicle wheel flat detection with multiple records using spectral kurtosis analysis. Appl. Sci. 2021, 11, 4002. [Google Scholar] [CrossRef]
- Najeh, T.; Lundberg, J.; Kerrouche, A. Deep-Learning and Vibration-Based System for Wear Size Estimation of Railway Switches and Crossings. Sensors 2021, 21, 5217. [Google Scholar] [CrossRef]
- Li, Z.; Molodova, M.; Núñez, A.; Dollevoet, R. Improvements in axle box acceleration measurements for the detection of light squats in railway infrastructure. IEEE Trans. Ind. Electron. 2015, 62, 4385–4397. [Google Scholar] [CrossRef]
- Li, Z.; Molodova, M.; Zhao, X.; Dollevoet, R. Squat treatment by way of minimum action based on early detection to reduce life cycle costs. In Proceedings of the Joint Rail Conference, Urbana, IL, USA, 24–27 April 2010; Volume 49064, pp. 305–311. [Google Scholar]
- Peng, Z.K.; Chu, F. Application of the wavelet transform in machine condition monitoring and fault diagnostics: A review with bibliography. Mech. Syst. Signal Process. 2004, 18, 199–221. [Google Scholar] [CrossRef]
- Chen, X.; Yang, Y.; Cui, Z.; Shen, J. Wavelet Denoising for the Vibration Signals of Wind Turbines Based on Variational Mode Decomposition and Multiscale Permutation Entropy. IEEE Access 2020, 8, 40347–40356. [Google Scholar] [CrossRef]
- Chegini, S.N.; Bagheri, A.; Najafi, F. Application of a new EWT-based denoising technique in bearing fault diagnosis. Measurement 2019, 144, 275–297. [Google Scholar] [CrossRef]
- He, M.; Feng, L.; Zhao, D. Application of distributed acoustic sensor technology in train running condition monitoring of the heavy-haul railway. Optik 2019, 181, 343–350. [Google Scholar] [CrossRef]
- Luo, G.; Zhang, D. Wavelet Denoising; IntechOpen: London, UK, 2012; Chapter 4. [Google Scholar] [CrossRef] [Green Version]
- Chiementin, X.; Kilundu, B.; Rasolofondraibe, L.; Crequy, S.; Pottier, B. Performance of wavelet denoising in vibration analysis: Highlighting. J. Vib. Control 2012, 18, 850–858. [Google Scholar] [CrossRef]
- Torrence, C.; Compo, G.P. A Practical Guide to Wavelet Analysis. Bull. Am. Meteorol. Soc. 1998, 79, 61–78. [Google Scholar] [CrossRef] [Green Version]
- Frazier, M. A Friendly Guide to Wavelets (Gerald Kaiser). SIAM Rev. 1995, 37, 624–626. [Google Scholar] [CrossRef]
- Liu, F.T.; Ting, K.M.; Zhou, Z.H. Isolation forest. In Proceedings of the 2008 Eighth IEEE International Conference on Data Mining, Pisa, Italy, 15–19 December 2008; pp. 413–422. [Google Scholar]
- He, X.; Cai, D.; Niyogi, P. Laplacian Score for Feature Selection. In Advances in Neural Information Processing Systems, Proceedings of the 19th Annual Conference on Neural Information Processing Systems (NIPS 2005), Vancouver, BC, Canada, 5–8 December 2005; Weiss, Y., Schölkopf, B., Platt, J., Eds.; MIT Press: Cambridge, MA, USA, 2006; Volume 18. [Google Scholar]
- Domingos, P. A few useful things to know about machine learning. Commun. ACM 2012, 55, 78–87. [Google Scholar] [CrossRef] [Green Version]
- Stiglic, G.; Kocbek, P.; Fijacko, N.; Zitnik, M.; Verbert, K.; Cilar, L. Interpretability of machine learning-based prediction models in healthcare. Wiley Interdiscip. Rev. Data Min. Knowl. Discov. 2020, 10, e1379. [Google Scholar] [CrossRef]













| Squat Name | Squat Diameter 1 (mm) | Max Depth 1 (mm) | Squat Diameter 2 (mm) | Max Depth 2 (mm) |
|---|---|---|---|---|
| A | 43 | 1.2 | 62 | 3.7 |
| B | 41 | 1.0 | 61 | 3.9 |
| C | 42 | 1.0 | 63 | 3.7 |
| D | 42 | 1.0 | 66 | 4.4 |
| E | 0 | 0 | 65 | 3.7 |
| F | 42 | 1.1 | 65 | 4.2 |
| G | 42 | 1.0 | 64 | 3.7 |
| H | 42 | 1.5 | 62 | 4.7 |
| I | 42 | 1.4 | 62 | 4.3 |
| J | 42 | 1.2 | 63 | 4.4 |
| K | 42 | 1.1 | 61 | 4.1 |
| Feature Number | Feature Type | Feature Name |
|---|---|---|
| 1 | time domain | RMS |
| 2 | time domain | standard deviation |
| 3 | time domain | shape factor |
| 4 | time domain | kurtosis |
| 5 | time domain | skewness |
| 6 | time domain | peak to peak amplitude |
| 7 | time domain | impulse factor |
| 8 | time domain | crest factor |
| 9 | time domain | clearance factor |
| 10 | SAWP | number of peaks |
| 11 | SAWP | total peak power |
| Test Run | All Features vs. PCA | All Features vs. Laplacian | PCA vs. Laplacian |
|---|---|---|---|
| MRSE | MRSE | MRSE | |
| 0 mm_1 | |||
| 0 mm_2 | |||
| 0 mm_3 | |||
| 1 mm_1 | |||
| 1 mm_2 | |||
| 1 mm_3 | |||
| 4 mm_1 | |||
| 4 mm_2 | |||
| 4 mm_3 |
Publisher’s Note: MDPI stays neutral with regard to jurisdictional claims in published maps and institutional affiliations. |
© 2022 by the authors. Licensee MDPI, Basel, Switzerland. This article is an open access article distributed under the terms and conditions of the Creative Commons Attribution (CC BY) license (https://creativecommons.org/licenses/by/4.0/).
Share and Cite
Zuo, Y.; Thiery, F.; Chandran, P.; Odelius, J.; Rantatalo, M. Squat Detection of Railway Switches and Crossings Using Wavelets and Isolation Forest. Sensors 2022, 22, 6357. https://doi.org/10.3390/s22176357
Zuo Y, Thiery F, Chandran P, Odelius J, Rantatalo M. Squat Detection of Railway Switches and Crossings Using Wavelets and Isolation Forest. Sensors. 2022; 22(17):6357. https://doi.org/10.3390/s22176357
Chicago/Turabian StyleZuo, Yang, Florian Thiery, Praneeth Chandran, Johan Odelius, and Matti Rantatalo. 2022. "Squat Detection of Railway Switches and Crossings Using Wavelets and Isolation Forest" Sensors 22, no. 17: 6357. https://doi.org/10.3390/s22176357
APA StyleZuo, Y., Thiery, F., Chandran, P., Odelius, J., & Rantatalo, M. (2022). Squat Detection of Railway Switches and Crossings Using Wavelets and Isolation Forest. Sensors, 22(17), 6357. https://doi.org/10.3390/s22176357

