Repetitive Detection of Aromatic Hydrocarbon Contaminants with Bioluminescent Bioreporters Attached on Tapered Optical Fiber Elements
Abstract
1. Introduction
2. Materials and Methods
2.1. Materials and Solutions
2.2. Microorganisms and Their Cultivation
2.3. Tapered Optical Fiber Elements (OFEs)
2.3.1. Preparation of OFEs for Chemical Modification
2.3.2. Surface Modification of OFE with APTES
2.3.3. Surface Modification of OFE with PEI
2.4. Adsorption of Bioreporter Cells on OFE Modified Surfaces
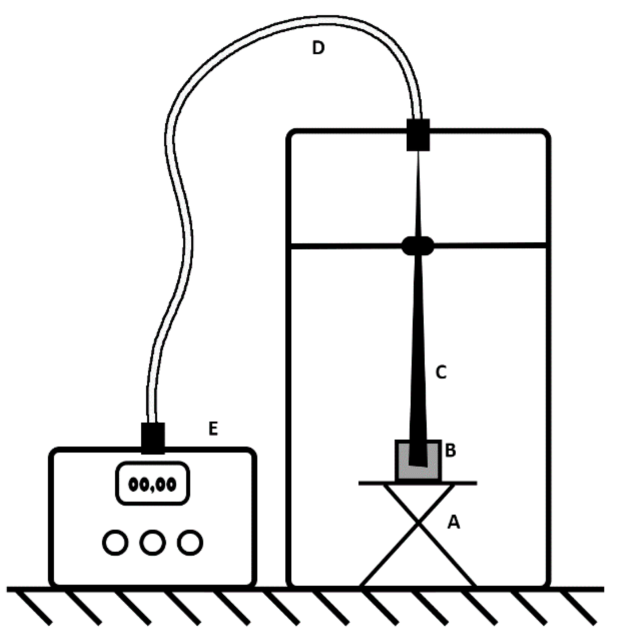
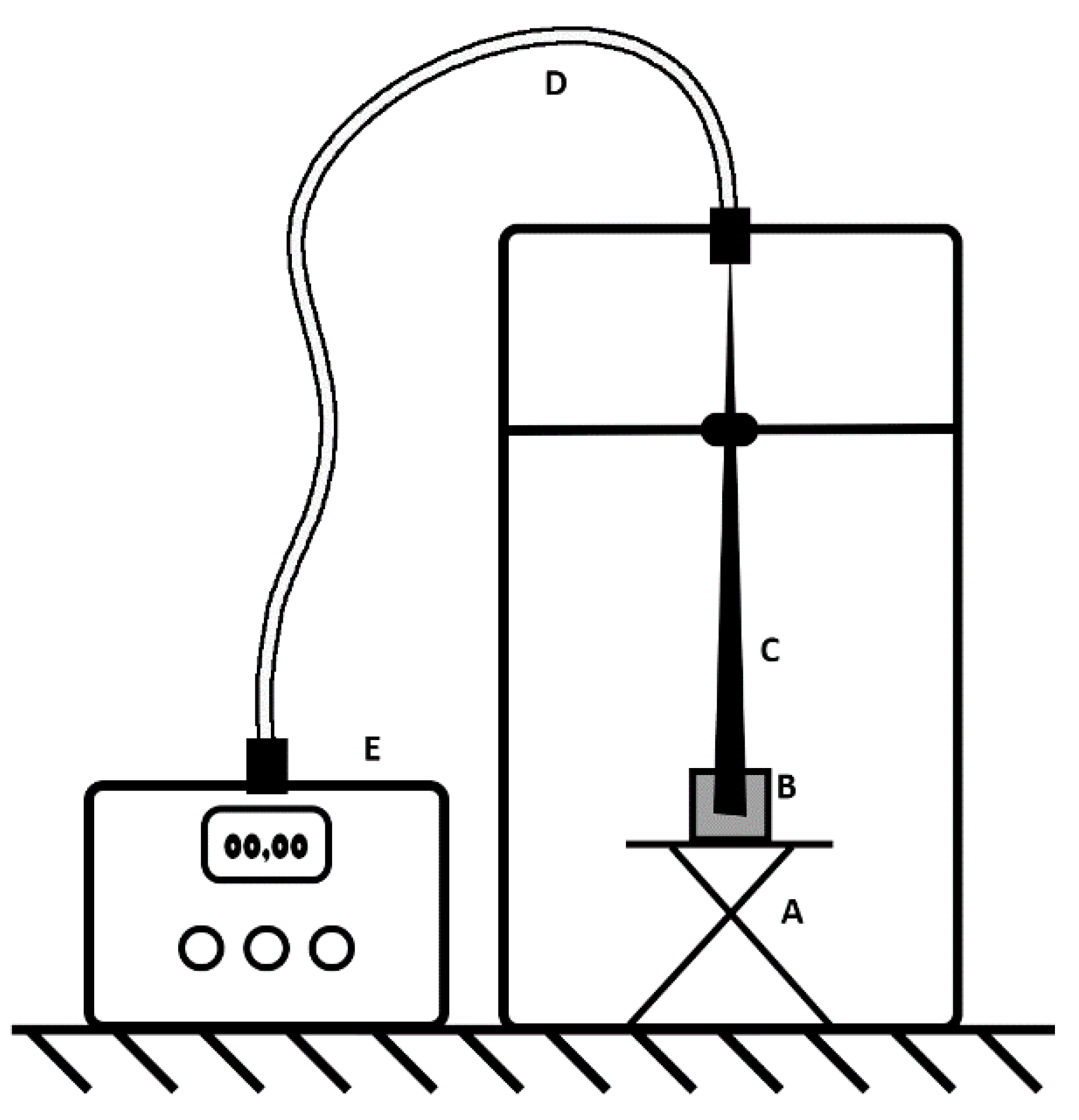
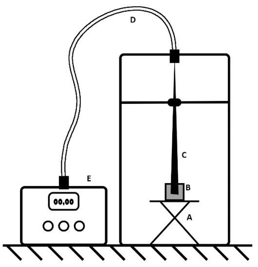
2.5. Measurement of Induced Bioluminescence
2.6. Visualization of OFE Cell Adherence Using Scanning Electron Microscopy (SEM)
2.7. Statistics
3. Results and Discussion
3.1. Imobilization and Induction of Bioluminescence from P. putida TVA8 on APTES Modified OFEs
3.2. Influence of the Shape of OFE
3.3. Immobilization and Induction of Bioluminescence from E. coli 652T7
4. Conclusions
Supplementary Materials
Author Contributions
Funding
Acknowledgments
Conflicts of Interest
References
- Jones, O.; Preston, M.R.; Fawell, J.; Mayes, W.; Cartmell, E.; Pollard, S.; Harrison, R.M.; Mackenzie, A.R.; Williams, M.; Maynard, R.; et al. Pollution: Causes, Effects and Control; Royal Society of Chemistry: London, UK, 2015. [Google Scholar]
- Hill, M.K. Understanding Environmental Pollution; Cambridge University Press: Cambridge, UK, 2010. [Google Scholar]
- Mitra, S.; Roy, P. BTEX: A Serious Ground-water Contaminant. Res. J. Environ. Sci. 2011, 5, 394–398. [Google Scholar] [CrossRef][Green Version]
- Aksoy, M. Benzene and Leukemia. Environ. Health Perspect. 1991, 91, 165. [Google Scholar] [CrossRef] [PubMed]
- Lynge, E.; Andersen, A.; Nilsson, R.; Barlow, L.; Pukkala, E.; Nordlinder, R.; Boffetta, P.; Grandjean, P.; Heikkiia, P.; Horte, L.-G.; et al. Risk of cancer and exposure to gasoline vapors. Am. J. Epidemiol. 1997, 145, 449–458. [Google Scholar] [CrossRef] [PubMed]
- Lim, S.K.; Shin, H.S.; Yoon, K.S.; Kwack, S.J.; Um, Y.M.; Hyeon, J.H.; Kwak, H.M.; Kim, J.Y.; Kim, T.H.; Kim, Y.J.; et al. Risk assessment of volatile organic compounds benzene, toluene, ethylbenzene, and xylene (BTEX) in consumer products. J. Toxicol. Environ. Heal. Part A 2014, 77, 1502–1521. [Google Scholar] [CrossRef]
- Lu, Y.; Macias, D.; Dean, Z.S.; Kreger, N.R.; Wong, P.K. A UAV-Mounted Whole Cell Biosensor System for Environmental Monitoring Applications. In Proceedings of the IEEE Transactions on Nanobioscience, Quebec, QC, Canada, 12 November 2015; pp. 811–817. [Google Scholar]
- Nivens, D.E.; McKnight, T.E.; Moser, S.A.; Osbourn, S.J.; Simpson, M.L.; Sayler, G.S. Bioluminescent bioreporter integrated circuits: Potentially small, rugged and inexpensive whole-cell biosensors for remote environmental monitoring. J. Appl. Microbiol. 2004, 96, 33–46. [Google Scholar] [CrossRef]
- Heitzer, A.; Webb, O.F.; Thonnard, J.E.; Sayler, G.S. Specific and quantitative assessment of naphthalene and salicylate bioavailability by using a bioluminescent catabolic reporter bacterium. Appl. Environ. Microbiol. 1992, 58, 1839–1846. [Google Scholar] [CrossRef]
- Diplock, E.E.; Alhadrami, H.A.; Paton, G.I. Commercial Application of Bioluminescence Full Cell Bioreporters for Environmental Diagnostics. In Handbook of Hydrocarbon and Lipid Microbiology; Springer: Berlin, Heidelberg, 2010; pp. 4445–4458. [Google Scholar]
- Close, D.M.; Ripp, S.; Sayler, G.S. Reporter Proteins in Whole-Cell Optical Bioreporter Detection Systems, Biosensor Integrations, and Biosensing Applications. Sensors 2009, 9, 9147–9174. [Google Scholar] [CrossRef]
- Gutiérrez, J.C.; Amaro, F.; Martín-González, A. Heavy metal whole-cell biosensors using eukaryotic microorganisms: An updated critical review. Front. Microbiol. 2015, 6. [Google Scholar] [CrossRef]
- Kim, H.; Jung, Y.; Doh, I.J.; Lozano-Mahecha, R.A.; Applegate, B.; Bae, E. Smartphone-based low light detection for bioluminescence application. Sci. Rep. 2017, 7, 40203. [Google Scholar] [CrossRef]
- Regional Environmental Center and Umweltbundesamt GmbH, Chemicals and GMO Legislation. Handbook on the Implementation of EC Environmental Legislation; European Union: Szentendre, Hungary, 2014; Section 8; pp. 93–126. [Google Scholar]
- Lobsiger, N.; Stark, W.J. Strategies of immobilizing cells in whole-cell microbial biosensor devices targeted for analytical field applications. Anal. Sci. 2019, 35, 839–847. [Google Scholar] [CrossRef]
- Polyak, B.; Bassis, E.; Novodvorets, A.; Belkin, S.; Marks, R.S. Bioluminescent whole cell optical fiber sensor to genotoxicants: System optimization. Sens. Actuators B. Chem. 2001, 74, 18–26. [Google Scholar] [CrossRef]
- Kalabova, H.; Pospisilova, M.; Jirina, M.; Kuncova, G. Mathematical Model for Laboratory System of Bioluminescent Whole-Cell Biosensor with Optical Element. J. Biosens. Bioelectron. 2018, 9, 1–5. [Google Scholar]
- Kuncova, G.; Ishizaki, T.; Solovyev, A.; Trogl, J.; Ripp, S. The Repetitive Detection of Toluene with Bioluminescence Bioreporter Pseudomonas putida TVA8 Encapsulated in Silica Hydrogel on an Optical Fiber. Materials 2016, 9, 467. [Google Scholar] [CrossRef] [PubMed]
- Zajic, J.; Bittner, M.; Branyik, T.; Solovyev, A.; Sabata, S.; Kuncova, G.; Pospisilova, M. Repetitive inductions of bioluminescence of Pseudomonas putida TVA8 immobilised by adsorption on optical fiber. Chem. Pap. 2016, 70, 877–887. [Google Scholar] [CrossRef]
- Kuncova, G.; Pazlarova, J.; Hlavata, A.; Ripp, S.; Sayler, G.S. Bioluminescent bioreporter Pseudomonas putida TVA8 as a detector of water pollution. Operational conditions and selectivity of free cells sensor. Ecol. Indic. 2011, 11, 882–887. [Google Scholar] [CrossRef]
- Applegate, B.M.; Kehrmeyer, S.R.; Sayler, G.S. A chromosomally based tod-luxCDABE whole-cell reporter for benzene, toluene, ethybenzene, and xylene (BTEX) sensing. Appl. Environ. Microbiol. 1998, 64, 2730–2735. [Google Scholar] [CrossRef]
- Du, L.Y.; Arnholt, K.; Ripp, S.; Sayler, G.; Wang, S.Q.; Liang, C.H.; Wang, J.K.; Zhuang, J. Biological toxicity of cellulose nanocrystals (CNCs) against the luxCDABE-based bioluminescent bioreporter Escherichia coli 652T7. Ecotoxicology 2015, 24, 2049–2053. [Google Scholar] [CrossRef]
- Sanseverino, J.; Applegate, B.M.; King, J.M.H.; Sayler, G.S. Plasmid-mediated mineralization of naphthalene, phenanthrene, and anthracene. Appl. Environ. Microbiol. 1993, 59, 1931–1937. [Google Scholar] [CrossRef]
- Wang, J.; Du, S.; Onodera, T.; Yatabe, R.; Tanaka, M.; Okochi, M.; Toko, K. An SPR sensor chip based on peptide-modified single-walled carbon nanotubes with enhanced sensitivity and selectivity in the detection of 2,4,6-trinitrotoluene explosives. Sensors 2018, 18, 4461. [Google Scholar] [CrossRef]
- D’Souza, S.F.; Melo, J.S.; Deshpande, A.; Nadkarni, G.B. Immobilization of yeast cells by adhesion to glass surface using polyethylenimine. Biotechnol. Lett. 1986, 8, 643–648. [Google Scholar] [CrossRef]
- Fletcher, M. Attachment of Pseudomonas fluorescens to glass and influence of electrolytes on bacterium-substratum separation distance. J. Bacteriol. 1988, 170, 2027–2030. [Google Scholar] [CrossRef] [PubMed]
- Kokare, C.R.; Chakraborty, S.; Khopade, A.N.; Mahadik, K.R. Biofilm: Importance and applications. Indian. J. Biotechnol. 2009, 8, 159–168. [Google Scholar]
- Kuncova, G.; Pospisilova, M.; Solovyev, A. Optical Fiber Whole Cell Bioluminescent Sensor. In Proceedings of the XX International Conference on Bioencapsulation, Orillia, ON, Canada, 21–24 September 2012; B. Abstr. 2012, proceedings reference P_01. pp. 96–97. [Google Scholar]
- Roda, A.; Roda, B.; Cevenini, L.; Michelini, E.; Mezzanotte, L.; Reschiglian, P.; Hakkila, K.; Virta, M. Analytical strategies for improving the robustness and reproducibility of bioluminescent microbial bioreporters. Anal. Bioanal. Chem. 2011, 401, 201–211. [Google Scholar] [CrossRef]
- Angelaalincy, M.J.; Navanietha Krishnaraj, R.; Shakambari, G.; Ashokkumar, B.; Kathiresan, S.; Varalakshmi, P. Biofilm Engineering Approaches for Improving the Performance of Microbial Fuel Cells and Bioelectrochemical Systems. Front. Energy Res. 2018, 6. [Google Scholar] [CrossRef]
- Wei, Q.; Ma, L.Z. Biofilm matrix and its regulation in Pseudomonas aeruginosa. Int. J. Mol. Sci. 2013, 14, 20983–21005. [Google Scholar] [CrossRef]
- Pospisilova, M.; Kuncova, G.; Trogl, J. Fiber-Optic Chemical Sensors and Fiber-Optic Bio-Sensors. Sensors 2015, 15, 25208–25259. [Google Scholar] [CrossRef]









| OFE | Length [mm] | Dmax [mm] | Dmin [mm] | A1 | t1 | A2 | t2 |
|---|---|---|---|---|---|---|---|
| A | 328.5 | 4.97 | 0.84 | 3.093 | 52.826 | 1.73 | 429.369 |
| B1 | 424 | 4.1 | 0.73 | 3.117 | 69.541 | 0.984 | 1501.727 |
| B2 | 268 | 4.1 | 0.89 | 3.259 | 73.314 | 0.832 | 12963.443 |
| C | 532.5 | 3.04 | 0.5 | 1.789 | 55.036 | 1.289 | 554.939 |
| D | 208.8 | 4.85 | 1.13 | 1.606 | 29.886 | 3.197 | 186.254 |
| OFE | Transmittance [%] | Number of Cells × 107 | OFE Efficiency × 105 |
|---|---|---|---|
| A | 1.41 | 2.47 | 3.48 |
| B1 | 1.62 | 1.68 | 2.72 |
| B2 | 2.21 | 1.68 | 3.71 |
| C | 1.51 | 0.92 | 1.38 |
| D | 5.02 | 2.35 | 11.75 |
© 2020 by the authors. Licensee MDPI, Basel, Switzerland. This article is an open access article distributed under the terms and conditions of the Creative Commons Attribution (CC BY) license (http://creativecommons.org/licenses/by/4.0/).
Share and Cite
Zajíc, J.; Ripp, S.; Trögl, J.; Kuncová, G.; Pospíšilová, M. Repetitive Detection of Aromatic Hydrocarbon Contaminants with Bioluminescent Bioreporters Attached on Tapered Optical Fiber Elements. Sensors 2020, 20, 3237. https://doi.org/10.3390/s20113237
Zajíc J, Ripp S, Trögl J, Kuncová G, Pospíšilová M. Repetitive Detection of Aromatic Hydrocarbon Contaminants with Bioluminescent Bioreporters Attached on Tapered Optical Fiber Elements. Sensors. 2020; 20(11):3237. https://doi.org/10.3390/s20113237
Chicago/Turabian StyleZajíc, Jakub, Steven Ripp, Josef Trögl, Gabriela Kuncová, and Marie Pospíšilová. 2020. "Repetitive Detection of Aromatic Hydrocarbon Contaminants with Bioluminescent Bioreporters Attached on Tapered Optical Fiber Elements" Sensors 20, no. 11: 3237. https://doi.org/10.3390/s20113237
APA StyleZajíc, J., Ripp, S., Trögl, J., Kuncová, G., & Pospíšilová, M. (2020). Repetitive Detection of Aromatic Hydrocarbon Contaminants with Bioluminescent Bioreporters Attached on Tapered Optical Fiber Elements. Sensors, 20(11), 3237. https://doi.org/10.3390/s20113237

