Block Adjustment without GCPs for Chinese Spaceborne SAR GF-3 Imagery
Abstract
1. Introduction
2. Principles and Methods
2.1. Geometric Calibration of Spaceborne SAR
2.2. General Geometric Processing Model of Spaceborne SAR
- (1)
- Determination of an image grid and establishment of a 3D object grid of points using the RD model;
- (2)
- RPC fitting; and
- (3)
- Accuracy checking.
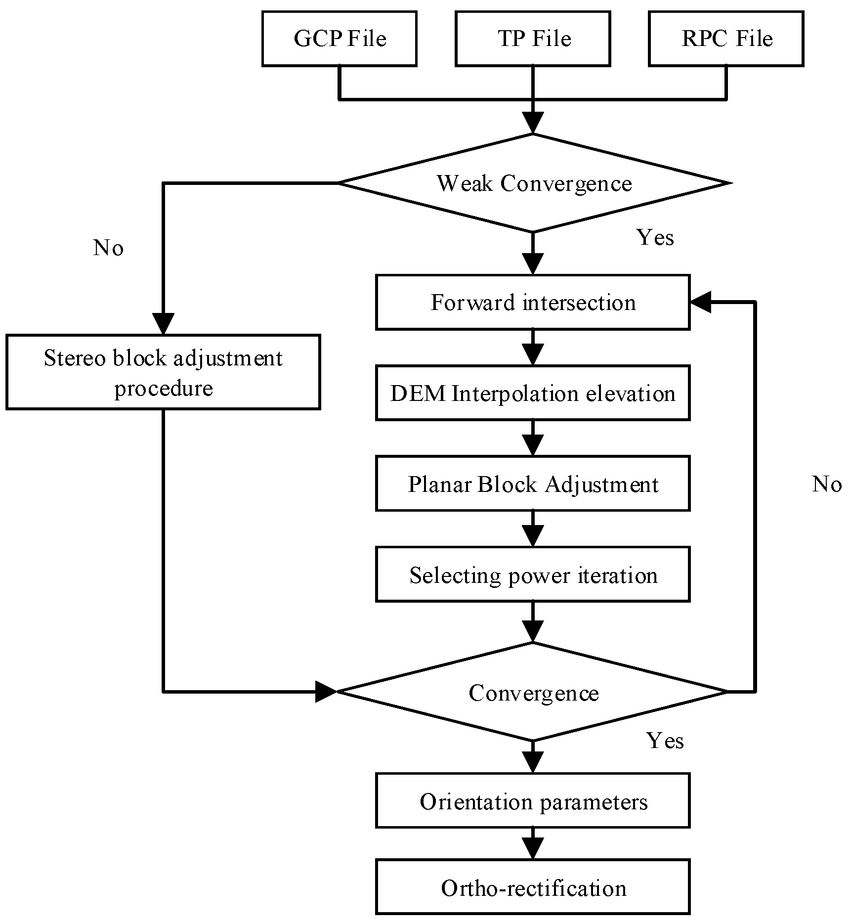
2.3. Planar Block Adjustment Based on RPC
- (1)
- Adjustment input file preparation. Including GCP File, TP File, and RPC File. GCP File and TP File are obtained by manual measurement.
- (2)
- Weak convergence determined. Calculating the intersection angle of two SAR images. If the angle is less than 10°, the planar block adjustment process will be executed. Otherwise, the stereo block adjustment will be executed.
- (3)
- Planar block adjustment. First, the initial values of TPs are obtained by forward intersection. Considering the situation of weak intersection. Second, the elevations of TPs are obtained by DEM interpolation. Third, adjustment calculation. Fourth, the posteriori weight method is used to assign weights again. Fifth, if adjustment convergence, it can go to step 4. Otherwise, continue the implementation step 3.
- (4)
- Ortho-rectification.
3. Test Results and Analysis
4. Conclusions
Author Contributions
Funding
Conflicts of Interest
References
- Mohr, J.J.; Madsen, S.N. Geometric calibration of ERS satellite SAR images. IEEE Trans. Geosci. Remote Sens. 2001, 39, 842–850. [Google Scholar] [CrossRef]
- Schubert, A.; Miranda, N.; Geudtner, D.; Small, D. Sentinel-1A/B Combined Product Geolocation Accuracy. Remote Sens. 2017, 9, 607. [Google Scholar] [CrossRef]
- Fiorentino, C.; Virelli, M. COSMO-SkyMed Mission and Products Description. 31 May 2016. Available online: http://www.e-geos.it/images/documents/COSMO-SkyMed%20Mission%20and%20Products%20Description.pdf (accessed on 31 May 2016).
- Schwerdt, M.; Bräutigam, B.; Bachmann, M.; Döring, B.; Schrank, D.; Gonzalez, J.H. Final TerraSAR-X Calibration Result Based on Novel Efficient Methods. IEEE Trans. Geosci. Remote Sens. 2010, 48, 677–689. [Google Scholar] [CrossRef]
- Cote, S.; Srivastava, S.; Hawkins, R.; Muir, S.; Lukowski, T. RADARSAT-1 And-2 Government Calibration Activities. In Proceedings of the 2009 IEEE International IGARSS Geoscience and Remote Sensing Symposium, Cape Town, South Africa, 12–17 July 2009; Volume 2, pp. 890–893. [Google Scholar]
- Zhang, Q.J. System Design and Key Technologies of the GF-3 Satellite. Acta Geod. Cartogr. Sin. 2017, 46, 269–277. [Google Scholar]
- Sun, J.; Yu, W.; Deng, Y. The SAR Payload Design and Performance for the GF-3 Mission. Sensors 2017, 17, 2419. [Google Scholar] [CrossRef] [PubMed]
- Xie, J.; Li, Z.; Zhou, C.; Fang, Y.; Zhang, Q. Speckle Filtering of GF-3 Polarimetric SAR Data with Joint Restriction Principle. Sensors 2018, 18, 1533. [Google Scholar] [CrossRef] [PubMed]
- Wang, T.; Zhang, G.; Yu, L.; Zhao, R.; Deng, M.; Xu, K. Multi-Mode GF-3 Satellite Image Geometric Accuracy Verification Using the RPC Model. Sensors 2017, 17, 2005. [Google Scholar] [CrossRef] [PubMed]
- Ding, C.; Liu, J.; Lei, B.; Qiu, X. Preliminary exploration of systematic geolocation accuracy of GF-3 SAR satellite system. J. Radars 2017, 6, 11–16. [Google Scholar]
- Jiao, N.; Wang, F.; You, H.; Qiu, X.I.; Yang, M. Geo-Positioning Accuracy Improvement of Multi-Mode GF-3 Satellite SAR Imagery Based on Error Sources Analysis. Sensors 2018, 18, 2333. [Google Scholar] [CrossRef] [PubMed]
- Toutin, T. Path Processing and Block Adjustment with RADARSAT-1 SAR images. IEEE Trans. Geosci. Remote Sens. 2003, 41, 2320–2328. [Google Scholar] [CrossRef]
- Mora, O.; Pérez, F.; Palà, V.; Arbiol, R. Development of a Multiple Adjustment Processor for Generation of DEMs Over Large Areas Using SAR Data. In Proceedings of the 2003 IEEE Geoscience and Remote Sensing Symposium, Toulouse, France, 21–25 July 2003; pp. 2326–2328. [Google Scholar]
- Toutin, T. Spatiotriangulation with Multisensor VIR/SAR Images. IEEE Trans. Geosci. Remote Sens. 2004, 42, 2096–2103. [Google Scholar] [CrossRef]
- Wang, T.; Zhang, G.; Li, D.; Zhao, R.; Deng, M.; Zhu, T.; Yu, L. Planar block adjustment and orthorectification of Chinese spaceborne SAR YG-5 imagery based on RPC. Int. J. Remote Sens. 2018, 39, 640–654. [Google Scholar] [CrossRef]
- Wang, M.; Wang, Y.; Run, Y.; Cheng, Y.; Jin, S. Geometric Accuracy Analysis for GaoFen3 Stereo Pair Orientation. IEEE Geosci. Remote Sens. Lett. 2018, 15, 92–96. [Google Scholar] [CrossRef]
- Zhang, J.; Wei, J.; Huang, G.; Zhang, Y. Fusion of ascending and descending polarimetric SAR data for colour orthophoto generation. In Proceedings of the ISPRS TC VII Symposium—100 Years ISPRS, Vienna, Austria, 5–7 July 2010; Volume 38, pp. 323–328. [Google Scholar]
- Deo, R.; Rossi, C.; Eineder, M.; Fritz, T.; Rao, Y.S. Framework for Fusion of Ascending and Descending Pass TanDEM-X Raw DEMs. IEEE J. Sel. Top. Appl. Earth Obs. Remote Sens. 2015, 8, 3347–3355. [Google Scholar] [CrossRef]
- Zhao, R.; Zhang, G.; Deng, M.; Xu, K.; Guo, F. Geometric Calibration and Accuracy Verification of the GF-3 Satellite. Sensors 2017, 17, 1977. [Google Scholar] [CrossRef] [PubMed]
- Deng, M.; Zhang, G.; Zhao, R.; Li, S.; Li, J. Improvement of Gaofen-3 Absolute Positioning Accuracy Based on Cross-Calibration. Sensors 2017, 17, 2903. [Google Scholar] [CrossRef] [PubMed]
- Qiu, X.; Han, C.; Liu, J. A method for spaceborne SAR geolocation based on continuously moving geometry. J. Radars 2013, 1, 54–59. [Google Scholar] [CrossRef]
- Curlander, J.C. Location of spaceborne SAR imagery. Geoscience and Remote Sensing. IEEE Trans. Geosci. Remote Sens. 1982, 3, 359–364. [Google Scholar] [CrossRef]
- Zhao, R.; Zhang, G.; Deng, M.; Yang, F.; Chen, Z.; Zheng, Y. Multimode hybrid geometric calibration of spaceborne sar considering atmospheric propagation delay. Remote Sens. 2017, 9, 464. [Google Scholar] [CrossRef]
- Zhang, G.; Fei, W.; Li, Z.; Zhu, X.; Li, D. Evaluation of the RPC Model for Spaceborne SAR Imagery. Photogramm. Eng. Remote Sens. 2010, 76, 727–733. [Google Scholar] [CrossRef]
- Grodecki, J.; Dial, G. Block adjustment of high-resolution satellite images described by rational polynomials. Photogramm. Eng. Remote Sens. 2003, 69, 59–68. [Google Scholar] [CrossRef]
- Zhang, G.; Li, Z.; Pan, H.; Qiang, Q.; Zhai, L. Orientation of Spaceborne SAR Stereo Pairs Employing the RPC Adjustment Model. IEEE Trans. Geosci. Remote Sens. 2011, 49, 2782–2792. [Google Scholar] [CrossRef]
- Zhang, G.; Qiang, Q.; Luo, Y.; Zhu, Y.; Gu, H.; Zhu, X. Application of RPC Model in Orthorectification of Spaceborne SAR Imagery. Photogramm. Rec. 2012, 27, 94–110. [Google Scholar] [CrossRef]
- Teo, T.A.; Chen, L.C.; Liu, C.L.; Tung, Y.C.; Wu, W.Y. DEM-Aided Block Adjustment for Satellite Images with Weak Convergence Geometry. IEEE Trans. Geosci. Remote Sens. 2010, 48, 1907–1918. [Google Scholar]
- Wang, T.; Zhang, G.; Li, D.; Tang, X.; Jiang, Y.; Pan, H.; Zhu, X. Planar Block Adjustment and Orthorectification of ZY-3 Satellite Images. Photogramm. Eng. Remote Sens. 2014, 80, 559–570. [Google Scholar] [CrossRef]










| Item | Wuhan City | Hubei Province |
|---|---|---|
| Imaging mode | QPSI | FS2 |
| Nominal resolution (m) | 8 | 10 |
| Width of image (km) | 30 | 100 |
| Number of orbit | 4 | 9 |
| Number of images | 11 | 31 |
| Number of GCPs/ICPs | 8 | 134 |
| Number of tie points | 33 | 1038 |
| terrain | plain | Mountains, hills, plain |
| area (km2) | 8594 | 185,900 |
| Test Area | Scheme | GCP | ICP | Maximum Error (m) | RMSE (m) | ||||
|---|---|---|---|---|---|---|---|---|---|
| x | y | plane | x | y | plane | ||||
| Wuhan | before calibration | 0 | 13 | −41.50 | 16.55 | 41.91 | 29.03 | 7.31 | 29.93 |
| after calibration | 0 | 13 | 7.75 | −9.45 | 9.73 | 4.99 | 5.34 | 7.31 | |
| Test Area | Scheme | TP | Maximum Error (pixel) | RMSE (pixel) | ||||
|---|---|---|---|---|---|---|---|---|
| x | y | plane | x | y | plane | |||
| Wuhan | before calibration | 33 | 0.96 | −0.95 | 0.96 | 0.35 | 0.23 | 0.42 |
| after calibration | 33 | 0.86 | −0.98 | 0.99 | 0.34 | 0.23 | 0.41 | |
| Test Area | Scheme | GCP | ICP | Maximum Error (m) | RMSE (m) | ||||
|---|---|---|---|---|---|---|---|---|---|
| x | y | plane | x | y | plane | ||||
| Hubei | before calibration | 0 | 135 | 54.80 | 13.74 | 55.01 | 38.70 | 4.54 | 38.97 |
| 13 | 122 | 32.32 | −13.95 | 32.63 | 11.35 | 4.88 | 12.35 | ||
| after calibration | 0 | 135 | 14.90 | −17.98 | 19.10 | 4.60 | 7.70 | 8.97 | |
| 13 | 122 | −13.10 | −16.51 | 18.81 | 4.82 | 5.42 | 7.26 | ||
| Test Area | Scheme | GCP | TP | Maximum Error (pixel) | RMSE (pixel) | ||||
|---|---|---|---|---|---|---|---|---|---|
| x | y | plane | x | y | plane | ||||
| Hubei | before calibration | 0 | 1038 | −2.72 | 2.65 | 2.92 | 0.67 | 0.61 | 0.91 |
| 13 | 1038 | −5.05 | −2.80 | 5.05 | 0.95 | 0.65 | 1.15 | ||
| after calibration | 0 | 1038 | 3.12 | 2.66 | 3.13 | 0.66 | 0.61 | 0.90 | |
| 13 | 1038 | 3.11 | −2.79 | 3.11 | 0.70 | 0.65 | 0.95 | ||
| Test Area | Scheme | GCP | Maximum Error (m) | RMSE (m) | ||||
|---|---|---|---|---|---|---|---|---|
| x | y | plane | x | y | plane | |||
| Hubei | After calibration | 1 | 15.00 | −17.42 | 18.41 | 4.53 | 6.55 | 7.96 |
| 4 | 10.93 | −17.14 | 18.12 | 4.38 | 5.50 | 7.03 | ||
| 9 | −12.74 | −16.27 | 18.39 | 4.59 | 5.50 | 7.17 | ||
| 13 | −13.10 | −16.51 | 18.81 | 4.82 | 5.42 | 7.26 | ||
© 2018 by the authors. Licensee MDPI, Basel, Switzerland. This article is an open access article distributed under the terms and conditions of the Creative Commons Attribution (CC BY) license (http://creativecommons.org/licenses/by/4.0/).
Share and Cite
Zhang, G.; Wu, Q.; Wang, T.; Zhao, R.; Deng, M.; Jiang, B.; Li, X.; Wang, H.; Zhu, Y.; Li, F. Block Adjustment without GCPs for Chinese Spaceborne SAR GF-3 Imagery. Sensors 2018, 18, 4023. https://doi.org/10.3390/s18114023
Zhang G, Wu Q, Wang T, Zhao R, Deng M, Jiang B, Li X, Wang H, Zhu Y, Li F. Block Adjustment without GCPs for Chinese Spaceborne SAR GF-3 Imagery. Sensors. 2018; 18(11):4023. https://doi.org/10.3390/s18114023
Chicago/Turabian StyleZhang, Guo, Qingwei Wu, Taoyang Wang, Ruishan Zhao, Mingjun Deng, Boyang Jiang, Xin Li, Huabin Wang, Yu Zhu, and Fangting Li. 2018. "Block Adjustment without GCPs for Chinese Spaceborne SAR GF-3 Imagery" Sensors 18, no. 11: 4023. https://doi.org/10.3390/s18114023
APA StyleZhang, G., Wu, Q., Wang, T., Zhao, R., Deng, M., Jiang, B., Li, X., Wang, H., Zhu, Y., & Li, F. (2018). Block Adjustment without GCPs for Chinese Spaceborne SAR GF-3 Imagery. Sensors, 18(11), 4023. https://doi.org/10.3390/s18114023

