Support for Employees with ASD in the Workplace Using a Bluetooth Skin Resistance Sensor–A Preliminary Study
Abstract
1. Introduction
2. Proposed Method
2.1. Two-Point Skin Resistance Measurement
2.2. The Wireless Transmission of the Results Using Bluetooth Low Energy
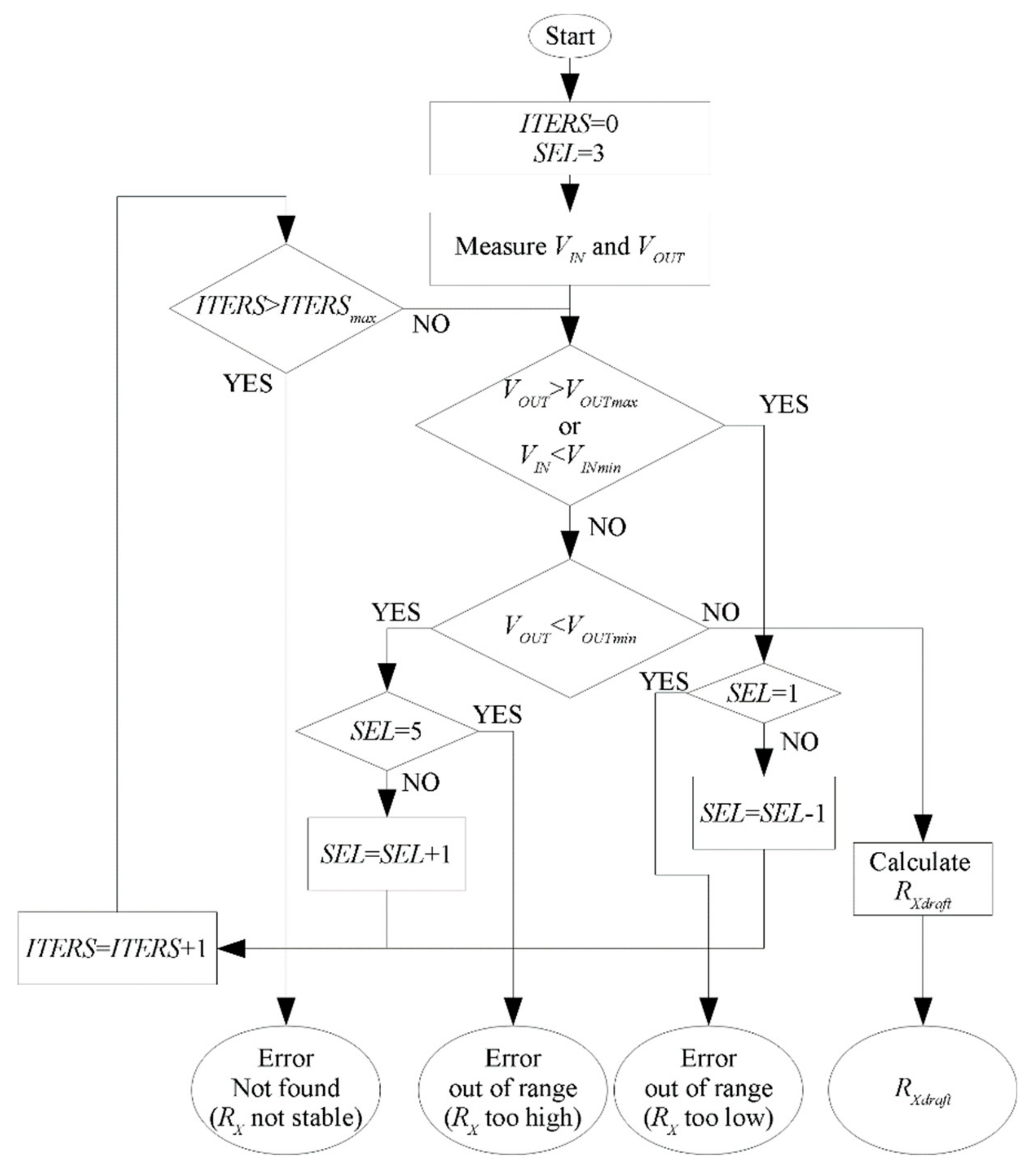
2.3. The Implementation of the System
3. Materials and Method
4. Research and Results
5. Discussion
6. Conclusions
Author Contributions
Funding
Acknowledgments
Conflicts of Interest
References
- Shore, L.M.; Chung-Herrera, B.G.; Dean, M.A.; Holcombe Ehrhart, K.; Jung, D.I.; Randel, A.E.; Singh, G. Diversity in organizations: Where are we now and where are we going? Hum. Resour. Manag. Rev. 2009, 19, 117–133. [Google Scholar] [CrossRef]
- Roberge, M.-É.; Van Dick, R. Recognizing the benefits of diversity: When and how does diversity increase group performance? Hum. Resour. Manag. Rev. 2010, 20, 295–308. [Google Scholar] [CrossRef]
- McLaughlin, M.E.; Bell, M.P.; Stringer, D.Y. Stigma and acceptance of persons with disabilities. Group Organ. Manag. 2004, 29, 302–333. [Google Scholar] [CrossRef]
- Jones, G.E. Advancement opportunity issues for persons with disabilities. Hum. Resour. Manag. Rev. 1997, 7, 56–76. [Google Scholar] [CrossRef]
- Ismaili, J.; Ouazzani Ibrahimi, E.H. Mobile learning as alternative to assistive technology devices for special needs students. Educ. Inf. Technol. 2016, 22, 883–899. [Google Scholar] [CrossRef]
- Wang, S. How Autism Can Help You Land a Job. The Wall Street Journal. 27 March 2016. Available online: https://www.conductdisorders.com/community/threads/how-autism-can-help-you-land-a-job-wall-street-journal.56748/ (accessed on 2 January 2018).
- Holland, R. Neurodiversity: The Benefits of Recruiting Employees with Cognitive Disabilities. Harvard Business School Working Knowledge. 11 July 2016. Available online: https://hbswk.hbs.edu/item/neurodiversity-the-benefits-of-recruiting-employees-with-cognitive-disabilities (accessed on 2 January 2018).
- Jones, K. Autistic Employees Can Give Companies an Edge in Innovative Thinking. The Guardian. 17 October 2016. Available online: https://www.theguardian.com/sustainable-business/2016/oct/17/autistic-employees-can-give-companies-an-edge-in-innovative-thinking (accessed on 2 January 2018).
- Pisano, G.P.; Austin, R.D. SAP SE: Autism at Work; Harvard Business School Case Study 616-042; Harvard Business School: Boston, MA, USA, 2016. [Google Scholar]
- Hendricks, D.R. Employment and adults with autism spectrum disorders: Challenges and strategies for success. J. Vocat. Rehabil. 2010, 32, 125–134. [Google Scholar]
- American Psychiatric Association. Diagnostic and Statistical Manual of Mental Disorders, 4th ed.; American Psychiatric Association: Washington, DC, USA, 2000. [Google Scholar]
- Fulceri, F.; Tonacci, A.; Lucaferro, A.; Apicella, F.; Narzisi, A.; Vincenti, G.; Muratori, G.; Contaldo, A. Interpersonal motor coordination during joint actions in children with and without autism spectrum disorder: The role of motor information. Res. Dev. Disabil. 2018, 80, 13–23. [Google Scholar] [CrossRef] [PubMed]
- Toth, K.; Munson, J.; Meltzoff, A.N.; Dawson, G. Early predictors of communication development in young children with autism spectrum disorder: Joint attention, imitation, and toy play. J. Autism Dev. Disord. 2006, 36, 993–1005. [Google Scholar] [CrossRef] [PubMed]
- Colombi, C.; Liebal, K.; Tomasello, M.; Young, G.; Warneken, F.; Rogers, S.J. Examining correlates of cooperation in autism: Imitation, joint attention, and understanding intentions. Autism Int. J. Res. Pract. 2009, 13, 143–163. [Google Scholar] [CrossRef] [PubMed]
- Billeci, L.; Narzisi, A.; Tonacci, A.; Sbriscia-Fioretti, B.; Serasini, L.; Fulceri, F.; Apicella, F.; Sicca, F.; Calderoni, S.; Muratori, F. An integrated EEG and eye-tracking approach for the study of responding and initiating joint attention in Autism Spectrum Disorders. Sci. Rep. 2017, 7, 13560. [Google Scholar] [CrossRef] [PubMed]
- Mundy, P.; Gomes, A. Individual differences in joint attention skill development in the second year. Infant Behav. Dev. 1998, 21, 469–482. [Google Scholar] [CrossRef]
- Ikeda, E.; Hinckson, H.; Crageloh, C. Assessment of quality of life in children and youth with autism spectrum disorder: A critical review. Qual. Life Res. 2014, 23, 1069–1085. [Google Scholar] [CrossRef] [PubMed]
- Schroeder, J.; Cappadocia, M.; Bebko, J.; Pepler, D.; Weiss, J. Shedding light on a pervasive problem: A review of research on bullying experiences among children with autism spectrum disorders. J. Autism Dev. Disord. 2014, 44, 1520–1534. [Google Scholar] [CrossRef] [PubMed]
- Howlin, P.H.; Moss, P. Adults with Autism Spectrum Disorders. Can. J. Psychiatry 2012, 57, 275–283. [Google Scholar] [CrossRef] [PubMed]
- Ohl, A.; Sheff, M.G.; Little, S.; Nguyen, J.; Paskor, K.; Zanjirian, A. Predictors of employment status among adults with Autism Spectrum Disorder. Work 2017, 56, 345–355. [Google Scholar] [CrossRef] [PubMed]
- Morris, M.R.; Begel, A.; Wiedermann, B. Understanding the Challenges Faced by Neurodiverse Software Engineering Employees: Towards a More Inclusive and Productive Technical Workforce. In Proceedings of the 17th International ACM SIGACCESS Conference on Computers & Accessibility (ASSETS ‘15), Lisbon, Portugal, 26–28 October 2015. [Google Scholar] [CrossRef]
- Cabibihan, J.J.; Javed, H.; Aldosari, M.; Frazier, T.W.; Elbashir, H. Sensing Technologies for Autism Spectrum Disorder Screening and Intervention. Sensors 2017, 17, 46. [Google Scholar] [CrossRef] [PubMed]
- DiPalma, S.; Tonacci, A.; Narzisi, A.; Domenici, C.; Pioggia, G.; Muratori, F.; Billeci, L.; The MICHELANGELO Study Group. Monitoring of autonomic response to sociocognitive tasks during treatment in children with Autism Spectrum Disorders by wearable technologies: A feasibility study. Comput. Biol. Med. 2017, 85, 143–152. [Google Scholar] [CrossRef] [PubMed]
- Billeci, L.; Tonacci, A.; Narzisi, A.; Manigrasso, Z.; Varanini, M.; Fulceri, F.; Lattarulo, C.; Calderoni, S.; Muratori, F. Heart Rate Variability during a Joint Attention Task in Toddlers with Autism Spectrum Disorders. Front. Physiol. 2018, 9, 467. [Google Scholar] [CrossRef] [PubMed]
- Burke, R.V.; Andersen, M.N.; Bowen, S.L.; Howard, M.R.; Allen, K.D. Evaluation of two instruction methods to increase employment options for adults with autism spectrum disorders. Res. Dev. Disabil. 2010, 31, 1223–1233. [Google Scholar] [CrossRef] [PubMed]
- Fletcher, R.R.; Dobson, K.; Goodwin, M.S.; Eydgahi, H.; Wilder-Smith, O.; Fernholz, D.; Kuboyama, Y.; Hedman, E.B.; Poh, M.Z.; Picard, R.W. iCalm: Wearable sensor and network architecture for wirelessly communicating and logging autonomic activity. IEEE Trans. Inf. Technol. Biomed. 2010, 14, 215–223. [Google Scholar] [CrossRef] [PubMed]
- McCarthy, C.; Pradhan, N.; Redpath, C.; Adler, A. Validation of the Empatica E4Wristband. In Proceedings of the 2016 IEEE EMBS International Student Conference (ISC), Ottawa, ON, Canada, 29–31 May 2016; pp. 1–4. [Google Scholar]
- Jędrzejewska-Szczerska, M.; Karpienko, K.; Landowska, A. System supporting behavioral therapy for children with autism. J. Innov. Opt. Health Sci. 2015, 8. [Google Scholar] [CrossRef]
- Landowska, A.; Karpienko, K.; Wróbel, M.; Jędrzejewska-Szczerska, M. Selection of physiological parameters for optoelectronic system supporting behavioral therapy of autistic children. Proc. SPIE 2014, 9290, 92901Q. [Google Scholar] [CrossRef]
- Kołakowska, A.; Landowska, A.; Anzulewicz, A.; Sobota, K. Automatic recognition of therapy progress among children with autism. Sci. Rep. 2017, 7. [Google Scholar] [CrossRef] [PubMed]
- Kołakowska, A.; Landowska, A.; Wróbel, M.R.; Zaremba, D.; Czajak, D.; Anzulewicz, A. Applications for investigating therapy progress of autistic children. Ann. Comput. Sci. Inf. Syst. 2016, 8, 1693–1697. [Google Scholar] [CrossRef]
- Landowska, A.; Smiatacz, M. Mobile Activity Plan Applications for Behavioral Therapy of Autistic Children. Man–Mach. Interact. 2016, 4, 115–125. [Google Scholar]
- Shapsough, S.; Hesham, A.; Elkhorazaty, Y.; Zualkernan, I.A.; Aloul, F. Emotion Recognition Using Mobile Phones. In Proceedings of the IEEE 18th International Conference on e-Health Networking, Applications and Services (Healthcom), Munich, Germany, 14–16 September 2016; pp. 276–281. [Google Scholar]
- Muaremi, A.; Arnrich, B.; Tröster, G. Towards Measuring Stress with Smartphones and Wearable Devices during Workday and Sleep. BioNanoScience 2013, 3, 172–183. [Google Scholar] [CrossRef] [PubMed]
- Yin, X.; Shen, W.; Samarabandu, J.; Wang, X. Human Activity Detection Based on Multiple Smart Phone Sensors and Machine Learning Algorithms. In Proceedings of the IEEE 19th International Conference on Computer Supported Cooperative Work in Design, Calabria, Italy, 6–8 May 2015; pp. 582–587. [Google Scholar]
- Bhagya Rekha, S.; Venkateswara Rao, M. Methodical Activity Recognition and Monitoring of a Person through Smart Phone and Wireless Sensors. In Proceedings of the IEEE International Conference on Power, Control, Signals and Instrumentation Engineering (ICPCSI-2017), Chennai, India, 21–22 September 2017; pp. 1456–1459. [Google Scholar]
- Sano, A.; Phillips, A.J.; Yu, A.Z.; McHill, A.W.; Taylor, S.; Jaques, N.; Czeisler, C.A.; Klerman, E.B.; Picard, R.W. Recognizing Academic Performance, Sleep Quality, Stress Level, and Mental Health using PersonalityTraits, Wearable Sensors and Mobile Phones. In Proceedings of the IEEE 12th International Conference on Wearable and Implantable Body Sensor Networks (BSN), Cambridge, MA, USA, 9–12 June 2015. [Google Scholar] [CrossRef]
- Sneha, H.R.; Rafi, M.; Manoj Kumar, M.V.; Likewin, T.; Annappa, B. Smartphone Based Emotion Recognition and Classification. In Proceedings of the Second International Conference on Electrical, Computer and Communication Technologies (ICECCT), Coimbatore, India, 22–24 February 2017. [Google Scholar] [CrossRef]
- Shi, D.; Chen, X.; Wei, J.; Yang, R. User Emotion Recognition Based on Multi-Class Sensors of Smartphone. In Proceedings of the IEEE International Conference on Smart City/SocialCom/SustainCom together with DataCom 2015 and SC2 2015, Chengdu, China, 19–21 December 2015; pp. 478–485. [Google Scholar] [CrossRef]
- Chang, K.; Fisher, D.; Canny, J.; Hartmann, B. How’s my mood and stress? An efficient speech analysis library for unobtrusive monitoring on mobile phones. In Proceedings of the BodyNets ’11 Proceedings of the 6th International Conference on Body Area Networks, Beijing, China, 7–8 November 2011. [Google Scholar]
- LiKamWa, R.; Liu, Y.; Lane, N.; Zhong, L. Can your smartphone infer your mood. In Proceedings of the PhoneSense Workshop, Seattle, WA, USA, 1–4 November 2011; Available online: https://www.semanticscholar.org/paper/Can-Your-Smartphone-Infer-Your-Mood-%3F-LiKamWa-Liu/bdb5a9a5d6c9b37193e0c2e9cb198f3edbccf6c2 (accessed on 2 January 2018).
- Lu, H.; Frauendorfer, D.; Rabbi, M.; Mast, M.S.; Chittaranjan, G.T.; Campbell, A.T.; Perez, D.G.; Choudhury, T. StressSense: Detecting stress in unconstrained acoustic environments using smartphones. In Proceedings of the ACM Ubiquitous Computing (UbiComp), Pittsburgh, PA, USA, 5–8 September 2012. [Google Scholar]
- Salai, M.; Vassányi, I.; Kósa, I. Stress Detection Using Low Cost Heart Rate Sensors. J. Healthc. Eng. 2016, 2016, 5136705. [Google Scholar] [CrossRef] [PubMed]
- Andeoli, A.; Gravina, R.; Giannantonio, R.; Pierleoni, P.; Fortino, G. SPINE-HRV: A BSN-based Toolkit for Heart Rate Variability Analysis in the Time-Domain, Wearable and Autonomous Biomedical Devices and Systems for Smart Environments: New issues and Characterization. Lect. Notes Electr. Eng. 2010, 75, 369–389. [Google Scholar] [CrossRef]
- Han, L.; Zhang, Q.; Chen, X.; Zhan, Q.; Yang, T.; Zhao, Z. Detecting work-related stress with a wearable device. Comput. Ind. 2017, 90, 42–49. [Google Scholar] [CrossRef]
- Handri, S.; Nomura, S.; Kurosawa, Y.; Yajima, K.; Ogawa, N.; Fukumura, Y. User Evaluation of Student’s Physiological Response Towards E-Learning Courses Material by Using GSR Sensor. In Proceedings of the 9th IEEE/ACIS International Conference on Computer and Information Science, Yamagata, Japan, 18–20 August 2010. [Google Scholar]
- Villarejo, M.V.; García Zapirain, B.; Méndez Zorrilla, M. A Stress Sensor Based on Galvanic Skin Response (GSR) Controlled by ZigBee. Sensors 2012, 12, 6075–6101. [Google Scholar] [CrossRef] [PubMed]
- Okkesim, S.; Asyali, M.H.; Kara, S.; Kaya, M.G.; Ardic, I. Evaluation of anxiety related changes in skin conductance and blood volume pulse signals during coronary angiography. In Proceedings of the 14th National Biomedical Engineering Meeting, Balcova, Izmir, Turkey, 20–22 May 2009. [Google Scholar] [CrossRef]
- Healey, J.A.; Picard, R.W. Detecting stress during real-world driving tasks using physiological sensors. IEEE Trans. Intell. Transp. Syst. 2005, 6, 156–166. [Google Scholar] [CrossRef]
- Gjoreski, M.; Gjoreski, H.; Lustrek, M.; Gams, M. Continuous Live Stress Monitoring with a Wristband. In Proceedings of the ECAI 2016: 22nd European Conference on Artificial Intelligence, The Hague, The Netherlands, 29 August–2 September 2016; Volume 285, pp. 1803–1803. [Google Scholar] [CrossRef]
- Sano, A.; Picard, R.W. Stress Recognition using Wearable Sensors and Mobile Phones. In Proceedings of the Humaine Association Conference on Affective Computing and Intelligent Interaction, Geneva, Switzerland, 2–5 September 2013; pp. 671–676. [Google Scholar] [CrossRef]
- Bao, J.; Li, W.; Tao, X.; Cao, Y.; Shou, X.; Yang, H. Study on Fear Emotion Recognition Based on Traditional Chinese Medicine and Body Sensor Network. In Proceedings of the IEEE International Conference on Systems, Man, and Cybernetics, Manchester, UK, 13–16 October 2013; pp. 368–373. [Google Scholar] [CrossRef]
- Bluetooth SIG. Specification of the Bluetooth System. Covered Core Package Version 4.0; The Bluetooth Special Interest Group: Kirkland, WA, USA, 2010. [Google Scholar]
- Jędrzejewska-Szczerska, M.; Wierzba, P.; AbouChaaya, A.; Bechelany, M.; Miele, P.; Viter, R.; Mazikowski, A.; Karpienko, K.; Wróbel, M.S. ALD thin ZnO layer as an active medium in a fiber-optic Fabry-Perotinterferometr. Sens. Actuators A Phys. 2015, 221, 88–94. [Google Scholar] [CrossRef]
- Majchrowicz, D.; Hirsch, M.; Wierzba, P.; Bechelany, M.; Viter, R.; Jędrzejewska-Szczerska, M. Application of Thin ZnO ALD Layersin Fiber-Optic Fabry-Pérot Sensing Interferometers. Sensors 2016, 16, 416. [Google Scholar] [CrossRef] [PubMed]
- Chan, M.; Esteve, D.; Escriba, C.; Campo, E. A review of smart homes—Present state and future Challenges. Comput. Methods Programs Biomed. 2008, 91, 55–81. [Google Scholar] [CrossRef] [PubMed]
- Hensel, W.F. People with autism spectrum disorder in the workplace: An expanding legal frontier. Civ. Lib. Law Rev. 2017, 52, 73–102. [Google Scholar]






| SEL | RFB [Ω] | VREF [V] | RX Range [Ω] |
|---|---|---|---|
| 1 | 10 k | 0.2 | 690–10 k |
| 2 | 100 k | 0.2 | 6.9 k–100 k |
| 3 | 1 M | 0.2 | 69 k–1 M |
| 4 | 1 M | 1.375 | 797 k–6.86 M |
| 5 | 1 M | 2.55 | 4.64 M–12.75 M |
| Resistance [MΩ] | Minimum | Quartile 1 | Median | Quartile 3 | Maximum | Mean |
|---|---|---|---|---|---|---|
| (FlexComp Infinity by Thought Technology, Montreal-West, QC, Canada) | 0.55 | 0.64 | 0.85 | 1.18 | 1.85 | 0.96 |
| System presented in the paper | 0.36 | 0.60 | 0.86 | 1.00 | 1.50 | 0.85 |
| Resistance [MΩ] | Minimum | Quartile 1 | Median | Quartile 3 | Maximum | Mean |
|---|---|---|---|---|---|---|
| index and middle finger | 0.392 | 0.646 | 0.821 | 0.943 | 1.912 | 0.898 |
| wrist | 0.628 | 1.186 | 1.553 | 1.832 | 2.637 | 1.536 |
| forearm | 0.882 | 1.521 | 1.795 | 2.237 | 3.102 | 1.849 |
| ankle | 0.503 | 1.074 | 1.993 | 2.255 | 12.762 | 2.291 |
© 2018 by the authors. Licensee MDPI, Basel, Switzerland. This article is an open access article distributed under the terms and conditions of the Creative Commons Attribution (CC BY) license (http://creativecommons.org/licenses/by/4.0/).
Share and Cite
Tomczak, M.T.; Wójcikowski, M.; Listewnik, P.; Pankiewicz, B.; Majchrowicz, D.; Jędrzejewska-Szczerska, M. Support for Employees with ASD in the Workplace Using a Bluetooth Skin Resistance Sensor–A Preliminary Study. Sensors 2018, 18, 3530. https://doi.org/10.3390/s18103530
Tomczak MT, Wójcikowski M, Listewnik P, Pankiewicz B, Majchrowicz D, Jędrzejewska-Szczerska M. Support for Employees with ASD in the Workplace Using a Bluetooth Skin Resistance Sensor–A Preliminary Study. Sensors. 2018; 18(10):3530. https://doi.org/10.3390/s18103530
Chicago/Turabian StyleTomczak, Michał T., Marek Wójcikowski, Paulina Listewnik, Bogdan Pankiewicz, Daria Majchrowicz, and Małgorzata Jędrzejewska-Szczerska. 2018. "Support for Employees with ASD in the Workplace Using a Bluetooth Skin Resistance Sensor–A Preliminary Study" Sensors 18, no. 10: 3530. https://doi.org/10.3390/s18103530
APA StyleTomczak, M. T., Wójcikowski, M., Listewnik, P., Pankiewicz, B., Majchrowicz, D., & Jędrzejewska-Szczerska, M. (2018). Support for Employees with ASD in the Workplace Using a Bluetooth Skin Resistance Sensor–A Preliminary Study. Sensors, 18(10), 3530. https://doi.org/10.3390/s18103530

