Next Article in Journal
Analyzing Four Years of Ground-Based Measurements of XCO2 and XCO over Thessaloniki, Greece Using FTIR Spectroscopy
Previous Article in Journal
Modelling the Urban Thermal Environment through the Combined Use of WRF and the Local Climate Zones Approach: Case Study for Nicosia
 
 
Please note that, as of 4 December 2024, Environmental Sciences Proceedings has been renamed to Environmental and Earth Sciences Proceedings and is now published here.
Font Type:
Arial Georgia Verdana
Font Size:
Aa Aa Aa
Line Spacing:
Column Width:
Background:
Proceeding Paper

A Technology Review of Decarbonization: Efficient Techniques for Producing Hydrogen as Fuel †

by
Ilias Chrysocheris
1,*,
Evangelos C. Papakitsos
1,
Dimitrios Piromalis
2 and
Nikolaos Laskaris
1
1
Department of Industrial Design and Production Engineering, School of Engineering, University of West Attica, 122 41 Athens, Greece
2
Department of Electrical and Electronics Engineering, School of Engineering, University of West Attica, 122 41 Athens, Greece
*
Author to whom correspondence should be addressed.
Presented at the 16th International Conference on Meteorology, Climatology and Atmospheric Physics—COMECAP 2023, Athens, Greece, 25–29 September 2023.
Environ. Sci. Proc. 2023, 26(1), 59; https://doi.org/10.3390/environsciproc2023026059
Published: 25 August 2023

Abstract

:
Climate change is obvious in many ways. The weather changes rapidly from day to day, reaching high temperatures, such as 28 °C, one day and heavy rain the next, with temperatures below 18 °C. There are also very strong storms caused by this phenomenon. The way the environment acts is different than the current epoch would predict, indicating a long-term shift in weather and temperature patterns. The mean temperature of earth is rising due to the greenhouse effect that is caused by human activity and mostly by the burning of fossil fuel, emitting CO2 and other pollutant gasses. Nowadays, every country is trying to lower CO2 emissions from everyday human activities, a movement called “decarbonization”. Since the 18th century there has been a great deal of research carried out on possible alternatives to fossil fuels. Some of the work was just to discover ways to power heaters or automotive vehicle, but there is a great deal of work remaining to complete regarding this issue after discovering the greenhouse effect and its impact on the planet’s climate, in order to eliminate it by using fuel whose combustion emissions are more environmentally friendly. In the present work, many discoveries will be presented that use hydrogen (H2) or hydroxy (H-OH) as fuel. The main reason for this is the emission of pure water after combustion, but the most interesting part is the approach every scientist uses to create the fuel gas from water.

1. Introduction

Technology was always at the center of human attention. The goal was always to transform the environment according to our needs. After all these centuries of environmental intervention, we face a very serious environmental problem, the greenhouse effect. Due to CO2 emissions, the atmosphere has been transformed into a huge greenhouse. The mean temperature has risen, and this leads to many environmental imbalances that in turn affect the weather, plants, and many other environmental parameters.
At this time, one of the main goals of scientists is to lower CO2 emissions, even down to zero, to help the environment recover from the large impact of human activity. There are many state agreements on “decarbonization”, and now technology is working toward the path of zero CO2 emissions. The main goal is to reduce fossil fuel usage and instead use other sources which are more environmentally friendly, such as solar or wind power. Another energy source that could be used is hydrogen. When hydrogen is burned, it is turned into water, which is the main environmental material. Water can also be a good source of hydrogen when its components (hydrogen and oxygen) are split apart.
There has been a great deal of scientific research on splitting the water molecules in order to use its components for heat, producing electric energy, or even as a fuel in internal combustion engines; these processes are worth studying for their uses and their advantages and disadvantages.

2. The Basic Electrolysis

More than a century ago, scientists tried to use water electrolysis to produce gas and use it widely in whatever appliances needed “fuel”. Henry M. Paine [1] on Nov. 1884 filed for a US patent for a process of manufacturing illuminating gas. As he describes in his patent application, up to then there was the idea that hydrogen and oxygen should be kept separated as, after production, they form a highly explosive mixture. When H2 had to be ignited, it should be brought together with O2 only at the point of ignition. The O2 could be drawn from the open air, to support combustion, or could be drawn from a separate O2 holder. In the former way, the H2 should have been carbureted by itself, by passing through a liquid hydrocarbon.
The inventor states that the mixed gases obtained from the decomposition of water, via electrolysis, can be used with absolute safety if passed through a volatile hydrocarbon without the need to separate them. The described process of treatment of the gas mixture renders it safe for use, enables it to be stored under the same conditions as ordinary coal gas, and transforms it into a highly luminiferous gas.
After 1978, one can find more documentation on water electrolysis. There are many efforts to try to make the electrolysis process have even better performance. This is because water is clearly a source of power which is environmentally friendly, as its products, oxygen and hydrogen, produce water again upon burning. Shigeta Hasebe, in his “Apparatus for Decomposition of Aqueous Liquid” [2], describes how when water is sufficiently magnetized, each of its atoms is also magnetized, thus having a spin according to the applied polarity. When a negative electrode is immersed in a sodium hydroxide solution acting as the electrolyte, upon the application of the electric field, the coupling state of the hydrogen with the oxygen is varied and the electrolysis is facilitated by the spin.
The apparatus described by Hasebe contains electrodes formed into a spiral shape, arranged close to each other. Power is supplied to them, thus making the electrolyte flow in between. The electric current produces a magnetic field because of the coil shape of the electrodes, making electrolysis of water molecules smooth under the spin functions of the atoms and electrons. The inventor states that this water electrolysis rate of this system is 10 to 20 times that of conventional electrolysis systems. In the described apparatus, there is also a magnetic field applied with strong permanent magnets perpendicular to the axis of the electrodes’ coil to further enhance the electrolysis effect.
Three months later, Archie H. Blue in his “Electrolytic Cell” [3] addresses the problem of gas bubbles remaining on the electrodes in an electrolysis chamber. During the electrolysis process, there are bubbles of gas which form on the electrodes, increasing the resistance to the current flow, lowering the performance of the whole electrolysis system. Archie H. Blue used air pumped into the bottom of the electrolysis cell. That way, the electrolyzer is kept in constant motion, which assisted with the rapid removal of bubbles formed on the electrodes.
Spiro Ross Spiros invented a system described in “Improvement in Electrolysis Systems and the Availability of Over-Unity Energy” [4], which performs electrolysis on water to liberate hydrogen and oxygen. The gasses, after a storage stage, pass through an expansion device and then through a combustion device. A proportion of the work produced by the latter is used to sustain electrolysis, to retain operational gas pressure in the gas storage chambers in such a way that the energy system is self-sustaining. The inventor claims that the system produces more energy than that it receives.

3. Differentiations on Electrolysis Method

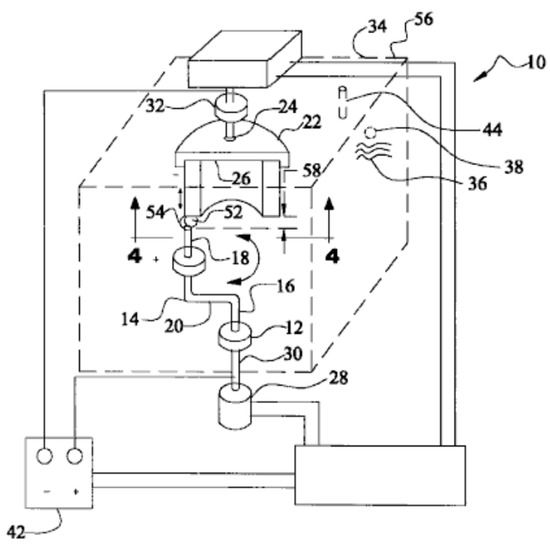
A simple electrolysis method is not considered an efficient one. Scientists have tried to use other methods to achieve better performance. Henry K. Puharich, in his “Method and Apparatus for Splitting Water Molecules” [5], presents an apparatus that uses pulsed current to split the water molecules. It consists of three components: an electrical function generator, a thermodynamic device, and a water cell (Figure 1a).
The first component, the electrical function generator based on his previous work [6,7,8], produces an output of a carrier wave with an amplitude up to 100 KHz, modulated by an audio frequency wave. The output impedance is continuously matched to the load of the generator, which is the second component, the thermodynamic device. The latter device and the water cell form a complex device wherein the electrolysis takes place. Puharich states that the process is more efficient than simple electrolysis of water, providing an economical production of hydrogen and oxygen gases from readily available sources of water.
Figure 1. Some ideas for breaking water molecules into their components. (a) Henry K. Puharich Apparatus for splitting water molecules [5]; (b) Stanley A. Meyer method for the production of a fuel gas [9].
Figure 1. Some ideas for breaking water molecules into their components. (a) Henry K. Puharich Apparatus for splitting water molecules [5]; (b) Stanley A. Meyer method for the production of a fuel gas [9].
Environsciproc 26 00059 g001
Stanley A. Meyer, in his “Method for the production of fuel gas [9]”, creates what is known as a fuel cell water capacitor (Figure 1b). This capacitor consists of two cylindrical plates having water between them as a dielectric liquid. The water capacitor is charged by a resonant charging choke circuit that includes its inductance in series with the cell capacitance, forming a resonant circuit.
The water capacitor is subjected to a pulsating unipolar electric voltage field, by which the water molecules between its plates are subjected to a charge of the same polarity. The water molecules, then, are distended by their subjection to electrical polar forces. The pulse frequency is at a value of the resonant frequency of the water-cell system. As long as the pulsating current is applied to the water cell capacitor, the energy level within the molecules increases in cascading incremental steps in proportion to the number of pulses. After several pulses are applied to the water cell capacitor, the covalent electrical bond between the hydrogen and oxygen atoms is destabilized, such that the force of the electrical field applied exceeds the bonding force of the molecule, the bond breaks, and the atoms are liberated as elemental gasses. A problem Stanley A. Meyer faced using this water capacitor fuel cell is keeping the cell continually at its resonant point. Later in the same year, he patented the control and driver circuits for a hydrogen gas fuel producing cell [10] to overcome this issue.
Through further research, Stanley A. Meyer managed to enhance his idea of a water fuel capacitor, and on top of his findings regarding electrolysis by resonating water molecules, he produced another patented system, the “Water Fuel Injection System” [11]. The goal is to produce fuel cells based on hydrogen from water molecules, at the time and place needed, without having to store produced hydrogen fuel in a tank. Another problem he addressed with his new system was the way to decrease the fuel’s burning velocity, to match that of fossil fuel.
Christopher R. Eccles, in 1998, described another way to produce hydrogen and oxygen gasses from water in his “Fracture Cell Apparatus” [12]. His apparatus is composed of a thin container, made of an insulating material such as a thermoplastic (which could be polymethyl methacrylate), that will hold the liquid to be fractured (i.e., water). At each of the two opposite sides, there are two electrode plates made of aluminum foil, separated by thin insulating material, e.g., poly-carbonate plastics. An electronic system that generates high-voltage (15 KV and more) pulses is used to feed the electrode plates in such a way that, when one plate at one side receives a positive high-voltage pulse, the plate at the opposite side receives a negative high-voltage pulse of the same duration at the same time. No voltage is applied to the other two plates. During the next cycle, the two plates that the high-voltage pulses were applied do not receive any voltage, while the other two are fed high-voltage pulses of the same parameters, in such a way that the produced electric field is reversed. Between the two cycles, there is a dead time in order to avoid any local corona arc, as the phases change over each cycle.
When a large electric field is applied across a pair of electrode plates in a cell containing water, disruption of the water molecules occurs, producing hydrogen nuclei and hydroxyl ions. The hydroxyl ions migrate to the positive side of the electric field and are stripped of electrons, forming a negative charge region close to the positive cell boundary. When the field is removed (dead time), the charge zones that have formed tend to move towards the center of the cell. The free electrons travel faster than ions, so when the applied field changes polarity, hydrogen nuclei migration is accelerated in the direction of the new negative pole of the field. When hydrogen nuclei meet the electron zone, monatomic hydrogen is formed with the liberation of some heat energy. Additionally, existing OH radicals are further stripped of hydrogen nuclei and contribute to the process and under the same mechanism, finally, hydrogen and oxygen gasses are liberated.
Stephen B. Chambers described “an apparatus for producing orthohydrogen and/or parahydrogen” [13]. In his apparatus, together with the electrodes, he used a coil also submerged in water. To the electrodes, a pulsed power signal is applied. Chambers used triangular, saw-tooth, and square-wave signals of 12 V, and the current consumption was around 300 mA (3.6 W of power). The best results were achieved using square wave pulses of 90.9% duty cycle at a frequency of 10 to 250 KHz. The rate of gas production was about 1 psi per minute. Depending on the pulsed power to the coil, he was able to produce orthohydrogen or parahydrogen.

4. Other Methods to Break the Water Molecule

Besides simple electrolysis or electrolysis using pulsed currents or fields, from time to time there are other ideas to split the water molecule into hydrogen and oxygen. One idea is to use underwater arcs, exactly like the ones produced underwater during ship repair. While performing underwater welding on ships, it was observed that the gas produced from the arc bubbling to the surface is combustible. Using this fact, H. Eldridge, D. J. Clark and S. Blum patented an apparatus for an “Electrical Retort” [14]. Their apparatus consisted of a water-tight chamber, with one carbon plate as the cathode electrode and another carbon rod as the anode. A mechanism that could move the anode was also provided, so as the carbon anode was consumed it could be moved toward the cathode or also be replaced when needed. The tip of the anode and the cathode plate were underwater. When a high-voltage source connected the two electrodes, an underwater arc was created. The water molecules decomposed into hydrogen and oxygen, due to the high temperature of the arc and the electrolytic action of the electric current that flows through water.
Later, in 1992, W. A. Dammann patented a method and means of generating gas from water for use as a fuel [15]. The whole apparatus is made of a gas reaction chamber, where CO and H2 gasses are generated from water, and a whole part containing an internal combustion engine, alternator, and battery backup to form a closed-loop system that sustains the process. The gas reaction chamber uses the same idea as the underwater arc. The arc is produced by two rod carbon electrodes, one mounted at a fixed position at the lower part of the gas reaction chamber, while the other is mounted on a servo shaft, on the same axis, on the opposite side of the fixed electrode. The servo can be used to close the gap between the two electrodes or even widen it to stop the operation of gas generation. The gas produced is fed to the internal combustion engine that powers the rest of the system with electric power. The controlling of the process is carried out by a microprocessor unit that takes measurements and acts in such a way as to achieve the best performance of the production.
Another approach to underwater arc usage for producing fuel gas comes from William H. Richardson Jr., in his “electrical power generation without harmful emissions” patent [16]. His idea of producing electricity is also based on underwater arc creation by means of a welding power supply and an apparatus that holds carbon electrodes that produce the arc. A welder is a high-current electrical source that feeds an open-top reactor. The reactor is filled up with water and contains an open-top magazine that contains the carbon electrodes used for the underwater arc production and a closed-top hood for the produced gasses collection. The collected gas passes through a filter to a storage tank. There are two internal combustion engines, one to support the whole system with electric power through alternator etc. and another that also feeds a three-phase generator that produces electric energy to be used for any electric load. Later, he used this idea to create a pollution-free vehicle [17], and in 1998, [18] he addressed the problem of quick consumption of the electrodes during the underwater arc operation. In all of his patents, the inventor states that the exhausted gas is non-polluting, but now our knowledge is that carbon dioxide contributes heavily to the greenhouse effect in the environment. His assumption is based on the low CO2 production volume.
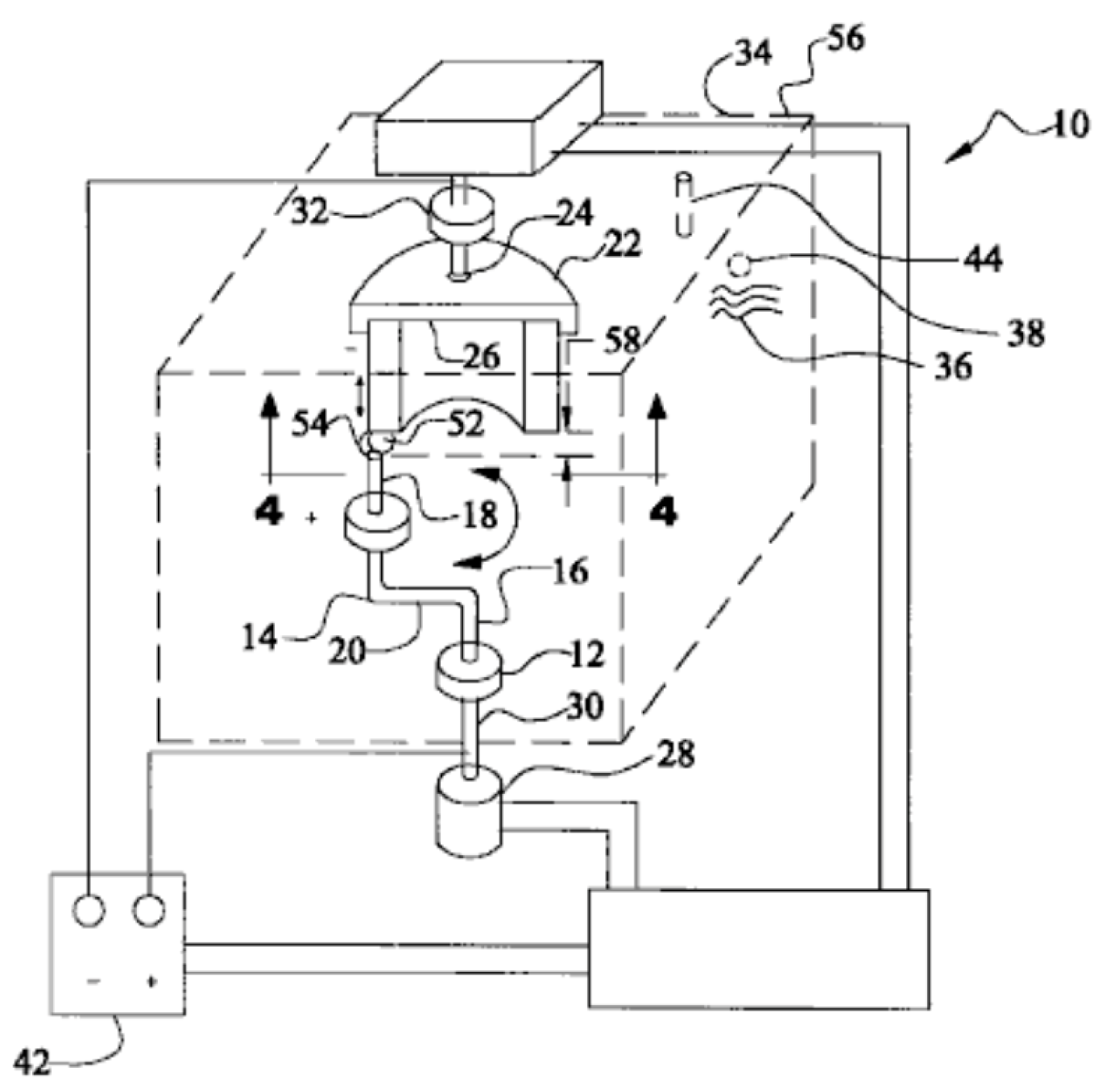
Ruggero Santilli patented a “durable and efficient equipment for the production of a combustible and non-pollutant gas from underwater arcs and method therefor” [19] (Figure 2). Santilli observed that all previous attempts to produce combustible gas via underwater arc could not be used in an industrial environment, due to the fact that the carbon electrodes are consumed rapidly. This leads to frequent maintenance of the systems for replacing the consumed electrodes with new ones. Another disadvantage Santilli faced is the simultaneous production of CO2, which is neither flammable nor combustible. Last but not least, the production of hydrogen and oxygen gasses is reduced due to the fact that the high temperature of the arc burns part of hydrogen and oxygen back into water.
Santilli’s apparatus used conductive anodes fabricated from tungsten, to make them resistant to the arc and plasma conditions formed during the process. The cathode is made of carbon in a hollow tubular shape. The anode is moved mechanically in such a way that its arc end follows the cylindrical path of the cathode. The anode and cathode are submerged in water. While the system is powered by a high-voltage signal, an arc is produced between the anode and the cathode. The high temperature of the arc splits the water molecules into their components, part of which are used to produce some carbon compounds. This also creates a plasma around the arc. While the arc is still in the same position, part of the hydrogen is burned again with oxygen, forming water, thus lowering the efficiency of the process. By moving the arc away from the produced plasma, the latter water-fallback is avoided, making the process more efficient. This is what Santilli achieved with the moving arc. Another advantage of the described apparatus is that the carbon is consumed more slowly than it was in the earlier devices designed by other scientists. Santilli states that when this apparatus is used, the system needs maintenance twice per working day, compared to a few minutes for the pre-existing apparatuses, such the ones described earlier. This makes his apparatus more attractive for industrial use.

5. Conclusions

It has been a long time since scientists bean to try to find ways to power human activities. As time passes, we observe that the impact of fossil fuel usage on the environment and the need to replace it with other power sources is strong, due to the greenhouse effect and the need for decarbonization.
Hydrogen has long been considered the best energy source, as it can be found in nature in many forms, as in water which is plenty on the planet, and its product when used as fuel is, again, pure water. This makes it an attractive alternative to fossil fuel, and scientists try to find ways to retrieve it from water molecules with as low an energy loss as possible.
While, perhaps, there is some time ahead until this happens, science and technology seem to be on the right path for making this true. By studying ways to split water molecules and use their components as fuel, we can figure out other, less power-consuming ways of achieving our goal and take advantage of its benefits.

Author Contributions

Conceptualization, N.L.; methodology, D.P.; validation, E.C.P.; investigation, I.C.; data curation, E.C.P.; writing-original draft preparation, I.C.; supervision, N.L. All authors have read and agreed to the published version of the manuscript.

Funding

The publication/registration fees were totally covered by the University of West Attica (P.N. 62573/30-06-2023).

Institutional Review Board Statement

Not applicable.

Informed Consent Statement

Not applicable.

Data Availability Statement

Not applicable.

Conflicts of Interest

The authors declare no conflict of interest.

References

  1. Paine, H.M. Process of Manufacturing Illuminating Gas. U.S. Letters Patent 308,276, 18 November 1884. [Google Scholar]
  2. Hasebe, S. Apparatus for Decomposition of Aqueous Liquid. U.S. Patent 4,105,528, 8 August 1978. [Google Scholar]
  3. Blue, A.H. Electrolytic Cell. U.S. Patent 4,124,463, 7 November 1978. [Google Scholar]
  4. Spiros, S.R. Improvements in Electrolysis Systems & the Availablity of Over-Unity Energy. Patent WO 9,528,510, 26 October 1995. [Google Scholar]
  5. Puharich, H.K. Method and Apparatus for Splitting Water Molecules. U.S. Patent 4,394,230, 19 July 1983. Available online: https://patents.google.com/patent/US4394230A/en (accessed on 22 October 2022).
  6. Puharich, H.K.; Lawrence, J.L. Method and Apparatus for Improving Neural Performance in Human Subjects by Electrotherapy. U.S. Patent 3,563,246, 16 February 1971. [Google Scholar]
  7. Puharich, H.K.; Lawrence, J.L. Hearing Systems. U.S. Patent 3,629,521, 21 December 1971. [Google Scholar]
  8. Puharich, H.K. Blood Storage Method. U.S. Patent 3,726,762, 10 April 1973. [Google Scholar]
  9. Meyer, S.A. Method for the Production of a Fuel Gas. U.S. Patent 4,936,961, 26 June 1990. Available online: https://patents.google.com/patent/US4936961A/en (accessed on 22 October 2022).
  10. Meyer, S.A. Control and Driver Circuits for a Hydrogen Gas Fuel Producing Cell. WO Patent 92/07861, 2 November 1990. [Google Scholar]
  11. Meyer, S.A. Water Fuel Injection System. Can. Patent 2,067,735, 16 May 1991. [Google Scholar]
  12. Eccles, C.R. Fracture Cell Apparatus. UK Patent App. 2,324,307, 21 October 1998. [Google Scholar]
  13. Chambers, S.B. An Apparatus for Producing Orthohydrogen and/or Parahydrogen. U.S. Patent 6,126,794, 16 July 2002. [Google Scholar]
  14. Eldridge, H.; Clark, D.J.; Blum, S. Electrical Retort. U.S. Patent 603,058, 26 April 1898. [Google Scholar]
  15. Dammann, W.A. Method and Means of Generating Gas from Water for Use as a Fuel. U.S. Patent 5,159,900, 3 November 1992. [Google Scholar]
  16. Richardson, W.H., Jr. Electrical Power Generation without Harmful Emissions. U.S. Patent 5,435,274, 25 July 1995. [Google Scholar]
  17. Richardson, W.H., Jr. Pollution-Free Vehicle Operation. U.S. Patent 5,692,459, 2 December 1997. [Google Scholar]
  18. Richardson, W.H., Jr. Electric Arc Material Processing System. U.S. Patent 5,792,325, 11 August 1998. [Google Scholar]
  19. Santilli, R.M. Durable and Efficient Equipment for the Production of a Combustible and Non-Pollutant Gas from Underwater Arcs and Method Therefor. U.S. Patent 6,183,604, 6 February 2001. Available online: https://patents.google.com/patent/US6183604B1/en (accessed on 3 December 2022).
Figure 2. Ruggero Santilli’s durable and efficient equipment for the production of a combustible and non-polluting gas from underwater arcs [19]. A full explanation of the placed numbers can be found at the published patent.
Figure 2. Ruggero Santilli’s durable and efficient equipment for the production of a combustible and non-polluting gas from underwater arcs [19]. A full explanation of the placed numbers can be found at the published patent.
Environsciproc 26 00059 g002
Disclaimer/Publisher’s Note: The statements, opinions and data contained in all publications are solely those of the individual author(s) and contributor(s) and not of MDPI and/or the editor(s). MDPI and/or the editor(s) disclaim responsibility for any injury to people or property resulting from any ideas, methods, instructions or products referred to in the content.

Share and Cite

MDPI and ACS Style

Chrysocheris, I.; Papakitsos, E.C.; Piromalis, D.; Laskaris, N. A Technology Review of Decarbonization: Efficient Techniques for Producing Hydrogen as Fuel. Environ. Sci. Proc. 2023, 26, 59. https://doi.org/10.3390/environsciproc2023026059

AMA Style

Chrysocheris I, Papakitsos EC, Piromalis D, Laskaris N. A Technology Review of Decarbonization: Efficient Techniques for Producing Hydrogen as Fuel. Environmental Sciences Proceedings. 2023; 26(1):59. https://doi.org/10.3390/environsciproc2023026059

Chicago/Turabian Style

Chrysocheris, Ilias, Evangelos C. Papakitsos, Dimitrios Piromalis, and Nikolaos Laskaris. 2023. "A Technology Review of Decarbonization: Efficient Techniques for Producing Hydrogen as Fuel" Environmental Sciences Proceedings 26, no. 1: 59. https://doi.org/10.3390/environsciproc2023026059

APA Style

Chrysocheris, I., Papakitsos, E. C., Piromalis, D., & Laskaris, N. (2023). A Technology Review of Decarbonization: Efficient Techniques for Producing Hydrogen as Fuel. Environmental Sciences Proceedings, 26(1), 59. https://doi.org/10.3390/environsciproc2023026059

Article Metrics

Back to TopTop