Abstract
This article discusses the flexural strength of fiber reinforced concrete beams made by adding an optimal percentage of basalt fibers to the concrete mix. Two types of standard C30/37: XC1 concrete were used in this study, one with the aggregate size limit 19 mm and the other with the aggregate size of max. 4 mm. The basalt fibers used are two different types: Reforcetech minibar is a stiff basalt fiber, and its diameter is 0.72 mm and length 50 mm; Basaltex BCS17-25.4-KV1 is 30 mm in length with a flat cross-section of 0.017 × 4 mm. The test method measures the flexural efficiency of the strength parameters extracted from fiber reinforced concrete. The conclusion of this study is that the scale, quantity and type of basalt fibers have an impact on how the concrete acts under load. All types of fiber show promising results.
1. Introduction
The objective of this study was to investigate the effect of two types of basalt fibers in two different types of concrete mixes. The types of concrete that were used were of standard C30/37: XC1, containing aggregate size limits of maximum 19 and 4 mm. The basalt fibers used are Reforcetech minibar, which is a stiff basalt fiber of diameter 0.72 mm and length 50 mm, and Basaltex BCS17-25.4-KV1, which is 30 mm in length with a flat cross-section of 0.017 × 4 mm. The cement met the specifications of NS-EN 197-1:2011 for Portland cement CEM I 52.5 N.
1.1. Fibers in Concrete
While ordinary concrete is the world’s most frequently used building material, its damaging structural qualities, such as brittle strain failure, must be improved. It has been established that adding fibers to the concrete mix improves the aforementioned properties by increasing the material’s strength and decreasing brittleness.
The notion of reinforcing fibers is not a recent concept. Fibers have been used since ancient times as reinforcement; for example, horsehair has been used traditionally in mortar, and straw in mudbricks.
Asbestos fibers were used in buildings in the 1900s. Some of the topics of concern were the development of composite materials starting in the 1950s and fiber-reinforced concrete. When the health hazards related to asbestos were discovered, concrete and other products were required to remove the substance. In the 1960s, steel, glass (GFRC) and synthetic fibers (e.g., polypropylene) were used in concrete. Research on new concrete structures, made of fiber-reinforced concrete, continues today [1,2,3].
1.2. Basalt Fibers
Paul Dhé made the first attempts at basalt fiber production in the United States in 1923 and was later granted the US patent of 1.462.446. Scientists in the United States, Europe and the Soviet Union continued to develop these attempts in aerospace and military applications during the Second World War. Basalt fibers have been used since their declassification in 1995 in a broader range of civil applications.
Basalt fiber (BF) manufacturing technology is a single-stage process: melting, homogenization of basalt and extraction of fibers. Basalt is heated just once. BF is further refined into “cold processing” materials, with low energy costs [4].
BFs consist of one component, crushed basalt, from a carefully chosen source of a quarry. Basalt of high acidity (over 46% silica) and low iron element is considered suitable for fiber production. Basalt is an inert and naturally occurring material found around the world. Basalt products are environmentally friendly and not dangerous. Unlike other composites, such as glass fiber, no materials are substantially applied during manufacturing; the basalt is simply washed and then melted. The production of basalt fibers includes melting of the crushed and washed basalt rock at about 1.500 °C. The molten rock is extruded by small nozzles when the desired temperature is reached to create continuous basalt fiber filaments [5,6].
High strength and high modulus with excellent shock resistance are the main features of basalt fibers; they are a low-cost alternative to carbon fibers and can replace them in some applications. Basalt fiber reinforced concrete (BFRC) research has largely focused on fundamental mechanical properties: compressive, split tensile and flexural strength. In the case of BF, the research shows, in general, that the addition of fibers is beneficial up to approximately 0.3–0.5 percent by volume and detrimental thereafter [6]. A new basalt concrete reinforcement product, called minibars (MB), has recently been developed. The minibars are basically a scaled-down version of basalt fiber reinforced polymer rebar. In contrast to steel (SF) and fiberglass fibers, basalt is not affected by corrosion or acids. Basalt fibers even possess high corrosion and chemical durability to corrosive media such as salts, acid and alkali solutions. Basalt fibers have better mechanical properties than glass fibers in most cases, but in a few cases are somewhat worse than silica fibers. Due to high costs compared to other fibers, silica fibers are rarely used for concrete reinforcement. Basalt fibers are characterized by a high tensile strength from approximately 1700 MPa to 4800 MPa. The tensile strength of the basalt fibers (4800 MPa) is higher than that of the steel fibers [7].
2. Materials and Methods
2.1. The Study
The layout of the experiment consisted of the use of two types of basalt fibers manufactured by two different manufacturers, with the dose values for basalt fibers of 12 kg per cubic meter of concrete. The research method was based on “EN 14488-3 Testing sprayed concrete—Part 3: Flexural strengths (first peak, ultimate and residual) of fibre reinforced beam specimens”.
The BFs used in this study were of two different kinds, one of stiff minibars and one of a soft fiber type. Table 1 shows the characteristics of each type.
Table 1.
Technical characteristics of the basalt used in the study.
The Reforcetech bar is a stiff basalt fiber used in this study. Its diameter is 0.72 mm and length 50 mm, and the length factor 70. Basalt strands have been twisted together and mixed with Vinylester resin and, as a result, it has a coarse surface causing better bonding with concrete to prevent extraction. See Figure 1.
Figure 1.
The Reforcetech bars.
Basaltex is the other type of basalt fiber used in the study. It is soft, composed of microfine strands of bundles that are slightly stiff but soften when treated and broken apart. It is about 30 mm in length with a flat cross-section already joined together in a bundle. See Figure 2.
Figure 2.
The Basaltex fibers.
Reference is made to ÍST EN 14488-3:2006 and the ACI study (American Concrete Institute), ACI 544.4R-18, which defines the ASTM C1609 M, for the results of the tensile ductility test. The key data and processes for the project were extracted from a four-point bend resistance test. The explanation for why a four-point test was used instead of a three-point test is that it gives a more accurate result when considering the effect of the fiber on the distribution of the load. The bending tensile strength shows a bending strain. In particular, the maximum post-peak load behavior shall be investigated.
2.2. The Test
The samples of max. grain 4mm concrete were 14 days old when tested, but the max. grain 19 mm concrete was 28 days old when the test took place. Even though compression strength tests indicated a full strength of the 14-day samples, the difference in age of the samples should be taken into account in direct comparison. The numbers of the samples are shown in Table 2.
Table 2.
Samples.
2.3. Equipment and Tools
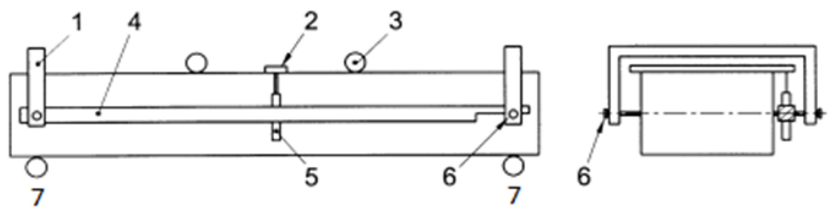
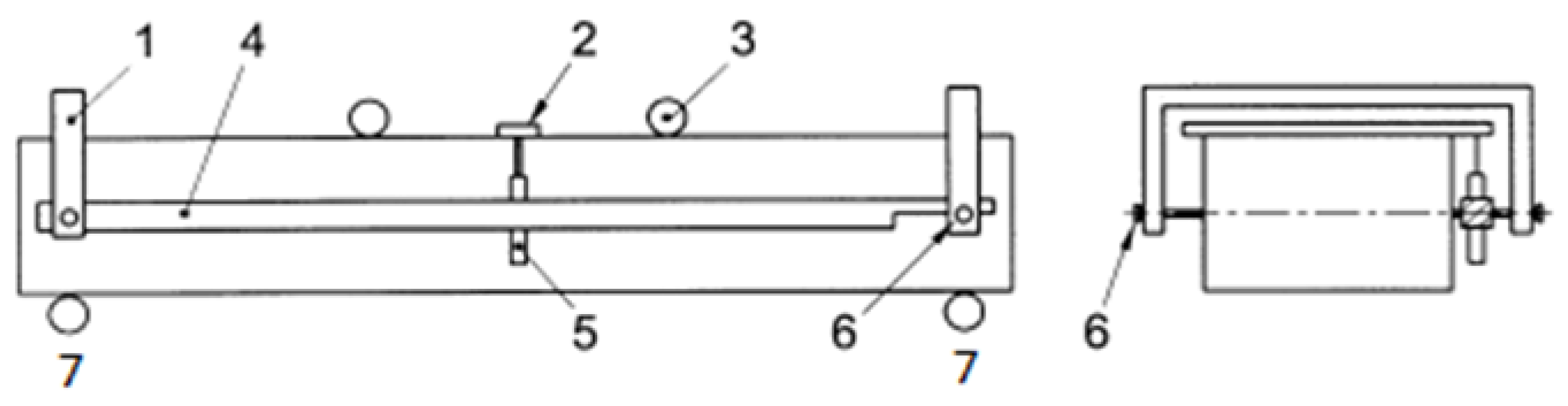
The Tinius Olsen press that was used is computer-controlled with software from Horizon. The measurement frame includes two movement sensors on each side of the beam fastened on the frame, in accordance with ÍST EN 14488-3: 2006. See Figure 3 and Figure 4.
Figure 3.
The measuring frame. 1. The steel frame; 2.. Movement sensors on each side. Independent of the load; 3. Load points; 4. The steel frame; 5. Movement sensors for the beam; 6. Free swing bolts; 7. Supports.
Figure 4.
The set-up according to the IST EN 14488-3: 2006.
2.4. Installation and Implementation
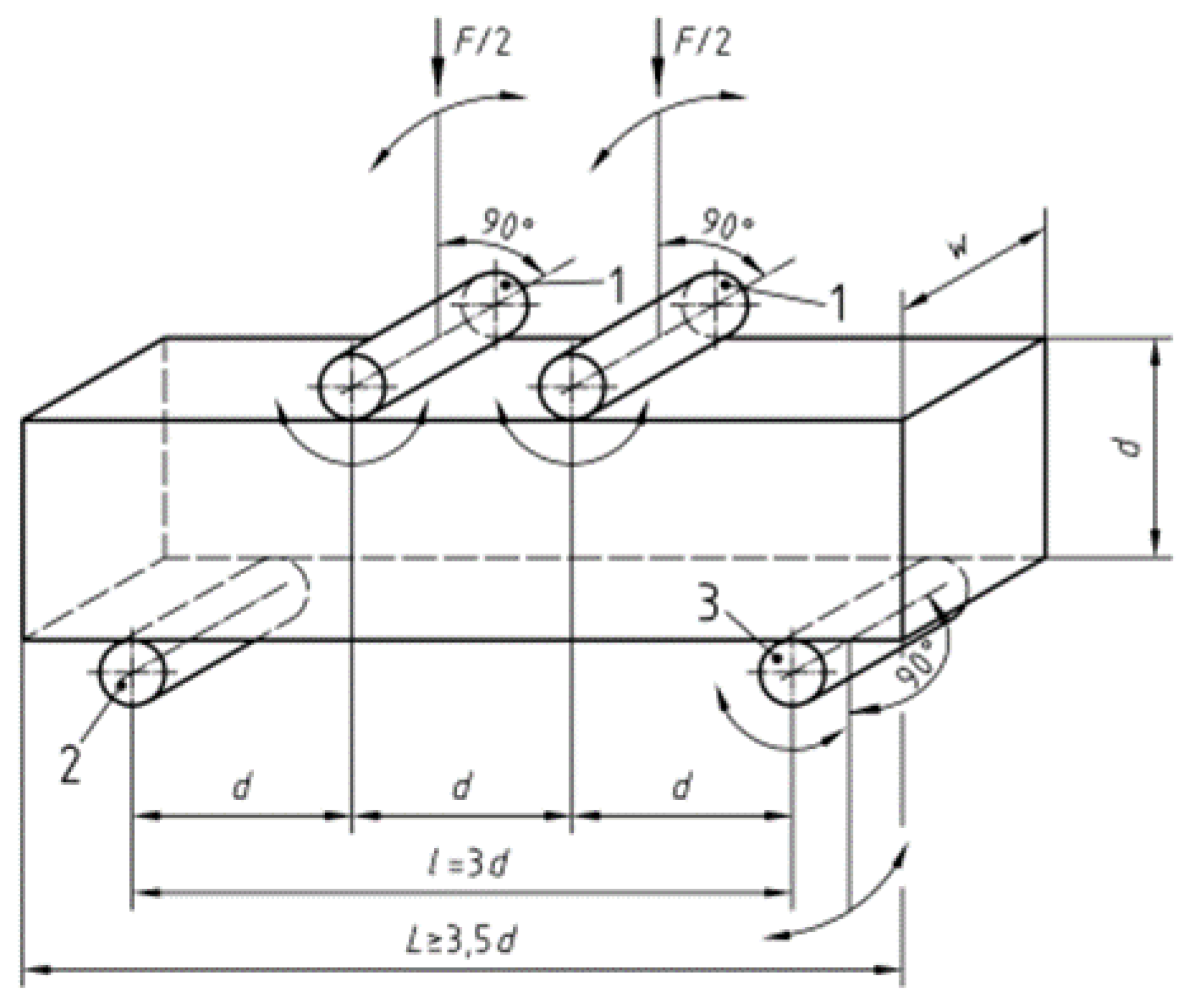
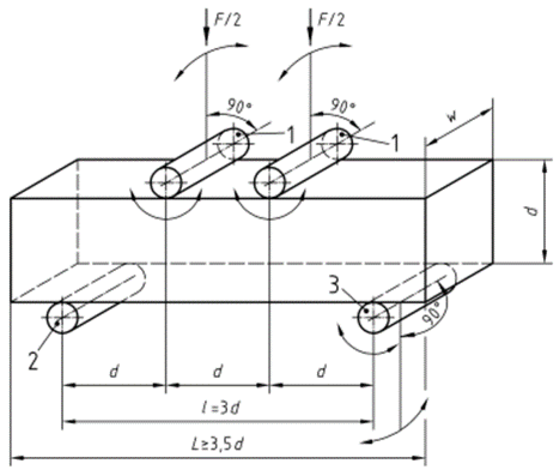
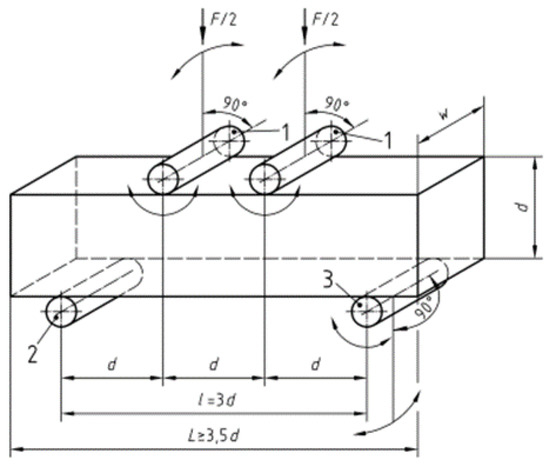
Installation and implementation were in accordance with the standard IST EN 14488-3: 2006 and Guidance from ACI no. 544.4R-18. Beams were all constructed in the same form, 150 × 150 × 600 mm. Deviations were ±5 mm in length. Hardly any deviation was found in the height or width. In Figure 5 is a profile as shown in the IST EN 14488-3: 2006, d = 150 mm, w = 150 mm, L = 600 mm.
Figure 5.
The actual setup.
2.5. The Procedure
The procedure of the experiment was as follows:
- Beams measured and marked for easier installation in the press;
- Beams placed in the press together with the measuring frame and sensors;
- Transmission sensors and loads zeroed in the application;
- Execution. The computer program created a log file that automatically ran until entry, and the load source was 5 mm. Variable speed is included in the entry standard 14488-3: 2006. Firstly 5 mm/min up to 250 N then 0.25 mm/min until the post came in 1mm. Thereafter, 1 mm/min to end when the load source shift reached 5mm;
- When the execution was completed, the location of the first crack in the beams was measured and logged;
- Removal of the beam, the crack located and the beam opened up to view the fiber distribution.
The cracking occurred in all cases from the bottom of the beam and upward, between the load points (rolls). From that, it is easy to recognize that this was a moment of failure in all cases. From that, the conclusion can be made that all tests are valid.
The Basalttex fibers were difficult to see in the fractured concrete but the Reforcetech fibers were more noticeable. Shown in Figure 6.
Figure 6.
Reforcetech fibers are visible in the fracture but Basalttex fibers are less visible.
3. Results
After each execution, a cvs log file was created. It showed the load, the movement of the beam from the beginning of the test, movement speed, time and the two movement sensors. From each datafile, a graph was extracted for a visual comparison. The calculations were as follows Formula (1): The total average displacement was calculated using the two displacement sensors on the press, where d1 is the reading on displacement sensor 1 and d2 is the reading on displacement sensor 2. The d10 and d20 are the set displacements at the beginning of the test.
Each flexural strength was calculated as an equivalent elastic tensile strength: flexural strength in MPa = P × l/(w × d2) where:
- P is the load (Pfp or Pult) defined in newtons, see Figure 7;
Figure 7. Methodology of defining the load Pfp from IST EN 14488-3: 2006. - l is the span (600 mm);
- w is the average beam width at the fracture plane (nominally 150 mm);
- d is the average beam depth at the fracture plane (nominally 150 mm).
As previously stated, the log file automatically ran until the entry of the load source was 5 mm. The entry standard 14488-3: 2006 includes variable speed. Firstly 5 mm/min up to 250 N, then 0.25 mm/min until the post was 1mm long. After that, 1 mm/min until the load sourceshift reached 5mm.
4. Conclusions
The BCS 17-25.4-KV1 generally has an interesting result. The negative part would be that it is porous and appears to soak up most of the water in the solution, so that the mix’s workability is steadily decreasing. Additionally, in the bending tensile test, the impact of fiber varied significantly with the size of the aggregates in the concrete mix. The question raised here is whether the BCS distribution in the mixing process depends on when it is added to the mix, and furthermore, before applying to the blend, whether it would saturate the fibers in water, assist the process of even delivery and have less effect on the mix’s water content. In all cases, the post-failure behavior is apparent. However, on the positive side of the BCS, it is important to see how the elongation persists in the 19 mm grain concrete with considerable force, whereas the 4 mm grain concrete is more brittle, fractures, and disintegrates directly after break. The peak load value of BCS in the 19 mm grain size combination is considerably higher than in any other sample type in this study.
The behavior of the RFT Reforcetech minibars after the first peak (failure point) is different from the BCS. The BCSs have a somewhat more definitive curve than the RFT fibers, and a quicker post failure force drop down. The RFT result shows that concrete containing RFT fibers has more strength than other fiber-mixed concrete, as shown in Figure 8 and Figure 9. In RFT, the distribution is better than in BCS and the RFTs show similar results regardless of the mix’s grain size. It can be concluded that RFT significantly increases the workability of concrete mixes.
Figure 8.
Reforcetech fibers load curves.
Figure 9.
Basalttex fibers load curves.
The conclusion of this study is that the scale, quantity and type of basalt fibers have an impact on the outcome of how the concrete acts under load. The study also demonstrates how varying aggregate sizes affect how the beams behave under load. The study also demonstrates how varying aggregate sizes affect how the beams behave under load. All types of fiber show promising results, and a further analysis on variable quantities and fiber sizes would be worthwhile.
Author Contributions
Conceptualization and methodology, all authors; software, B.L.O.; validation, B.L.O. and G.J.E.; formal analysis, B.L.O.; investigation, B.L.O. and G.J.E.; resources, B.L.O. and G.J.E.; data curation, B.L.O.; writing—original draft preparation, B.L.O. and G.J.E.; writing—review and editing, all authors.; visualization, B.L.O.; supervision, G.J.E. and E.R.T. All authors have read and agreed to the published version of the manuscript.
Funding
This research received no external funding.
Informed Consent Statement
Not applicable.
Data Availability Statement
All data are stored by authors.
Acknowledgments
The publication cost of this paper was covered with funds from the Polish National Agency for Academic Exchange (NAWA): “MATBUD’2023—Developing international scientific cooperation in the field of building materials engineering” BPI/WTP/2021/1/00002, MATBUD’2023.
Conflicts of Interest
The authors declare no conflict of interest.
References
- Johannesson, B.; Sigfusson, T.I.; Franzson, H.; Erlendsson, Ö.; Harðarson, B.S.; Thorhallsson, E.R.; Vehmas, T. GREENBAS: Sustainable Fibres from Basalt Mining; Nordisk Ministerråd: København K, Denmark, 2017; ISBN 978-92-893-4809-6. [Google Scholar] [CrossRef]
- Thorhallsson, E.; Zhelyazov, T.; Gunnarsson, A.; Snaebjornsson, J.T. Concrete beams reinforced with prestressed basalt bars. In Proceedings of the Fib Symposium, Copenhagen, Denmark, 18–20 May 2015; Concrete-Innovation and Design: Copenhagen, Denmark, 2015; pp. 277–278. [Google Scholar]
- Thorhallsson, E.R.; Gudmundsson, S.H. Test of prestressed basalt FRP concrete beams with and without external stirrups. In Proceedings of the Fib Symposium Engineering a Concrete Future: Technology, Modelling & Construction, Tel Aviv, Israel, 22–24 April 2013; Dancygier, A.V., Ed.; lsraeli Association of Construction and lnfrastructure Engineers (IACIE) and Faculty of Civil and Environmental Engineering, Technion-lsrael lnstitute of Technology: Tel Aviv, Israel, 2013; pp. 393–396. [Google Scholar]
- Thorhallsson, E.R.; Snaebjornsson, J.T. Basalt Fibers as New Material for Reinforcement and Confinement of Concrete. Solid State Phenom. 2016, 249, 79–84. [Google Scholar] [CrossRef]
- Thohallsson, E.R.; Konradsson, A. Renovation of Concrete Columns by Wrapping Basalt Fiber Sheets. IABSE Symp. Rep. 2013, 99, 903–910. [Google Scholar] [CrossRef]
- Nováková, I.; Thorhallsson, E.R.; Wallevik, O.l. Influence of environmentally friendly basalt fibers on early-age strength of sprayed concrete. In Proceedings of the Fib Symposium 2019: Concrete Innovations in Materials, Design and Structures, Krakow, Poland, 27–29 May 2019. ISSN 2617-4820. [Google Scholar]
- Thorhallsson, E.R.; Erlendsson, J.Ó. Continuous Basalt Fiber as Reinforcement Material in Polyester Resin. In Proceedings of the 2nd International Conference on Mechanics of Composites, Porto, Portugal, 11–14 July 2016. [Google Scholar]
Disclaimer/Publisher’s Note: The statements, opinions and data contained in all publications are solely those of the individual author(s) and contributor(s) and not of MDPI and/or the editor(s). MDPI and/or the editor(s) disclaim responsibility for any injury to people or property resulting from any ideas, methods, instructions or products referred to in the content. |
© 2023 by the authors. Licensee MDPI, Basel, Switzerland. This article is an open access article distributed under the terms and conditions of the Creative Commons Attribution (CC BY) license (https://creativecommons.org/licenses/by/4.0/).








