Indicator Carbon-Paste Electrode for Voltammetric Analysis †
Abstract
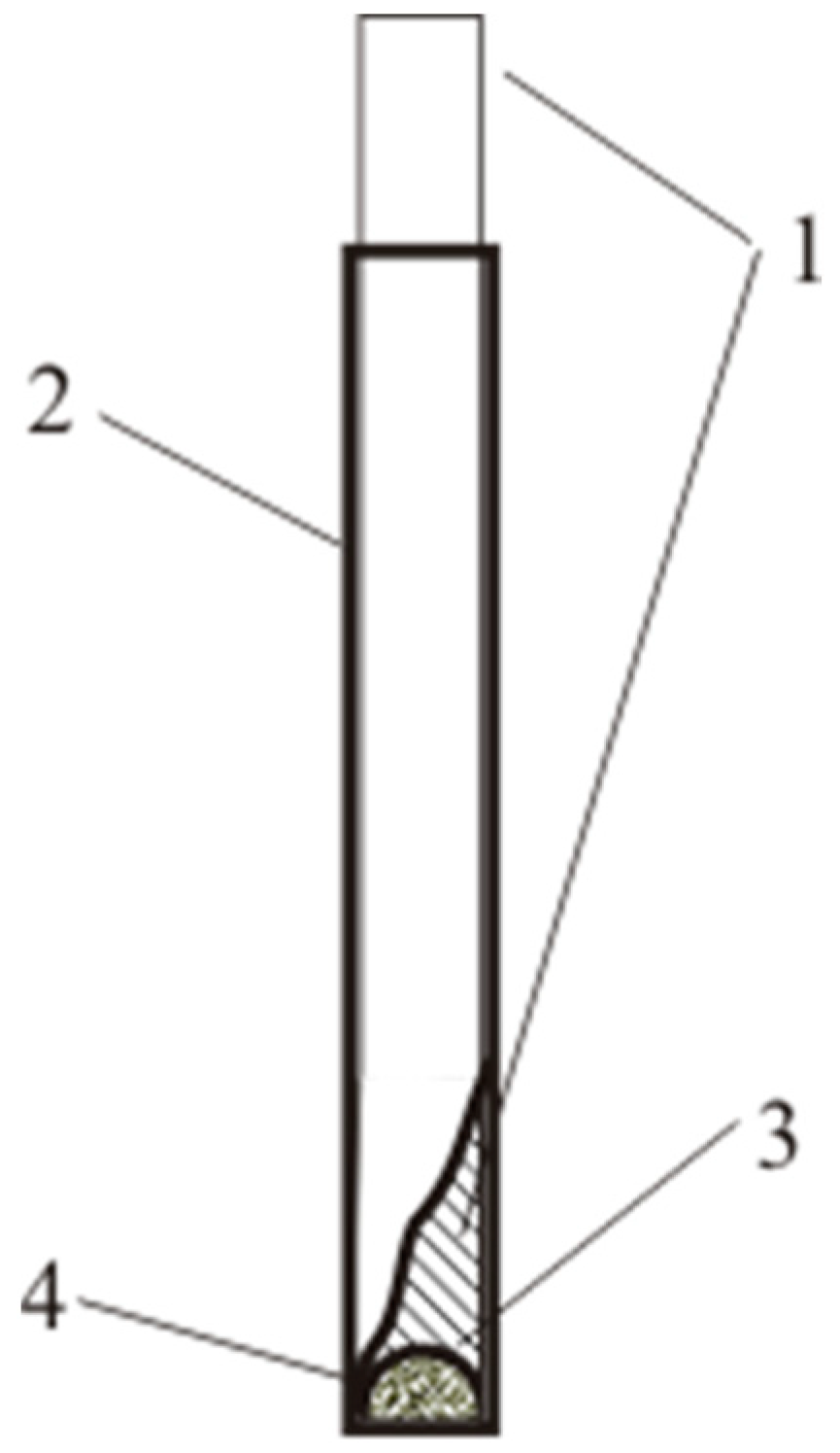
:1. Introduction
2. Experimental Section
3. Results and Discussion
4. Conclusions
Author Contributions
Funding
Institutional Review Board Statement
Informed Consent Statement
Data Availability Statement
Conflicts of Interest
References
- Budnikov, G.K.; Evtyugin, G.A.; Maystrenko, V.N. Modified Electrodes for Voltammetry in Chemistry, Biology and Medicine; Binom. Laboratoriya znaniy: Moscow, Russia, 2012; 416p. (In Russian) [Google Scholar]
- Scholz, F. (Ed.) Electroanalytical Methods. Theory and Practice; Binom. Laboratoriya znaniy: Moscow, Russia, 2006; 326p. (In Russian) [Google Scholar]
- Isakova, D.T.; Aronbaev, S.D.; Aronbaev, D.M. Modified carbon-containing electrodes in electroanalysis: Past, present and future. Austr. J. Tech. Nat. Sci. 2022, 36–41. [Google Scholar] [CrossRef]
- Švancara, I.; Vytřas, K.; Barek, J.; Zima, J. Carbon Paste Electrodes in Modern Electroanalysis. Anal. Chem. 2001, 31, 311–345. [Google Scholar] [CrossRef]
- Budnikov, G.K.; Maystrenko, V.N.; Murinov, Y.I. Voltammetry with Modified Ultramicroelectrodes; Nauka: Moscow, Russia, 1994; 239p. (In Russian) [Google Scholar]
- Nechepasova, D.I. Classification of fat oils. Int. J. Exp. Educ. 2014, 1–2, 82–183. (In Russian) [Google Scholar]
- Budnikov, G.K. Fundamentals of Modern Electrochemical Analysis; Mir. Binom. Laboratoriya znanii: Moscow, Russia, 2003; 592p. (In Russian) [Google Scholar]
- Yang, Z.; Zhang, X.; Guo, J. Functionalized Carbon-Based Electrochemical Sensors for Food and Alcoholic Beverage Safety. Appl. Sci. 2022, 12, 9082. [Google Scholar] [CrossRef]
- Aronbaev, D.M.; Aronbaev, S.D.; Normative, G.Z.; Isakova, D.T. Indicator carbon-paste electrode for voltammetric analysis. Ind. Lab. Diagn. Mater. 2020, 2, 5–14. [Google Scholar] [CrossRef]
- Aronbaev, D.M.; Aronbaev, S.D.; Narmayeva, G.Z.; Nasimov, A.M.; Vasina, S.M.; Isakova, D.T.; Zhuraeva, S.B. Electrode for Voltammetric Analysis. Patent of Uzbekistan No. FAP 01505, G01N 27/48. Publ.06.30.2022. Foydali Model. Rasm. Ahb. 2020, 6, 86. (In Russian) [Google Scholar]
- Troshenkov, A.M.; Kamenev, A.I. Coal-Paste Electrode for Voltammetric Analysis. Patent USSR No. 1315884. G01N 27/48, 6 July 1987. (In Russian). [Google Scholar]
- Dedkova, D.A.; Lukashov, S.V. Investigation of parameters of voltammetric determination of heavy metals in aqueous solutions. Int. J. Appl. Fundam. Res. 2021, 82–87. Available online: https://applied-research.ru/ru/article/view?id=13335 (accessed on 8 November 2023). (In Russian).
- Yang, F.; Liu, P.; Hao, T.; Guo, Z. Fast-scan anode Inversion Voltammetry for Pb(II) detection at the Picomolar Level. Electrochemistry 2019, 55, 358–365. [Google Scholar]
- Aronbaev, S.D.; Narmaeva, G.Z.; Aronbaev, D.M. Study of the behavior of a carbon-graphite electrode modified with a bismuth film in the voltammetric determination of vitamin B2. Univers. Him. Biol. Elektron. Nauchn. Zhurn. 2019. Available online: http://7universum.com/ru/nature/archive/item/6974 (accessed on 8 November 2023). (In Russian).
- Mehmeti, E.; Stanković, D.; Chaiyo, S.; Švorc, L.; Kalcher, K. Manganese dioxide-modified carbon paste electrode for voltammetric determination of riboflavin. Microchim. Acta 2016, 183, 1619–1624. [Google Scholar] [CrossRef] [PubMed]
- Aronbaev, D.M.; Aronbaev, S.D.; Narmaeva, G.Z.; Isakova, D.T. Synthesis and study of the nanocomposite MnO2/C. Austr. J. Tech. Nat. Sci. 2020, 40–46. [Google Scholar] [CrossRef]
- Aronbaev, D.; Aronbaev, S.; Narmaeva, G.; Vasina, S.; Isakova, D.; Shertaeva, A. Electrode on the Basis of Spectral Coal Modified by Nanoparticles of Manganese Dioxide and Its Application for Determination of Hydrogen Peroxide international. J. Innov. Res. Sci. Eng. Technol. IJIRSET 2020, 9, 9802–9811. [Google Scholar]






| Analyzed Object | Found Me, mg/kg | ||||||||
|---|---|---|---|---|---|---|---|---|---|
| Permissible Concentration, mg/kg | Cd | s* | Permissible Concentration, mg/kg | Pb | s* | Permissible Concentration, mg/kg | Cu | s* | |
| Drinking water | 0.001 | - | - | 0.03 | - | - | 1 | 0.08 | 0,01 |
| “Pulsar” beer 12% | 0.003 | 0.002 | 0.001 | 0.03 | 0.006 | 0.001 | 1 | 0.41 | 0.007 |
| Apple juice | 0.003 | 0.027 | 0.008 | 0.25 | 0.17 | 0.003 | 5 | 0.97 | 0.007 |
| Canned “Sardines in oil” | 0.20 | 0.11 | 0.012 | 1.5 | 0.15 | 0.008 | 10 | 6.94 | 0.032 |
| Vegetable oil | 0.04 | - | - | 0.08 | 0.07 | 0.01 | 0.5 | 0.41 | 0.03 |
| Beans | 0.02 | 0.11 | 0.008 | 0.5 | 0.73 | 0.04 | 5 | 2.12 | 0.04 |
| Rye bread | 0.02 | - | - | 0.03 | - | - | 5 | 0.49 | 0.03 |
| Bread from flour (top grade) | 0.02 | - | - | 0.03 | <0.02 | - | 5 | 2.18 | 0.04 |
| Water of the Zeravshan river | 0.02 | 0.002 | 0.001 | 0.06 | 0.035 | 0.009 | 0.1 | 0.06 | 0.008 |
| Soil of municipality Urgut | 0.20 | traces | - | 0.5 | 0.21 | 0.03 | 0.5 | 0.18 | 0.014 |
| Soil of village “Geophysics” | 0.20 | - | - | 0.5 | 0.32 | 0.03 | 0.5 | 0.11 | 0.010 |
| Soil of village “Geology” | 0,20 | - | - | 0.5 | 0.49 | 0.04 | 0.5 | 0.14 | 0.011 |
| Soil of village “Airport” | 0.20 | 0.16 | 0.021 | 0.5 | 0.62 | 0.05 | 0.5 | 0.18 | 0.009 |
| Metal–Ion | Entered, µg/dm3 | Found, µg/dm3 |
|---|---|---|
| Cd | 25.0 | 21.3 ± 1.6 |
| 50.0 | 44.1 ± 1.4 | |
| 100.0 | 105.4 ± 5.2 | |
| Pb | 20.0 | 18.2 ± 1.8 |
| 40.0 | 36.1 ± 1.6 | |
| 80.0 | 86.8 ± 5.4 |
| Probe | Indicated, mg | Voltammetric with Bi-Modified Electrode | Fluorometric | |||||||||
|---|---|---|---|---|---|---|---|---|---|---|---|---|
| , mg | s | sr % | t (3.4) | R% | s | sr % | t (3.4) | R% | F (19) | |||
| A | 1 | 1.01 ± 0.08 | 0.247 | 6.0 | 0.85 | 101 | 0.98 ± 0.02 | 0.145 | 2.1 | 1.12 | 98 | 2.93 |
| B | 10 | 9.97 ± 0.18 | 0.384 | 1.48 | 0.89 | 99.7 | 9.94 ± 0.15 | 0.348 | 1.22 | 0.85 | 99.4 | 1.21 |
| C | 100 | 99.40 ± 0.86 | 0.833 | 0.7 | 1.45 | 99.4 | 99.96 ± 1.42 | 1.07 | 1.14 | 0.06 | 100 | 1.64 |
Disclaimer/Publisher’s Note: The statements, opinions and data contained in all publications are solely those of the individual author(s) and contributor(s) and not of MDPI and/or the editor(s). MDPI and/or the editor(s) disclaim responsibility for any injury to people or property resulting from any ideas, methods, instructions or products referred to in the content. |
© 2023 by the authors. Licensee MDPI, Basel, Switzerland. This article is an open access article distributed under the terms and conditions of the Creative Commons Attribution (CC BY) license (https://creativecommons.org/licenses/by/4.0/).
Share and Cite
Aronbaev, D.; Aronbaev, S.; Isakova, D. Indicator Carbon-Paste Electrode for Voltammetric Analysis. Eng. Proc. 2023, 48, 63. https://doi.org/10.3390/CSAC2023-15939
Aronbaev D, Aronbaev S, Isakova D. Indicator Carbon-Paste Electrode for Voltammetric Analysis. Engineering Proceedings. 2023; 48(1):63. https://doi.org/10.3390/CSAC2023-15939
Chicago/Turabian StyleAronbaev, Dmitry, Sergey Aronbaev, and Dilnoza Isakova. 2023. "Indicator Carbon-Paste Electrode for Voltammetric Analysis" Engineering Proceedings 48, no. 1: 63. https://doi.org/10.3390/CSAC2023-15939
APA StyleAronbaev, D., Aronbaev, S., & Isakova, D. (2023). Indicator Carbon-Paste Electrode for Voltammetric Analysis. Engineering Proceedings, 48(1), 63. https://doi.org/10.3390/CSAC2023-15939
