ID2S4FH: A Novel Framework of Intelligent Decision Support System for Fire Hazards
Abstract
1. Introduction
2. Materials and Methods
2.1. The Design Concept and Principles
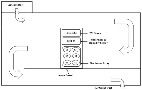
2.2. The Prototype
2.3. The Experiment
- For the first 30 min (t = 0–30 min.), the gas chamber is closed, all the sensors are activated under the prescribed rated operational conditions, and the baseline responses of the sensors are recorded under the steady-state conditions. It is observed that the sensor responses become static during the period.
- For the next 15 min (t = 31–45 min.), one of the 16 materials (as listed in Table 5) is burned, its smoke is fed into the gas chamber, and sensor array responses are captured continuously, which start at t = 0 min.
- For the next 30 min (t = 45–75 min.), the gas chamber is purged with fresh ambient air, and during this period, the sensors go into recovery mode and the starting baseline responses are achieved again.
- The above steps 1, 2, and 3 are repeated again until sensor responses for the fire smokes of all the considered categories have been covered.
2.4. The Dataset
2.5. Contextual Background of Data Pre-Processing and Classifiers
3. Results and Discussion
3.1. VOCs/Gases/Odours Sensor Response Patterns
3.2. Efficacy of Analysis Space Transformation Approach
3.3. Performance of ID2S4FH Classifier for Classifying the Fire Classes
4. Conclusions and Future Work
Author Contributions
Funding
Institutional Review Board Statement
Data Availability Statement
Acknowledgments
Conflicts of Interest
Abbreviations
| ANN | Artificial Neural Network |
| ICA | Independent component analysis |
| KPCA | Kernel principal component analysis |
| MLP | Multilayer perceptron |
| MSE | Mean squared error |
| NFPA | National Fire Protection Association |
| PCA | Principal component analysis |
| QPCA | Quadratic principal component analysis |
| RMSE | Root mean squared error |
| SVM | Support Vector Machine |
References
- Deem, F.S. Firefighter Fatality Investigation; Annual Report FY 2016; Texas Department of Insurance: Austin, TX, USA, 2016. [Google Scholar]
- Hurley, M.J.; Gottuk, D.T.; Hall, J.R., Jr.; Harada, K.; Kuligowski, E.D.; Puchovsky, M.; Torero, L.; Watts, J., Jr.; WIECZOREK, C.J. SFPE Handbook of Fire Protection Engineering, 5th ed.; Springer: New York, NY, USA, 2016; pp. 724–744. [Google Scholar]
- National Research Council. Fire and Smoke: Understanding the Hazards; National Academies Press: Washington, DC, USA, 1986; ISBN 0309568609. [Google Scholar] [CrossRef]
- Aronstein, J.; Carrier, D.W. Molded Case Circuit Breakers—Some Holes in the Electrical Safety Net. IEEE Access 2018, 6, 10062–10068. [Google Scholar] [CrossRef]
- Evarts, B.; Campbell, R. Firefighter Injuries in the United States in 2019. Available online: https://www.nfpa.org/News-and-Research/Publications-and-media/NFPA-Journal/2020/November-December-2020/Features/FFI-Report (accessed on 11 April 2023).
- Gliszczyńska-Świgło, A.; Chmielewski, J. Electronic nose as a tool for monitoring the authenticity of food: A review. Food Anal. Methods 2017, 10, 1800–1816. [Google Scholar] [CrossRef]
- Nikolic, M.V.; Milovanovic, V.; Vasiljevic, Z.Z.; Stamenkovic, Z. Semiconductor gas sensors: Materials, technology, design, and application. Sensors 2020, 20, 6694. [Google Scholar] [CrossRef]
- Gutmacher, D.; Hoefer, U.; Wöllenstein, J. Gas sensor technologies for fire detection. Sens. Actuators B 2012, 175, 40–45. [Google Scholar] [CrossRef]
- Rajput, N.; Das, R.; Mishra, V.; Singh, K.; Dwivedi, R. A neural net implementation of SPCA pre-processor for gas/odor classification using the responses of thick film gas sensor array. Sens. Actuators B Chem. 2010, 148, 550–558. [Google Scholar] [CrossRef]
- Wang, X.-G.; Lo, S.-M.; Zhang, H.-P. Influence of feature extraction duration and step size on ANN based multisensor fire detection performance. Procedia Eng. 2013, 52, 413–421. [Google Scholar] [CrossRef]
- Adib, M.; Eckstein, R.; Hernandez-Sosa, G.; Sommer, M.; Lemmer, U. SnO2 Nanowire Based Aerosol Jet Printed Electronic Nose as Fire Detector. IEEE Sens. 2017, 18, 494–500. [Google Scholar] [CrossRef]
- Wu, Z.; Wang, H.; Wang, X.; Zheng, H.; Chen, Z.; Meng, C. Development of electronic nose for qualitative and quantitative monitoring of volatile flammable liquids. Sensors 2020, 20, 1817. [Google Scholar] [CrossRef] [PubMed]
- Tam, W.C.; Fu, E.Y.; Mensch, A.; Hamins, A.; You, C.; Ngai, G.; Leong, H.V. Prevention of cooktop ignition using detection and multi-step machine learning algorithms. Fire Saf. J. 2020, 120, 103043. [Google Scholar] [CrossRef]
- Jaffe, D.A.; O’neill, S.M.; Larkin, N.K.; Holder, A.L.; Peterson, D.L.; Halofsky, J.E.; Rappold, A.G. Wildfire and prescribed burning impacts on air quality in the United States. J. Air Waste Manag. Assoc. 2020, 70, 583–615. [Google Scholar] [CrossRef]
- Findlay, M.; Peaslee, D.; Stetter, J.R.; Waller, S.; Smallridge, A. Distributed Sensors for Wildfire Early Warnings. J. Electrochem. Soc. 2022, 169, 020553. [Google Scholar] [CrossRef]
- Sahal, R.; Alsamhi, S.H.; Breslin, J.G.; Ali, M.I. Industry 4.0 towards Forestry 4.0: Fire detection use case. Sensors 2021, 21, 694. [Google Scholar] [CrossRef] [PubMed]
- Kumar, K.; Chaudhri, S.N.; Rajput, N.S.; Shvetsov, A.V.; Sahal, R.; Alsamhi, S.H. An IoT-Enabled E-Nose for Remote Detection and Monitoring of Airborne Pollution Hazards Using LoRa Network Protocol. Sensors 2023, 23, 4885. [Google Scholar] [CrossRef]
- Saif, A.; Dimyati, K.; Noordin, K.A.; Alsamhi, S.H.; Hawbani, A. Multi-UAV and SAR collaboration model for disaster management in B5G networks. Internet Technol. Lett. 2021, e310. [Google Scholar] [CrossRef]
- Alsamhi, S.H.; Almalki, F.A.; Ma, O.; Ansari, M.S.; Angelides, M.C. Performance optimization of tethered balloon technology for public safety and emergency communications. Telecommun. Syst. 2019, 75, 235–244. [Google Scholar] [CrossRef]
- Alsamhi, S.H.; Ma, O.; Ansari, M.S.; Gupta, S.K. Collaboration of drone and internet of public safety things in smart cities: An overview of QoS and network performance optimization. Drones 2019, 3, 13. [Google Scholar] [CrossRef]
- Mishra, A.; Rajput, N.S.; Han, G. NDSRT: An Efficient Virtual Multi-Sensor Response Transformation for Classification of Gases/Odors. IEEE Sens. J. 2017, 17, 3416–3421. [Google Scholar] [CrossRef]
- Kim, J.-H.; Lattimer, B.Y. Real-time probabilistic classification of fire and smoke using thermal imagery for intelligent firefighting robot. Fire Saf. J. 2015, 72, 40–49. [Google Scholar] [CrossRef]
- Santhosh, K.V.; Mohanty, P. Soft Computation Technique Based Fire Evacuation System. Indian J. Sci. Technol. 2015, 8, 1–5. [Google Scholar] [CrossRef]
- Adam, M.; Mahmoud, I.; Ren, H. Forest Fire Detection and Identification Using Image Processing and SVM. J. Inf. Process. Syst. 2019, 15, 159–168. [Google Scholar] [CrossRef]
- Kumar, R.; Das, R.R.; Mishra, V.N.; Dwivedi, R. A Neuro-Fuzzy Classifier-Cum-Quantifier for Analysis of Alcohols and Alcoholic Beverages Using Responses of Thick-Film Tin Oxide Gas Sensor Array. IEEE Sens. J. 2010, 10, 1461–1468. [Google Scholar] [CrossRef]
- Available online: https://www.aqmd.gov/docs/default-source/aq-spec/resources-page/plantower-pms5003-manual_v2-3.pdf (accessed on 25 May 2023).
- Available online: https://www.pololu.com/file/0J309/MQ2.pdf (accessed on 20 June 2023).
- Available online: https://www.espressif.com/sites/default/files/documentation/esp32_datasheet_en.pdf (accessed on 20 June 2023).
- Available online: https://www.sparkfun.com/datasheets/Sensors/Temperature/DHT22.pdf (accessed on 20 June 2023).
- Available online: https://www.farnell.com/datasheets/1682209.pdf (accessed on 20 June 2023).




















| Fire Class/Extinguishers | Water | Water Mist | Foam | ABC Dry Powder | CO2 | Wet Chemical | Specialist Powder |
|---|---|---|---|---|---|---|---|
| Class A | √ | √ | √ | √ | |||
| Class B | √ | √ | √ | √ | √ | ||
| Class C | √ | √ | |||||
| Class D | √ | ||||||
| Class K | √ | √ | √ | ||||
| Class F | √ |
| Ref. | Contributions and Limitations of the Reference | Contributions to Our Proposed Work |
|---|---|---|
| [8] | Used EN54 commercially available e-nose and classified four materials, wood, cotton, foam, and alcohol, without identifying the respective fire class. | We have developed our e-nose prototype with 06 gas sensor elements and have classified 16 different types of smoke belonging to six classes of fire. |
| [9] | Used SPCA transformation ANN for only four gases, classified them accurately, and developed suitable real-time applications. | We have used SPCA-transformed MLP for all six classes of fire and classified them accurately in real time. |
| [10] | Used commercially available smoke sensor devices and developed three ANN models for smoke detection during fire hazards. They did not attempt to classify various classes of fire. | We have developed our gas sensor array-based system, used three MLP models, and classified all six classes of fire for real-time applications. |
| [11] | Used e-nose to detect and classify cotton, beech, and printed circuit boards (PCBs) from their burning smells using the LDA method. | Our e-nose system detects all six types of fire classes using PCA and SPCA for pre-processing the dataset. In comparison, we designed and tested 08 different types of classifiers to achieve high-performance classification. |
| [12] | Used 14-MOX Figaro sensors and one temperature and humidity sensor to detect five volatile, highly flammable liquids (ethanol, tetrahydrofuran, turpentine, lacquer thinner, and gasoline). | We have used six low-cost tin-oxide-based MOX sensors, one PM Sensor, and one DHT-22 for temperature and humidity sensors to detect all VOCs, gases, odours, and other releases from fire smoke. |
| [13] | Observed cooktop igniting using 14 sensors and SVM, RF, and DT for the fire smokes obtained by burning oils from canola, maize, olive, sunflower, and soy, achieving 96.9% accuracy using SVM. | We have achieved 100% accuracy using SPCA-transformed MLP for identifying 16 types of smoke-releasing materials belonging to 06 fire classes. |
| [14] | Classified wildfires by using PM 2.5 and PM 10.0 sensor data. | We have detected all kinds of fires using a PM sensor (PM 2.5 and PM 10), a six-element gas sensor array, and a temperature and humidity sensor to achieve 100% accuracy over all the test samples. |
| [15] | Used a single CO sensor and a PM sensor to identify wildfires. | We have detected all kinds of fires using a PM sensor (PM 2.5 and PM 10), a six-element gas sensor array, and a temperature and humidity sensor to achieve 100% accuracy over all the test samples. |
| S. No | Sensor Name | I/O Pin | Target Gas/Odour/PM | Detection Ranges (PPM) |
|---|---|---|---|---|
| S1 | PMS5003 (TX, RX) | RX, TX | PM 2.5 and PM 10 | 1 micron–10 microns |
| S2 | DHT22 | 25 | Temperature and Humidity | −40–125 (°C) |
| S3 | MQ3 | 32 | Alcohol, Ethanol, Smoke | 25–500 |
| S4 | MQ4 | 33 | Methane, CNG | 300–10,000 |
| S5 | MQ5 | 34 | Natural Gas, LPG | 300–10,000 |
| S6 | MQ7 | 35 | CO | 10–500 |
| S7 | MQ8 | 36 | Hydrogen | 100–10,000 |
| S8 | MQ135 | 39 | Air Quality | 10–1000 |
| Components | Input Voltage | Power Ratings |
|---|---|---|
| PMS 5003 | 5 V | 100 mA |
| Arduino UNO | 5 V | 50 mA |
| Arduino TX/RX pins | 3.3 V | 40 mA |
| ESP32 | 5 V | 130 mA |
| ESP32 GPIO pins | 3.3 V | 40 mA |
| DC-DC Buck converter | 5 V | 2.5 A |
| DHT22 | 3–5 V | 2.5 mA |
| MQ sensor | 5 V | 150 mA |
| Fire Class | Raw Materials | Dataset I (Training Set) | Dataset II (Testing Set) | Total Samples | Data Collection Time (mints.) |
|---|---|---|---|---|---|
| Class A | Cloth | 145 | 5 | 150 | 15 |
| A4 paper | 145 | 5 | 150 | 15 | |
| Wood | 145 | 5 | 150 | 15 | |
| Class B | Paints | 145 | 5 | 150 | 15 |
| Grease | 145 | 5 | 150 | 15 | |
| Kerosene | 145 | 5 | 150 | 15 | |
| Diesel | 145 | 5 | 150 | 15 | |
| Class C | Rubber | 145 | 5 | 150 | 15 |
| PVC | 145 | 5 | 150 | 15 | |
| Wire | 145 | 5 | 150 | 15 | |
| Class D | Butter | 145 | 5 | 150 | 15 |
| Mustard oil | 145 | 5 | 150 | 15 | |
| Refined oil | 145 | 5 | 150 | 15 | |
| Coconut oil | 145 | 5 | 150 | 15 | |
| Class K | Magnesium | 145 | 5 | 150 | 15 |
| Class F | LPG | 145 | 5 | 150 | 15 |
| Total | 2320 | 80 | 2400 | 240 |
| MQ 3 | MQ 4 | MQ 5 | MQ 7 | MQ 8 | MQ 135 | Temp, (°C) | Humid, (%) | Class |
|---|---|---|---|---|---|---|---|---|
| 1702 | 475 | 3293 | 1380 | 3119 | 993 | 27.8 | 62.4 | A |
| 1759 | 321 | 3233 | 1314 | 3696 | 1360 | 27.7 | 64.3 | |
| 1395 | 267 | 3231 | 1173 | 3927 | 664 | 23.6 | 76.4 | |
| 1754 | 208 | 2336 | 2302 | 3709 | 2480 | 22.8 | 75.3 | B |
| 1386 | 242 | 2364 | 1373 | 3257 | 1226 | 22.9 | 65.8 | |
| 1050 | 351 | 3184 | 1143 | 3600 | 2531 | 24.8 | 99 | |
| 1523 | 256 | 3229 | 1184 | 3765 | 1018 | 45.6 | 33.6 | |
| 3065 | 2358 | 3985 | 1730 | 2121 | 2221 | 30.2 | 99 | C |
| 3137 | 1340 | 3963 | 2235 | 3987 | 1958 | 26.8 | 99 | |
| 783 | 156 | 3096 | 1045 | 3167 | 807 | 23 | 84.3 | |
| 1007 | 176 | 3152 | 1200 | 3435 | 1202 | 25.1 | 60.1 | D |
| 671 | 132 | 3102 | 1091 | 2892 | 992 | 25.4 | 51.4 | |
| 1083 | 181 | 3060 | 1103 | 3470 | 1090 | 21.5 | 64.6 | |
| 1506 | 1837 | 3719 | 3495 | 2928 | 3791 | 27.1 | 99.9 | |
| 1469 | 387 | 1021 | 495 | 112 | 278 | 25 | 82.3 | K |
| 790 | 151 | 3101 | 1088 | 3151 | 843 | 23 | 81.1 | F |
| Classifiers | Parameters |
|---|---|
| KNN | Algorithm: auto, leaf_size: 30, metric = minkowski, n_neighbors: 5, p: 2, weights: uniform, cv:5 |
| LR | fit_intercept: True, intercept_scaling: 1, max_iter: 100, multi_class: warn, penalty: l1, random_state: None, solver: warn, warm_start: False, cv:5 |
| SGD | Loss: hinge, penalty: l2, alpha:0.0001, l1_ratio: 0.15, fit_intercept: True, shuffle: True, verbose:0, epsilon:0.1, n_jobs: None, random_state: None, learning_rate: optimal, early_stopping: False, n_iter_no_change:5, class_weight: None, warm_start: False, average: False, cv:5 |
| DT | Criterion: gini, splitter: best, min_samples_split: 2, min_samples_leaf:1, random_state: None, max_leaf_nodes: None, class_weight: None, cv:5 |
| NB | Priors: None, var_smoothing: 1 × 10−9 cv:5 |
| SVM | C:1, kernel: rbf, degree: 3, cache_size:200, class_weight: None, verbose: False, max_iter: -1, random_state: None, cv:5 |
| RDA | Solver: svd, shrinkage: None, priors: None, store_covariance: False, tol: 0.0001, covariance_estimator: None, cv:5 |
| MLP | Hidden layer sizes:11, activation function: Relu, solver: adam, batch size:100, learning rate: adaptive, max iteration: 100, cv:5 |
Disclaimer/Publisher’s Note: The statements, opinions and data contained in all publications are solely those of the individual author(s) and contributor(s) and not of MDPI and/or the editor(s). MDPI and/or the editor(s) disclaim responsibility for any injury to people or property resulting from any ideas, methods, instructions or products referred to in the content. |
© 2023 by the authors. Licensee MDPI, Basel, Switzerland. This article is an open access article distributed under the terms and conditions of the Creative Commons Attribution (CC BY) license (https://creativecommons.org/licenses/by/4.0/).
Share and Cite
Kumar, K.; Rajput, N.S.; Shvetsov, A.V.; Saif, A.; Sahal, R.; Alsamhi, S.H. ID2S4FH: A Novel Framework of Intelligent Decision Support System for Fire Hazards. Fire 2023, 6, 248. https://doi.org/10.3390/fire6070248
Kumar K, Rajput NS, Shvetsov AV, Saif A, Sahal R, Alsamhi SH. ID2S4FH: A Novel Framework of Intelligent Decision Support System for Fire Hazards. Fire. 2023; 6(7):248. https://doi.org/10.3390/fire6070248
Chicago/Turabian StyleKumar, Kanak, Navin Singh Rajput, Alexey V. Shvetsov, Abdu Saif, Radhya Sahal, and Saeed Hamood Alsamhi. 2023. "ID2S4FH: A Novel Framework of Intelligent Decision Support System for Fire Hazards" Fire 6, no. 7: 248. https://doi.org/10.3390/fire6070248
APA StyleKumar, K., Rajput, N. S., Shvetsov, A. V., Saif, A., Sahal, R., & Alsamhi, S. H. (2023). ID2S4FH: A Novel Framework of Intelligent Decision Support System for Fire Hazards. Fire, 6(7), 248. https://doi.org/10.3390/fire6070248

