Cooperative Drone Transportation of a Cable-Suspended Load: Dynamics and Control
Abstract
1. Introduction
2. Mathematical Model
2.1. Reference Frames
- Two Body–fixed frames, , . The longitudinal axis is positive out of the nose of the i-th platform in its selected plane of symmetry, aims in the direction of the fuselage/frame bottom, and completes a right-handed triad.
- Two Local–Horizontal–Local–Vertical frames, , . The frame is attached to the aircraft’s center of gravity and, under the assumption of a flat and non–rotating Earth, is always parallel to .
- A vehicle structural reference frame, , used to locate the center of gravity and all platform components: the axes are parallel to the Body–fixed frame axes such that , , and . Stationlines (ST) are measured positively aft along the longitudinal axis. Buttlines (BL) are lateral distances, positive to the right, and waterlines (WL) are measured vertically, positive upward. In what follows, without loss of generality, a sample multirotor configuration is considered. In such a case, lies on the top surface of the frame and is aligned vertically with the drone’s geometric center over the plane.
2.2. Equations of Motion
3. Problem Statement and Solution
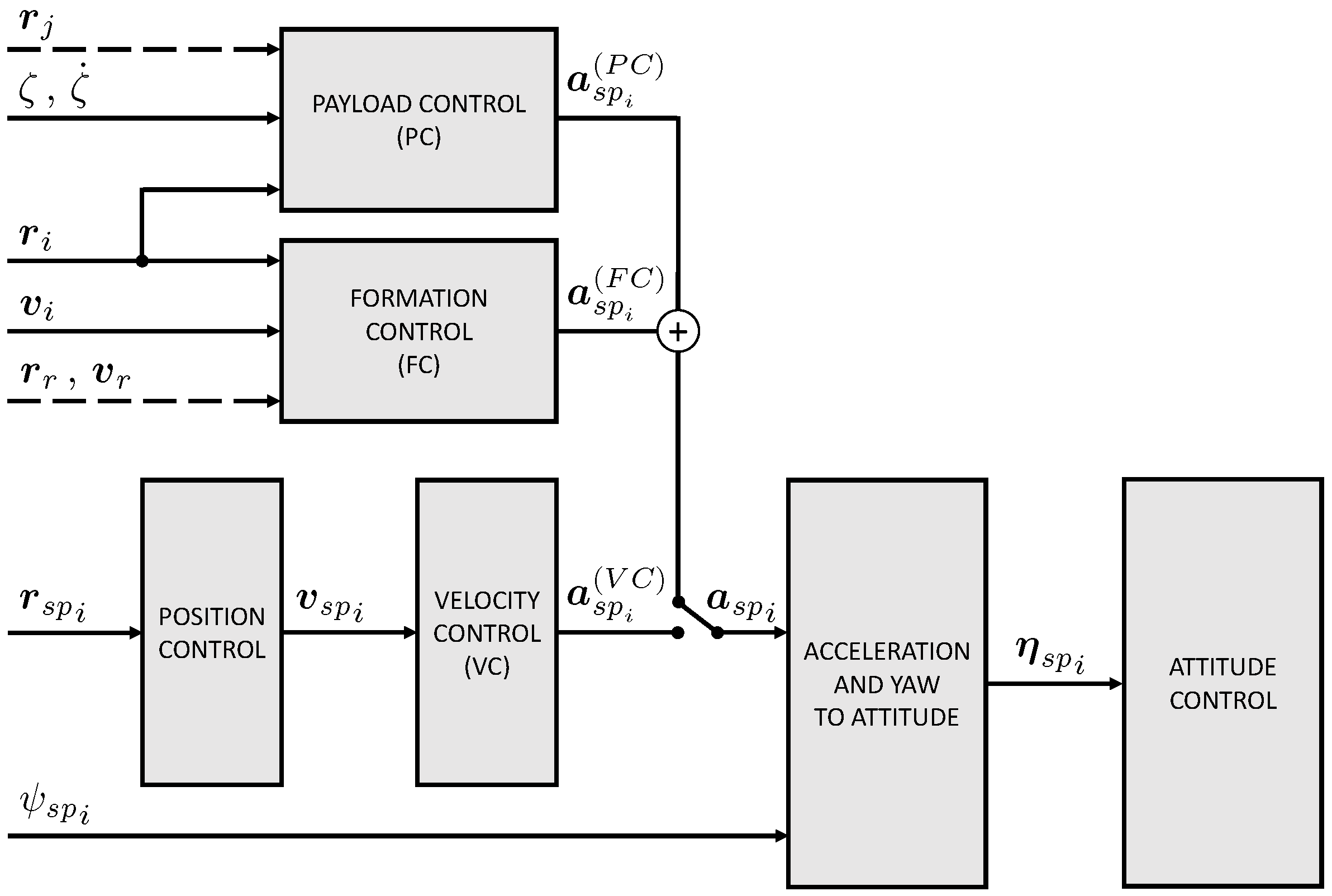
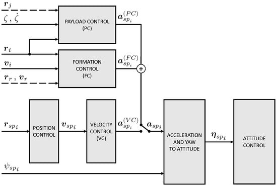
3.1. Controller Design
3.2. Stability and Control Analysis
4. Results
4.1. Simulation Platform
4.2. Performance Indicators
- Maneuver time, . The simulation is assumed to be concluded at time when two conditions are simultaneously satisfied: (1) the formation control residual error falls below , where and are expressed in m and , respectively, and (2) the absolute value of remains below degrees for a predetermined time of 5 s.
- Average swing angle, . This is calculated as , where the integralis evaluated over the maneuver time domain and provides an indication of how much and for how long the payload deviates from the local vertical plane .
- Propulsive energy, . This measures the total energy delivered by the motors to the propellers and is calculated through the integralwhere is the output shaft power generated by the k-th motor, obtained from required torque and angular rate under the assumption of null friction torque. In the present case, is evaluated for Agent 1 only.
4.3. Test Cases
4.3.1. Simulation Case 1
4.3.2. Simulation Case 2
5. Conclusions
Author Contributions
Funding
Data Availability Statement
Conflicts of Interest
Abbreviations
| BL | Buttline |
| FC | Formation Controller |
| H | Hook point |
| IMU | Inertial Measurement Unit |
| LQR | Linear Quadratic Regulator |
| MPC | Model Predictive Control |
| PC | Payload Controller |
| PID | Proportional–Integral–Derivative |
| ST | Stationline |
| UAV | Unmanned Aerial Vehicle |
| VC | Velocity Controller |
| WL | Waterline |
Appendix A. Elements of Matrices A and B
References
- Estevez, J.; Garate, G.; Lopez-Guede, J.M.; Larrea, M. Review of Aerial Transportation of Suspended-Cable Payloads with Quadrotors. Drones 2024, 8, 35. [Google Scholar] [CrossRef]
- Pounds, P.E.I.; Bersak, D.R.; Dollar, A.M. Grasping From the Air: Hovering Capture and Load Stability. In Proceedings of the IEEE International Conference on Robotics and Automation, Shanghai, China, 9–13 May 2011; pp. 2491–2498. [Google Scholar] [CrossRef]
- Chen, H.; Quan, F.; Fang, L.; Zhang, S. Aerial Grasping with a Lightweight Manipulator Based on Multi–Objective Optimization and Visual Compensation. Sensors 2019, 19, 4253. [Google Scholar] [CrossRef]
- Eskandaripour, H.; Boldsaikhan, E. Last–Mile Drone Delivery: Past, Present, and Future. Drones 2023, 7, 77. [Google Scholar] [CrossRef]
- Li, X.; Zhang, J.; Han, J. Trajectory planning of load transportation with multi–quadrotors based on reinforcement learning algorithm. Aerosp. Sci. Technol. 2021, 116, 106887. [Google Scholar] [CrossRef]
- Michael, N.; Fink, J.; Kumar, V. Cooperative manipulation and transportation with aerial robots. Auton. Robot. 2011, 30, 73–86. [Google Scholar] [CrossRef]
- Bacelar, T.; Madeiras, J.; Melicio, R.; Cardeira, C.; Oliveira, P. On–board implementation and experimental validation of collaborative transportation of loads with multiple UAVs. Aerosp. Sci. Technol. 2020, 107, 106284. [Google Scholar] [CrossRef]
- Ariyibi, S.O.; Tekinalp, O. Quaternion–based nonlinear attitude control of quadrotor formations carrying a slung load. Aerosp. Sci. Technol. 2020, 105, 105995. [Google Scholar] [CrossRef]
- Klausen, K.; Meissen, C.; Fossen, T.I.; Arcak, M.; Johansen, T.A. Cooperative Control for Multirotors Transporting an Unknown Suspended Load Under Environmental Disturbances. IEEE Trans. Control. Syst. Technol. 2020, 28, 653–660. [Google Scholar] [CrossRef]
- Tognon, M.; Gabellieri, C.; Pallottino, L.; Franchi, A. Aerial Co–Manipulation With Cables: The Role of Internal Force for Equilibria, Stability, and Passivity. IEEE Robot. 2018, 3, 2577–2583. [Google Scholar] [CrossRef]
- de Angelis, E.L.; Giulietti, F.; Rossetti, G. Multirotor aircraft formation flight control with collision avoidance capability. Aerosp. Sci. Technol. 2018, 77, 733–741. [Google Scholar] [CrossRef]
- de Angelis, E.L.; Giulietti, F.; Pipeleers, G. Two–time–scale control of a multirotor aircraft for suspended load transportation. Aerosp. Sci. Technol. 2019, 84, 193–203. [Google Scholar] [CrossRef]
- de Angelis, E.L.; Giulietti, F. Stability and control issues of multirotor suspended load transportation: An analytical closed–form approach. Aerosp. Sci. Technol. 2023, 135, 108201. [Google Scholar] [CrossRef]
- PX4 Development Team and Community, PX4 Autopilot User Guide (Main). Available online: https://docs.px4.io/main/en/ (accessed on 12 April 2024).
- de Ruiter, A.H.J.; Damaren, C.J.; Forbes, J.R. Spacecraft Dynamics and Control—An Introduction; John Wiley & Sons, Ltd.: Hoboken, NJ, USA, 2013; pp. 19–24. [Google Scholar]
- de Angelis, E.L. Swing angle estimation for multicopter slung load applications. Aerosp. Sci. Technol. 2019, 89, 264–274. [Google Scholar] [CrossRef]
- Wang, J.J. Simulation studies of inverted pendulum based on PID controllers. Simul. Model. Pract. Theory 2011, 19, 440–449. [Google Scholar] [CrossRef]
- Messikh, L.; Guechi, E.H.; Blažič, S. Stabilization of the Cart–Inverted–Pendulum System Using State–Feedback Pole–Independent MPC Controllers. Sensors 2022, 22, 243. [Google Scholar] [CrossRef] [PubMed]
- Kautsky, J.; Nichols, N.K.; Van Dooren, P. Robust pole assignment in linear state feedback. Int. J. Control 1985, 41, 1129–1155. [Google Scholar] [CrossRef]
- Beard, R.W.; Lawton, J.; Hadaegh, F.Y. A Coordination Architecture for Spacecraft Formation Control. IEEE Trans. Control Syst. Technol. 2001, 9, 777–790. [Google Scholar] [CrossRef]
- Butcher, J.C. Numerical methods for ordinary differential equations in the 20th century. J. Comput. Appl. Math. 2000, 125, 1–29. [Google Scholar] [CrossRef]
- de Angelis, E.L.; Giulietti, F. An improved method for swing state estimation in multirotor slung load applications. Drones 2023, 7, 654. [Google Scholar] [CrossRef]
- NOAA-S/T 76-1562; U.S. Standard Atmosphere. U.S. Government Printing Office: Washington, DC, USA, 1976; pp. 1–241.
- Defense Mapping Agency Washington DC, Department of Defense World Geodetic System 1984: Its Definition and Relationships with Local Geodetic Systems, 2nd ed.; Defense Mapping Agency, Systems Center (SG): Fairfax, VA, USA, 1991; pp. 1–170.
- Najm, A.A.; Ibraheem, I.K. Nonlinear PID controller design for a 6–DOF UAV quadrotor system. Int. J. Eng. Sci. Technol. 2019, 22, 1087–1097. [Google Scholar] [CrossRef]
- Rinaldi, F.; Chiesa, S.; Quagliotti, F. Linear quadratic control for quadrotors UAVs dynamics and formation flight. J. Intell. Robot. Syst. 2013, 70, 203–220. [Google Scholar] [CrossRef]
- Zhang, Y.; Chen, Z.; Sun, M.; Zhang, X. Trajectory tracking control of a quadrotor UAV based on sliding mode active disturbance rejection control. Nonlinear Anal. Model Control 2019, 24, 545–560. [Google Scholar] [CrossRef]
- Zhou, L.; Zhang, J.; Dou, J.; Wen, B. A fuzzy adaptive backstepping control based on mass observer for trajectory tracking of a quadrotor UAV. Int. J. Adapt. Control Signal Process 2018, 32, 1675–1693. [Google Scholar] [CrossRef]
- Gong, W.; Li, B.; Yang, Y.; Ban, H.; Xiao, B. Fixed–time integral-type sliding mode control for the quadrotor UAV attitude stabilization under actuator failures. Aerosp. Sci. Technol. 2019, 95, 105444. [Google Scholar] [CrossRef]
- Gao, B.; Liu, Y.J.; Liu, L. Adaptive neural fault–tolerant control of a quadrotor UAV via fast terminal sliding mode. Aerosp. Sci. Technol. 2022, 129, 107818. [Google Scholar] [CrossRef]








| Parameter | Symbol | Value | Units |
|---|---|---|---|
| Multirotor | |||
| Mass | m | 70 | kg |
| Center of gravity position | 0 | m | |
| –0.15 | m | ||
| Moments of inertia | 10.61 | kg m2 | |
| 10.31 | kg m2 | ||
| 19.74 | kg m2 | ||
| 0.037 | kg m2 | ||
| –0.043 | kg m2 | ||
| –0.003 | kg m2 | ||
| Center of pressure position | 0 | m | |
| –0.125 | m | ||
| Frame drag areas | 0.22 | m2 | |
| 1.03 | m2 | ||
| Propeller | |||
| Number of blades | 2 | ||
| Radius | R | 0.5 | m |
| Mean aerodynamic chord | 0.086 | m | |
| Chord @ | 0.103 | m | |
| Lift-curve slope | a | 5.9 | rad−1 |
| Pre-cone angle | 0 | rad | |
| Root pitch angle | 0.7854 | rad | |
| Total twist | –0.6981 | rad | |
| Load | |||
| Mass | 100 | kg | |
| Reference area | 0.785 | m2 | |
| Drag coefficient (sphere) | 0.5 | ||
| Cable | |||
| Nominal length | L | 15 | m |
| Hooke’s constant | K | 90,950 | N m−1 |
| Damping coefficient | C | 215 | N m−1 s |
| Hook point position | 0 | m | |
| –0.2 | m |
| Subsystem | FC | FC+PC |
|---|---|---|
| Index | FC | FC + PC | Variation [%] |
|---|---|---|---|
| [s] | 23.5 | 17.9 | –23.8 |
| [deg s] | 22.96 | 15.95 | –30.5 |
| [deg] | 0.98 | 0.89 | –9.2 |
| [kJ] | 327.05 | 249.31 | –23.8 |
| Index | FC | FC + PC | Variation [%] |
|---|---|---|---|
| [s] | 38.1 | 31.0 | –18.6 |
| [deg s] | 26.90 | 15.62 | –41.9 |
| [deg] | 0.71 | 0.50 | –28.7 |
| [kJ] | 530.53 | 431.77 | –18.61 |
Disclaimer/Publisher’s Note: The statements, opinions and data contained in all publications are solely those of the individual author(s) and contributor(s) and not of MDPI and/or the editor(s). MDPI and/or the editor(s) disclaim responsibility for any injury to people or property resulting from any ideas, methods, instructions or products referred to in the content. |
© 2024 by the authors. Licensee MDPI, Basel, Switzerland. This article is an open access article distributed under the terms and conditions of the Creative Commons Attribution (CC BY) license (https://creativecommons.org/licenses/by/4.0/).
Share and Cite
Costantini, E.; de Angelis, E.L.; Giulietti, F. Cooperative Drone Transportation of a Cable-Suspended Load: Dynamics and Control. Drones 2024, 8, 434. https://doi.org/10.3390/drones8090434
Costantini E, de Angelis EL, Giulietti F. Cooperative Drone Transportation of a Cable-Suspended Load: Dynamics and Control. Drones. 2024; 8(9):434. https://doi.org/10.3390/drones8090434
Chicago/Turabian StyleCostantini, Elia, Emanuele Luigi de Angelis, and Fabrizio Giulietti. 2024. "Cooperative Drone Transportation of a Cable-Suspended Load: Dynamics and Control" Drones 8, no. 9: 434. https://doi.org/10.3390/drones8090434
APA StyleCostantini, E., de Angelis, E. L., & Giulietti, F. (2024). Cooperative Drone Transportation of a Cable-Suspended Load: Dynamics and Control. Drones, 8(9), 434. https://doi.org/10.3390/drones8090434

