Big Data Analytics Applications in Information Management Driving Operational Efficiencies and Decision-Making: Mapping the Field of Knowledge with Bibliometric Analysis Using R
Abstract
1. Introduction
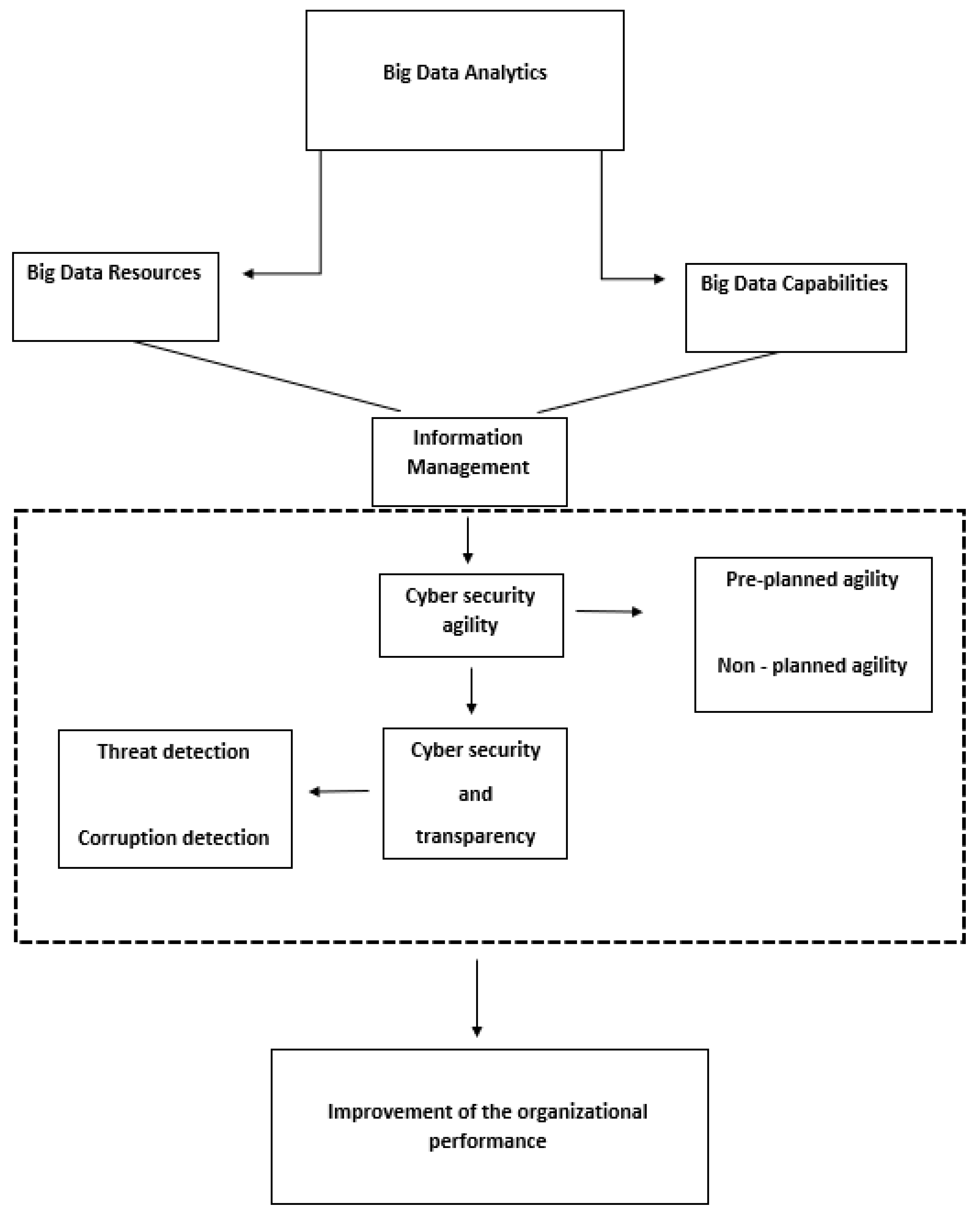
2. Big Data Analytics and Information Management for Operational Effectiveness and Decision-Making
3. Materials and Methods
3.1. Bibliometric Analysis Method
- y: relative frequency of authors with frequency x number of articles,
- n: illustrates an exponent that is a constant for a given set of data,
- x: indicates the number of the published articles.
3.2. Data Extraction
4. Results
4.1. Information Management and Big Data Analytics: A Discrete Research Domain
4.2. Annual Publication and Timespan Trend
4.3. Most Influential Journals, Institutions, Authors, and Documents
4.4. Network, Content, Bibliographic Coupling, and Cluster Analysis
5. Discussion and Conclusions
Author Contributions
Funding
Data Availability Statement
Conflicts of Interest
References
- Tang, J.; Zhang, S.X.; Lin, S. To reopen or not to reopen? How entrepreneurial alertness influences small business reopening after the COVID-19 lockdown. J. Bus. Ventur. Insights 2021, 16, e00275. [Google Scholar] [CrossRef]
- Nebolsina, E. The impact of the Covid-19 pandemic on the business interruption insurance demand in the United States. Heliyon 2021, 7, e08357. [Google Scholar] [CrossRef] [PubMed]
- Zarghami, S.A. A reflection on the impact of the COVID-19 pandemic on Australian businesses: Toward a taxonomy of vulnerabilities. Int. J. Disaster Risk Reduct. 2021, 64, 102496. [Google Scholar] [CrossRef] [PubMed]
- Kettinger, W.J.; Ryoo, S.Y.; Marchand, D.A. We’re engaged! Following the path to a successful information management capability. J. Strat. Inf. Syst. 2021, 30, 101681. [Google Scholar] [CrossRef]
- Huang, P.Y.; Niu, B.; Pan, S.L. Platform-based customer agility: An integrated framework of information management structure, capability, and culture. Int. J. Inf. Manag. 2021, 59, 102346. [Google Scholar] [CrossRef]
- Manandhar, R.; Siebeneck, L.K. Information management and the return-entry process: Examining information needs, sources, and strategies after Superstorm Sandy. Int. J. Disaster Risk Reduct. 2021, 53, 102015. [Google Scholar] [CrossRef]
- Sharma, A.; Rana, N.P.; Nunkoo, R. Fifty years of information management research: A conceptual structure analysis using structural topic modeling. Int. J. Inf. Manag. 2021, 58, 102316. [Google Scholar] [CrossRef]
- Omar, Y.M.; Minoufekr, M.; Plapper, P. Business analytics in manufacturing: Current trends, challenges and pathway to market leadership. Oper. Res. Perspect. 2019, 6, 100127. [Google Scholar] [CrossRef]
- Donaldson, D.A. Digital from farm to fork: Infrastructures of quality and control in food supply chains. J. Rural. Stud. 2021, 91, 228–235. [Google Scholar] [CrossRef]
- Óskarsdóttir, M.; Bravo, C.; Sarraute, C.; Vanthienen, J.; Baesens, B. The value of big data for credit scoring: Enhancing financial inclusion using mobile phone data and social network analytics. Appl. Soft Comput. J. 2019, 74, 26–39. [Google Scholar] [CrossRef]
- Doumpos, M.; Zopounidis, C.; Gounopoulos, D.; Platanakis, E.; Zhang, W. Operational research and artificial intelligence methods in banking. Eur. J. Oper. Res. 2023, 306, 1–16. [Google Scholar] [CrossRef]
- Koot, M.; Mes MR, K.; Iacob, M.E. A systematic literature review of supply chain decision making supported by the Internet of Things and Big Data Analytics. Comput. Ind. Eng. 2021, 154, 107076. [Google Scholar] [CrossRef]
- Nespeca, V.; Comes, T.; Meesters, K.; Brazier, F. Towards coordinated self-organization: An actor-centered framework for the design of disaster management information systems. Int. J. Disaster Risk Reduct. 2020, 51, 101887. [Google Scholar] [CrossRef]
- Ardito, L.; Scuotto, V.; Del Giudice, M.; Petruzzelli, A.M. A bibliometric analysis of research on Big Data analytics for business and management. Manag. Decis. 2019, 57, 1993–2009. [Google Scholar] [CrossRef]
- Ding, Y.; Wu, Z.; Tan, Z.; Jiang, X. Research and application of security baseline in business information system. Procedia Comput. Sci. 2021, 183, 630–635. [Google Scholar] [CrossRef]
- Jiang, X.; Ding, Y.; Ma, X.; Li, X. Compliance analysis of business information system under classified protection 2.0 of cybersecurity. Procedia Comput. Sci. 2021, 183, 87–93. [Google Scholar] [CrossRef]
- Trigo, A.; Belfo, F.; Estébanez, R.P. Accounting Information Systems: Evolving towards a Business Process Oriented Accounting. Procedia Comput. Sci. 2016, 100, 987–994. [Google Scholar] [CrossRef]
- Ponisciakova, O.; Gogolova, M.; Ivankova, K. The Use of Accounting Information System for the Management of Business Costs. Procedia Econ. Financ. 2015, 26, 418–422. [Google Scholar] [CrossRef][Green Version]
- Azevedo, J.; Duarte, J.; Santos, M.F. Implementing a business intelligence cost accounting solution in a healthcare setting. Procedia Comput. Sci. 2021, 198, 329–334. [Google Scholar] [CrossRef]
- Anaya, L.; Qutaishat, F. ERP systems drive businesses towards growth and sustainability. Procedia Comput. Sci. 2022, 204, 854–861. [Google Scholar] [CrossRef]
- Molina-Castillo, F.-J.; Rodríguez, R.; López-Nicolas, C.; Bouwman, H. The role of ERP in business model innovation: Impetus or impediment. Digit. Bus. 2022, 2, 100024. [Google Scholar] [CrossRef]
- Coşkun, E.; Gezici, B.; Aydos, M.; Tarhan, A.K.; Garousi, V. ERP failure: A systematic mapping of the literature. Data Knowl. Eng. 2022, 142, 102090. [Google Scholar] [CrossRef]
- Bernroider EW, N.; Wong CW, Y.; Lai, K.H. From dynamic capabilities to ERP enabled business improvements: The mediating effect of the implementation project. Int. J. Proj. Manag. 2014, 32, 350–362. [Google Scholar] [CrossRef]
- Hagel, J. Bringing analytics to life. J. Account. 2015, 219, 24. Available online: https://www.journalofaccountancy.com/issues/2015/feb/big-data-analytics-management-accounting.html (accessed on 2 July 2022).
- Ahmed, R.; Shaheen, S.; Philbin, S.P. The role of big data analytics and decision-making in achieving project success. J. Eng. Technol. Manag. JET-M 2022, 65, 101697. [Google Scholar] [CrossRef]
- Li, L.; Lin, J.; Ouyang, Y.; Luo, X. Evaluating the impact of big data analytics usage on the decision-making quality of organizations. Technol. Forecast. Soc. Chang. 2022, 175, 121355. [Google Scholar] [CrossRef]
- Barton, D.; Court, D. Making advanced analytics work for you. Harv. Bus. Rev. 2012, 90, 78–83. [Google Scholar]
- Shah, S.; Horne, A.; Capella, J. Good Data Won’t Guarantee Good Decisions. Harv. Bus. Rev. 2012, 90, 23–25. [Google Scholar]
- Li, C.; Chen, Y.; Shang, Y. A review of industrial big data for decision making in intelligent manufacturing. Eng. Sci. Technol. Int. J. 2022, 29, 101021. [Google Scholar] [CrossRef]
- Ulrich, P.; Becker, W.; Fibitz, A.; Reitelshöfer, E.; Schuhknecht, F. Data Analytics Systems and SME type—A Design Science Approach. Procedia Comput. Sci. 2018, 126, 1162–1170. [Google Scholar] [CrossRef]
- Brunnschweiler, C.; Edjekumhene, I.; Lujala, P. Does information matter? Transparency and demand for accountability in Ghana’s natural resource revenue management. Ecol. Econ. 2021, 181, 106903. [Google Scholar] [CrossRef]
- Do, H.; Budhwar, P.; Shipton, H.; Nguyen, H.D.; Nguyen, B. Building organizational resilience, innovation through resource-based management initiatives, organizational learning and environmental dynamism. J. Bus. Res. 2022, 141, 808–821. [Google Scholar] [CrossRef]
- Ma, S.; Ding, W.; Liu, Y.; Ren, S.; Yang, H. Digital twin and big data-driven sustainable smart manufacturing based on information management systems for energy-intensive industries. Appl. Energy 2022, 326, 119986. [Google Scholar] [CrossRef]
- Wang, B.; Wang, Y.; Yan, F.; Zhao, W. Safety intelligence toward safety management in a big-data environment: A general model and its application in urban safety management. Safety Sci. 2022, 154, 105840. [Google Scholar] [CrossRef]
- Aria, M.; Cuccurullo, C. Bibliometrix: An R-tool for comprehensive science mapping analysis. J. Informetr. 2017, 11, 959–975. [Google Scholar] [CrossRef]
- Tamala, J.K.; Maramag, E.I.; Simeon, K.A.; Ignacio, J.J. A bibliometric analysis of sustainable oil and gas production research using VOSviewer. Clean. Eng. Technol. 2022, 7, 100437. [Google Scholar] [CrossRef]
- Niknejad, N.; Ismail, W.; Bahari, M.; Hendradi, R.; Salleh, A.Z. Mapping the research trends on blockchain technology in food and agriculture industry: A bibliometric analysis. Environ. Technol. Innov. 2021, 21, 101272. [Google Scholar] [CrossRef]
- Huber, J.C. The underlying process generating Lotka’s Law and the statistics of exceedances. Inf. Process. Manag. 1998, 34, 471–487. [Google Scholar] [CrossRef]
- Kumar, S.; Sharma, P.; Garg, K.C. Lotka’s law and institutional productivity. Inf. Process. Manag. 1998, 34, 775–783. [Google Scholar] [CrossRef]
- Egghe, L. Consequences of Lotka’s law in the case of fractional counting of authorship and of first author counts. Math. Comput. Model. 1993, 18, 63–77. [Google Scholar] [CrossRef]
- Amodio, P.; Brugnano, L.; Scarselli, F. Implementation of the PaperRank and AuthorRank indices in the Scopus database. J. Informetr. 2021, 15, 101206. [Google Scholar] [CrossRef]
- Marcucci, G.; Ciarapica, F.; Poler, R.; Sanchis, R. A bibliometric analysis of the emerging trends in silver economy. IFAC-Pap. 2021, 54, 936–941. [Google Scholar] [CrossRef]
- Chen, H.; Jin, Q.; Wang, X.; Xiong, F. Profiling academic-industrial collaborations in bibliometric-enhanced topic networks: A case study on digitalization research. Technol. Forecast. Soc. Chang. 2022, 175, 121402. [Google Scholar] [CrossRef]
- Sivarajah, U.; Kamal, M.M.; Irani, Z.; Weerakkody, V. Critical analysis of Big Data challenges and analytical methods. J. Bus. Res. 2017, 70, 263–286. [Google Scholar] [CrossRef]
- Akter, S.; Wamba, S.F. Big data analytics in E-commerce: A systematic review and agenda for future research. Electron. Mark. 2016, 26, 173–194. [Google Scholar] [CrossRef]
- Ng, I.C.L.; Wakenshaw, S.Y.L. The Internet-of-Things: Review and research directions. Int. J. Res. Mark. 2017, 34, 3–21. [Google Scholar] [CrossRef]
- Côrte-Real, N.; Oliveira, T.; Ruivo, P. Assessing business value of Big Data Analytics in European firms. J. Bus. Res. 2017, 70, 379–390. [Google Scholar] [CrossRef]
- Mikalef, P.; Krogstie, J.; Pappas, I.O.; Pavlou, P. Exploring the relationship between big data analytics capability and competitive performance: The mediating roles of dynamic and operational capabilities. Inf. Manag. 2020, 57, 103169. [Google Scholar] [CrossRef]
- Lezoche, M.; Panetto, H.; Kacprzyk, J.; Hernandez, J.E.; Díaz, M.M.E.A. Agri-food 4.0: A survey of the supply chains and technologies for the future agriculture. Comput. Ind. 2020, 117, 103187. [Google Scholar] [CrossRef]
- Holsapple, C.; Lee-Post, A.; Pakath, R. A unified foundation for business analytics. Decis. Support Syst. 2014, 64, 130–141. [Google Scholar] [CrossRef]
- Mikalef, P.; Boura, M.; Lekakos, G.; Krogstie, J. Big Data Analytics Capabilities and Innovation: The Mediating Role of Dynamic Capabilities and Moderating Effect of the Environment. Br. J. Manag. 2019, 30, 272–298. [Google Scholar] [CrossRef]
- Mikalef, P.; Boura, M.; Lekakos, G.; Krogstie, J. Big data analytics and firm performance: Findings from a mixed-method approach. J. Bus. Res. 2019, 98, 261–276. [Google Scholar] [CrossRef]
- Müller, O.; Fay, M.; vom Brocke, J. The Effect of Big Data and Analytics on Firm Performance: An Econometric Analysis Considering Industry Characteristics. J. Manag. Inf. Syst. 2018, 35, 488–509. [Google Scholar] [CrossRef]
- Pan, Y.; Zhang, L. Roles of artificial intelligence in construction engineering and management: A critical review and future trends. Autom. Constr. 2021, 122, 103517. [Google Scholar] [CrossRef]
- Moeuf, A.; Lamouri, S.; Pellerin, R.; Tamayo-Giraldo, S.; Tobon-Valencia, E.; Eburdy, R. Identification of critical success factors, risks and opportunities of Industry 4.0 in SMEs. Int. J. Prod. Res. 2020, 58, 1384–1400. [Google Scholar] [CrossRef]
- Chen, Y. Industrial information integration—A literature review 2006–2015. J. Ind. Inf. Integr. 2016, 2, 30–64. [Google Scholar] [CrossRef]
- Mortenson, M.J.; Doherty, N.F.; Robinson, S. Operational research from Taylorism to Terabytes: A research agenda for the analytics age. Eur. J. Oper. Res. 2015, 241, 583–595. [Google Scholar] [CrossRef]
- Trieu, V.H. Getting value from Business Intelligence systems: A review and research agenda. Decis. Support Syst. 2017, 93, 111–124. [Google Scholar] [CrossRef]
- Zhang, Y.; Ren, S.; Liu, Y.; Sakao, T.; Huisingh, D. A framework for Big Data driven product lifecycle management. J. Clean. Prod. 2017, 159, 229–240. [Google Scholar] [CrossRef]
- Popovič, A.; Hackney, R.; Tassabehji, R.; Castelli, M. The impact of big data analytics on firms’ high value business performance. Inf. Syst. Front. 2018, 20, 209–222. [Google Scholar] [CrossRef]
- Saldanha TJ, V.; Mithas, S.; Krishnan, M.S. Leveraging Customer Involvement for Fueling Innovation: The Role of Relational and Analytical Information Processing Capabilities. MIS Q. 2017, 41, 367–396. [Google Scholar] [CrossRef]
- Lăzăroiu, G.; Neguriţă, O.; Grecu, I.; Grecu, G.; Mitran, P.C. Consumers’ Decision-Making Process on Social Commerce Platforms: Online Trust, Perceived Risk, and Purchase Intentions. Front. Psychol. 2020, 11, 890. [Google Scholar] [CrossRef] [PubMed]
- Lai, Y.; Sun, H.; Ren, J. Understanding the determinants of big data analytics (BDA) adoption in logistics and supply chain management: An empirical investigation. Int. J. Logist. Manag. 2018, 29, 676–703. [Google Scholar] [CrossRef]
- Oraee, M.; Hosseini, M.R.; Papadonikolaki, E.; Palliyaguru, R.; Arashpour, M. Collaboration in BIM-based construction networks: A bibliometric-qualitative literature review. Int. J. Proj. Manag. 2017, 35, 1288–1301. [Google Scholar] [CrossRef]
- Sinha, A.; Priyadarshi, P.; Bhushan, M.; Debbarma, D. Worldwide trends in the scientific production of literature on traceability in food safety: A bibliometric analysis. Artif. Intell. Agric. 2021, 5, 252–261. [Google Scholar] [CrossRef]
- Mühl, D.D.; de Oliveira, L. A bibliometric and thematic approach to agriculture 4.0. Heliyon 2022, 8, e09369. [Google Scholar] [CrossRef]
- Kim, H.; So, K.K.F. Two decades of customer experience research in hospitality and tourism: A bibliometric analysis and thematic content analysis. Int. J. Hosp. Manag. 2022, 100, 103082. [Google Scholar] [CrossRef]
- Ampese, L.C.; Sganzerla, W.G.; Di Domenico Ziero, H.; Mudhoo, A.; Martins, G.; Forster-Carneiro, T. Research progress, trends, and updates on anaerobic digestion technology: A bibliometric analysis. J. Clean. Prod. 2022, 331, 130004. [Google Scholar] [CrossRef]
- Valderrama-Zurián, J.C.; García-Zorita, C.; Marugán-Lázaro, S.; Sanz-Casado, E. Comparison of MeSH terms and KeyWords Plus terms for more accurate classification in medical research fields. A case study in cannabis research. Inf. Process. Manag. 2021, 58, 102658. [Google Scholar] [CrossRef]
- Lu, W.; Liu, Z.; Huang, Y.; Bu, Y.; Li, X.; Cheng, Q. How do authors select keywords? A preliminary study of author keyword selection behavior. J. Informetr. 2020, 14, 101066. [Google Scholar] [CrossRef]
- Karimanzira, D.; Rauschenbach, T. Enhancing aquaponics management with IoT-based Predictive Analytics for efficient information utilization. Inf. Process. Agric. 2019, 6, 375–385. [Google Scholar] [CrossRef]
- Park, G.; Song, M. Predicting performances in business processes using deep neural networks. Decis. Support Syst. 2020, 129, 113191. [Google Scholar] [CrossRef]
- Tkáč, M.; Verner, R. Artificial neural networks in business: Two decades of research. Appl. Soft Comput. J. 2016, 38, 788–804. [Google Scholar] [CrossRef]
- Shamim, S.; Zeng, J.; Khan, Z.; Zia, N.U. Big data analytics capability and decision making performance in emerging market firms: The role of contractual and relational governance mechanisms. Technol. Forecast. Soc. Chang. 2020, 161, 120315. [Google Scholar] [CrossRef]
- Boakye, E.A.; Zhao, H.; Ahia, B.N.K. Emerging research on blockchain technology in finance; a conveyed evidence of bibliometric-based evaluations. J. High Technol. Manag. Res. 2022, 33, 100437. [Google Scholar] [CrossRef]
- Papi, F.G.; Hübner, J.F.; de Brito, M. A Blockchain integration to support transactions of assets in multi-agent systems. Eng. Appl. Artif. Intell. 2022, 107, 104534. [Google Scholar] [CrossRef]
- Perdana, A.; Lee, H.H.; Koh, S.K.; Arisandi, D. Data analytics in small and mid-size enterprises: Enablers and inhibitors for business value and firm performance. Int. J. Account. Inf. Syst. 2022, 44, 100547. [Google Scholar] [CrossRef]
- Koltai, T.; Tamás, A. Performance evaluation of teams in business simulation games with weight restricted data envelopment analysis models. Int. J. Manag. Educ. 2022, 20, 100688. [Google Scholar] [CrossRef]
- Hadjielias, E.; Christofi, M.; Christou, P.; Hadjielia Drotarova, M. Digitalization, agility, and customer value in tourism. Technol. Forecast. Soc. Chang. 2022, 175, 121334. [Google Scholar] [CrossRef]
- Vroon, T.; Teunissen, E.; Drent, M.; Negro, S.O.; van Sark, W.G.J.H.M. Escaping the niche market: An innovation system analysis of the Dutch building integrated photovoltaics (BIPV) sector. Renew. Sustain. Energy Rev. 2022, 155, 111912. [Google Scholar] [CrossRef]
- Bui, Q.-T.; Lo, F.-Y. Technology multinational enterprises from emerging markets: Competitive interplay of international entry timing decisions. Sustain. Technol. Entrep. 2022, 1, 100019. [Google Scholar] [CrossRef]
- Lee, C.K.M.; Ng KK, H.; Jiao, R.J.; Yang, Z. Editorial Notes: Emerging intelligent automation and optimisation methods for adaptive decision making. Adv. Eng. Inform. 2022, 51, 101500. [Google Scholar] [CrossRef]
- Alwis SDe Hou, Z.; Zhang, Y.; Na, M.H.; Ofoghi, B.; Sajjanhar, A. A survey on smart farming data, applications and techniques. Comput. Ind. 2022, 138, 103624. [Google Scholar] [CrossRef]
- Cottu, P.; Ramsey, S.D.; Solà-Morales, O.; Spears, P.A.; Taylor, L. The emerging role of real-world data in advanced breast cancer therapy: Recommendations for collaborative decision-making. Breast 2022, 61, 118–122. [Google Scholar] [CrossRef] [PubMed]
- Stevens, J.L.; Spaid, B.I.; Breazeale, M.; Esmark Jones, C.L. Timeliness, transparency, and trust: A framework for managing online customer complaints. Bus. Horiz. 2018, 61, 375–384. [Google Scholar] [CrossRef]
- Dyussembayeva, S.; Viglia, G.; Nieto-Garcia, M.; Invernizzi, A.C. It makes me feel vulnerable! The impact of public self-disclosure on online complaint behavior. Int. J. Hosp. Manag. 2020, 88, 102512. [Google Scholar] [CrossRef]
- Hutzinger, C.; Weitzl, W.J. Co-creation of online service recoveries and its effects on complaint bystanders. J. Bus. Res. 2021, 130, 525–538. [Google Scholar] [CrossRef]
- Wu, J.; Wood, G.; Chen, X.; Meyer, M.; Liu, Z. Strategic ambidexterity and innovation in Chinese multinational vs. indigenous firms: The role of managerial capability. Int. Bus. Rev. 2020, 29, 101652. [Google Scholar] [CrossRef]
- Ardito, L.; Messeni Petruzzelli, A.; Dezi, L.; Castellano, S. The influence of inbound open innovation on ambidexterity performance: Does it pay to source knowledge from supply chain stakeholders? J. Bus. Res. 2020, 119, 321–329. [Google Scholar] [CrossRef]
- Sangeetha, M.; Hoti, A.; Bansal, R.; Faez Hasan, M.; Gajjar, K.; Srivastava, K. Facilitating artificial intelligence supply chain analytics through finance management during the pandemic crises. Mater. Today Proc. 2021, 56, 2092–2095. [Google Scholar] [CrossRef]
- Mediavilla, M.A.; Dietrich, F.; Palm, D. Review and analysis of artificial intelligence methods for demand forecasting in supply chain management. Procedia CIRP 2022, 107, 1126–1131. [Google Scholar] [CrossRef]














| Step | Keyword Search | Articles |
|---|---|---|
| 1 | “big data” AND “information management” | 8902 |
| 2 | “data analytics” AND “information management” | 1865 |
| 3 | “big data analytics” AND “information management” | 802 |
| 4 | “operational performance” AND “information management” | 149 |
| 5 | ((“big data analytics” OR “big data” OR “data analytics”) AND “information management” “operational performance”) | 901 |
| 6 | ((“big data analytics” OR “big data” OR “data analytics”) AND “information management” AND (“operational performance” OR “operational productivity”)) | 902 |
| 7 | ((“big data analytics” OR “big data” OR “data analytics”) AND “information management” AND (“operational performance” OR “operational productivity” OR “efficiency”)) | 1354 |
| 8 | ((“big data analytics” OR “big data” OR “data analytics”) AND “information management” AND (“operational performance” OR “operational productivity” OR “efficiency” OR “productivity”)) | 1454 |
| 9 | ((“big data analytics” OR “big data” OR “data analytics”) AND “information management” AND (“operational performance” OR “operational productivity” OR “efficiency” OR “productivity”) AND “decision making”) | 3210 |
| 10 | ((“big data analytics” OR “big data” OR “data analytics”) AND “information management” AND (“operational performance” OR “operational productivity” OR “efficiency” OR “productivity”) AND (“decision making process”) (LIMIT-TO (DOCTYPE, “ar”)) | 650 |
| Documents Written | N. of Authors | Proportion of Authors |
|---|---|---|
| 1 | 1801 | 0.911 |
| 2 | 140 | 0.071 |
| 3 | 22 | 0.011 |
| 4 | 10 | 0.005 |
| 5 | 2 | 0.001 |
| 6 | 2 | 0.001 |
| Sources | Subject Area | Number of Articles | h-Index | Ranking by ABS List | Ranking by Scimago List |
|---|---|---|---|---|---|
| Sustainability (Switzerland) | Management, Monitoring, Policy and Law | 68 | 109 | Q1 | |
| International Journal of Production Economics | Decision Sciences | 56 | 197 | 3 *** | Q1 |
| Benchmarking | Business and International Management | 50 | 66 | 1 * | Q1 |
| Production Planning and Control | Decision Sciences | 42 | 85 | 3 *** | Q1 |
| International Journal of Supply Chain Management | Decision Sciences | 41 | 20 | ||
| International Journal of Production Research | Decision Sciences | 37 | 153 | 3 *** | Q1 |
| International Journal of Operations and Production Management | Decision Sciences | 36 | 146 | 4 **** | Q1 |
| Journal of Enterprise Information Management | Decision Sciences | 35 | 67 | 2 ** | Q1 |
| International Journal of Logistics Management | Business and International Management | 33 | 80 | 1 * | Q1 |
| Supply Chain Management | Business and International Management | 33 | 125 | 3 *** | Q1 |
| Business Process Management Journal | Business and International Management | 29 | 87 | 2 ** | Q1 |
| International Journal of Information Management | Decision Sciences | 28 | 132 | 2 ** | Q1 |
| TQM Journal | Business and International Management | 26 | 72 | 1 * | Q2 |
| Industrial Management and Data Systems | Decision Sciences | 25 | 109 | 2 ** | Q1 |
| Journal of Cleaner Production | Strategy and Management | 24 | 232 | 2 ** | Q1 |
| Uncertain Supply Chain Management | Decision Sciences | 19 | 19 | Q2 | |
| International Journal of Productivity and Performance Management | Business and International Management | 18 | 67 | 1 * | Q2 |
| Technological Forecasting and Social Change | Business and International Management | 18 | 134 | 3 *** | Q1 |
| Journal of Operations Management | Business and International Management | 17 | 199 | 4 **** | Q1 |
| International Journal of Logistics Research and Applications | Decision Sciences | 15 | 38 | 1 * | Q2 |
| Affiliations | Articles |
|---|---|
| Politecnico Di Milano | 20 |
| Universiti Kebangsaan Malaysia | 20 |
| The Hong Kong Polytechnic University | 18 |
| Najran University | 13 |
| Lut University | 11 |
| Norwegian University of Science and Technology | 11 |
| University of Minho | 11 |
| Universiti Teknikal Malaysia Melaka | 10 |
| Universiti Teknologi Malaysia | 10 |
| University of Malaya | 10 |
| Notreported | 9 |
| Rmit University | 9 |
| Spiru Haret University | 9 |
| Swansea University | 9 |
| University of Ljubljana | 9 |
| University of Lorraine | 9 |
| Cefet/Rj: Federal Center for Technological Education of Rio De Janeiro | 8 |
| Chang’an University | 8 |
| Dalian University of Technology | 8 |
| De Montfort University | 8 |
| Authors | Articles | Articles Fractionalized |
|---|---|---|
| Dwivedi Yk | 6 | 1.62 |
| Akter S | 5 | 1.37 |
| Mikalef P | 5 | 1.25 |
| Gunasekaran A | 4 | 1.20 |
| Hawash B | 4 | 0.78 |
| Krogstie J | 4 | 1.00 |
| Kumar A | 4 | 1.20 |
| Macchi M | 4 | 1.08 |
| Polenghi A | 4 | 1.08 |
| Teixeira L | 4 | 1.50 |
| Wang H | 4 | 1.05 |
| Yusof Zm | 4 | 0.78 |
| Zhang Z | 4 | 1.33 |
| Ali S | 3 | 0.83 |
| Chatterjee S | 3 | 0.83 |
| Foropon C | 3 | 0.92 |
| Gupta S | 3 | 0.75 |
| Ismail Z-A | 3 | 3.00 |
| Jayakrishnan M | 3 | 0.83 |
| Paper | Total Citations | TC per Year | Normalized TC |
|---|---|---|---|
| Critical analysis of Big Data challenges and analytical methods [44] | 931 | 133 | 7.1261 |
| Big data analytics in E-commerce: a systematic review and agenda for future research [45] | 347 | 43,375 | 4.6344 |
| The Internet-of-Things: Review and research directions [46] | 305 | 43,571 | 2.3345 |
| Assessing business value of Big Data Analytics in European firms [47] | 228 | 32,571 | 1.7452 |
| Exploring the relationship between big data analytics capability and competitive performance: The mediating roles of dynamic and operational capabilities [48] | 224 | 56 | 7.4692 |
| Agri-food 4.0: A survey of the supply chains and technologies for the future agriculture [49] | 213 | 53,25 | 7.1024 |
| A unified foundation for business analytics [50] | 210 | 21 | 1.7872 |
| Big Data Analytics Capabilities and Innovation: The Mediating Role of Dynamic Capabilities and Moderating Effect of the Environment [51] | 207 | 41,4 | 5.6573 |
| Big data analytics and firm performance: Findings from a mixed-method approach [52] | 203 | 40,6 | 5.5479 |
| The Effect of Big Data and Analytics on Firm Performance: An Econometric Analysis Considering Industry Characteristics [53] | 177 | 29,5 | 4.1788 |
| Roles of artificial intelligence in construction engineering and management: A critical review and future trends [54] | 172 | 57,333 | 14.5858 |
| Identification of critical success factors, risks and opportunities of Industry 4.0 in SMEs [55] | 167 | 41,75 | 5.5686 |
| Industrial information integration—A literature review 2006–2015 [56] | 161 | 20,125 | 2.1503 |
| Operational research from Taylorism to Terabytes: A research agenda for the analytics age [57] | 158 | 17,556 | 3.1349 |
| Getting value from Business Intelligence systems: A review and research agenda [58] | 157 | 22,429 | 1.2017 |
| A framework for Big Data driven product lifecycle management [59] | 156 | 22,286 | 1.1941 |
| The impact of big data analytics on firms’ high value business performance [60] | 143 | 23,833 | 3.3761 |
| Leveraging Customer Involvement for Fueling Innovation: The Role of Relational and Analytical Information Processing Capabilities [61] | 142 | 20,286 | 1.0869 |
| Consumers’ Decision-Making Process on Social Commerce Platforms: Online Trust, Perceived Risk, and Purchase Intentions [62] | 139 | 34,75 | 4.6349 |
| Understanding the determinants of big data analytics (BDA) adoption in logistics and supply chain management: An empirical investigation [63] | 139 | 23,167 | 3.2816 |
Disclaimer/Publisher’s Note: The statements, opinions and data contained in all publications are solely those of the individual author(s) and contributor(s) and not of MDPI and/or the editor(s). MDPI and/or the editor(s) disclaim responsibility for any injury to people or property resulting from any ideas, methods, instructions or products referred to in the content. |
© 2023 by the authors. Licensee MDPI, Basel, Switzerland. This article is an open access article distributed under the terms and conditions of the Creative Commons Attribution (CC BY) license (https://creativecommons.org/licenses/by/4.0/).
Share and Cite
Ragazou, K.; Passas, I.; Garefalakis, A.; Galariotis, E.; Zopounidis, C. Big Data Analytics Applications in Information Management Driving Operational Efficiencies and Decision-Making: Mapping the Field of Knowledge with Bibliometric Analysis Using R. Big Data Cogn. Comput. 2023, 7, 13. https://doi.org/10.3390/bdcc7010013
Ragazou K, Passas I, Garefalakis A, Galariotis E, Zopounidis C. Big Data Analytics Applications in Information Management Driving Operational Efficiencies and Decision-Making: Mapping the Field of Knowledge with Bibliometric Analysis Using R. Big Data and Cognitive Computing. 2023; 7(1):13. https://doi.org/10.3390/bdcc7010013
Chicago/Turabian StyleRagazou, Konstantina, Ioannis Passas, Alexandros Garefalakis, Emilios Galariotis, and Constantin Zopounidis. 2023. "Big Data Analytics Applications in Information Management Driving Operational Efficiencies and Decision-Making: Mapping the Field of Knowledge with Bibliometric Analysis Using R" Big Data and Cognitive Computing 7, no. 1: 13. https://doi.org/10.3390/bdcc7010013
APA StyleRagazou, K., Passas, I., Garefalakis, A., Galariotis, E., & Zopounidis, C. (2023). Big Data Analytics Applications in Information Management Driving Operational Efficiencies and Decision-Making: Mapping the Field of Knowledge with Bibliometric Analysis Using R. Big Data and Cognitive Computing, 7(1), 13. https://doi.org/10.3390/bdcc7010013

