Previous Article in Journal
A Novel Prairie Dog Optimization for Energy Management of Multi-Microgrid System Considering Uncertainty and Load Management
 
 
Font Type:
Arial Georgia Verdana
Font Size:
Aa Aa Aa
Line Spacing:
Column Width:
Background:
Article

Hole-Blade Treatment in High-Speed Axial Compressors

by
Mohammad Javad Shahriyari
1,
Hossein Khaleghi
1,*,
Andrea Magrini
2,* and
Ernesto Benini
2
1
Department of Aerospace Engineering, Amirkabir University of Technology, Tehran 15875-4413, Iran
2
Department of Industrial Engineering, University of Padova, 3531 Padua, Italy
*
Authors to whom correspondence should be addressed.
Designs 2025, 9(6), 131; https://doi.org/10.3390/designs9060131
Submission received: 29 September 2025 / Revised: 10 November 2025 / Accepted: 17 November 2025 / Published: 21 November 2025

Abstract

The effect of a novel blade treatment on the performance characteristics of NASA Rotor 37 is investigated numerically in this study. The treatment includes making special holes in the blade and near the tip section. The impact of the treatment on the end-wall flow structure is evaluated and discussed. Furthermore, the influence of the streamwise location and the angle of the holes is investigated. The results reveal that a significant stability enhancement can be achieved by the appropriate design of the hole location and configuration, at the expense of a small degradation in the peak efficiency and pressure ratio. It is shown that the position of the holes should be downstream of the passage shock wave to maximize the operating range of the rotor. In this situation, the shock is sucked back by the hole, which reduces its angle and postpones stall inception. Maximum stability improvement (about 30%) has been obtained for a hole angle equivalent to 75 degrees and a 60% chord location.

1. Introduction

Efforts to improve gas turbine engine performance while reducing size and weight have resulted in more complex turbomachinery flows [1], stability problems [2,3,4,5,6,7], and manufacturing and assembly issues [8]. The design point of aero compressors is typically located far enough from the stall point to prevent rotating stall and surge [9]. Significant efforts have been dedicated to postponing the occurrence of these compressor aerodynamic instabilities, by using active and passive stall control methods. Casing and blade treatments are two passive approaches for enhancing compressor stability. Different types of casing treatment have been studied experimentally and numerically by a number of researchers [10,11,12]. The most effective efforts have used circumferential grooves or axial slots over the compressor endwall casing. Smith and Cumpsty [13] published the results of an experimental study on an axially skewed slot casing treatment. The slots had a total open area of about 0.7 and were inclined to the radial direction at a 60 degree angle. They showed that the provision of a flow path between the pressure and suction surfaces was the main impact of the casing treatment that causes compressor range extension. Emmrich et al. [14] explored axial and radial skewed slots in a high subsonic compressor experimentally. A 50 percent increase in operating range was attained at the penalty of a 1.4 percent decrease in compressor efficiency. A numerical investigation on axial skewed slot casing treatment on a low-speed compressor was conducted by Crook et al. [15]. They discovered that the slots avoided stall through two primary effects: suction of the low total pressure fluid at the rear of the passage and energizing of the tip leaking flow.
Blade treatment is another passive approach that has been suggested by some researchers recently (e.g., blade tip winglet, tip squealer, etc.). Gourdain and Leboeuf [16] simulated an axial compressor with casing and blade treatments. Casing treatment with nonaxisymmetric slots demonstrated adequate control of tip leakage flow but did not improve boundary layer separation on the suction side. Nonetheless, an improvement in operability was achieved, with a penalty in efficiency. They also studied blade treatment, which consisted of a longitudinal groove at the tip of each rotor blade. Their results revealed that the treatment could control a majority of end wall flow, while the efficiency remained constant. They concluded that the blade treatment could be more effective than the casing treatment method. Ding et al. [17] studied the influence of boundary layer suction holes created on the suction surface of a compressor cascade with a large camber angle, numerically and experimentally. The findings showed that both the side and middle suctions on the suction surface could efficiently remove low-energy fluid, hence increasing cascade load capacity, while successfully preventing corner flow separation. The aerodynamic efficiency of the cascade was clearly increased by center and side suctions, and it was also influenced by changes in suction location. The best location for middle suction holes was found to be 60–66 percent chord from the leading edge, whereas the optimum position for side suction holes was a bit downstream of the corner separation line. Chen et al. [18] investigated the effect of boundary layer suction on flow characteristics in a highly loaded compressor cascade (with clearance). Different positions and distributions of suction holes were investigated. Results showed that boundary layer suction could reduce tip clearance flow losses. Zhao et al. [19] conducted numerical research on the tip winglet and its influence on the stability of a high-load compressor stage. The results showed that the winglet chordwise thickness distribution had a significant impact on improving the stage operating range. They showed that the winglet reduces leakage mass flow by accelerating the flow at the tip of the blade, increasing the axial momentum while decreasing the circumferential momentum of the flow. The stall margin was increased by 25.39% in the optimum winglet case. Cui et al. [20] investigated the effect of the pressure-side winglet on the stall margin of NASA Rotor-37. The simulations suggested that the pressure-side winglet had a considerable impact on the operating range and maximum efficiency of the rotor. The winglet had the same efficiency compared to the baseline and did not cause any appreciable aerodynamic losses at the blade tip. Furthermore, the results demonstrated that the optimum winglet reduced tip leakage mass flow by 20% while increasing operating range by 15%. Ji-bo et al. [21] studied the impact of four different winglets at the tip of the NASA Rotor-37. All of the winglets extend the rotor’s operating range; however, the findings showed that the suction-side winglet was more effective than the pressure-side one. The best suction-side winglet increased the stability margin by 4.93% while maintaining the efficiency fixed. Syka et al. [22] analyzed the influence of the so-called technological holes in a centrifugal compressor numerically. They demonstrated that in some specific cases, improper design of technological hole diameter, position, or orientation might result in substantially reduced performance parameters. Zhang et al. [23] controlled flow separation in a highly loaded compressor cascade using unsteady pulsed suction through endwall bleeding holes. The optimum excitation frequencies were found to be integer multiples of vortex shedding’s natural frequency. Matas et al. [24] investigated the effect of technological holes on the performance of a centrifugal compressor experimentally and numerically. The simulation results with the technical holes showed a very small influence on the pressure characteristic and mass flow rate. Furthermore, efficiency was decreased by up to 1.8%, depending on the position of the holes. Jung et al. [25] evaluated the impacts of a recessed blade tip on NASA Rotor-67. They demonstrated that the depth and length of the recessed blade tip can increase the rotor stall margin. They showed that a strong vortex was formed in the recess cavity, reducing the tip leakage flow. The best recess cavity increased the stall margin by 0.4% while keeping the efficiency unchanged. Tang et al. [26] used blade-end slots to reorganize the flow at the blade ends of a highly loaded compressor cascade with a large incidence range. The findings demonstrated that the proposed method efficiently suppressed corner separation while also broadening the effective operating range. Flow details further showed that the blade end slots could create self-adaptive high-momentum jet flows, due to the pressure difference between the blade pressure and suction surface.
The main objective of this study is to investigate a novel blade treatment method on a high-speed axial flow compressor rotor. The treatment includes making special holes in the blade and near the tip section. Furthermore, the influence of the streamwise location and the angle of the holes is investigated in this research.
The blade treatment investigated in this study incorporates a circular hole located near the blade tip. When positioned at an appropriate location and angle, this hole is expected to displace the shock wave downstream within the rotor passage, thereby extending the rotor’s operating range. Furthermore, the hole reduces the pressure difference between the pressure and suction sides, resulting in decreased blade loading near the blade tip. This effect, coupled with the momentum transfer from the pressure to the suction side, contributes to an increase in rotor operating range. It should be noted that this method has been investigated on an isolated rotor. Further studies are required to extend this method to multi-stage compressors. In addition, the effectiveness of this method may differ in subsonic compressors.

2. Geometry and Numerical Setup

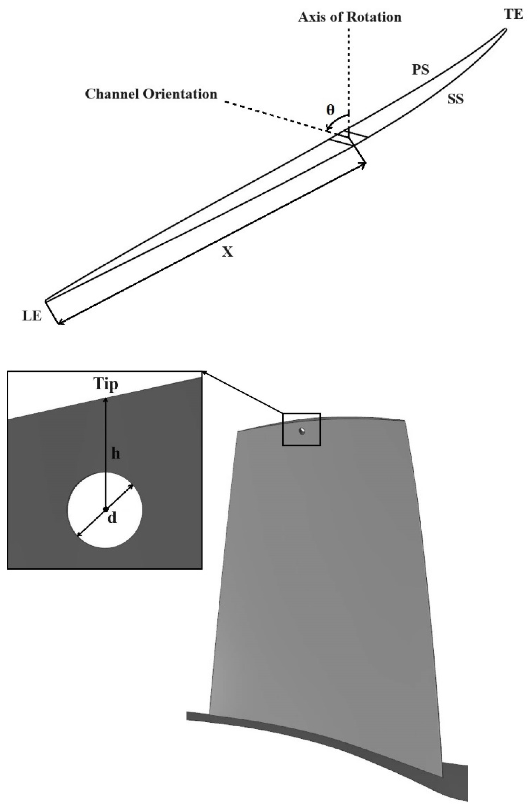
The numerical simulations in the current study have been performed on a well-known transonic compressor rotor, the NASA Rotor 37. The design parameters of this isolated rotor are shown in Table 1. The blade treatment investigated in the current study includes a circular hole located near the tip of the blade. The diameter of the hole is equivalent to 1.7 percent of the blade span (d is equivalent to 1.7% in Figure 1). As illustrated in Figure 1, the center of the hole is located at 96.75 percent span (h is equivalent to 2.65% of blade span) in all of the configurations. A parametric study of the streamwise position of the hole has been performed in the current investigation. Furthermore, the effect of the hole centerline angle (with respect to the axis shown Figure 1) has been studied. Table 2 gives the configurations investigated in this work (nine streamwise locations and eight hole angles).
STAR-CCM+ 2020.1.1 software commercial code has been employed to numerically solve the Navier–Stokes equations. A polyhedral mesh is used in this study because it gives a faster grid independence as compared to a tetrahedral mesh. Furthermore, a polyhedral mesh is better for a geometry with high complexity [28]. Figure 1 depicts the computational grid used in the numerical simulations. Figure 2a,b shows the grid on the meridional plane and the blade-to-blade surface at 95 percent span, respectively. In addition, Figure 2c depicts the grid at 97.5 percent span passing through the center of the hole. For the no-treatment rotor, 3,109,329 elements have been used. The number of elements varied between 3.4 and 3.6 million for the treated rotor with different hole geometries. It should be noted that the mesh settings are the same with and without treatment. In the boundary layer region, the distance between the first layer and all solid parts is fixed at 1 micron. Furthermore, for all boundary layer regions, 28 prism layers with aspect ratios equal to 1.2 are used, with the exception of the hole region, which has 20 prism layers with aspect ratios equal to 1.2. The maximum value of y+ in all regions is less than 1.5. In this work, all simulations were conducted under steady-state conditions, and the k-ω SST turbulence model was used, which has good accuracy in pressure gradient flows. At solid boundaries, no-slip and no heat transfer conditions are imposed. Furthermore, all wall surfaces are assumed to be smooth. At the inlet boundary, total temperature and total pressure distribution (based on experimental data [27]) are specified. Average gauge static pressure is imposed at the outlet. Finally, periodic flow conditions are applied for the periodic boundaries from the blade passage to the neighboring one.

3. Validation of Numerical Results

The grid independence analysis has been performed in order to validate the numerical simulations obtained in the current study (by conducting numerical simulations for five grids). The convergence criteria for each simulation point were defined as a reduction in residuals to below 10−3, along with the stabilization of total and static pressure, as well as total and static temperature at the rotor outlet. Figure 3 depicts the results for one operating condition (static back pressure equal to 125,000 Pa). Based on that and as mentioned earlier, the mesh with 3,109,329 elements was chosen. Choke-to-stall simulations have been performed by progressively increasing the back-static pressure. The near-stall point is defined as the final stable operating state for which a steady simulation can be obtained. Figure 4 compares the computed and tested (Suder [27]) rotor characteristic curves. The calculated total pressure ratio and adiabatic efficiency (Equations (1) and (2)) agree well with the experimental [27] results. Excellent agreement is observed at the final stable operating point, with minimal discrepancies of 0.45% for mass flow rate, 0.67% for pressure ratio, and 0.88% for efficiency, thereby confirming the validity of the numerical model.
P R = P 02 P 01
η a d = P R γ 1 γ 1 T 02 T 01 1

4. Results and Discussion

In order to investigate the importance of the hole angle, Case A-30 and Case B-60 have been simulated first. As was specified in Table 2, in Case A-30 and Case B-60, the hole is located at 60 percent chord. However, in case A-30, the hole angle with respect to the axis shown in Figure 1 is 30 degrees (the hole is almost perpendicular to the blade surface), whereas in Case B-60, the hole angle is 97.5 degrees.
Figure 5 shows the performance curves of the two mentioned configurations. As can be seen in these figures, Case A-30 has slightly decreased (−1.5% based on Equation (3)) the operating range of the rotor. However, case B-60 shows considerable range extension (11% based on Equation (3)). Note that the operating range variation for all cases was calculated using Equation (3).
Figure 6 depicts the flow vectors shown on a surface passing through the middle height of the hole for Cases A-30 and B-60. As shown in Figure 6a, in Case A-30, a vortex has been formed in the hole, which blocks the hole flow. However, in Case B-60, where the hole angle has been increased to 97.5 degrees, the vortex has been removed and the endwall air can flow from pressure to suction side almost uniformly, resulting in rotor range extension.
  m ˙ c h o k e ,   h o l e m ˙ s t a l l ,   h o l e m ˙ c h o k e ,   n o h o l e m ˙ s t a l l , n o h o l e m ˙ c h o k e ,   n o h o l e m ˙ s t a l l , n o h o l e × 100
As shown above, the angle of the hole has an important effect on the operating range of the rotor. So, in this section, the hole angle is kept constant (at 97.5 degrees) and the effects of hole location on the performance of the rotor are studied.
As mentioned earlier, a parametric study of the effect of the hole’s streamwise location on the compressor performance and operability has been performed in this investigation. As shown in Table 2, the streamwise location of the hole varied from 10 to 90 percent tip chord from the blade leading edge (Cases B-10 to B-90). Note that in these configurations, the hole angle is kept constant (at 97.5 degrees). Numerical computations have been performed from choke to near-stall for all of the configurations. Figure 7 illustrates the effect of the hole position on the compressor performance (in terms of the change in the compressor operating range, peak pressure ratio, and peak efficiency). As shown in Figure 7a, case B-10 (in which the hole is located near the blade leading edge), reduced the operating range by 3.5 percent. Moving the hole toward the blade trailing edge from 10 to 20 percent chord location (Case B-20) provides about 5 percent range extension. Increasing the distance between the hole center and the blade leading edge up to 50 percent chord is beneficial to rotor stability. Maximum range extension is achieved for Case B-50, which is equal to about 23 percent. However, behind the 50 percent chord location (Cases B-60 to B-90), the operating range extension is smaller, varying between about 11 and 7 percent. According to Figure 7b, the treatment applied has reduced the rotor peak pressure ratio in all of the configurations. This reduction in the peak pressure ratio is approximately the same for different configurations (between 1.8 and 2 percent reference to the smooth blade), except Cases B-30 and B-40, for which the pressure loss is larger (2.5 to 3 percent). As will be shown later, the main reason is the shock-hole interaction near the stall-point condition. The rotor adiabatic efficiency also decreases in the treated configurations, as illustrated in Figure 7c. Note that the maximum efficiency loss in different hole positions varies from 2 to 2.1 percent.
In summary, it can be stated that the hole can increase rotor stability (at the expense of some loss in the peak pressure ratio and efficiency), except when located close to the blade leading edge. Furthermore, there is an optimum location with maximum stability enhancement, which is at 50 percent chord in the current study.
In order to uncover the causes of the above results and to investigate the flow mechanisms leading to operating range improvement, relative Mach number contours are shown at the center plane of the hole in Figure 8. The smooth blade and Cases B-20 to B-90 are illustrated in this figure. In order to study the effect of the hole, all of the cases should be taken at the same mass flow rate. Therefore, the contour plots in Figure 8 are all taken at the near-stall mass flow of the smooth blade. Case B-10 is not shown because its near-stall point is at a higher mass flow compared to the smooth blade. In addition, Table 3 depicts the mass flow rate passing through the hole for all of the cases. According to Table 3, the hole mass flow rate has decreased from Case B-10 to B-90. Given that the maximum mass flow rate is provided by Case B-10, one may think that this configuration should give maximum stability. However, as shown in Figure 7, Case B-10 reduces the operating range compared to the smooth blade. The reason is that the blockage occurred on the pressure side due to the hole flow. Although Case B-20 shown in Figure 8b creates some blockage on the pressure side of the blade, the shock is pushed downstream as compared to the smooth blade due to the hole flow (compare the location of the shock wave on the suction side in Case B-20 and the smooth blade). When the hole is moved toward the blade trailing edge in Case B-30, the pressure drop caused by the hole flow sucks the shock wave. This effect moves the shock upstream and leads to shock–hole interaction. As illustrated in Figure 8c, the shock structure becomes different in this case. It should be noted that moving the shock upstream in the passage is generally a negative effect (if occurring due to an increase in the back pressure), because the shock strength increases. However, the story is different in Case B-30, because the shock has moved upstream due to the suction provided by the hole (and not due to back pressure). Therefore, the shock becomes more oblique and its strength reduces, resulting in some range extension (about 7 percent as was shown in Figure 7). Moving the hole from 30 percent chord to 40, pulls the shock downstream in the passage, increasing the amount of range extension to about 12.2 percent. In the best configuration (Case B-50 which is shown in Figure 8e), the hole is located slightly after the passage shock. The pressure contours show that the shock has moved downstream in Case B-50, compared to the smooth blade, which is due to the hole suction. Furthermore, the separated region on the suction side and near the blade tailing edge is comparatively smaller in Case B-50. The reason is that the hole is located just after the shock wave, and therefore can more effectively control the flow separation, as compared to Case B-30 or B-40. In Case B-60, the stability has been decreased because the effect of the hole on the shock wave has decreased, hence the shock has moved upstream, as compared to Case B-50. When the hole moves away from the shock wave in Cases B-70 to B-90, the effect of the hole on the shock decreases (as compared to Case B-60) and remains constant for these cases.
It is worth mentioning that in Table 3, the mass flow rate of the hole abruptly decreases between Case B-30 and B-40, which is due to the shock–hole interaction.
In this section, the blade loading is investigated to provide a more detailed analysis of the flow physics described above. Figure 9 illustrates the blade loading at 99% span for both the smooth blade and Case B-40. Note that the hole center is located at 96.75% span. As can be seen, the hole has led to a decrease in blade loading upstream of its location near the leading edge. The reduction in blade loading, particularly near the leading edge, has enhanced rotor stability. The location of the hole is specified in Figure 9. Region A refers to the upstream edge of the hole that interacts with the shock waves on the blade suction side. Region B explains the impact of the passage shock passing through the hole on the blade’s pressure surface, resulting in a sharp pressure rise in Case B-40. Note that the shock wave in the smooth rotor does not interact with the pressure surface, and therefore, no sudden pressure rise is observed on the pressure surface (compare the relative Mach number contours on the pressure surface and near the hole in Figure 8a,d). The downstream edge of the hole is indicated by Region C. A sudden pressure rise occurs in this region (compare it with the smooth rotor). This sudden pressure rise indicates the influence of the shock wave interacting with the downstream edge of the hole, as depicted in Figure 8d. The comparison of the smooth rotor loading with that of Case B-40 reveals that initial shock waves formed more rapidly in Case B-40. Comparison of the smooth rotor and Case B-40 reveals that shock waves formed earlier in Case B-40. In contrast, the smooth rotor experienced a sudden, stronger shock. In Case B-40, the shock dispersed more than in the smooth rotor (compare Figure 8a,d). So, the shock moved until the downstream edge of the hole in Case B-40, which reduced the shock strength and pushed the shock waves back more than in the smooth rotor.
Figure 10 provides a comparison of the blade loading for Cases B-40, B-50, and the smooth rotor at 99% of the blade span. This figure compares the blade loading between Case B-40 and Case B-50, highlighting the reduction in blade loading near the trailing edge and after the hole in Case B-50. The reason for this is that in Case B-50, the shock occurred before the hole, and the hole does not affect the upstream flow. As shown in the figure, unlike Case B-40, the shock wave in Case B-50 moved downstream 3.56% relative to the smooth rotor (compare Figure 8d,e).
The angle of the hole is one of the key parameters, as demonstrated earlier (the comparison between Case B-60 and Case A-75 in Figure 11). In order to evaluate the effect of the hole angle on rotor performance, the angle of Case B-60 varied from 0 to 97 degrees. Case B-60 is carefully chosen based on the above results, because maximum range extension was achieved when the hole could effectively pull the shock wave back. On the other hand, the effectiveness of Case B-60 was less than that of Case B-50. Therefore, the goal is to determine whether or not changing the hole angle can further pull the shock wave back. Figure 11 depicts the impact of the hole angle for the mentioned configurations. As shown in this figure, the angle of the hole has a significant effect on rotor operability. The amount of stability enhancement in Case A-75 (the hole is located at 60 percent chord, and its angle is 75 degrees) is significantly greater than in the others. In order to explain this finding, the relative Mach number contours are plotted for Cases A-15, A-75, and B-60 in Figure 12. These cases are shown at the near-stall condition of the smooth blade, except Case A-15, which is depicted at its stall point (because its stalling mass flow is greater than that of the smooth blade). In Case A-15, the injecting flow has increased the blockage on the blade suction side, which consequently reduces the rotor operating range (the same occurs in Cases A-0 to A-45). When the hole angle is increased (greater than 45 degrees), the stability also increases. Maximum stability is achieved in Case A-75 (approximately 30%). Figure 12 shows that Case A-75 has further pulled the shock back in the passage, as compared to Case B-60.
Additionally, Case A-75 enhances the operating range more than Case B-50. Figure 13 compares the characteristic curve of Case A-75 and Case B-50 (the best configurations in terms of operating range extension). Referring back to Figure 7, with a hole angle of 97 degrees, the best configuration was Case B-50 (in terms of stability). However, Case A-75 appears to be more stable than Case B-50. This emphasizes the importance of the hole angle.
Table 4 illustrates the mass flow rate through the holes for different configurations (at the same mass flow rate corresponding to the stalling condition of the smooth blade). As shown in Table 4, the mass flow rate through the hole is nearly constant for Cases A-0 to A-45, but for hole angles greater than 60 degrees (Cases A-60 to Case B-60), the mass flow rate increases as the hole’s angle increases. The reason is the formation of a vortex within the hole, which blocks the passing flow, as shown in Figure 6a for Case A-30. By increasing the hole angle, the size of the formed vortex reduces, so that in Case A-90 and Case B-60 (hole angle equal to 90 and 97 degrees, respectively), the vortex has been removed. However, as previously stated, Case A-75 significantly improves rotor stability over Cases A-90 and B-60. The reason is more passage suction (hence more backward movement of the shock wave) provided by Case A-75, as compared to Case B-60.

5. Conclusions

In this study, the influence of a novel blade treatment on enhancing the operating range of a transonic axial flow compressor rotor has been investigated numerically. Circular holes (having the same diameter of 1.7% blade span) with different angles have been made in the blade near the tip region. The centers of the holes are located at 96.75% of the blade span. To study the impact of the hole location, the position of the holes has been changed from 10% to 90% of the chord. Results showed that in order to effectively enhance the rotor’s operating range, the holes should be located downstream of the passage shock wave. It has been demonstrated that holes located downstream of the passage shock pull the shock back and decrease its angle, causing an enhancement in the operating range of the rotor. When the hole is located upstream of the passage shock, the hole flow pushes the shock backwards, but also makes some flow blockage on the suction surface of the blade, causing a small range extension in some cases. The findings reveal that for the same hole angle, the hole’s location has an optimum value. For a 97.5 degree angle, the optimum hole is located at 50% of the chord, resulting in a 22.89% improvement in operating range.
This study shows that the hole angle plays an important role in the performance of the rotor. It should be designed so that the flow through the hole sucks the shock downstream. For the hole located at 60% of the chord, it has been shown that having an inappropriate hole angle could decrease the rotor operating range. In addition, each hole location has an optimum angle. For the 60% hole location, the optimum angle is 75 degrees, resulting in a 29.83% improvement in the rotor operating range.

Author Contributions

Conceptualization, M.J.S., H.K., E.B. and A.M.; methodology, M.J.S., H.K., E.B. and A.M.; software, M.J.S.; validation, M.J.S.; formal analysis, M.J.S. and H.K.; investigation, M.J.S. and H.K.; resources, M.J.S.; writing—original draft preparation, M.J.S.; writing—review and editing, H.K., E.B. and A.M.; visualization, M.J.S.; supervision, H.K., E.B. and A.M. All authors have read and agreed to the published version of the manuscript.

Funding

This research received no external funding.

Data Availability Statement

The datasets presented in this article are not readily available because the data are part of an ongoing study. Requests to access the datasets should be directed to the authors.

Conflicts of Interest

The authors declared no potential conflicts of interest with respect to the research, authorship, and/or publication of this article.

Abbreviations

The following abbreviations are used in this manuscript:
m ˙ Mass flow rate
P0Average total pressure
PRTotal pressure ratio
T0Average total temperature
η a d Adiabatic efficiency
γRatio of specific heats
adAdiabatic
01Total condition at inlet
02Total condition at outlet

References

  1. Shahriyari, M.J.; Khaleghi, H.; Sadoddin, M.; Benini, E. Impact of solidity and speed ratio on the performance of a contra-rotating fan. Proc. Inst. Mech. Eng. Part A J. Power Energy 2024, 238, 365–381. [Google Scholar] [CrossRef]
  2. Shahriyari, M.J.; Khaleghi, H.; Heinrich, M. A model for stall and surge in low-speed contra-rotating fans. J. Eng. Gas Turbines Power 2019, 141, 081009. [Google Scholar] [CrossRef]
  3. Khaleghi, H.; Shahriyari, M.J.; Heinrich, M. A theory for rotating stall in contra-rotating fans. Proc. Inst. Mech. Eng. Part C J. Mech. Eng. Sci. 2021, 235, 3764–3773. [Google Scholar] [CrossRef]
  4. Shahriyari, M.; Khaleghi, H.; Heinrich, M. A model for predicting post-stall behavior of axial compressors. J. Appl. Fluid Mech. 2020, 14, 897–908. [Google Scholar] [CrossRef]
  5. Khaleghi, H.; Shahriyari, M.J.; Heinrich, M. A theory for predicting stall cell transient behavior. Amirkabir J. Mech. Eng. 2021, 53, 4773–4788. [Google Scholar] [CrossRef]
  6. Hassanzadeh Bafghi, A.; Shahriyari, M.J.; Khaleghi, H. Numerical Study of the Effects of Blade Tip Clearance on the Performance of a Multi-Stage Transonic Axial Compressor. Amirkabir J. Mech. Eng. 2025, 57, 187–214. [Google Scholar] [CrossRef]
  7. Shahriyari, M.J.; Khaleghi, H. Fast tools for predicting compressor performance during surge and stall. Proc. Inst. Mech. Eng. Part G J. Aerosp. Eng. 2025, 09544100251377131. [Google Scholar] [CrossRef]
  8. Liu, J.; Fancheng, W.; Huang, S.; Wu, Z.; Zhou, H.; Chai, W.; Zheng, W. The hydrodynamic characteristics analysis of a centrifugal pump with the impeller angular misalignment fault. Proc. Inst. Mech. Eng. Part A J. Power Energy 2025, 239, 639–652. [Google Scholar] [CrossRef]
  9. Shahriyari, M.J.; Firouzabadi, A.; Khaleghi, H.; Esmailifar, S.M. A new model for compressor surge and stall control. Sci. Rep. 2024, 14, 5347. [Google Scholar] [CrossRef]
  10. Shahriyari, M.J.; Khaleghi, H. URANS Simulation of Self-Recirculation Casing Treatment in a Transonic Compressor. J. Appl. Fluid Mech. 2024, 17, 1073–1082. [Google Scholar] [CrossRef]
  11. Khaleghi, H.; Heinrich, M.; Shahriyari, M.J. Circumferential casing treatment in a transonic fan. Amirkabir J. Mech. Eng. 2021, 53, 4189–4202. [Google Scholar] [CrossRef]
  12. Shahriyari, M.J.; Khaleghi, H.; Sadoddin, M.; Benini, E. Impact of injection angle on the performance of a contra-rotating fan. Proc. Inst. Mech. Eng. Part A J. Power Energy 2025, 239, 1163–1173. [Google Scholar] [CrossRef]
  13. Smith, G.D.; Cumpsty, N.A. Flow phenomena in compressor casing treatment. J. Eng. Gas Turbines Power 1984, 106, 532–541. [Google Scholar] [CrossRef]
  14. Emmrich, R.; Hönen, H.; Niehuis, R. Time resolved experimental investigations of an axial compressor with casing treatment. J. Turbomach. 2008, 131, 011018. [Google Scholar] [CrossRef]
  15. Crook, A.J.; Greitzer, E.M.; Tan, C.S.; Adamczyk, J.J. Numerical simulation of compressor endwall and casing treatment flow phenomena. J. Turbomach. 1993, 115, 501–512. [Google Scholar] [CrossRef]
  16. Gourdain, N.; Leboeuf, F. Unsteady simulation of an axial compressor stage with casing and blade passive treatments. J. Turbomach. 2009, 131, 021013. [Google Scholar] [CrossRef]
  17. Ding, J.; Chen, S.; Xu, H.; Sun, S.; Wang, S. Control of flow separations in compressor cascade by boundary layer suction holes in suction surface. In Turbo Expo: Power for Land, Sea, and Air, Proceedings of the ASME Turbo Expo 2013: Turbine Technical Conference and Exposition, San Antonio, TX, USA, 3–7 June 2013; American Society of Mechanical Engineers: New York, NY, USA, 2013; Volume 55225, p. V06AT35A012. [Google Scholar] [CrossRef]
  18. Chen, S.W.; Sun, S.J.; Xu, H.; Wang, S.T. Experimental study of the impact of hole-type suction on the flow characteristics in a high-load compressor cascade with a clearance. Exp. Therm. Fluid Sci. 2013, 51, 220–226. [Google Scholar] [CrossRef]
  19. Zhao, A.; Wu, W.; Hu, Y.; Zhong, J. Influence of the chordwise distribution of tip winglets on the stability of a high-load compressor stage. Phys. Fluids 2023, 35, 104111. [Google Scholar] [CrossRef]
  20. Cui, W.; Wang, X.; Yao, F.; Zhao, Q.; Liu, Y.; Liu, L.; Wang, C.; Yang, L. Effects of width variation of pressure-side winglet on tip flow structure in a transonic rotor. J. Therm. Sci. 2022, 31, 141–150. [Google Scholar] [CrossRef]
  21. Ji-bo, Y.; Wu-li, C.; Sha, Z. Research on the Influence of Different Installation Positions of Blade Tip Winglets on the Flow Field of a Transonic Compressor Rotor. In Proceedings of the 2021 12th International Conference on Mechanical and Aerospace Engineering (ICMAE), Athens, Greece, 16–19 July 2021; IEEE: New York, NY, USA, 2021; pp. 423–428. [Google Scholar] [CrossRef]
  22. Syka, T.; Luňáček, O.; Kňourek, J. Numerical simulation of radial compressor stages with seals and technological holes. InEPJ Web Conf. 2014, 67, 02115. [Google Scholar] [CrossRef]
  23. Zhang, H.; Chen, S.; Meng, Q.; Wang, S. Flow separation control using unsteady pulsed suction through endwall bleeding holes in a highly loaded compressor cascade. Aerosp. Sci. Technol. 2018, 72, 455–464. [Google Scholar] [CrossRef]
  24. Matas, R.; Syka, T.; Hurda, L. Experimental investigation and numerical modelling of 3D radial compressor stage and influence of the technological holes on the working characteristics. InEPJ Web Conf. 2018, 180, 02060. [Google Scholar] [CrossRef]
  25. Jung, Y.J.; Jeon, H.; Jung, Y.; Lee, K.J.; Choi, M. Effects of recessed blade tips on stall margin in a transonic axial compressor. Aerosp. Sci. Technol. 2016, 54, 41–48. [Google Scholar] [CrossRef]
  26. Tang, Y.; Liu, Y.; Lu, L.; Lu, H.; Wang, M. Passive separation control with blade-end slots in a highly loaded compressor cascade. AIAA J. 2020, 58, 85–97. [Google Scholar] [CrossRef]
  27. Suder, K.L. Experimental Investigation of the Flow Field in a Transonic, Axial Flow Compressor with Respect to the Development of Blockage and Loss; Case Western Reserve University: Cleveland, OH, USA, 1996. [Google Scholar]
  28. Burns, A. Turbine Tip Clearance Control Using Fluidic Oscillators. Ph.D. Thesis, University of Kansas, Lawrence, KS, USA, 2015. [Google Scholar]
Figure 1. Geometry and configuration of the hole.
Figure 1. Geometry and configuration of the hole.
Designs 09 00131 g001
Figure 2. Computational grid. (a) Blades; (b) blade-to-blade at 95% span; (c) blade-to-blade at 96.75% span (center of the hole).
Figure 2. Computational grid. (a) Blades; (b) blade-to-blade at 95% span; (c) blade-to-blade at 96.75% span (center of the hole).
Designs 09 00131 g002aDesigns 09 00131 g002b
Figure 3. Grid study.
Figure 3. Grid study.
Designs 09 00131 g003
Figure 4. Rotor-37 characteristics. (a) Pressure ratio; (b) efficiency.
Figure 4. Rotor-37 characteristics. (a) Pressure ratio; (b) efficiency.
Designs 09 00131 g004aDesigns 09 00131 g004b
Figure 5. Smooth and treated blade characteristics. (a) Pressure ratio; (b) efficiency.
Figure 5. Smooth and treated blade characteristics. (a) Pressure ratio; (b) efficiency.
Designs 09 00131 g005
Figure 6. Velocity vectors at 96.75% span (center of the hole). (a) Case A-30; (b) Case B-60.
Figure 6. Velocity vectors at 96.75% span (center of the hole). (a) Case A-30; (b) Case B-60.
Designs 09 00131 g006
Figure 7. Hole impact on the rotor performance. (a) Range extension; (b) decrease in peak pressure ratio; (c) decrease in peak efficiency.
Figure 7. Hole impact on the rotor performance. (a) Range extension; (b) decrease in peak pressure ratio; (c) decrease in peak efficiency.
Designs 09 00131 g007aDesigns 09 00131 g007b
Figure 8. Relative Mach number contours at the stalling mass flow rate of the smooth blade. (a) Smooth rotor; (b) Case B-20; (c) Case B-30; (d) Case B-40; (e) Case B-50; (f) Case B-60; (g) Case B-70; (h) Case B-80; (i) Case B-90.
Figure 8. Relative Mach number contours at the stalling mass flow rate of the smooth blade. (a) Smooth rotor; (b) Case B-20; (c) Case B-30; (d) Case B-40; (e) Case B-50; (f) Case B-60; (g) Case B-70; (h) Case B-80; (i) Case B-90.
Designs 09 00131 g008aDesigns 09 00131 g008bDesigns 09 00131 g008c
Figure 9. Blade loading at 99% blade span for the smooth rotor and Case B-40.
Figure 9. Blade loading at 99% blade span for the smooth rotor and Case B-40.
Designs 09 00131 g009
Figure 10. Blade loading at 99% blade span for the smooth rotor, Case B-40, and Case B-50.
Figure 10. Blade loading at 99% blade span for the smooth rotor, Case B-40, and Case B-50.
Designs 09 00131 g010
Figure 11. Rotor range extension (hole location = 60%).
Figure 11. Rotor range extension (hole location = 60%).
Designs 09 00131 g011
Figure 12. Relative Mach number contours. (a) Case A-15; (b) Case A-75; (c) Case B-60.
Figure 12. Relative Mach number contours. (a) Case A-15; (b) Case A-75; (c) Case B-60.
Designs 09 00131 g012
Figure 13. Smooth and best-treated blade characteristics. (a) Pressure ratio; (b) efficiency.
Figure 13. Smooth and best-treated blade characteristics. (a) Pressure ratio; (b) efficiency.
Designs 09 00131 g013
Table 1. NASA Rotor 37 design values [27].
Table 1. NASA Rotor 37 design values [27].
CharacteristicValue
Number of blades36
Rotational speed (rpm)17,188.7
Choke mass flow rate (kg/s)20.93
Design mass flow rate (kg/s)20.19
Design total pressure ratio2.106
Inlet hub-to-tip ratio0.7
Tip-relative inlet Mach number1.48
Hub-relative inlet Mach number1.13
Tip solidity1.29
Table 2. Hole configuration.
Table 2. Hole configuration.
Percent of ChordHole Angle (Degree)
Case ACase A-060%0
Case A-1560%15
Case A-3060%30
Case A-4560%45
Case A-6060%60
Case A-7560%75
Case A-9060%90
Case BCase B-1010%97.5
Case B-2020%97.5
Case B-3030%97.5
Case B-4040%97.5
Case B-5050%97.5
Case B-6060%97.5
Case B-7070%97.5
Case B-8080%97.5
Case B-9090%97.5
Table 3. Hole mass flow rate.
Table 3. Hole mass flow rate.
Hole LocationHole Mass Flow Rate (g/s)
Case B-100.5705
Case B-200.5494
Case B-300.5197
Case B-400.4459
Case B-500.4432
Case B-600.4456
Case B-700.4215
Case B-800.4109
Case B-900.3766
Table 4. Hole mass flow rate at 60% chord and different angles.
Table 4. Hole mass flow rate at 60% chord and different angles.
Hole Angle (Degree)Hole Mass Flow Rate (g/s)
Case A-00.1511
Case A-150.1485
Case A-300.1481
Case A-450.1594
Case A-600.2022
Case A-750.3051
Case A-900.4382
Case B-100.4456
Disclaimer/Publisher’s Note: The statements, opinions and data contained in all publications are solely those of the individual author(s) and contributor(s) and not of MDPI and/or the editor(s). MDPI and/or the editor(s) disclaim responsibility for any injury to people or property resulting from any ideas, methods, instructions or products referred to in the content.

Share and Cite

MDPI and ACS Style

Shahriyari, M.J.; Khaleghi, H.; Magrini, A.; Benini, E. Hole-Blade Treatment in High-Speed Axial Compressors. Designs 2025, 9, 131. https://doi.org/10.3390/designs9060131

AMA Style

Shahriyari MJ, Khaleghi H, Magrini A, Benini E. Hole-Blade Treatment in High-Speed Axial Compressors. Designs. 2025; 9(6):131. https://doi.org/10.3390/designs9060131

Chicago/Turabian Style

Shahriyari, Mohammad Javad, Hossein Khaleghi, Andrea Magrini, and Ernesto Benini. 2025. "Hole-Blade Treatment in High-Speed Axial Compressors" Designs 9, no. 6: 131. https://doi.org/10.3390/designs9060131

APA Style

Shahriyari, M. J., Khaleghi, H., Magrini, A., & Benini, E. (2025). Hole-Blade Treatment in High-Speed Axial Compressors. Designs, 9(6), 131. https://doi.org/10.3390/designs9060131

Article Metrics

Article metric data becomes available approximately 24 hours after publication online.
Back to TopTop