Next Article in Journal
DOA Estimation in Non-Uniform Noise Based on Subspace Maximum Likelihood Using MPSO
Previous Article in Journal
Eulerian–Eulerian Modeling of Multiphase Flow in Horizontal Annuli: Current Limitations and Challenges
 
 
Font Type:
Arial Georgia Verdana
Font Size:
Aa Aa Aa
Line Spacing:
Column Width:
Background:
Article

A New Control Performance Evaluation Based on LQG Benchmark for the Heating Furnace Temperature Control System

Automation College, Hangzhou Dianzi University, Hangzhou 310018, China
*
Author to whom correspondence should be addressed.
Processes 2020, 8(11), 1428; https://doi.org/10.3390/pr8111428
Submission received: 19 September 2020 / Revised: 26 October 2020 / Accepted: 3 November 2020 / Published: 9 November 2020
(This article belongs to the Section Chemical Processes and Systems)

Abstract

Temperature control systems are a series of processes with large time-delay and non-linear characteristics. Research shows that using fractional-order modeling and corresponding control strategies can better control these processes. At the same time, the existing studies for control performance assessment are almost committed to the integer order control systems, and the methods used in few literatures on performance assessment of fractional order systems are also one-sided. This paper applies the linear quadratic Gaussian (LQG) evaluation benchmark to the performance evaluation of fractional-order control systems for the first time, starting with the LQG evaluation benchmark considering the input and output performance. The LQG benchmark can be obtained by the analytical algorithm, which simplifies the complexity of LQG solution. Finally, taking the application of the fractional predictive function control (FO-PFC) controller in the experiment of industrial heating furnace temperature control as an example, the effectiveness of the LQG benchmark is verified.

1. Introduction

In the industry production process, the high-performance controller is the essential element of advanced control systems. Under the complex industrial environment, the performance of a loop controller may decline after a long time of operation [1,2]. Therefore, it is great practical significance to make use of the control performance assessment technology to evaluate and monitor loop controllers online in real time, in order to ensure the high-performance operation of the loop controllers and the safe and efficient operation of the industrial control system [3,4].
The research about control performance assessment technologies has a history of more than 40 years. In 1978, Devries et al. [5] first proposed the concept of performance evaluation and analyzed the effectiveness of quantitative control of paper machine by using multiple time series technology, which greatly stimulates the research in the field of subsequent evaluation of controller performance [6,7,8,9,10,11,12,13,14,15,16,17]. When a two-dimensional Roesser model was known, Wei et al. [18] proposed a method for evaluating the control effect of iterative learning controller (ILC), which extended the LQG benchmark from one-dimensional to two-dimensional firstly. When parameters of the batch process were unknown, Wang et al. [19] developed a model-free control performance assessment method based on date-driven control in 2015. Different from the finite-horizon LQG benchmark in reference [18,19], Wang et al. [20] adopted an infinite-horizon quadratic performance cost function to design LQG benchmark and extended the results to a multiple input multiple output (MIMO) system. For disposing the inconsistency of the minimum variance criterion when evaluating non-Gaussian perturbation systems, Zhang et al. [21] proposed an improved Renyi entropy benchmark for the performance evaluation of common cascade control systems in 2019. By the performance index combined entropy with the output mean, the running state of the control system was evaluated.
Due to the widespread use of proportional integral derivative (PID) controllers and model predictive control, the control performance assessment of them is a hot research spot. For achieving the minimum variance to evaluate control loop performance, Ko et al. [22] and Sendjaja et al. [23] adopted a minimum variance control (MVC) benchmark for evaluation which can get excellent consequences by calculating the proportion integration differentiation regulator. Horton et al. [24] showed the optimum performance of the PI regulator, which was as the widely-used controller. Fang et al. [25] adopted LQG benchmark to assess running state of the IMC-PID controller under the circumstance of model matching and mismatch in experiment of industrial furnace temperature control. By considering the tradeoff between LQG cost and average sampling rate, an interpretation of the optimal sampled-data controller and event- based sampling policy were obtained in terms of PID control [26]. This method helped us understand what implementation characteristic was important for obtaining excellent event-based PID performance. However, in industrial production process, integer order model is insufficient to precisely describe information of a system. Additional fractional integration and differentiation can make the process model more flexible and accurate, and reflect the dynamic characteristics of the actual process [27,28,29]. In order to expand the traditional concept of integral order controller, a fractional order controller is emerged. According to previous studies, the control effect of fractional order controller is more excellent than integral order controller [30,31,32,33]. Consequently, the methods and techniques of performance evaluation on fractional order controller are also worthy of studying. Škarda et al. [34,35] proposed a new performance assessment indicator by using the ideal shape based on the sensitivity function. By calculating the fractional order process, the optimal performance control for all PID control models was archived. The evaluation method of minimum variances based on the classical theory that the normalization process dead time great impact on maximum performance, so only a fixed structure for the evaluation process controller. However, there are some limitations. For solving the tradeoff between servo controller performance and the adjustment controller performance, a combined performance evaluation index is developed by Meneses et al. [36]. The method carried out the theoretical research that may be implemented on the basic of the performance of the process delay time normalized and constrained by the robustness but also for evaluating the fractional order PID controller. However, considering that there are drawbacks of insufficient application scope on the existing performance assessment methods for fractional order controllers, these indicators structured performance appraisal are one-sided and the angle output is from the process point of view.
Although LQG benchmark is a more practical industrial process evaluation criterion, which considers both of the variance of the system input and the variance of the system output, its application is limited to the order of the process model. Therefore, it is significance to extend the LQG benchmark to assess the running status of fractional order system with fractional order controllers. This paper uses an analytical algorithm to solve the LQG benchmark. Taking the heating furnace temperature controller as an example, which is called FO-PFC controller, the validity of the LQG benchmark is verified. In the meantime, the effectiveness of FO-PFC controller is studied whether the model matches or not.
The main contribution of this paper is applying the LQG benchmark to the performance assessment study of a fractional order controller for the first time. Section 2 covers solution algorithm of LQG benchmark. The block diagram of heating furnace control process is presented in Section 3. In Section 4, LQG benchmark is used to assess the FO-PFC controller of the heating furnace temperature control system.

2. LQG Benchmark

The LQG benchmark is based on MVC benchmark, which extends and takes the output and input variances of the system into consideration. Consequently, a more nuanced state of the control system is excavated by LQG benchmark. This provides the optimal performance limits of the controlled system in respect of input and output variance under any linear controller. The tradeoff curve is obtained by solving an LQG problem where the cost function of LQG is defined as:
J LQG = E [ Y T Q Y ] + E [ U T ρ R U ]
In Equation (1), Q is the output weighting matrix and R is the input weighting matrix. The LQG problem can be solved by changing the input weighting ρ , and a class of LQG optimal discrete points can be obtained. The horizontal axis represents the best input variance and the vertical axis represents the best output variance, then the LQG compromise tradeoff curve [25,37] is obtained by regressing these discrete points as described in Figure 1, which indicates the relationship between the optimal input variance and the optimal output variance. Through the relationship, the minimum performance value and input-output variance of the linear controller can be obtained. However, because the disturbance is always existed in industry, the top of the curve in Figure 1 shows what may happen in the actual operation.
According to the LQG performance tradeoff curve, the current input variance is V a r ( U k ) and output variance is V a r ( U Y ) . V a r ( U l q g o p t ) and V a r ( Y l q g o p t ) are the optimal input and output variances. Then the corresponding performance index can be defined as:
η U = V a r ( U l q g o p t ) V a r ( U k ) η Y = V a r ( Y l q g o p t ) V a r ( Y k )

LQG Solution via State Space Model

Consider a state space model:
X k + 1 = A X k + B U k + H α k Y k = C X k + α k
where A ,   B ,   C are coefficient matrix. α k is Gaussian white noise and H is the Kalman filter gain matrix. X k and Y k are the state vector and output vector at time instant k . U k is the input vector at time instant k . The process equation and Kalman estimator are integrated as follows:
[ X k + 1 X ^ k + 1 ] = [ A B L H C A H C B L ] [ X k X ^ k ] + [ H H ] α k
where X ^ k is the estimated state at time instant k . L = ( B T S B + λ R ) 1 ( B T S A + N T ) is the gain matrix, which can be obtained through the MATLAB optimization toolbox. S can be gained by calculating the Riccati equation described as A T S A S ( A S B + N ) ( B T S B + λ R ) 1 ( B T S A + N T ) + Q = 0 . Q = C T W C is weighting matrix state in the quadratic index. N is the operation weight of the state matrix, which is set to zero. Then we can solve for V a r ( U k ) and V a r ( Y k ) as follows:
V a r ( U k ) = [ 0 L ] V a r ( X ˜ ) [ 0 L T ] V a r ( Y k ) = [ C 0 ] V a r ( X ˜ ) [ C T 0 ] + V a r ( α k )
Due to the limited memory of main control cards in distributed control systems (DCS), the amount of computation must be allocated reasonably. Therefore, the rapidness and simplicity of the LQG solution must be considered to save the memory for the use of controllers and security interlock programs in the process units. By combining a subspace method, a more accurate model-free LQG solution can be achieved (If anyone wants to know more about subspace identification, please refer to Appendix B. The way of getting data repository can be seen in Appendix A). But the model-free LQG solution process is too complicated, which will take up more memory of main control cards. From the perspective of the application, the proposed LQG benchmark based on a known model subspace is simpler and the calculation is smaller, which can be directly embedded into an industrial system.

3. FO-PFC Controller Principle

As one of the advanced control methods, PFC can get more excellent control performance in some high-precision processes. Traditional PFC, which is based on the integer order model and the corresponding control method, has certain limitations in controlling fractional order systems. Studies have shown that fractional order modality can be added to the objective function of conventional PFC for optimization. Better process tuning performance can be achieved than conventional PFC because the process model is described more accurately. In this paper, the process model of industrial heating furnace temperature is built through the fractional order model, and the control method of the system is FO-PFC algorithm. The block diagram of control process is displayed in Figure 2.
According to literature [38], the optimal control law of FO-PFC is shown as follows:
u ( k ) = ( C ¯ T Λ ( T S , γ ) C ¯ ) 1 C ¯ T Λ ( T S , γ ) ( Y r B ¯ Y p a s t D ¯ U p a s t E )
where T s is sample time, γ is the cost function of integral coefficients. Y p a s t ,   U p a s t ,   E are corresponding matrix constructed from input, output and error respectively, B ¯ ,   C ¯ ,   D ¯ are corresponding coefficients of matrix (see more details for reference [38]). P is the predictive horizon.
Y r = [ y r ( k + 1 ) , y r ( k + 2 ) , , y r ( k + P ) ] T
Λ ( T S , γ ) = T S d i a g ( m P 1 , m P 2 , , m 1 , m 0 )
m j = ω j ( γ ) ω j ( P 1 ) ( γ ) , ω 0 ( γ ) = 1
j > 0 , ω j ( γ ) = ( 1 1 + γ j ) ω j 1 ( γ ) j < 0 , ω j ( γ ) = 0

4. Case Study

In this part, the process of the heating furnace temperature is selected as an example and a fractional order model is selected as the temperature process model. The fractional order model is developed through corresponding measurement data and the controller of the temperature is FO-PFC controller. Finally, the performance of control system is tested by LQG benchmark through MATLAB simulation.

4.1. System Description

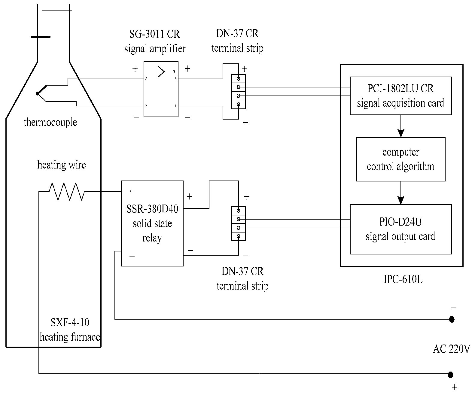
The temperature controlled object is sxf-4-10 industrial electric heating furnace in this paper. The principle diagram is given in Figure 3. The voltage during normal operation is 220 V and the power during normal operation is 4 KW. The control flow of the furnace heating system is as follows: heating furnace temperature is sampled by thermocouple and then transferred into the computer through signal amplifier and signal acquisition card. The FO-PFC controller runs on the computer and the output of the FO-PFC algorithm exports to the signal output card to control on and off state of the solid state relay. When the solid state relay is on state, the state of the heating furnace is heating. Otherwise, the heating loop is in the off-state.

4.2. Process Model Establishment

An input of 20% duty-ratio is given to the heating furnace and the heating furnace begins to heat. During the heating period, real-time data of furnace temperature is collected every two seconds until the output trend of the heating furnace temperature is stable with no obvious change. The actual temperature responses of this process are shown in Figure 4. For general industrial process control systems, the first order plus dead time (FOPDT) model is generally chosen to describe the relationship between inputs and outputs, which is beneficial for the convenience of subsequent controller design. Here, in order to describe the actual process model more accurately, the fractional order model is chosen, which the new luus–jaakola (NLJ) method will be used to identify.
The obtained model is:
G P ( s ) = 31.8 510 s 0.93 + 1 e 100 s
Since the FO-FPC controller to be evaluated is designed as a nominal model, the fractional order model is replaced by the high-order integer order model, which is obtained by the Outsaloup approximation method [39]. According to the Outsaloup approximation method, some extra parameters must be chosen in the appropriate value. The order of the derivative operator is 4, and the higher and lower frequency approximation interval are w h = 10 6 and w l = 10 6 . The transfer function model of the high-order integer order is obtained as follows:
G p ( s ) = P ( s ) N ( s ) e 100 s
where:
P ( s ) = 31.8 s 4 + 2.5 × 10 7 s 3 + 1.936 × 10 10 s 2 + 1.209 × 10 7
N ( s ) = 1.939 × 10 8 s 5 + 2.472 × 10 11 s 4 + 3.148 × 10 11 s 3 + 1.018 × 10 9 s 2 + 4.847 × 10 8 s + 3.802 × 10 5
The transfer function model of Equation (8) is further discretized. The sampling interval is 20 s and the discrete model of Equation (8) can be obtained as shown below:
G p ( z ) = P ( z ) N ( z )
where:
P ( z ) = 9.642 z 4 0.7335 z 3 + 8.64 z 2 + 9.026 × 10 19 z
N ( z ) = z 5 ( z 5 2.382 z 4 + 2.351 z 3 0.9603 z 2 + 8.461 × 10 12 z + 7.196 × 10 29 )
The practical temperature data, the responses curve of the fractional order model and high-order integer order model are focused on Figure 4. The goodness of fit of the two models is superior even if the allowable error still exists in the Oustaloup approximation method.
In this paper, the perturbation z function is assumed as follows:
G d = 1 + 0.25 z 1 1 0.9732 z 1
To sum up, the process model of the furnace is consists of two parts, which can be expressed as:
Y k = G p + 0.25 G d

4.3. Computation of LQG Benchmark

In order to test the stability of the temperature control system, a Gaussian white noise is added to the system, which has average of zero and the variance is 0.1.
The process transfer function is converted into the state space type like Equation (3) for convenient calculation. Through the above method shown from Equation (3) to Equation (5), the LQG benchmark can be computed. At the same time, since the interval ρ must be sufficient to delegate the overall trend of the LQG curve, the weighted value ρ changes within [0.000000001, 160,000]. Furthermore, the corresponding variance of the optimal input-output is calculated. After that, the LQG performance curve is obtained which is shown in Figure 5.

4.4. Simulation Results

From the reference [38], the predictive horizon, coefficient of smoothness and the cost function of integral coefficients of the corresponding PFC controller are chosen as follows.
λ = 0.95 ,   p = 12 ,   γ = 0.6
However, some uncertainties and the immeasurable disturbances are inevitable in practical production, which lead to some deviations in establishing the model. To verify the stability of the controller, the cases of model match and mismatch need to be considered. Model 1 is the match model, and Model 2 and Model 3 are mismatch models. Three groups of the model are as follows:
Model   1 :   α = 0.93 ,   T = 510 ,   τ = 100 ,   K = 31.8
Model   2 :   α = 0.87 ,   T = 408 ,   τ = 80 ,   K = 25.4
Model   3 :   α = 0.92 ,   T = 612 ,   τ = 120 ,   K = 38.16
Because the running condition of the FO-PFC controller under the steady state is our main evaluation object, 600 °C and 605 °C are chosen as the temperature set-point. Figure 6 shows the performance evaluation consequences of actual temperature and duty cycle changes of the solid-state relay, which are obtained through multiple experiments.
On the basis of experimental results, the corresponding parameter and calculation results can be obtained in Table 1 under the condition of model match and model mismatch. The performance of the FO-PFC controller has been evaluated against the performance indices. When the temperature set-point is set 600 °C: under the circumstance of match model shown as Model 1, the performance indicators are η u = 34.89 % , η y = 78.76 % . Under the condition of mismatch which are shown as Model 2 and Model 3, the performance indicators are η u = 42.05 % , η u = 81.01 % and η u = 30.53 % , η y = 74.38 % respectively. The temperature of the heating furnace can be set arbitrarily according to the demand. When the temperature is set to 605 °C: the corresponding performance indices of Model 1 are η u = 20.25 % , η y = 62.29 % . The performance indicators of Model 2 are η u = 23.97 % , η y = 66.02 % and the performance indicators of Model 3 are η u = 18.20 % , η y = 59.67 % . From the above results, it can be seen that the heating performance of the furnace can be greatly improved.
By means of the evaluation and simulation experiments, the parameters of the FO-PFC controller, the integral and differential coefficients can be adjusted by constantly trying to use the wrong approach. Through a lot of experiments, an optimal set of controller parameters can be obtained, which can let control system get the best control performance. The group of optimal control parameters is:
λ = 0.97 ,   p = 6 ,   γ = 0.8
After adjusting and recalculating the relevant data and performance indicators, Figure 7a–c further show the simulation results and the selected model parameters are three different parameters, which make the experiment more convincing.
When the temperature set-point is 600 °C, under the circumstance of model matching which is shown as Model 1, the performance indicators are improved to η u = 66.98 % , η y = 86.32 % . Under the circumstance of model mismatching which are shown as Model 2 and Model 3, the performance indicators are η u = 70.29 % , η y = 91.88 % and η u = 50.22 % , η y = 82.45 % respectively. When the temperature set-point is 605 °C, the performance indices of Model 1 can be obtained an better effect and the improvements are η u = 36.29 % , η u = 71.55 % . On the condition of model mismatching, which are shown as Model 2 and Model 3, the performance indices increase to η u = 42.91 % , η y = 75.22 % and η u = 33.33 % , η y = 69.94 % respectively. By adjusting the above control parameters, the simulation experiment shows that the control effect of the heating furnace temperature control system is more superior under the circumstance of model matching or mismatching. A series of experimental data are displayed in Table 2.
Through the actual input variances and output variances comparison of improved parameter and current parameter, which are shown in Figure 8a,b, no matter in the condition of model matching or model mismatching, the improved parameter can obtain excellent control performance.
Regardless of the model matching or the model mismatch, reducing the input and output of variances can be done by adjusting the FO-PFC parameters to a certain extent, which can be seen from Figure 7a to Figure 8b. After the expected parameter adjustment, the controller improves a lot in terms of control performance. Compared with the current parameter, the performance point of the improved parameter is closer to LQG performance tradeoff curve. In addition, whether the model matches or not, the gap of the input and output variances is obvious by contrasting improved parameter with current parameter, which are displayed in Figure 8a,b. When the temperature set-value is 600 °C, the input and output variances decrease by 32.09% and 7.56% respectively in Model 1; In Model 2, the input and output variances all decrease that the input variances decrease by 28.24% and the output variances decrease by 10.87%; In Model 3, the input and output variances all decrease that the input variances decrease by 19.69% and the output variances decrease by 9.07%. When the temperature set-value is 605 °C, the input and output variances all decrease that the input variances decrease by 16.04% and the output variances decrease by 10.34% in Model 1; In Model 2, the input and output variances all decrease that the input variances decrease by 18.94% and the output variance decrease 9.02%; In Model 3, the input and output variances all decrease so that the input variance decrease by 15.13% and the output variances decrease by 10.27%. Due to the smaller output variances, the stability of the controller in improved parameter is more superior to that of the current parameter. By redesigning the controller parameters after the evaluating the running status of the controller, the effect of the controller is better. The LQG benchmark provides a graphic way for manually adjusting controller parameters.

5. Conclusions

The proposed LQG benchmark is applied to the performance assessment of the FO-PFC controller in the heating furnace temperature control system. The analytic method is used to calculate the LQG benchmark, which simplifies the complexity of LQG solution. Through the solution of linear quadratic Gaussian problem, the optimum values of input variances and output variances under different weight coefficients can be obtained. The control effect and performance point under different parameters are obtained through simulation experiments. Finally, the LQG benchmark can be used to evaluate the control performance of the FO-PFC controller whether the model matches or not. When control performance still has great room for improvement, we can use LQG benchmark to seek for the more optimal control effect of the controller than before by adjusting the parameters. This benchmark enables us to assess the control effect of the controller in the control experiment of the heating furnace, and adjust its parameter in time if the expected value is not achieved.

Author Contributions

Preparation creation and presentation of the published work, specifically writing the initial draft and implement specific technical details (H.L.); Preparation and creation of the published work by those from the original research group, commentary or revision—including pre- or post-publication stages (R.L.); Management and coordination responsibility for the research activity planning and execution, and algorithm guidance (F.W.). All authors have read and agreed to the published version of the manuscript.

Funding

This research received no external funding.

Conflicts of Interest

The authors declare no conflict of interest.

Appendix A

If anyone wants to get the data repository with all the code and additional files, they can contact with us by the corresponding with the author via email.

Appendix B

More knowledge about identification of open subspace can be seen is in pages 31–53 of Reference [37].
More knowledge about identification of stochastic subspace can be seen is in Reference [40].
More knowledge about identification of closed-loop subspace can be seen is in Reference [41] or pages 55–78 of Reference [37].

References

  1. Paulonis, M.A.; Cox, J.W. A practical approach for large-scale controller performance assessment, diagnosis, and improvement. J. Process Control. 2003, 13, 155–168. [Google Scholar] [CrossRef]
  2. Zhang, R.; Jin, Q. Design and Implementation of hybrid mode-ling and PFC for oxygen content regulation in a coke furnace. IEEE Trans. Ind. Inf. 2018, 14, 2335–2342. [Google Scholar] [CrossRef]
  3. Zhang, R.D.; Wang, S.Q. Support vector machine based predictive functional control design for output temperature of coking furnace. J. Process Control. 2008, 18, 439–448. [Google Scholar] [CrossRef]
  4. Li, R.; Wu, F.; Hou, P.; Zou, H. Performance assessment of FO-PID temperature control system using a fractional order LQG benchmark. IEEE Access 2020, 8, 116653–116662. [Google Scholar] [CrossRef]
  5. Devries, W.; Wu, S. Evaluation of process control effectiveness and diagnosis of variation in paper basis weight via multivariate time-series analysis. IEEE Trans. Autom. Contr. 1978, 23, 702–708. [Google Scholar] [CrossRef]
  6. Stanfelj, N.; Marlin, T.E.; MacGregor, J.F. Monitoring and diagnosing process control performance: The single-loop case. Ind. Eng. Chem. Res. 1993, 2, 301–314. [Google Scholar] [CrossRef]
  7. Li, Z.; Evans, R.J. Minimum variance control of linear time-varying systems. Automatica 1997, 33, 1531–1537. [Google Scholar] [CrossRef]
  8. Huang, B.; Shah, S.L.; Miller, R. Feed/forward plus feedback controller performance assessment of MIMO systems. IEEE Trans. Control Syst. Technol. 2000, 8, 580–587. [Google Scholar] [CrossRef]
  9. Grimble, M.J. Controller performance benchmarking and tuning using generalized minimum variance control. Automatica 2002, 38, 2111–2119. [Google Scholar] [CrossRef]
  10. Kadali, R.; Huang, B. Controller performance analysis with LQG benchmark obtained under closed loop conditions. ISA Trans. 2002, 41, 521–537. [Google Scholar] [CrossRef]
  11. Huang, B. A pragmatic approach towards assessment of control loop performance. Int. J. Adapt. Control Signal Process 2003, 17, 589–608. [Google Scholar] [CrossRef]
  12. Olaleye, F.; Huang, B.; Tamayo, E. Performance assessment of control loops with time-variant disturbance dynamics. J. Process Contr. 2004, 14, 867–877. [Google Scholar] [CrossRef]
  13. Chen, J.; Huang, S.C.; Yea, Y. Achievable performance assessment and design for parallel cascade control systems. J. Chem. Eng. Jpn. 2005, 38, 188–201. [Google Scholar] [CrossRef]
  14. Xu, F.; Huang, B. Performance monitoring of SISO control loop subject to LTV disturbance dynamics: An improved LTI benchmark. J. Process Contr. 2006, 16, 567–579. [Google Scholar] [CrossRef]
  15. Harris, T.J.; Yu, W. Controller assessment for a class of nonlinear systems. J. Process Contr. 2007, 17, 607–619. [Google Scholar] [CrossRef]
  16. Danesh Pour, N.; Huang, B.; Shah, S.L. Consistency of noise covariance estimation in joint input-output closed-loop subspace identification with application in LQG benchmarking. J. Process Contr. 2009, 19, 1649–1657. [Google Scholar] [CrossRef]
  17. Liu, Z.; Gu, Y.; Xie, L. An improved LQG benchmark for MPC economic performance assessment and optimisation in process industry. Can. J. Chem. Eng. 2012, 90, 1434–1441. [Google Scholar] [CrossRef]
  18. Wei, S.L.; Wang, Y.Q. LQG benchmark based performance assessment for ILC based on two-dimensional model. In Proceedings of the 2014 IEEE International Conference on Information and Automation (ICIA), Hailar, China, 28–30 July 2014; pp. 141–146. [Google Scholar]
  19. Wang, Y.; Wei, S.; Cheng, J. Data-driven two-dimensional LQG benchmark based performance assessment for batch processes under ILC. IFAC Pap. Online 2015, 48, 291–296. [Google Scholar]
  20. Wang, Y.Q.; Zhang, H.; Wei, S.L.; Zhou, D.H.; Huang, B. Control Performance Assessment for ILC-Controlled Batch Processes in a 2-D System Framework. IEEE Trans. Syst. Man Cybern. Syst. 2018, 48, 1493–1504. [Google Scholar] [CrossRef]
  21. Zhang, Q.; Wang, Y.G.; Lee, F.; Chen, Q.; Sun, Z. Improved renyi entropy benchmark for performance assessment of common cascade control system. IEEE Access 2019, 7, 6796–6803. [Google Scholar] [CrossRef]
  22. Ko, B.S.; Edgar, T.F. Performance assessment of constrained model predictive control systems. AICHE J. 2001, 47, 1363–1371. [Google Scholar] [CrossRef]
  23. Sendjaja, A.Y.; Kariwala, V. Achievable PID performance using sums of squares programming. J. Process Contr. 2009, 19, 1061–1065. [Google Scholar] [CrossRef]
  24. Horton, E.C.; Foley, M.W.; Kwok, K.E. Performance assessment of level controllers. Int. J. Adapt. Control Signal Process. 2003, 17, 663–684. [Google Scholar] [CrossRef]
  25. Fang, T.; Zhang, R.; Gao, F. LQG benchmark based performance assessment of IMC-PID temperature control system. Ind. Eng. Chem. Res. 2017, 56, 15102–15111. [Google Scholar] [CrossRef]
  26. Cervin, A.; Andrén, T. LQG-Optimal versus Simple Event-Based PID Controllers. In Proceedings of the American Control Conference, Denver, CO, USA, 1–3 July 2020; pp. 3678–3684. [Google Scholar]
  27. Zhang, R.; Zou, Q.; Cao, Z.; Gao, F. Design of fractional order modeling based extended non-minimal state space MPC for temperature in an industrial electric heating furnace. J. Process Contr. 2017, 56, 13–22. [Google Scholar] [CrossRef]
  28. Oldham, K.B. Fractional differential equations in electrochemistry. Adv. Eng. Softw. 2010, 41, 9–12. [Google Scholar] [CrossRef]
  29. Gabano, J.D.; Poinot, T. Fractional modeling and identification of thermal systems. Signal Process. 2011, 91, 531–541. [Google Scholar] [CrossRef]
  30. Luo, Y.; Chen, Y.Q. Fractional order proportional derivative controller for a class of fractional order systems. Automatica 2009, 45, 2446–2450. [Google Scholar] [CrossRef]
  31. Zheng, S.; Tang, X.; Song, B. A graphical tuning method of fractional order proportional integral derivative controllers for interval fractional order plant. J. Process Contr. 2014, 24, 1691–1709. [Google Scholar] [CrossRef]
  32. Bettayeb, M.; Mansouri, R. Fractional IMC-PID-filter controllers design for non-integer order systems. J. Process Contr. 2014, 24, 261–271. [Google Scholar] [CrossRef]
  33. Rakhtala, S.M.; Roudbari, E.S. Fuzzy PID control of a stand-alone system based on PEM fuel cell. Int. J. Electr. Power Energy Syst. 2016, 78, 576–590. [Google Scholar] [CrossRef]
  34. Škarda, R.; Čech, M.; Schlegel, M. Bode-like control loop performance index evaluated for a class of fractional-order processes. IFAC Proc. Vol. 2014, 47, 10622–10627. [Google Scholar] [CrossRef]
  35. Škarda, R.; Čech, M.; Schlegel, M. Simultaneous control loop performance assessment and process identification based on fractional models. IFAC Pap. 2015, 48, 859–864. [Google Scholar]
  36. Meneses, H.; Guevara, E.; Arrieta, O.; Padula, F.; Vilanova, R.; Visioli, A. Improvement of the control system performance based on fractional-order pid controllers and models with robustness considerations. IFAC Pap. 2018, 51, 551–556. [Google Scholar] [CrossRef]
  37. Huang, B.; Kadali, R. Dynamic Modeling Predictive Control and Performance Monitoring, 3rd ed.; Springer: London, UK, 2008; pp. 31–53. [Google Scholar]
  38. Zou, Q.; Zhang, J.; Lu, R.; Zhang, R. Design of fractional order control using predictive functional control structure. In Proceedings of the IEEE Chinese Control Conference (CCC), Chengdu, China, 27–29 July 2016; pp. 4402–4406. [Google Scholar]
  39. Xue, D.Y. Computer Aided Control Systems Design—Using MATLAB Language, 3rd ed.; TsingHua University, Inc.: Beijing, China, 2010; pp. 471–472. [Google Scholar]
  40. Yu, M.; Liu, J.C.; Wang, H.H. Nuclear norm subspace identification for continuous-time stochastic systems based on distribution theory method. ISA Trans. 2018, 83, 165–175. [Google Scholar] [CrossRef] [PubMed]
  41. Zhang, L.; Zhou, D.H.; Wang, Y.Q. Improved closed-loop subspace identification based on principal component analysis and prior information. J. Process Contr. 2019, 80, 235–246. [Google Scholar] [CrossRef]
Figure 1. Linear quadratic Gaussian (LQG) performance tradeoff curve.
Figure 1. Linear quadratic Gaussian (LQG) performance tradeoff curve.
Processes 08 01428 g001
Figure 2. The block diagram of control process.
Figure 2. The block diagram of control process.
Processes 08 01428 g002
Figure 3. The electric heating furnace SXF-4-10.
Figure 3. The electric heating furnace SXF-4-10.
Processes 08 01428 g003
Figure 4. The practical temperature data and the response curve of the two models.
Figure 4. The practical temperature data and the response curve of the two models.
Processes 08 01428 g004
Figure 5. The LQG performance tradeoff curve.
Figure 5. The LQG performance tradeoff curve.
Processes 08 01428 g005
Figure 6. Limit curve based on LQG performance and actual variance of the system.
Figure 6. Limit curve based on LQG performance and actual variance of the system.
Processes 08 01428 g006
Figure 7. (a) A comparison of the improved parameter and the current parameter (Model 1). (b) A comparison of the improved parameter and the current parameter (Model 2). (c) A comparison of the improved parameter and the current parameter (Model 3).
Figure 7. (a) A comparison of the improved parameter and the current parameter (Model 1). (b) A comparison of the improved parameter and the current parameter (Model 2). (c) A comparison of the improved parameter and the current parameter (Model 3).
Processes 08 01428 g007
Figure 8. (a) The input variance comparison of the improved parameter and the current parameter. (b) The output variance comparison of improved parameter and current parameter.
Figure 8. (a) The input variance comparison of the improved parameter and the current parameter. (b) The output variance comparison of improved parameter and current parameter.
Processes 08 01428 g008
Table 1. Statistical Results of Steady State Performance.
Table 1. Statistical Results of Steady State Performance.
SetpointModel V a r ( u k ) V a r ( y k ) V a r ( u l q g o p t ) η u ( % ) V a r ( y l q g o p t ) η y ( % )
600 °CModel 10.03210.79440.011234.890.625778.76
Model 20.03020.74860.012742.050.628981.01
Model 30.03350.83880.010230.530.623974.38
605 °CModel 10.03950.99070.008020.250.617262.29
Model 20.03670.91640.008823.970.619966.20
Model 30.04121.01080.007518.200.615759.67
Table 2. Statistical results of steady state performance.
Table 2. Statistical results of steady state performance.
SetpointModel V a r ( u k ) V a r ( y k ) V a r ( u l q g o p t ) η u ( % ) V a r ( y l q g o p t ) η y ( % )
600 °CModel 10.02120.75780.012466.980.654286.32
Model 20.02020.71760.014270.290.659491.88
Model 30.02210.79850.011150.220.650382.45
605 °CModel 10.02480.89570.009136.290.640971.55
Model 20.02360.85700.009842.910.644775.22
Model 30.02610.92550.008733.330.647369.94
Publisher’s Note: MDPI stays neutral with regard to jurisdictional claims in published maps and institutional affiliations.

Share and Cite

MDPI and ACS Style

Li, H.; Li, R.; Wu, F. A New Control Performance Evaluation Based on LQG Benchmark for the Heating Furnace Temperature Control System. Processes 2020, 8, 1428. https://doi.org/10.3390/pr8111428

AMA Style

Li H, Li R, Wu F. A New Control Performance Evaluation Based on LQG Benchmark for the Heating Furnace Temperature Control System. Processes. 2020; 8(11):1428. https://doi.org/10.3390/pr8111428

Chicago/Turabian Style

Li, Haisheng, Rongxuan Li, and Feng Wu. 2020. "A New Control Performance Evaluation Based on LQG Benchmark for the Heating Furnace Temperature Control System" Processes 8, no. 11: 1428. https://doi.org/10.3390/pr8111428

APA Style

Li, H., Li, R., & Wu, F. (2020). A New Control Performance Evaluation Based on LQG Benchmark for the Heating Furnace Temperature Control System. Processes, 8(11), 1428. https://doi.org/10.3390/pr8111428

Note that from the first issue of 2016, this journal uses article numbers instead of page numbers. See further details here.

Article Metrics

Back to TopTop