Experimental Study on Compression Deformation and Permeability Characteristics of Grading Broken Gangue under Stress
Abstract
1. Introduction
2. Test System and Sample Preparation
2.1. Test Samples
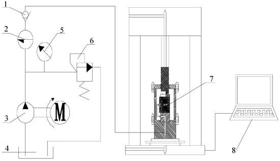
2.2. Experimental Setup
3. Parameter Calculation
3.1. Characteristic Parameters of Compression Deformation
3.2. Permeability Parameter
4. The Evolution Laws of Deformation and Permeability of Broken Gangue
4.1. The Characteristics of Compression Deformation of Broken Gangue
4.2. The Evolution Characteristics of Permeability of Grading Broken Gangue
4.3. Influence of Stress on the Permeability of Grading Broken Rock
5. Conclusions
Author Contributions
Funding
Acknowledgments
Conflicts of Interest
References
- Manouchehrian, A.; Cai, M. Numerical modeling of rockburst near fault zones in deep tunnels. Tunn. Undergr. Space Technol. 2018, 80, 164–180. [Google Scholar] [CrossRef]
- Yin, Q.; Jing, H.W.; Su, H.J.; Zhao, H.H. Experimental study on mechanical properties and anchorage performances of rock mass in the fault fracture zone. Int. J. Geomech. 2018, 18, 04018067. [Google Scholar] [CrossRef]
- Zheng, Y.L.; Zhang, Q.B.; Zhao, J. Challenges and opportunities of using tunnel boring machines in mining. Tunn. Undergr. Space Technol. 2016, 57, 287–299. [Google Scholar] [CrossRef]
- Sparks, R.S.J.; Wilson, L.; Hulme, G. Theoretical modeling of the generation, movement, and emplacement of pyroclastic flows by column collapse. J. Geophys. Res. Solid Earth 1978, 83, 1727–1739. [Google Scholar] [CrossRef]
- Sparks, R.S.J. A model for the formation of ignimbrite by gravitational column collapse. J. Geol. Soc. Lond. 1976, 132, 441–451. [Google Scholar] [CrossRef]
- Utili, S.; Zhao, T.; Houlsby, G.T. 3D DEM investigation of granular column collapse: Evaluation of debris motion and its destructive power. Eng. Geol. 2015, 186, 3–16. [Google Scholar] [CrossRef]
- Huang, Y.; Li, J.; Song, T.; Kong, G.; Li, M. Analysis on Filling Ratio and Shield Supporting Pressure for Overburden Movement Control in Coal Mining with Compacted Backfilling. Energies 2016, 10, 31. [Google Scholar] [CrossRef]
- Ma, C.Q.; Li, H.; Zhang, P. Subsidence prediction method of solid backfilling mining with different filling ratios under thick unconsolidated layers. Arab. J. Geosci. 2017, 10, 511. [Google Scholar] [CrossRef]
- Zhang, L.T. Summary on the dam-break of tailing pond. J. Hydraul. Eng. ASCE 2013, 44, 594–600. [Google Scholar]
- Wang, F.T.; Zhang, C.; Wei, S.F.; Zhang, X.G.; Guo, S.H. Whole section anchor–grouting reinforcement technology and its application in underground roadways with loose and fractured surrounding rock. Tunn. Undergr. Space Technol. 2016, 51, 133–143. [Google Scholar]
- Wu, X.Z.; Jiang, Y.J.; Guan, Z.C.; Wang, G. Estimating the support effect of energy-absorbing rock bolts based on the mechanical work transfer ability. Int. J. Rock Mech. Min. Sci. 2018, 103, 168–178. [Google Scholar] [CrossRef]
- Cao, W.H.; Wang, X.F.; Li, P.; Zhang, D.S.; Sun, C.D.; Qin, D.D. Wide Strip Backfill Mining for Surface Subsidence Control and Its Application in Critical Mining Conditions of a Coal Mine. Sustainability 2018, 10, 700. [Google Scholar] [CrossRef]
- Li, J.; Huang, Y.; Qiao, M.; Chen, Z.; Song, T.; Kong, G.; Gao, H.; Guo, L. Effects of Water Soaked Height on the Deformation and Crushing Characteristics of Loose Gangue Backfill Material in Solid Backfill Coal Mining. Processes 2018, 6, 64. [Google Scholar] [CrossRef]
- Cai, W.; Dou, L.M.; Li, Z.L.; He, J.; He, H.; Ding, Y.L. Mechanical Initiation and Propagation Mechanism of a Thrust Fault: A Case Study of the Yima Section of the Xiashi-Yima Thrust (North Side of the Eastern Qinling Orogen, China). Rock Mech. Rock Eng. 2015, 48, 1–19. [Google Scholar] [CrossRef]
- Nakashima, S.; Kishida, K.; Adachi, T.; Izu, Y. Experimental Study on the Stability of Dam Foundation in Consideration of the Effect of the Concrete Plug Treatments. Fish. Sci. 2000, 66, 915–923. [Google Scholar]
- Dong, H.; Hu, Z.R.; Fu, H.L.; Chen, C.; Chen, X.W. Analysis of deformation characteristics of eluvial gravel soil under mass density and confining pressure. J. Cent. South Univ. 2015, 46, 3879–3887. [Google Scholar] [CrossRef]
- Yin, Z.Q.; Li, X.B.; Jin, J.F.; He, X.-Q.; Du, K. Failure characteristics of high stress rock induced by impact disturbance under confining pressure unloading. Trans. Nonferrous Met. Soc. China 2012, 22, 175–184. [Google Scholar] [CrossRef]
- Scheingross, J.S.; Minchew, B.M.; Mackey, B.H.; Simons, M.; Lamb, M.P.; Hensley, S. Fault-zone controls on the spatial distribution of slow-moving landslides. Geol. Soc. Am. Bull. 2013, 125, 473–489. [Google Scholar] [CrossRef]
- Li, H.; Bai, H.B.; Wu, J.J.; Ma, Z.; Ma, K.; Wu, G.; Du, Y.; He, S. A Cascade Disaster Caused by Geological and Coupled Hydro-Mechanical Factors—Water Inrush Mechanism from Karst Collapse Column under Confining Pressure. Energies 2017, 10, 1938. [Google Scholar] [CrossRef]
- Yin, Q.; Jing, H.W.; Ma, G.W.; Su, H.; Liu, R. Investigating the roles of included angle and loading condition on the critical hydraulic gradient of real rock fracture networks. Rock Mech. Rock Eng. 2018, 51, 3167–3177. [Google Scholar] [CrossRef]
- Mudd, G.M. Critical review of acid in situ leach uranium mining: 1. USA and Australia. Environ. Geol. 2001, 41, 390–403. [Google Scholar] [CrossRef]
- Chai, J.R. Analysis of nonlinear seepage through fracture network in rock mass. J. Hydrodyn. 2002, 17, 217–221. [Google Scholar]
- Min, K.B.; Rutqvist, J.; Tsang, C.F.; Jing, L. Stress-dependent permeability of fractured rock masses: A numerical study. Int. J. Rock Mech. Min. Sci. 2004, 41, 1191–1210. [Google Scholar] [CrossRef]
- Noiriel, C.; Gouze, P.; Bernard, D. Investigation of porosity and permeability effects from microstructure changes during limestone dissolution. Geophys. Res. Lett. 2004, 31, 1183–1186. [Google Scholar] [CrossRef]
- Liu, M.; Shabaninejad, M.; Mostaghimi, P. Predictions of permeability, surface area and average dissolution rate during reactive transport in multi-mineral rocks. J. Pet. Sci. Eng. 2018, 170, 130–138. [Google Scholar] [CrossRef]
- Moosavi, S.A.; Goshtasbi, K.; Kazemzadeh, E.; Bakhtiari, H.A.; Esfahani, M.R.; Vali, J. Relationship between porosity and permeability with stress using pore volume compressibility characteristic of reservoir rocks. Arab. J. Geosci. 2014, 7, 231–239. [Google Scholar] [CrossRef]
- Tang, Z.; Dong, X.; Yang, Y.; Ma, L. Research on the relationship between grain composition and repose angle of coal gangue in Dongkuang mine, Heshan city, Guangxi, China. J. Earth Sci. 2014, 25, 309–314. [Google Scholar] [CrossRef]
- Hunter, R.P.; Bowman, E.T. Visualisation of seepage induced suffusion and suffosion within internally erodible granular media. Geotechnique 2017, 68, 918–930. [Google Scholar] [CrossRef]
- Bush, R.T. A theory of particle interference based upon the uncertainty principle. Lettere al Nuovo Cimento 1983, 36, 241–244. [Google Scholar] [CrossRef]
- Miao, X.X.; Li, S.C.; Liu, W.Q. Experimental Study of Seepage Properties of Broken Sandstone under Different Porosities. Transp. Porous Media 2011, 86, 805–814. [Google Scholar] [CrossRef]
- Zhou, J.Q.; Hu, S.H.; Fang, S.; Chen, Y.F.; Zhou, C.B. Nonlinear flow behavior at low Reynolds numbers through rough-walled fractures subjected to normal compressive loading. Int. J. Rock Mech. Min. Sci. 2015, 80, 202–218. [Google Scholar] [CrossRef]
- Meraj, M.A.; Shehzad, S.A.; Hayat, T.; Abbasi, F.M.; Alsaedi, A. Darcy-Forchheimer flow of variable conductivity Jeffrey liquid with Cattaneo-Christov heat flux theory. Appl. Math. Mech. 2017, 38, 557–566. [Google Scholar] [CrossRef]
- Yin, Q.; Ma, G.W.; Jing, H.W.; Wang, H.; Su, H.; Wang, Y.; Liu, R. Hydraulic properties of 3D rough-walled fractures during shearing: An experimental study. J. Hydrol. 2017, 555, 169–184. [Google Scholar] [CrossRef]
- Rahardjo, H.; Satyanaga, A.; D’Amore, G.A.R.; Leong, E.-C. Soil–water characteristic curves of gap-graded soils. Eng. Geol. 2012, 125, 102–107. [Google Scholar] [CrossRef]






| Grading Index | ||||||
|---|---|---|---|---|---|---|
| d1 (0–5 mm) | d2 (5–10 mm) | d3 (10–15 mm) | d4 (15–20 mm) | d5 (20–25 mm) | ||
| n | 0.1 | 85.13 | 6.11 | 3.78 | 2.77 | 2.21 |
| 0.3 | 61.70 | 14.26 | 9.83 | 7.73 | 6.48 | |
| 0.5 | 44.72 | 18.52 | 14.21 | 11.98 | 10.56 | |
| 0.7 | 32.41 | 20.24 | 17.28 | 15.60 | 14.46 | |
| 0.9 | 23.49 | 20.35 | 19.31 | 18.66 | 18.19 | |
| m | 0.3 | 75.97 | 0 | 9.83 | 7.73 | 6.48 |
| 0.5 | 54.77 | 22.69 | 0 | 11.98 | 10.56 | |
| 0.7 | 39.64 | 24.76 | 21.14 | 0 | 14.46 | |
© 2018 by the authors. Licensee MDPI, Basel, Switzerland. This article is an open access article distributed under the terms and conditions of the Creative Commons Attribution (CC BY) license (http://creativecommons.org/licenses/by/4.0/).
Share and Cite
Zhang, Y.; Zhou, W.; Li, M.; Chen, Z. Experimental Study on Compression Deformation and Permeability Characteristics of Grading Broken Gangue under Stress. Processes 2018, 6, 257. https://doi.org/10.3390/pr6120257
Zhang Y, Zhou W, Li M, Chen Z. Experimental Study on Compression Deformation and Permeability Characteristics of Grading Broken Gangue under Stress. Processes. 2018; 6(12):257. https://doi.org/10.3390/pr6120257
Chicago/Turabian StyleZhang, Yu, Wei Zhou, Ming Li, and Zhanqing Chen. 2018. "Experimental Study on Compression Deformation and Permeability Characteristics of Grading Broken Gangue under Stress" Processes 6, no. 12: 257. https://doi.org/10.3390/pr6120257
APA StyleZhang, Y., Zhou, W., Li, M., & Chen, Z. (2018). Experimental Study on Compression Deformation and Permeability Characteristics of Grading Broken Gangue under Stress. Processes, 6(12), 257. https://doi.org/10.3390/pr6120257
