Next Article in Journal
Evolution and Latest Trends in Cooling and Lubrication Techniques for Sustainable Machining: A Systematic Review
Next Article in Special Issue
Quality Control of Electro-Discharge Texturing of Rolls Through Six Sigma
Previous Article in Journal / Special Issue
Strategic Selection of a Pre-Reduction Reactor for Increased Hydrogen Utilization in Hydrogen Plasma Smelting Reduction
 
 
Font Type:
Arial Georgia Verdana
Font Size:
Aa Aa Aa
Line Spacing:
Column Width:
Background:
Review

Polycrystalline Diamond Composite Bit Technology for Sustainable Work

1
CNPC Engineering Technology R&D Co., Ltd., Beijing 102206, China
2
CNPC Chuanqing Drilling Engineering Co., Ltd., International Engineering Company, Chengdu 610051, China
3
College of Mechanical and Electrical Engineering, Southwest Petroleum University, Chengdu 610500, China
*
Author to whom correspondence should be addressed.
Processes 2025, 13(2), 421; https://doi.org/10.3390/pr13020421
Submission received: 11 December 2024 / Revised: 27 January 2025 / Accepted: 30 January 2025 / Published: 5 February 2025

Abstract

Reducing the auxiliary drilling time and improving the drilling efficiency are not only important technical means to enhance the development and deep exploration of oil and gas reserves, but also have significant implications for ensuring energy security. Bottom hole self-renewal drill bit technology is a new technology that does not require the retrieval of drills from the well bottom, instead directly updating worn drill bits in place. Through the self-renewing structure of the drill bit, the sustainability of the drill bit can be increased. Conducting research on this technology is expected to overcome the technical issues related to the short useable life of drill bits, thus promoting single-trip drilling technology. This article summarizes the scientific progress made by researchers in self-renewal Polycrystalline Diamond Composite (PDC) drill bit technology; for example, the American National Oilwell Varco (NOV) company has developed a mobile self-renewal cone bit technology and introduced the structural characteristics and working principles of three types of rotating self-renewal drill bits: rack-driven, worm-driven, and ratchet-driven. This study compares and analyzes the advantages and disadvantages of these three rotary types of PDC drill bits, providing a detailed introduction to the working principles and modes of the triggering, transmission, limit and locking, and renewal structure devices of the drill bit. Relevant suggestions are proposed for the development of bottom hole self-renewal PDC drill bit technology; namely, strengthening research efforts relating to the intelligent judgment and recognition of cutting tooth wear of the drill bit, as well as the integration of multiple technologies. The sustainability of these novel bits can provide technical support for the development of single-trip drilling technology for deep formations, improve the service life of bits in deep formations that are difficult to drill, and contribute to the efficient development of deep-sea energy resources worldwide.

1. Introduction

The low drilling efficiency of deep well sections is a bottleneck problem affecting the drilling cycle and the cost of drilling deep and ultra-deep wells [1,2,3]. Frequent tripping and the tripping of deep well sections due to poor formation drillability and the short life of bits are among the main reasons for this low drilling efficiency. Based on incomplete statistics, the tripping time associated with changing the drill bit is often longer than the pure drilling time in deep well sections with depths exceeding 6000 m; furthermore, the deeper the well, the higher the tripping time. The last 1246 m of the well Pengshen 6 (well depth: 9026 m; total drilling period: 561 days)—recorded as the deepest vertical well in Asia—took 200 days, accounting for 35.7% of the total drilling period; it required tripping 21 times, accounting for 34.4% of the total (61 times); and the total tripping time was 52.5 days, accounting for 26.1% of the total drilling time of this spud. The pure drilling time of this spud was only 24.9 days, and the tripping time was more than twice that of the pure drilling time. In deep formations, the combined action of the drilling fluid’s column pressure and confining pressure makes the rock stratum more compact, thus worsening the rock’s drillability and shortening the bit life; therefore, the tripping frequency associated with changing the bit is higher, and the single tripping time for drilling becomes longer in deeper well sections. Therefore, the high frequency of bit changes, the increase in the single tripping time, the problem of low drilling efficiency, and the issue of high cost caused by tripping and bit replacement in the context of deep drilling have been highlighted as key issues in the relevant literature [4,5].
Deep and ultra-deep wells have been increasing in number year by year. The exploration and development of deep oil and gas resources is the main way to achieve the strategic success of such resources [6]. Some achievements have been made through “deep engineering” approaches implemented in the field of oil and gas exploration and development. In this line, key technologies such as ultra-high-strength casings, drill pipes, drilling fluid, and measurement and control instruments have been put forward. More than 8000 m deep wells, such as the “bottom hole Mount Qomolangma” well, are emerging [7,8], and ultra-deep wells have been deployed and drilled in recent years [7]. However, it is still difficult to solve the problems related to the long drilling cycle and the high cost caused by frequent tripping and bit replacement when drilling deep well sections, which has directly affected the scale of the “bottom hole Mount Qomolangma” well and significantly hindered its implementation [9,10,11].
“Single-trip drilling” refers to drilling technology in which one drill bit and one set of downhole drilling tools are combined to drill one spud or the entire drilling footage, which has the prominent advantages of reducing the number of drill bits used, improving the drilling speed, shortening the drilling cycle, and reducing the drilling cost [12]. Single-trip drilling is a comprehensive technical method, the essence of which is to maximize the rock-breaking capacity of the drill bit through the comprehensive application of various means, thus completely avoiding the tripping associated with needing to change the drill bit. Single-trip drilling technology has gradually been developed due to the economic development of the shale and tight oil and gas (i.e., unconventional oil and gas) industry in North America, recognized in 2024 as one of the ten major scientific and technological advances in the international petroleum industry. In shale oil and gas horizontal well drilling in the United States, single-trip drilling of a single well section has gradually become normal, while the single-trip drilling of multiple well sections has not been conducted. The footage completed via single-trip drilling ranges from hundreds to thousands of meters, and the longest single-trip drilling footage exceeded 6000 m [13,14,15,16]. However, in long and ultra-long well sections, single-trip drilling is yet to be realized. At present, it is mainly performed in horizontal sections with a shallow burial depth (generally less than 2000 m), as this stratum has good homogeneity and drillability; in contrast, it is very difficult to realize single-trip drilling in strata characterized by a large burial depth, poor drillability, and heterogeneity.
Among many key tools, using a high-quality and high-efficiency bit is the most basic condition to realize single-trip drilling. When the bit life is short and the footage is deeper, single-trip drilling is impossible. The service life of the existing bit is affected by the material of the cutting teeth, and material technology is not likely to extend the wear life of the cutting teeth in a significant way. Therefore, a new structure for PDC bits that is suitable for integration into single-trip drilling technology needs to be developed.

2. Bottom Hole Self-Renewal PDC Bit New Technology

Bottom hole bit self-renewal technology is a new technical idea, where the old bit is directly renewed at the bottom hole without the need for tripping. Generally, when the rock-breaking efficiency of a bit is seriously reduced or drilling cannot be continued due to the wear of the bit, the service life of the bit ends and drilling can only be continued after the bit is pulled out and replaced. In contrast, it is not necessary to pull out and change the drill bit when using bottom hole bit self-renewal technology, as the worn cutting structure can be replaced with a preparatory drill bit cutting structure via ground control, thus completing the bit renewal process in place. The renewal bit is a new bit that can be directly used to drill, thus avoiding the tripping process to change the bit. The bottom hole bit self-renewal technology can be used to implement one or more bits without the need for tripping. This can extend the service life and continuous drilling time of the bit, greatly reduce the tripping time, increase the travel penetration rate (ROP), and reduce the drilling cycle and cost.
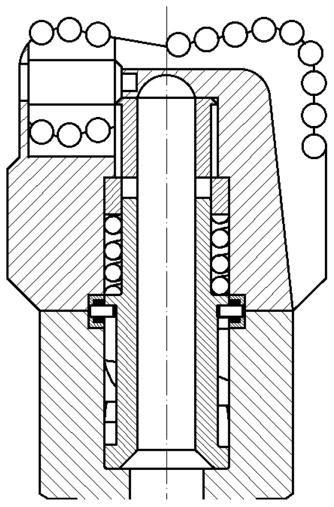
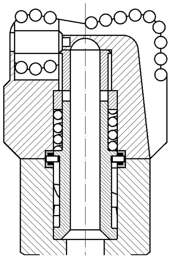
Schlumberger proposed indexable roller bit technology [17]. The left side of Figure 1 shows a sectional view of the assembly of the roller bit, while the right side of Figure 1 shows a schematic diagram of the roller engagement. The roller (133) on the bit is equipped with a driving mechanism (150) which is connected to the rotation mechanism (139). The driving mechanism can drive the rotation mechanism to rotate to a pre-determined position and fix it. The indexing mechanism (120) rotates the cone (121) and enables the teeth at different positions on the cone to break rock. When the teeth at a certain position are worn, the indexing mechanism can be driven to rotate and fix again to break rock with the teeth at a new position.
In 2018, the Drill Research Institute of Southwest Petroleum University proposed a long-life PDC bit with a translation blade [18]. The left side of Figure 2 shows a three-dimensional schematic diagram of a long-life PDC drill bit, the middle part of Figure 2 shows a cross-sectional view of the long-life drill bit, and the right side of Figure 2 shows a radial coverage tooth layout diagram for the long-life drill bit. The drill bit has a retractable translation blade (31), which is in a retracted state at the initial working stage of the drill bit (1), and does not participate in rock-breaking. When the cutting teeth (41a) on the fixed blade reach a certain degree of wear, the cutting structure (31a) of the translation blade stretches to the preset working position and is locked through the ground remote control, thus replacing the old cutting structures.
National Oilwell Varco (NOV) has developed a PDC drill bit that allows for the retraction of part of the cutter blades through a change in hydraulic parameters [19]. The retractable cutter wings of the drill bit are in a retraction state at the initial working stage. When the drill bit is worn, part of the cutter wings stretch out via hydraulic control, thus reinforcing the cutting structure. This scheme can compensate for the wear of the cutting structure of the drill bit once, extending the service life and continuous drilling capacity of the drill bit [20,21,22,23,24].
On the basis of a disc cutter bit and cross-scraping PDC bit technology, the bit research institute of Southwest Petroleum University has put forward a bit with a renewable cutting structure, comprising rotary disc cutter bit technology; that is, the rotary cutter wing (disc cutter) of the bit can be controlled to rotate [25]. The left side of Figure 3 shows a schematic diagram of a rotating renewable drill bit. The basic idea of this technology is that the disc cutter on the drill bit can be controlled to rotate to a preset working position and locked. When the bit is working in the bottom hole, if the initial cutting teeth are worn, the disc cutter can be rotated on the ground through remote control, such that the worn teeth are replaced with new cutting teeth to continue drilling. Therefore, the bit can complete multiple updates of the cutting structure in the bottom hole, achieving the effect of replacing the bit at the bottom hole without tripping. On the basis of the above ideas, the Drilling Research Institute of Southwest Petroleum University has continued to put forward technical schemes for non-disc cutter bits, where the disc cutter is designed instead as a curved polygon. The curved edge of the non-disc cutter can be designed according to the cutting contour of the drill bit, which matches the cutting contour of the drill bit. On the right side of Figure 3, the radial tooth layout diagram of the rotating renewable drill bit is shown. This scheme breaks the constraint of the idea of a circular disc cutter, and can be customized and flexibly designed according to the environment in which it is used and the conditions of the drill bit. The number of cutting structures on the drill bit is determined by the number of sides of the polygon [26,27,28,29,30,31].

3. Scheme Design of Rotary Self-Renewal Bit

Translational self-renewal bits need to be provided with multiple cutter blades in a limited space; however, especially in the core area of the bit, it may be impossible to provide multiple cutter blades and, so, the translational self-renewal bit will be limited in actual application. However, the renewal structure of the rotary self-renewal bit has been updated through the circular disc cutter structure, occupying less bit space. The rotary self-renewal bit is composed of a trigger mechanism, a driving mechanism, a limiting mechanism, and a locking mechanism. According to the different driving structures [32,33], rotary self-renewal bits can be divided into rack drive self-renewal bits, worm drive self-renewal bits, and ratchet drive self-renewal bits.

3.1. The Rack Drive Self-Renewal Drill

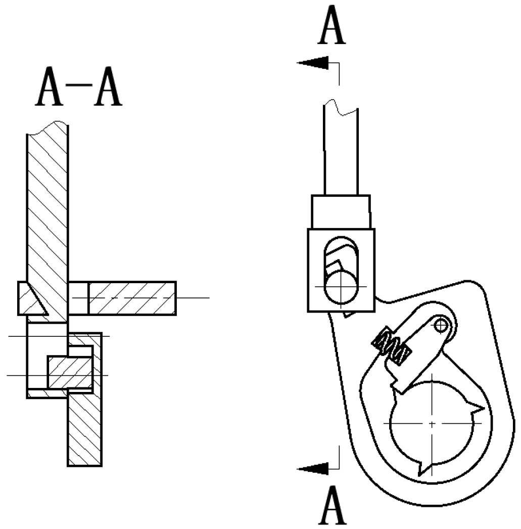
The rotary rack drive self-renewal drill bit comprises a self-renewal wheel, a wheel shaft, a self-renewal gear, a triggering mechanism, a driving mechanism, a limiting and locking mechanism, and a spring reset mechanism [34,35,36,37,38]. The drill bit driving mechanism is a gear rack structure, and the triggering mode is triggered by a ball-throwing and pressure-holding mode. The limiting and locking mechanisms are triangular components. The three-dimensional model of a rack driving self-renewal drill bit is shown in Figure 4.
The self-renewal wheel in the drill bit is connected with the drill bit body through the wheel shaft; the gear and the wheel shaft are connected through the key, the gear, and the rack mesh with each other; the rack and the piston member form a fixed connection; the spring reset mechanism is arranged between the piston member and the drill bit body; and a groove is arranged at the corresponding position of the piston member and the prism lock member. When the drill bit works normally, the self-renewal teeth are equivalent to the fixed teeth scraping the bottom rock and the spring reset mechanism is in a compression state, such that the piston member moves downward. Due to the unidirectional locking performance of the prism member, the piston is in a static state, thus locking the rack. Due to the meshing effect of the gear and rack, the gear is locked and, finally, the self-renewal wheel is locked. When the cutting teeth on the drill bit are worn, such that the drill cutting teeth need to be renewed, the drill bit is lifted away from the bottom of the well for a certain distance, and the displacement of drilling fluid is increased by throwing balls to hold the pressure. Figure 5 shows a cross-sectional view of the ball-type trigger mechanism. In this way, upward pressure is applied to the piston pressure-bearing surface. As the prism lock can only be locked downward, the piston pushes the rack to move upward under the pressure of the drilling fluid. Figure 6 shows the working diagram of the prism locking mechanism. The rack drives the gear to rotate, and the gear drives the self-regulating wheel to rotate. When the piston has moved a certain distance, the prism is locked under the action of the spring, such that the cutting teeth of the drill bit are renewed once [39,40].
The key structural parameters of the rack-driven self-renewal drill bit mainly include the drill bit parameters, reset spring parameters, gear rack structural parameters, axle structural parameters, and so on. The specific values are given in Table 1.

3.2. The Worm-Driven Self-Renewal Drill

Three-dimensional models of a worm-driven self-renewal drill bit are shown in Figure 7. The driving mechanism is the worm gear mechanism, the trigger mechanism includes the piston component connected with the rack, the lower end of the piston component is provided with a bearing surface, the transmission structure is a ball screw, the core of the drill is provided with a reset spring mechanism, and the limiting and locking mechanisms have a ratchet groove structure.
The self-renewal wheel axis is vertical to the radial direction of the drill bit, and is connected with the drill bit through the wheel shaft to achieve support on both sides. The axial locking of the self-renewal wheel is realized through the ball. The self-renewal wheel, worm wheel, and wheel shaft are connected through the spline. The worm axis is parallel to the drill bit axis. The lower end of the worm is connected with the ball screw through a coupling. A bearing is arranged at the upper end of the worm and the lower end of the screw. The piston is connected with the ball screw through the connecting rod. A ratchet groove limiting and locking mechanism is arranged at the connecting rod, as shown in Figure 8 as a schematic diagram. When the drill bit works normally, the cutting teeth on the renewable wheel are fixed teeth. Due to the self-locking effect of the worm wheel and worm, the worm wheel cannot drive the worm to rotate, ensuring that the renewable wheel will not rotate reversely and the spring at the center of the drill bit is in a compressed state, causing the piston member to move downward. Due to the one-way locking performance of the ratchet groove, the piston is in a balanced state, thus locking the ball screw. When the drill bit needs to be updated, the pressure on the bearing surface of the piston increases, such that the piston moves upward, causing the ball screw to move, the worm to rotate and, finally, the renewable wheel to rotate. When the connecting rod moves to the ratchet groove position, limiting and locking can be completed.
The key structural parameters of the worm-driven self-renewal drill bit mainly include drill bit parameters, reset spring parameters, worm gear and worm gear structural parameters, wheel shaft structural parameters, ball screw parameters, and other parameters. Specific values are provided in Table 2.

3.3. The Ratchet Drive Self-Renewal Drill

Three-dimensional models of a ratchet-driven self-renewal drill bit are shown in Figure 9. The drive mechanism is a ratchet mechanism, the trigger mechanism is a ratchet shaft, the lower end of the ratchet shaft is provided with a bearing surface, the transmission structure is a pair of bevel gears, a return spring mechanism is provided between the bevel gear and the ratchet shaft, and the limit and locking mechanisms are ratchet groove structures on the ratchet shaft.
The assembly diagram of the drill parts is shown in Figure 10. A self-renewal wheel is provided on the support blade, while a self-renewal gear is provided on the self-renewal wheel. The self-renewal wheel is rotatably connected with the support blade through a wheel shaft, and a cone wheel is provided at one end of the self-renewal wheel. A drive shaft, a ratchet shaft, a spring, and a sliding pin are arranged inside the bit body. One end of the drive shaft is a tapered wheel, while the other end is a spline groove. The tapered wheel of the drive shaft and the tapered wheel of the self-regulating wheel mesh with each other. One end of the ratchet shaft is an upper spline. The ratchet shaft is provided with a ratchet groove, and the lower end of the ratchet wheel is provided with a bearing surface. Figure 11 shows a three-dimensional diagram of the ratchet shaft. The upper spline of the ratchet shaft and the spline groove of the drive shaft cooperate with each other, and the sliding pin and the ratchet groove form a sliding fit. The spring is arranged between the ratchet shaft and drive shaft, and the sliding pin is arranged between the bit and the joint. When the drill bit works normally, the drilling fluid pressure and spring elastic force are balanced mutually, the sliding pin locks the ratchet shaft’s rotation in the ratchet groove, and the self-renewal wheel is locked by the transmission mechanism. When the cutting teeth at the bottom of the well are worn and need to be replaced, the drill bit is lifted to a certain distance from the bottom of the well and the drilling fluid pressure is increased using the ground equipment. Once the sliding pin reaches the lower dead center, the displacement of the drilling fluid is reduced. Driven by the spring, the ratchet moves downward in the axial direction, and the sliding pin gradually reaches the upper slope of the ratchet groove. This slope pushes the ratchet shaft to rotate continuously until it reaches the top dead center of the ratchet groove. The slope will push the ratchet shaft to continue to rotate until the sliding pin is located at the lower dead center of the ratchet groove. Under the action of the spring, the ratchet moves downward in the axial direction, and the sliding pin gradually reaches the upper slope of the ratchet groove; this pushes the ratchet shaft to rotate continuously under the action of the slope until it is located at the top dead center of the ratchet groove. In this way, the ratchet shaft moves and rotates at the same time. The upper end of the ratchet shaft is provided with an upper spline. The drive shaft spline groove, the spline, and the spline groove cooperate with each other, and the ratchet drives the drive shaft to rotate. The conical wheel at the upper end of the drive shaft meshes with the conical wheel on the self-renewal wheel to drive the self-renewal wheel to rotate, so that the self-renewal teeth are turned to the outer surface of the blade, forming a part of the cutting structure of the drill bit, thus providing the bottom hole self-renewal capacity and achieving the purpose of extending the service life of the bit.
The key structural parameters of a ratchet-driven self-renewal bit mainly include bit parameters, reset spring parameters, cone wheel parameters, wheel shaft structural parameters, and ratchet wheel structure parameters, among others. The specific values are given in Table 3.
Through a comparison and analysis of these three self-renewal schemes, it can be seen that the advantage of the rack-and-pinion drill bit is that the rack-and-pinion structure is relatively simple and its reliability is good, while its disadvantages include that the control accuracy is low and the gear can easily buckle. The worm-driven drill bit structure has the advantages of strong self-locking capacity and high rotation control accuracy, as well as the disadvantages of a complex drill structure and need for the precise design of the pump pressure and spring rigidity. The advantage of ratchet-driven bits is that the bit is updated frequently, while the disadvantages are that the hydraulic structure of the bit is difficult to design and the internal transmission structure is complex.

4. Methodology

4.1. Triggering Device

Triggering devices include mechanical, electric, pneumatic, and hydraulic triggers. Common trigger devices include ball-throwing pressure-holding trigger devices, piston sliding trigger devices, and drilling pressure start trigger devices.
Figure 12 shows the pressure-holding processes of multiple pitching-type devices. The ball-throwing triggering device comprises a pressure-holding ball put into the ground and a multi-level one-way triggering mechanism arranged between the bit body and the transmission device or the indexing cutter wing. The multi-level one-way triggering mechanism comprises at least two layers of (inner and outer) nested sliding sleeves arranged in the drilling fluid flow channel of the bit body. The top surfaces of the inner and outer sliding sleeves are used to receive the pressure-holding ball, while the innermost layer of the inner sliding sleeve is used to drive the transmission device or the indexing cutter wing. The inner sliding sleeve of each layer can slide up and down in the inner cavity of the outer sliding sleeve, while the outermost outer sliding sleeve can slide up and down in the inner cavity of the drilling fluid flow channel. Shear pins are provided between the inner and outer sliding sleeves of each layer, as well as between the outermost outer sliding sleeve and the inner wall of the drilling fluid flow channel. The inner and outer sliding sleeves of each layer are provided with through-holes communicating inside and outside the inner cavity, the inner sliding sleeve of each layer is provided with a limit hole above the through-hole, and the outer sliding sleeve of the outer layer is correspondingly provided with a limit pin below the through-hole. The limit pin is continuously applied by the elastic mechanism, thus pushing it and causing a pushing force inside the limit hole. The pressure-holding processes of multiple ball-throwing devices are shown in Figure 12.
Figure 13 shows the piston sliding triggering device. The triggering device comprises a piston body, a return spring, and a transmission structure. When the drill bit works normally, the pressure of the drilling fluid on the piston and the pre-pressure of the spring counteract each other. When the self-renewal wheel needs to be rotated, the pressure of the drilling fluid is increased to push the piston compression spring to move upward, thus realizing the self-regulating trigger function of the drill bit.
Figure 14 shows the trigger device for starting the drill bit pressure. In the pressure triggering device, the elastic coefficient of the safety spring above the pressing member is greater than that of the starting spring below the rotating member, and the pressure at which the safety spring deforms is 2–3 times the maximum value of the normal working bit pressure. When the bit is under normal bit pressure, the press-type rotating device will not start; when the bit needs to be renewed, the upper safety spring will be deformed after 2–3 times the maximum conventional weight is applied to the bit, and the press-type rotating device under the safety spring begins to operate.

4.2. Transmission Structure Device

The transmission device comprises a gear rack transmission structure, a bevel gear structure, a worm gear and worm structure, and other different structures. In particular, the gear rack transmission structure comprises a rack and a gear set. When the rack is pushed downward by a trigger device, the rack and the gear set are engaged to drive the gear set to rotate. The gear set is composed of one or more gears which, when engaged, drive the indexing cutter blade to rotate. The bevel gear structure is composed of a pair of bevel gears, which are meshed with each other to realize 90° rotation transmission. The other bevel wheel is driven by the bevel wheel, in order to drive the rotation of the self-renewal wheel. The worm gear and worm structure consist of a worm and worm gear. This mechanism has a self-locking function, and the worm gear can only be driven by the worm gear to rotate. No separate locking mechanism is required.

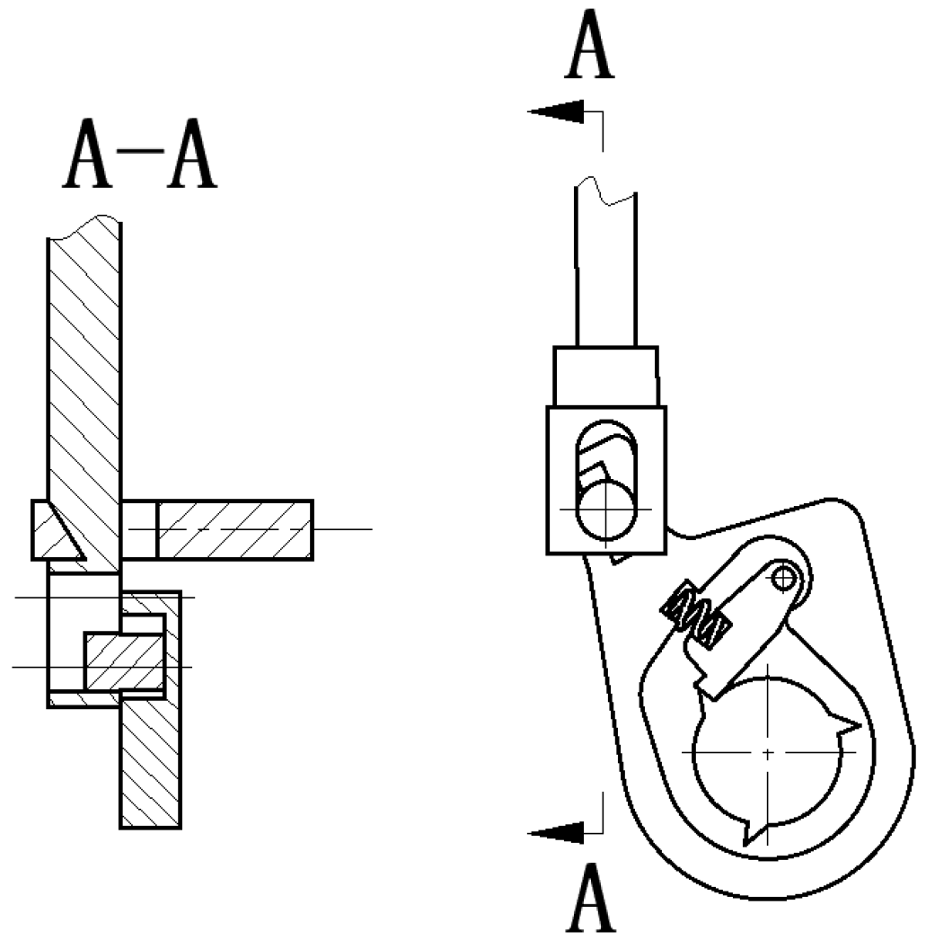
4.3. Limit and Locking Device

The limiting and locking mechanism comprises a limiting pin and a limiting slot structure; for example, a ratchet structure. The limiting pin and limiting slot can be arranged on the transmission device or a trigger device. The elastic mechanism continuously applies a thrust, thus pushing the limiting pin toward the transmission device, and a limiting slot is arranged on the limiting pin of the corresponding transmission device, where the spacing between the limiting slots matches the angle between them. In this way, the limiting pin is inserted into the limiting slot. When the transmission device continues to move downward, the limiting pin is pushed to exit the limiting slot. Figure 15 shows the structure of the ratchet. The pawl and ratchet structure comprises a push rod, a rotating body, a pawl, and a ratchet wheel. The push rod is driven by a trigger device to move up and down in the drill bit body. The push rod and the rotating body are connected to drive the rotating body to rotate automatically. The rotating body has an inner cavity, which is provided with a pawl and a ratchet wheel. The pawl and the rotating body are elastically connected. A plurality of teeth are arranged on the outer edge of the ratchet wheel and, when the push rod moves up to drive the rotating body and its pawl to rotate, the pawl will freely pass through these teeth. When the push rod moves down to drive the rotating body and its pawl to rotate in a reverse direction, the pawl and a certain clamping wheel will engage to drive the ratchet wheel to rotate.

4.4. Update of Structural Units

The rotary self-renewal structure device comprises two structures: a rotary disc cutter and a self-renewal wheel. Figure 16a shows a schematic diagram of a rotary drill bit, while Figure 16b shows a schematic diagram of a self-renewal wheel bit. The axis of the rotary disc cutter is perpendicular to the radial direction of the drill bit. The rotary disc cutter and the drill bit body can realize single- or double-side support connection. The axis of the self-renewal wheel is consistent with the radial direction of the drill bit (Figure 16b). The updating wheel is connected with the drill bit body through the shaft. The self-renewal wheel can realize multiple bottom hole renewals. While the bottom hole coverage area may be limited, especially the external area where the bit is easily worn, and the number of rotary disc cutter renewals is limited, the bottom hole coverage area of the bit is large, such that full coverage of the radial area of the bit can be achieved.

5. Prospects for Future Research

The real-time monitoring and identification of the working state (including wear state) of bottom hole bits has always been a difficult problem in the field of drilling engineering, which plays an important role in determining the timing of bit replacement. At present, the methods for identifying the working state of the bottom hole bit can be preliminarily divided into two types: indirect ground monitoring and identification (represented by the “mechanical specific energy principle”) and direct monitoring and identification of the bottom hole bit (represented by the “intelligent bit”).
The principle of mechanical specific energy is to observe its impact on the ROP by changing the bit wear parameters and bit design. Specific mechanical energy (MSE) models can be used to adjust the working parameters. Under the condition of not affecting the comprehensive wear, the ROP value can be maximized in the local drilling process; therefore, it is used as a global optimization tool and has been popularized for application. Intelligent bit technology involves installing sensors and intelligent microchips on the bit; collecting the characteristics of the drilling stratum; measuring the bit weight, torque, rotation speed, and other data; identifying the working state of the bit at the bottom of the hole; and adjusting the drilling parameters of the bit. The use of these measurement data and interfaces helps to reduce or eliminate the low efficiency caused by bit design, bottom hole assembly, and parameter selection, and can support decisions regarding the dynamic performance of the bit.
To summarize, bit technology has developed rapidly, thus playing an important role in promoting the progress of drilling technology. In deep-sea and other high-cost drilling projects, bottom hole self-renewal bit technology has great application potential.

6. Conclusions

With the progress of resource exploration and development, there exist overall relationships between the response of the excavation bit, drilling parameters, and geological characteristics. Targeted tool/process design and drilling parameter optimization for speed and efficiency improvement have become urgently necessary for the promotion of deep and unconventional resource development. With the self-renewal bit as a representative, the self-renewal mode characterized by remote control, strong reliability, and high transfer efficiency has gradually become the key direction of research and development regarding long-life rock-breaking tools for oil and gas wells worldwide. Based on the technical idea of a rotary self-renewal structure, authors have studied the sustainability of self-renewal bits and explored some key problems relating to self-renewal bit triggers, transmission, limiting and locking, and renewal structure devices.
(1)
The downhole renewal of cutting teeth provides a way to increase a bit’s ability to drill sustainably; as opposed to increasing the wear resistance of cutting teeth to extend the bit life, the method of replacing cutting teeth at the bottom of the well is the most effective means to realize one-trip drilling in oil fields at present. The vigorous development and promotion of this technology is expected to overcome the technical issues related to low footage and the difficulty of increasing the speed of drilling in deep hard rock strata in China.
(2)
Rotary bottom hole self-renewal PDC bit technology relies on the self-locking characteristics of the worm wheel and worm to achieve one-way locking, which is highly reliable and allows no less than three updates to be achieved. This significantly improves the bit sustainability; however, at present, there is a lack of research on this technology by both domestic and foreign scholars, and there is no systematic research conclusion regarding the wear judgment for the bit’s cutting structure, the new control technology, the working mechanics of the update system, and the design method. Therefore, it is suggested to enhance the progress of this technology.
(3)
The key to extending the sustainability of drill bits is to clarify their working mechanisms, starting from the driving mechanism kinematics and transmission dynamics; the blocking force and its source in the processes driving excitation, startup, and updating; the load in the driving process of updating; and the ultimate load of each component.

Author Contributions

Conceptualization, X.L. and L.Y.; methodology, G.J.; software, H.R.; validation, Q.W., J.Y. and X.L.; formal analysis, L.Y.; investigation, G.J.; resources, H.R.; data curation, Q.W.; writing—original draft preparation, K.H.; writing—review and editing, X.L.; visualization, L.Y.; supervision, G.J.; project administration, X.L. and J.Y.; funding acquisition, K.H. All authors have read and agreed to the published version of the manuscript.

Funding

This research was funded by the open fund project of the State Key Laboratory of Oil and Gas Reservoir Geology and Exploitation (Southwest Petroleum University) in 2022 [grant no. PLN2022-29], and Nanchong City-Southwest Petroleum University City School Science and Technology Strategic Cooperation Project [No. 23XNSYX0018].

Data Availability Statement

No new data were created or analyzed in this study.

Conflicts of Interest

Authors Xiaoao Liu, Guodong Ji, Qiang Wu and Jinping Yu were employed by CNPC Engineering Technology R&D Co., Ltd. Author Liyuan Yang was employed by CNPC Chuanqing Drilling Engineering Co., Ltd. The remaining authors declare that the research was conducted in the absence of any commercial or financial relationships that could be construed as a potential conflict of interest.

References

  1. Deng, H.; Jia, L. Key Technology and Prospect of Deep and Ultra-deep Well Drilling in Sichuan Basin. Gas Ind. 2022, 42, 82–94. [Google Scholar]
  2. Yin, H.; Zhao, X.; Li, Q. Drill bit selection method for deep well and ultra-deep well based on Vague set of entropy weight. In Proceedings of the 2022 China Oil and Gas Intelligent Technology Conference—The 5th High-End Forum on Artificial Intelligence in Petroleum and Petrochemical Industry and the 8th Open Forum on Intelligent Digital Oil Field Beijing Energy Association, China University of Petroleum (Beijing), National Key Laboratory of Oil and Gas Resources and Exploration, National Key Laboratory of Heavy Oil, Baidu Intelligent Cloud, Beijing, China, 6 February 2022; pp. 178–185. [Google Scholar]
  3. Zuo, H.; He, F.; Yan, W.; Liu, W. PDC bit customization design and application in ultra-deep wells in East China Sea. Technol. Superv. Pet. Ind. 2020, 36, 17–22. [Google Scholar]
  4. Wu, Z.; Lu, L.; Wang, Y. Rock-breaking characteristics and temperature field variation of cone-PDC hybrid bit. Nat. Gas Ind. 2020, 40, 99–106. [Google Scholar]
  5. Song, D.; Ren, Z.; Yang, Y.; Chen, Y.; Nie, G.; Tan, L.; Peng, H.; Li, Z.; Chen, X.; Li, M.; et al. Drilling performance analysis of impregnated micro bit. Mech. Sci. 2022, 13, 867–875. [Google Scholar] [CrossRef]
  6. Shi, Z.; Yang, Y. Research on Rock Breaking Mechanism with PDC Impact Composite Drill. J. Front. Soc. Sci. Technol. 2020, 2, 80–82. [Google Scholar]
  7. Cheung, H.-D. Research status and key technologies of 3D printing technology. Mod. Ind. Econ. Inf. Technol. 2022, 12, 139–141. [Google Scholar]
  8. Zhang, D.; Yang, Y.; Ren, H.; Niu, S. Failure resistance research of the dual-stage hybrid bit. J. Eng. Fail. Anal. 2023, 145, 107009. [Google Scholar] [CrossRef]
  9. Wang, H.; Huang, H.; Bi, W.; Huang, K. Development and Prospect of Deep-well and Ultra-deep Well Oil and Gas Drilling Technology. Gas Ind. 2021, 41, 163–177. [Google Scholar]
  10. Ji, H. Breakthroughs in “Bottom hole Zhufeng” Ultra-deep Oil and Gas Exploration. China Sci. News 2022, 46, 01-005. [Google Scholar]
  11. Extend the wings Significant breakthrough in oil prospecting of “deep bottom hole engineering”. Guangming Dly. 2022, 26, 11–16.
  12. Wang, Z.; Wang, W.; Zhang, L.; Zhu, X. Current Situation and Prospect of Drilling and Completion of Wanmi Scientific Ultra-deep Well. Sci. Technol. Bull. 2022, 40, 27–35. [Google Scholar]
  13. Liu, K. Status quo and development prospect of “one trip drilling” key tool technology. Pet. Mach. 2019, 47, 13–18. [Google Scholar]
  14. Yuan, J. New Progress and Development Prospect of Sinopec Shale Gas Ultra-long Horizontal Well Drilling Technology. Pet. Drill. Technol. 2023, 46, 1–11. [Google Scholar]
  15. Wang, H.; Zhou, B. Development and Prospect of Tight Sandstone Gas Drilling and Completion Technology. Gas Ind. 2022, 42, 159–169. [Google Scholar]
  16. Yuan, G.; Fu, L.; Wang, Y.; Wang, W. Current Situation and Development Suggestions on Drilling and Completion Technology for Economic and Effective Development of Unconventional Oil and Gas in China. Pet. Drill. Technol. 2022, 50, 1–12. [Google Scholar]
  17. Gao, D. Research Advances in Unconventional Oil and Gas Well Engineering Technology. Gas Ind. 2021, 41, 153–162. [Google Scholar]
  18. Dahlgren, S.S.; Hall, D.R.; Hanson, J.J. Indexing Drill Bit: China. WO 2016160637 A1, 6 October 2016. [Google Scholar]
  19. Yang, Y.; Qi, Q.; Lin, M.; Wang, W. A Long Life Pdc Bit with Indexing Cutter Blade: China. CN208137866U, 23 November 2018. [Google Scholar]
  20. Vié, G. At-bit steerable system enables single-trip vertical, curve and lateral drilling in North American shales. Drilling Contractor, 6 March 2020. [Google Scholar]
  21. Zhou, J.; Huang, Z.; An, X.; Tan, J. Failure Analysis and Improvement of Bimetal Seal of High Speed Cone Bit Bearing. Oil Field Mach. 2011, 8, 50–53. [Google Scholar]
  22. Zhou, Y.; Huang, Z.; Tan, L.; Ma, Y.; Qiu, C.; Zhang, F.; Yuan, Y.; Sun, C.; Guo, L. Cone bit bearing seal failure analysis based on the finite element analysis. Eng. Fail. Anal. 2014, 45, 292–299. [Google Scholar] [CrossRef]
  23. Li, Y. Research on Mechanical Behavior of Hollow Cylindrical Roller Bearing with Cone Bit; Southwest Petroleum University: Chengdu, China, 2015. [Google Scholar]
  24. Shen, H. Structural Strength Analysis and Parameter Research of Tricone Bit Bearing; Southwest Petroleum University: Chengdu, China, 2015. [Google Scholar]
  25. Huang, Z.; Li, G. Optimization of cone bit bearing seal based on failure analysis. Adv. Mech. Eng. 2018, 3, 168781401876748. [Google Scholar] [CrossRef]
  26. Ji, W.; Cao, Z.; Zhong, L.; Li, G. Failure Analysis of Roller Bearing of Type KX732-250 Mining Roller Bit. Min. Equip. 2024, 1, 150–155. [Google Scholar]
  27. Han, C.; Li, Y.; Zhang, J.; Yan, J. Thermal Coupling Analysis of Hollow Cylindrical Roller Bearing with Cone Bit. Mech. Strength 2016, 6, 1294–1299. [Google Scholar]
  28. Huang, J.; Zeng, B.; He, Y.; Wang, X.; Qian, L.; Xia, C.; Yi, X. Numeric al study of rock- breaking mechanism in hard rock with full PDC bit model in compound impact drilling. Energy Rep. 2023, 9, 3896–3909. [Google Scholar] [CrossRef]
  29. Ming, J.; Lei, C.; Bin, T.; Li, G. Experimental and numerical study on the dynamic characteristics of full-size PDC bit. Mech. Syst. Signal Process. 2023, 200, 123–134. [Google Scholar]
  30. Liu, Y.; Dai, S.; Wei, J.; Li, G. Study on factors influencing the self -propelling capacity of self-propelled water jet drill bits. Coal Geol. Explor. 2023, 5, 198–206. [Google Scholar]
  31. Cai, C.; Tan, Z.; Ling, C.; Li, G. Research on rock breaking Mechanism and Drilling rock breaking of separate impact scraping combined drill bit. J. Vib. Shock. 2022, 16, 232–241. [Google Scholar]
  32. Zhu, X.; Tang, W.; Liu, W.; Liu, S. The influential factors on electric breakdown damage of insulator in electric pulse rock breaking drill bits. Geoenergy Sci. Eng. 2025, 245, 213504. [Google Scholar] [CrossRef]
  33. You, Z.; Chen, L.; Li, C.; Liu, G.; Ye, B.; Shi, X. Cutting Migration and Core Disturbance Caused by the Hydraulic Structure of Pressure- and Gas-Maintaining Coring Bits. Geofluids 2022, 36, 16–29. [Google Scholar] [CrossRef]
  34. Tao, W.; Jue, W.; Ping, Y. Research of electrical treeing characteristics in pmma under nanosecond pulses. Adv. Technol. Electr. Eng. Energy 2017, 36, 62–68. [Google Scholar]
  35. Von Hippel, A. Electric breakdown of solid and liquid insulators. J. Appl. Phys. 1937, 8, 815–832. [Google Scholar] [CrossRef]
  36. Wang, X.; Yang, S.; Li, C.; He, X. Nsga-ii algorithm-based structural parameters of electric pulse rock-breaking electrode bit multi-objective optimization. J. Energy Resour. Technol. 2024, 146, 33201. [Google Scholar] [CrossRef]
  37. Yamano, Y. Control of electrical tree at initiation stage in ldpe by mixed addition of al2o3 nano-particle and azobenzoic compound. IEEE Trans. Dielectr. Electr. Insul. 2014, 21, 209–216. [Google Scholar] [CrossRef]
  38. Yan, J.; Jia, P.; Huang, R.; Zhao, Y.; Li, L.; Zhou, Y. Investigation of Temperature dependent Dc Breakdown Characteristics of Nano-Al2O3/epoxy Composites at Low Temperatures. Cryogenics 2023, 135, 103744. [Google Scholar] [CrossRef]
  39. Yao, T.; Chen, K.; Niu, T.; Yang, Y. Effects of frequency and thermal conductivity on dielectric breakdown characteristics of epoxy/cellulose/bn composites fabricated by ice-templated method. Compos. Sci. Technol. 2021, 213, 108945. [Google Scholar] [CrossRef]
  40. Zarubin, V.S.; Kuvyrkin, G.N.; Savelyeva, I.Y. A variation model of thermal breakdown of a high-voltage dc cable electrical insulation. Russ. Electr. Eng. 2020, 91, 279–285. [Google Scholar] [CrossRef]
Figure 1. Technical scheme of rotary bit proposed by Schlumberger.
Figure 1. Technical scheme of rotary bit proposed by Schlumberger.
Processes 13 00421 g001
Figure 2. Long-life PDC bit with translation blade.
Figure 2. Long-life PDC bit with translation blade.
Processes 13 00421 g002
Figure 3. Technical principle of rotary table bit.
Figure 3. Technical principle of rotary table bit.
Processes 13 00421 g003
Figure 4. Three-dimensional view of rack-driven self-renewal bit.
Figure 4. Three-dimensional view of rack-driven self-renewal bit.
Processes 13 00421 g004
Figure 5. Ball-type trigger mechanism.
Figure 5. Ball-type trigger mechanism.
Processes 13 00421 g005
Figure 6. Working diagram of prism locking mechanism.
Figure 6. Working diagram of prism locking mechanism.
Processes 13 00421 g006
Figure 7. Three-dimensional views of worm-driven self-renewal bit.
Figure 7. Three-dimensional views of worm-driven self-renewal bit.
Processes 13 00421 g007
Figure 8. Schematic diagram of ratchet groove locking mechanism.
Figure 8. Schematic diagram of ratchet groove locking mechanism.
Processes 13 00421 g008
Figure 9. Three-dimensional views of ratchet drive self-renewal bit.
Figure 9. Three-dimensional views of ratchet drive self-renewal bit.
Processes 13 00421 g009
Figure 10. Assembly diagram of drill bit.
Figure 10. Assembly diagram of drill bit.
Processes 13 00421 g010
Figure 11. Three-dimensional diagram of ratchet shaft.
Figure 11. Three-dimensional diagram of ratchet shaft.
Processes 13 00421 g011
Figure 12. Pressure-holding process of multiple pitchers.
Figure 12. Pressure-holding process of multiple pitchers.
Processes 13 00421 g012
Figure 13. Piston sliding trigger device.
Figure 13. Piston sliding trigger device.
Processes 13 00421 g013
Figure 14. Bit pressure trigger device.
Figure 14. Bit pressure trigger device.
Processes 13 00421 g014
Figure 15. Structure of ratchet wheel.
Figure 15. Structure of ratchet wheel.
Processes 13 00421 g015
Figure 16. Schematic diagrams of drills with different renewal structures: (a) schematic diagram of rotary disc bit; (b) schematic diagram of self-renewal wheel bit.
Figure 16. Schematic diagrams of drills with different renewal structures: (a) schematic diagram of rotary disc bit; (b) schematic diagram of self-renewal wheel bit.
Processes 13 00421 g016
Table 1. Key parameters of rack-driven self-renewal drill.
Table 1. Key parameters of rack-driven self-renewal drill.
Drill bit parameterDrill diameter (mm)Drill length (mm)Cutting tooth diameter (mm)Cutting tooth length (mm)Number of cutting teeth (grain)
215.933015.8751340
Parameters
of return spring
Spring pitch diameter (mm)Free height of spring (mm)Spring diameter (mm)Working Stroke (mm)Coefficient of elasticity (KN·mm−1)
206043537
Rack and pinion
parameters
Gear tooth shapeGear pressure angle (°)Gear ratioRack movement distance (mm)Gear module
Involute200.753520
Structural
parameters of axle
Diameter of main shaft (mm)Length of main shaft (mm)Small shaft diameter (mm)Small shaft length (mm)Bearing length (mm)
3720141335
Table 2. Key parameters of worm-driven self-renewal drill.
Table 2. Key parameters of worm-driven self-renewal drill.
Drill bit parameterDrill diameter (mm)Drill length (mm)Cutting tooth diameter (mm)Cutting tooth length (mm)Number of cutting teeth (grain)
215.922115.875/13.4413/843
Parameters
of return spring
Spring pitch diameter (mm)Free height of spring (mm)Spring diameter (mm)Working stroke (mm)Coefficient of elasticity (KN·mm−1)
4560519.2367
Parameters of worm wheel and wormWorm gear modulusNumber of threadsGear ratioNumber of worm gear teethWorm reference circle
diameter (mm)
220181818
Structural parameters of axleDiameter of main shaft (mm)Length of main shaft (mm)Small shaft diameter (mm)Small shaft length (mm)Bearing length (mm)
3720303535
Parameters
of ball screw
Ball screw lead (mm)Ball diameter (mm)Working stroke (mm)Diameter (mm)Total length (mm)
21.228.58100
Table 3. Key parameters of ratchet-driven self-renewal bit.
Table 3. Key parameters of ratchet-driven self-renewal bit.
Drill bit parameterDrill diameter (mm)Drill length (mm)Cutting tooth diameter (mm)Cutting tooth length (mm)Number of cutting teeth (grain)
215.9413.515.875/13.441345
Parameters
of return spring
Spring pitch diameter (mm)Free height of spring (mm)Spring diameter (mm)Working stroke (mm)Coefficient of elasticity (KN·mm−1)
62120165037
Parameters
of cone pulley
Inner hole diameter (mm)Gear pressure angle (°)Gear ratioTooth width (mm)Gear module
20/10203351
Structural parameters
of axle
Diameter of main shaft (mm)Length of main shaft (mm)Small shaft diameter (mm)Small shaft length (mm)Bearing length (mm)
28.520/18152045
Ratchet wheel
parameters
Groove depth (mm)Ratchet wheel diameter (mm)Working stroke (mm)Number of clips
Ratchet wheel length (mm)
10122606248
Disclaimer/Publisher’s Note: The statements, opinions and data contained in all publications are solely those of the individual author(s) and contributor(s) and not of MDPI and/or the editor(s). MDPI and/or the editor(s) disclaim responsibility for any injury to people or property resulting from any ideas, methods, instructions or products referred to in the content.

Share and Cite

MDPI and ACS Style

Liu, X.; Ji, G.; Yang, L.; Ren, H.; Wu, Q.; Yu, J.; Huang, K. Polycrystalline Diamond Composite Bit Technology for Sustainable Work. Processes 2025, 13, 421. https://doi.org/10.3390/pr13020421

AMA Style

Liu X, Ji G, Yang L, Ren H, Wu Q, Yu J, Huang K. Polycrystalline Diamond Composite Bit Technology for Sustainable Work. Processes. 2025; 13(2):421. https://doi.org/10.3390/pr13020421

Chicago/Turabian Style

Liu, Xiaoao, Guodong Ji, Liyuan Yang, Haitao Ren, Qiang Wu, Jinping Yu, and Kuilin Huang. 2025. "Polycrystalline Diamond Composite Bit Technology for Sustainable Work" Processes 13, no. 2: 421. https://doi.org/10.3390/pr13020421

APA Style

Liu, X., Ji, G., Yang, L., Ren, H., Wu, Q., Yu, J., & Huang, K. (2025). Polycrystalline Diamond Composite Bit Technology for Sustainable Work. Processes, 13(2), 421. https://doi.org/10.3390/pr13020421

Note that from the first issue of 2016, this journal uses article numbers instead of page numbers. See further details here.

Article Metrics

Back to TopTop