Risk Assessment of Immersed Tube Tunnel Construction
Abstract
:1. Introduction
2. Theoretical Model
- (1)
- Establishing a risk assessment index system: To solve the problems of crossing and omission of risk factors in the process of risk factor identification of large and complex projects, and to comprehensively and accurately analyze the risk factors of immersed tube tunnel construction, WBS-RBS was proposed to identify risk factors, and the risk assessment index system was constructed according to the SMART principle. The SMART principle must be followed when constructing the risk assessment indicator system. Based on the characteristics of immersed tube tunnel construction, SMART principles are identified as simplicity, monolithically, attainable, remarkable, and tangible. When constructing the evaluation index system, according to the SMART principle, the selected indicators need to be concise and representative. The indicators can form a complete system that better reflect the actual situation of immersed tunnel construction and play an important role in risk assessment.
- (2)
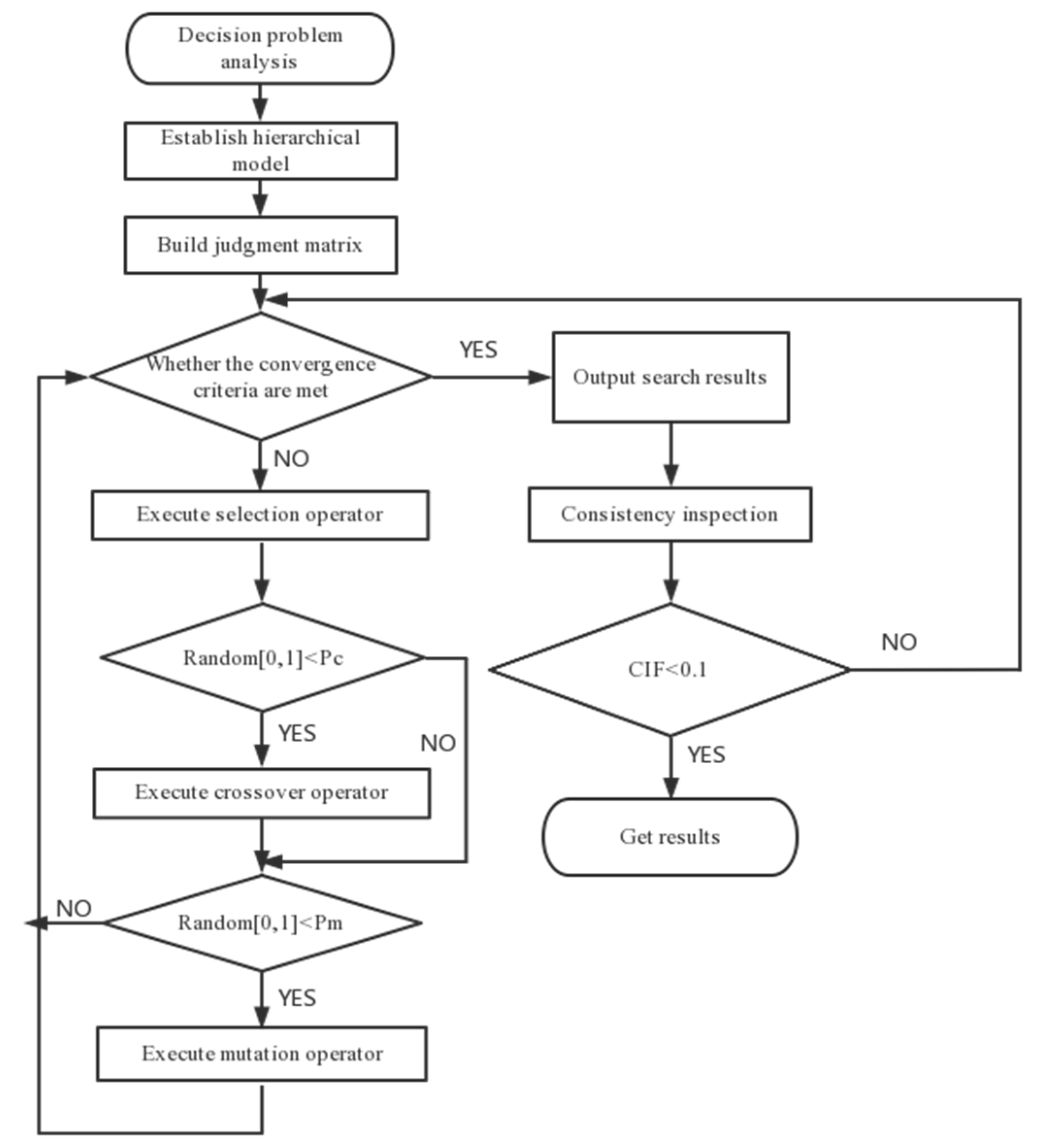
- Determining the index weight with the improved AHP: In order to obtain more accurate risk assessment results of immersed tube tunnel construction, it is necessary to improve the accuracy of the construction comprehensive risk assessment method to accurately calculate the weight of various risk factors in a comprehensive assessment. AHP can better deal with complex and fuzzy problems and reasonably combine qualitative with quantitative analysis. However, in the process of analysis with AHP, for a higher-order judgment matrix, the consistency test may fail, so relevant algorithms need to be used to correct the judgment matrix. Therefore, a genetic algorithm (GA) was proposed to improve AHP, and the improved method can get more satisfactory matrix consistency test results and more accurate index weight values. It lays a foundation for comprehensive risk assessment of immersed tube tunnel construction.
- (3)
- Building a risk assessment model and conducting risk assessment: In the study of risk assessment of existing immersed tunnel construction, there is a problem in that the fuzziness and uncertainty characteristics of construction risk are not considered, resulting in inaccurate risk assessment results. A construction risk assessment method based on the cloud model is proposed. This is because the cloud model method can transform cloud model parameters and cloud droplets of various factors into each other through a cloud generator, realize the transformation between quantitative values and qualitative concepts, and reflect the ambiguity and uncertainty of various risk factors through entropy and super-entropy. The cloud model method is to use the cloud generator to transform the cloud model parameters of factors and cloud droplets (cloud model parameters include expected value, entropy, and hyper-entropy) to obtain a cloud image composed of numerous cloud droplets, where each cloud droplet represents a random realization of qualitative concepts, to clearly observe the fuzziness and uncertainty of factors through the cloud image. (In the cloud model, entropy represents the measurable degree of qualitative concepts.)
2.1. Construction of Evaluation Index System
2.2. Determination of Index Weight Based on AHP-GA
2.3. Build a Risk Assessment cloud Model
3. Case Analysis
3.1. Basic Situation of Submarine Immersed Tube Tunnel in DALIAN Bay
3.2. Determine Indicator Weight
3.3. Analysis of Evaluation Results
4. Conclusions
- (1)
- WBS-RBS was adopted to identify the risk factors in the construction period of an immersed tube tunnel. According to the six construction procedures, 26 risk factors, such as damage to the water-stop belt, were obtained. Based on the SMART principle, a three-level risk assessment index system for immersed tube tunnel construction was established;
- (2)
- As the construction risk factors of subsea immersed tunnel are various and complex, when using the AHP method to calculate the weight, the consistency check of the higher-order judgment matrix may fail. To solve this problem, a genetic algorithm (GA) was introduced to improve AHP. When AHP-GA was used to calculate the weight of risk factors in the construction of immersed tube tunnel, the risk impact degree of each construction stage was ranked as follows: pipe section sinking and docking stage > foundation trench excavation stage > pipe section prefabrication stage > dry dock construction stage>foundation treatment and backfilling stage > pipe section floating stage;
- (3)
- The risk assessment system and model of immersed tube tunnel construction were verified using the actual construction situation of the submarine immersed tube tunnel in Dalian Bay. The cloud model was used to evaluate the construction risk of the underwater immersed tube tunnel in Dalian Bay. The risk levels of each factor and the construction project were obtained. Among the risk factors, the expected value of two factors is greater than 7.5, which belongs to the high-risk level; the expected value of the four factors is 5–7.5, which belongs to the medium-risk level; in the construction stage, the risk of pipe section sinking and docking stage is the highest; the expected value of the comprehensive risk of the Dalian Bay subsea immersed tunnel construction project is 5.872, a medium risk project.
Author Contributions
Funding
Data Availability Statement
Acknowledgments
Conflicts of Interest
References
- Li, S.Y. The construction Technology development of immersed tunnel. Appl. Mech. Mater. 2012, 2041, 385–1388. [Google Scholar] [CrossRef]
- Zhang, J.; Fu, S.; Zhu, J.; Wang, J. Risk factors analyses and preventive measures of immersed tunnel engineering. EDP Sci. 2021, 2360, 2025. [Google Scholar] [CrossRef]
- Zhigang, Z.; Wei, L.; Hai, J.; Liu, X. Layout and design techniques of cross section for the large immersed tunnel. Procedia Eng. 2016, 1663, 7–44. [Google Scholar] [CrossRef]
- Bauduin, C.; Kirstein, A.A. Design, construction and monitoring of an underwater retaining wall close to an existing immersed tunnel. Tunn. Undergr. Space Technol. 2022, 1201, 04311. [Google Scholar] [CrossRef]
- Ke, W.; Qinglai, F.; Dongxue, H.; Rong, C.; Jinlong, L. Construction mechanics effect of submarine immersed tube tunnel subjected to different pore pressures based on numerical analysis. J. Balk. Tribol. Assoc. 2016, 22, 2447–2453. [Google Scholar]
- Wu, M.; Zhang, Q.; Wu, S. Risk assessment of operation period structural stability for long and large immersed tube tunnel. Procedia Eng. 2016, 1662, 66–278. [Google Scholar] [CrossRef]
- Wei, J.; Yong, Y. Effects of cracking parameters on immersed tunnel during precasting. China J. Highw. Transp. 2020, 33, 114. [Google Scholar]
- Gao, Z.; Gao, X.; Lu, Z. Study on Stability of the Foundation Trench at Island-Tunnel Connection Section. In Proceedings of the International Conference on Asian and Pacific Coasts, Singapore, 25–28 September 2019; pp. 331–336. [Google Scholar]
- Li, K. Experimental study on grouting foundation treatment of immersed tunnel. Procedia Eng. 2016, 1663, 317–325. [Google Scholar] [CrossRef]
- Marshall, C. The Øresund tunnel—Making a success of design and build. Tunn. Undergr. Space Technol. 1999, 14, 355–365. [Google Scholar] [CrossRef]
- Busby, J.; Marshall, C. Design and construction of the Øresund tunnel. Proc. Inst. Civ. Eng. Civ. Eng. 2000, 138, 157–166. [Google Scholar] [CrossRef]
- Dong, S.; Li, S.; Fu, S.; Wang, K. Finite element analysis and optimization of tractor gearbox body under various kinds of working conditions. Sci. Rep. 2022, 12, 17386. [Google Scholar] [CrossRef] [PubMed]
- Wei, G.; Qiu, H.J.; Wei, X.J. Introduction of Construction Process in Shenjiamen Immerse Tube Tunnel and Problem Analysis of Grouting. Adv. Mater. Res. 2014, 8381, 1399–1404. [Google Scholar] [CrossRef]
- Zhen, H.; Hai, Z.; Chenlong, Z. Comprehensive risk assessment model and application in the early stage of immersed tunnel construction. Disaster Sci. 2020, 35, 55–61. [Google Scholar] [CrossRef]
- Li, P. Based on the AHP method analysis the factors about the quality of construction project. Adv. Mater. Res. 2014, 8383, 3151–3155. [Google Scholar] [CrossRef]
- Yihua, M.; Tuo, X. Research of 4M1E’s effect on engineering quality based on structural equation model. Syst. Eng. Procedia 2011, 12, 213–220. [Google Scholar] [CrossRef]
- Zhou, H.; Zhao, Y.; Shen, Q.; Yang, L.; Cai, H. Risk assessment and management via multi-source information fusion for undersea tunnel construction. Autom. Constr. 2020, 1111, 03050. [Google Scholar] [CrossRef]
- Dong, S.; Yu, F.; Wang, K. A virtual simulation experiment platform of subway emergency ventilation system and study on its teaching effect. Sci. Rep. 2022, 12, 1–13. [Google Scholar] [CrossRef] [PubMed]
- Lin, L.; Wenhua, C.; Haipu, B. Evaluation system of organization safety culture based on SMART principles. China Saf. Sci. J. 2007, 17, 121–128. [Google Scholar]
- Dong, M.; Tian, S.; Qiao, X.; Liu, Y. Research on the construction of demand response standard system and evaluation method of applicability. In Proceedings of the 2017 6th International Conference on Computer Science and Network Technology (ICCSNT), Dalian, China, 21–22 October 2017; pp. 380–384. [Google Scholar]
- Dong, X.U. Warning ranking for blowout risk of down hole operation. Chi Saf. Sci. J. 2010, 20, 156–160. [Google Scholar]
- Dong, S.; Yu, F.; Wang, K. Safety evaluation of rail transit vehicle system based on improved AHP-GA. PLoS ONE 2022, 17, e0273418. [Google Scholar] [CrossRef]
- Fu, B.; Li, D.G.; Wang, M.K. Review and prospect on research of cloud model. Appl. Res. Comput. 2011, 28, 420–426. [Google Scholar]
- Yang, J.; Wang, G.Y.; Liu, Q.; Guo, Y.-K. Retrospect and prospect of research of normal cloud model. Chin. J. Comput. 2018, 37, 724–744. [Google Scholar]
- Ji, H.; Han, Q.; Li, X.; You, H.; Ye, Z. Air combat situation assessment based on improved cloud model theory. In Proceedings of the 2019 IEEE 8th Joint International Information Technology and Artificial Intelligence Conference (ITAIC), Chongqing, China, 24–26 May 2019; pp. 754–758. [Google Scholar]
- Luo, Z.Q.; Cao, P.; Wen, B.; Zhang, Y. Mathematical Analysis of Generalized Normal Cloud Model. In Material Engineering and Mechanical Engineering: Proceedings of Material Engineering and Mechanical Engineering (MEES2015); World Scientific: Singapore, 2016; pp. 398–409. [Google Scholar]






| Construction risk of immersed tube tunnel U | Dry dock construction U1 | Poor concrete pouring quality U11 |
| Failure of water-stop and drainage system U12 | ||
| Insufficient dock bottom reinforcement U13 | ||
| Prefabrication of pipe section U2 | Deviation in geometric dimensions of pipe section U21 | |
| Cracking of pipe section U22 | ||
| Poor construction quality of end sealing wall U23 | ||
| Failure of ballast water tank U24 | ||
| Foundation trench excavation U3 | Low positioning accuracy of foundation trench U31 | |
| Improper selection of excavation equipment U32 | ||
| Backsilting of foundation trench U33 | ||
| Slope instability U34 | ||
| Uneven substrate treatment U35 | ||
| Floating transportation of pipe section U4 | Collision occurs when the pipe section is undocked U41 | |
| Improper operation of floating equipment U42 | ||
| Navigation blocked during floating U43 | ||
| Sudden disastrous weather during floating transportation U44 | ||
| Mooring position deviation U45 | ||
| Pipe section sinking and butt joint U5 | Inaccurate positioning of pipe section sinking U51 | |
| Unbalanced pipe section U52 | ||
| Low underwater alignment accuracy U53 | ||
| Damaged water-stop U54 | ||
| Insufficient anti floating of pipe section U55 | ||
| Uneven crimping of water-stop U56 | ||
| Foundation treatment and backfilling U6 | Insufficient dredging of foundation trench U61 | |
| Uneven substrate treatment U62 | ||
| Inadequate backfilling U63 |
| Judgment Matrix | U1 | U2 | U3 | U4 | U5 | U6 |
|---|---|---|---|---|---|---|
| CR | 0.052 | 0.021 | 0.043 | 0.115 | 0.113 | 0.071 |
| Whether the consistency inspection is passed | Yes | Yes | Yes | No | No | Yes |
| Judgment Matrix | U1 | U2 | U3 | U4 | U5 | U6 |
|---|---|---|---|---|---|---|
| CIF | 0.035 | 0.009 | 0.017 | 0.041 | 0.032 | 0.029 |
| Whether the consistency inspection is passed | Yes | Yes | Yes | Yes | Yes | Yes |
| Risk Level | Score Range | Cloud Model Parameters |
|---|---|---|
| Low risk | [0, 2.5] | (1.25, 0.42, 0.1) |
| Lower risk | (2.5, 5] | (3.75, 0.42, 0.1) |
| Medium risk | (5, 7.5] | (6.25, 0.42, 0.1) |
| High risk | (7.5, 10] | (8.75, 0.42, 0.1) |
| Weight of Each Factor | |||||||
|---|---|---|---|---|---|---|---|
| Judgement Matrix | ω1 | ω2 | ω3 | ω4 | ω5 | ω6 | CIF |
| U1 | 0.2005 | 0.5999 | 0.1996 | 0.035 | |||
| U2 | 0.3585 | 0.4345 | 0.1196 | 0.0874 | 0.009 | ||
| U3 | 0.0514 | 0.0843 | 0.2855 | 0.4662 | 0.1126 | 0.017 | |
| U4 | 0.2690 | 0.4769 | 0.0527 | 0.1284 | 0.0730 | 0.041 | |
| U5 | 0.0654 | 0.1118 | 0.2555 | 0.3643 | 0.0860 | 0.1169 | 0.032 |
| U6 | 0.2152 | 0.6280 | 0.1568 | 0.024 | |||
| U | 0.0785 | 0.1875 | 0.2997 | 0.0452 | 0.3331 | 0.0560 | 0.082 |
| Primary Indicators | Secondary Indicators | ||
|---|---|---|---|
| Dry dock construction | (4.281, 0.643, 0.334) | Poor concrete pouring quality | (3.9, 0.652, 0.353) |
| Failure of water-stop and drainage system | (5.1, 0.652, 0.353) | ||
| Insufficient dock bottom reinforcement | (2.2, 0.551, 0.146) | ||
| Prefabrication of pipe section | (5.549, 0.561, 0.150) | Deviation in geometric dimensions of pipe section | (4.8, 0.551, 0.146) |
| Cracking of pipe section | (6.8, 0.551, 0.146) | ||
| Poor construction quality of the end sealing wall | (4.6, 0.652, 0.185) | ||
| Failure of ballast water tank | (3.7, 0.802, 0.238) | ||
| Foundation trench excavation | (6.097, 0.573, 0.161) | Low positioning accuracy of foundation trench | (4.1, 0.451, 0.311) |
| Improper selection of excavation equipment | (4.5, 0.251, 0.249) | ||
| Back-silting of foundation trench | (4.9, 0.652, 0.185) | ||
| Slope instability | (7.7, 0.551, 0.146) | ||
| Uneven substrate treatment | (4.6, 0.652, 0.185) | ||
| Floating transportation of pipe section | (3.744, 0.491, 0.266) | Collision occurs when the pipe section is undocked | (3.8, 0.551, 0.146) |
| Improper operation of floating equipment | (4.1, 0.451, 0.311) | ||
| Navigation blocked during floating | (2.2, 0.551, 0.146) | ||
| Sudden disastrous weather during floating transportation | (3.7, 0.802, 0.238) | ||
| Mooring position deviation | (2.4, 0.401, 0.119) | ||
| Pipe section sinking and butt joint | (6.631, 0.542, 0.160) | Inaccurate positioning of pipe section sinking | (4.5, 0.251, 0.249) |
| Unbalanced pipe section | (5, 0.752, 0.244) | ||
| Low underwater alignment accuracy | (7.2, 0.551, 0.146) | ||
| Damaged water-stop | (7.8, 0.551, 0.146) | ||
| Insufficient anti-floating of pipe section | (4.6, 0.652, 0.185) | ||
| Uneven crimping of water-stop | (6, 0.251, 0.249) | ||
| Foundation treatment and backfilling | (5.440, 0.741, 0.239) | Insufficient dredging of foundation trench | (5, 0.752, 0.244) |
| Uneven substrate treatment | (6, 0.752, 0.244) | ||
| Inadequate backfilling | (3.8, 0.551, 0.146) |
Disclaimer/Publisher’s Note: The statements, opinions and data contained in all publications are solely those of the individual author(s) and contributor(s) and not of MDPI and/or the editor(s). MDPI and/or the editor(s) disclaim responsibility for any injury to people or property resulting from any ideas, methods, instructions or products referred to in the content. |
© 2023 by the authors. Licensee MDPI, Basel, Switzerland. This article is an open access article distributed under the terms and conditions of the Creative Commons Attribution (CC BY) license (https://creativecommons.org/licenses/by/4.0/).
Share and Cite
Dong, S.; Li, S.; Yu, F.; Wang, K. Risk Assessment of Immersed Tube Tunnel Construction. Processes 2023, 11, 980. https://doi.org/10.3390/pr11040980
Dong S, Li S, Yu F, Wang K. Risk Assessment of Immersed Tube Tunnel Construction. Processes. 2023; 11(4):980. https://doi.org/10.3390/pr11040980
Chicago/Turabian StyleDong, Sihui, Shiqun Li, Fei Yu, and Kang Wang. 2023. "Risk Assessment of Immersed Tube Tunnel Construction" Processes 11, no. 4: 980. https://doi.org/10.3390/pr11040980
APA StyleDong, S., Li, S., Yu, F., & Wang, K. (2023). Risk Assessment of Immersed Tube Tunnel Construction. Processes, 11(4), 980. https://doi.org/10.3390/pr11040980

