An Extended TOPSIS Method with Unknown Weight Information in Dynamic Neutrosophic Environment
Abstract
1. Introduction
- (1)
- Many approaches attempted to handle the MCDM problem with unknown weight information, but there is little research on discovering the weights of the DMs, the attributes, and the time in the group decision-making problems, and these methods are approximately complex.
- (2)
- (3)
- In real application situations, many MCDM problems reflect a lack of weight information for the times, criteria, and decision-makers.
- We define a new correlation measure and some distance measures for DIVNS.
- An optimization model is proposed to determine the weight information for the times, criteria, and decision-makers.
- An extend TOPSIS method under interval-valued neutrosophic set with unknown weight information in the dynamic neutrosophic environment is established.
2. Preliminary
2.1. Dynamic Interval-Valued Neutrosophic Sets
2.2. MCDM Problems in a Dynamic Neutrosophic Environment
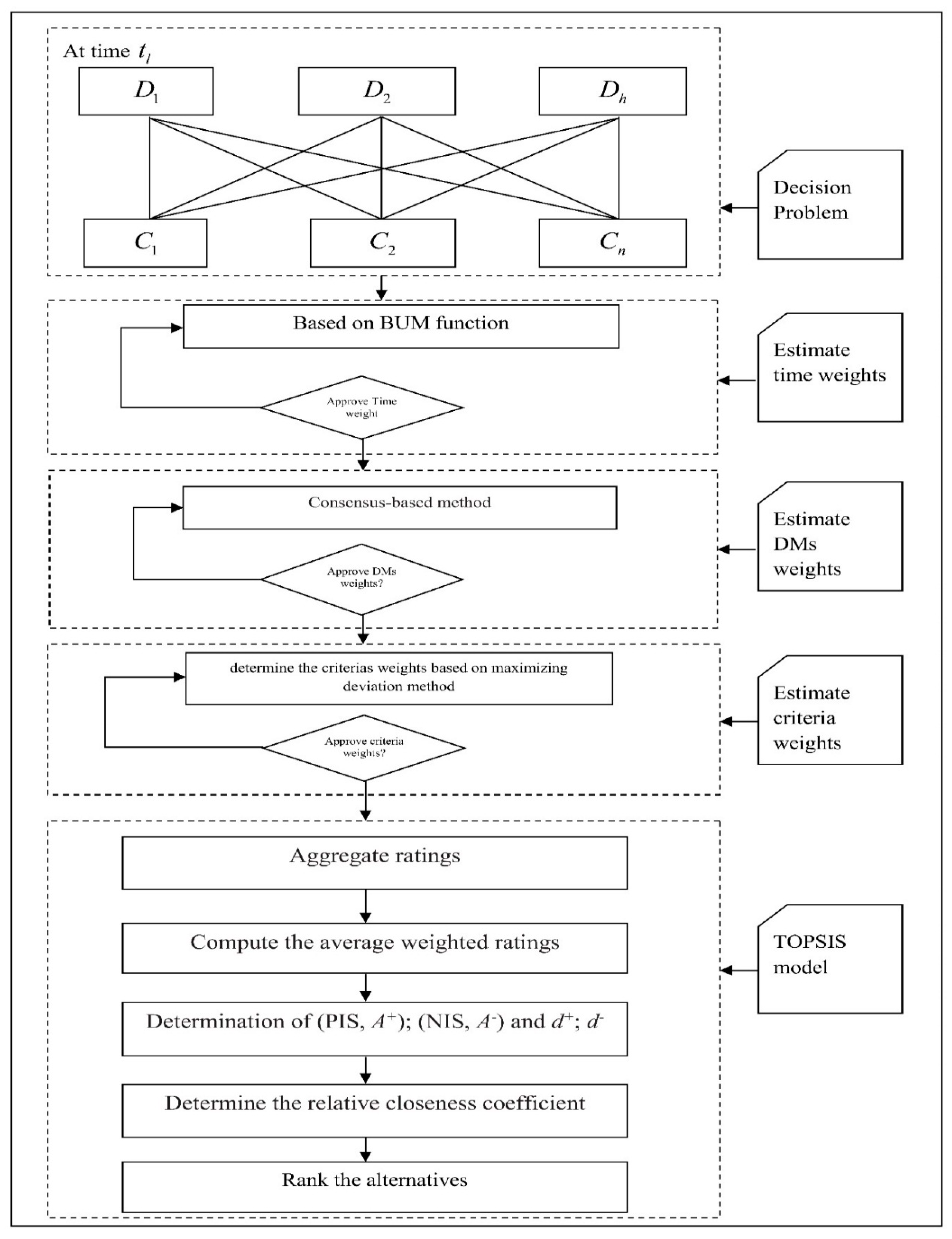
3. An Extended TOPSIS Method for Unknown Weight Information
3.1. Correlation Coefficient Measure for Dynamic Interval-Valued Neutrosophic Sets
- (i)
- (ii)
- (iii)
3.2. Distance Measures for Dynamic Interval-Valued Neutrosophic Sets
- (i)
- The Hamming distance:
- (ii)
- The Euclidean distance:
- (iii)
- The geometry distance:whereand
- If, then equation (6) refers to the Hamming distance.
- If, then equation (6) refers to the Euclidean distance.
3.3. Unknown Weight Information in Dynamic Neutrosophic Environment
3.3.1. Determining the Weight of Time
3.3.2. Determining the Weights of Decision-Makers
- (i)
- (ii)
- (iii)
- if and only if
3.3.3. Determining the Weights of the Criteria
3.4. TOPSIS Method with Unknown Weight Information in Dynamic Neutrosophic Environments
4. Experiments
5. Comparison with the Related Methods
6. Conclusions
Author Contributions
Funding
Acknowledgments
Conflicts of Interest
References
- Mohd, W.W.; Abdullah, L.; Yusoff, B.; Taib, C.M.; Merigo, J.M. An Integrated MCDM Model based on Pythagorean Fuzzy Sets for Green Supplier Development Program. Malays. J. Math. Sci. 2019, 13, 23–37. [Google Scholar]
- Abdel-Basset, M.; Manogaran, G.; Gamal, A.; Smarandache, F. A group decision making framework based on neutrosophic TOPSIS approach for smart medical device selection. J. Med. Syst. 2019, 43, 38. [Google Scholar] [CrossRef]
- Abdel-Basset, M.; Mohamed, M.; Sangaiah, A.K. Neutrosophic AHP-Delphi Group decision making model based on trapezoidal neutrosophic numbers. J. Ambient Intell. Humaniz. Comput. 2018, 9, 1427–1443. [Google Scholar] [CrossRef]
- Basset, M.A.; Mohamed, M.; Sangaiah, A.K.; Jain, V. An integrated neutrosophic AHP and SWOT method for strategic planning methodology selection. Benchmarking Int. J. 2018, 25, 2546–2564. [Google Scholar] [CrossRef]
- Jia, Z.; Zhang, Y. Interval-valued intuitionistic fuzzy multiple attribute group decision making with uncertain weights. Math. Probl. Eng. 2019, 2019, 5092147. [Google Scholar] [CrossRef]
- Sajjad Ali Khan, M.; Ali, A.; Abdullah, S.; Amin, F.; Hussain, F. New extension of TOPSIS method based on Pythagorean hesitant fuzzy sets with incomplete weight information. J. Intell. Fuzzy Syst. 2018, 35, 5435–5448. [Google Scholar] [CrossRef]
- Lourenzutti, R.; Krohling, R.A. A generalized TOPSIS method for group decision making with heterogeneous information in a dynamic environment. Inf. Sci. 2016, 330, 1–18. [Google Scholar] [CrossRef]
- Smarandache, F. Neutrosophy: Neutrosophic Probability, Set, and Logic: Analytic Synthesis & Synthetic Analysis; American Research Press: Santa Fe, NM, USA, 1998. [Google Scholar]
- Biswas, P.; Pramanik, S.; Giri, B.C. Neutrosophic TOPSIS with group decision making. In Fuzzy Multi-Criteria Decision-Making Using Neutrosophic Sets; Springer: Berlin, Germany, 2019; pp. 543–585. [Google Scholar]
- Tuan, T.M.; Chuan, P.M.; Ali, M.; Ngan, T.T.; Mittal, M. Fuzzy and neutrosophic modeling for link prediction in social networks. Evol. Syst. 2019, 10, 629–634. [Google Scholar] [CrossRef]
- Liu, P.; Wang, Y. Interval neutrosophic prioritized OWA operator and its application to multiple attribute decision making. J. Syst. Sci. Complex. 2016, 29, 681–697. [Google Scholar] [CrossRef]
- Zhang, H.; Wang, J.; Chen, X. An outranking approach for multi-criteria decision-making problems with interval-valued neutrosophic sets. Neural Comput. Appl. 2016, 27, 615–627. [Google Scholar] [CrossRef]
- Thong, N.T.; Dat, L.Q.; Hoa, N.D.; Ali, M.; Smarandache, F. Dynamic interval valued neutrosophic set: Modeling decision making in dynamic environments. Comput. Ind. 2019, 108, 45–52. [Google Scholar] [CrossRef]
- Dat, L.Q.; Thong, N.T.; Ali, M.; Smarandache, F.; Abdel-Basset, M.; Long, H.V. Linguistic approaches to interval complex neutrosophic sets in decision making. IEEE Access 2019, 7, 38902–38917. [Google Scholar] [CrossRef]
- Wang, H.; Smarandache, F.; Sunderraman, R.; Zhang, Y.Q. Interval Neutrosophic Sets and Logic: Theory and Applications in Computing; Hexis: Arizona, USA, 2005. [Google Scholar]
- Broumi, S.; Son, L.H.; Bakali, A.; Talea, M.; Smarandache, F.; Selvachandran, G. Computing Operational Matrices in Neutrosophic Environments: A Matlab Toolbox. Neutrosophic Sets Syst. 2017, 18, 58–66. [Google Scholar]
- Thong, N.T.; Giap, C.N.; Tuan, T.M.; Chuan, P.M.; Hoang, P.M. Modeling multi-criteria decision-making in dynamic neutrosophic environments bases on Choquet integral. J. Comput. Sci. Cybern. 2020, 36, 33–47. [Google Scholar]
- Al-Quran, A.; Hashim, H.; Abdullah, L. A Hybrid Approach of Interval Neutrosophic Vague Sets and DEMATEL with New Linguistic Variable. Symmetry 2020, 12, 275. [Google Scholar] [CrossRef]
- Xue, H.; Yang, X.; Chen, C. Possibility Neutrosophic Cubic Sets and Their Application to Multiple Attribute Decision Making. Symmetry 2020, 12, 269. [Google Scholar] [CrossRef]
- Şahin, R.; Liu, P. Maximizing deviation method for neutrosophic multiple attribute decision making with incomplete weight information. Neural Comput. Appl. 2016, 27, 2017–2029. [Google Scholar] [CrossRef]
- Yue, C. Entropy-based weights on decision makers in group decision-making setting with hybrid preference representations. Appl. Soft Comput. 2017, 60, 737–749. [Google Scholar] [CrossRef]
- Wei, G.; Wang, J.; Lu, J.; Wu, J.; Wei, C.; Alsaadi, F.E.; Hayat, T. VIKOR method for multiple criteria group decision making under 2-tuple linguistic neutrosophic environment. Econ. Res. Ekon. Istraživanja 2019, 1–24. [Google Scholar] [CrossRef]
- Yue, Z. An extended TOPSIS for determining weights of decision makers with interval numbers. Knowl. Based Syst. 2011, 24, 146–153. [Google Scholar] [CrossRef]
- Broumi, S.; Ye, J.; Smarandache, F. An extended TOPSIS method for multiple attribute decision making based on interval neutrosophic uncertain linguistic variables. Neutrosophic Sets Syst. 2015, 8, 22–31. [Google Scholar]
- Wang, W.; Mendel, J.M. Multiple attribute group decision making with linguistic variables and complete unknown weight information. Iran. J. Fuzzy Syst. 2019, 16, 145–157. [Google Scholar] [CrossRef]
- Maghrabie, H.F.; Beauregard, Y.; Schiffauerova, A. Multi-criteria decision-making problems with unknown weight information under uncertain evaluations. Comput. Ind. Eng. 2019, 133, 131–138. [Google Scholar] [CrossRef]
- Peng, X. New multiparametric similarity measure and distance measure for interval neutrosophic set with IoT industry evaluation. IEEE Access 2019, 7, 28258–28280. [Google Scholar] [CrossRef]
- Tian, C.; Zhang, W.Y.; Zhang, S.; Peng, J.J. An extended single-valued neutrosophic projection-based qualitative flexible multi-criteria decision-making method. Mathematics 2019, 7, 39. [Google Scholar] [CrossRef]
- Hong, Y.; Xu, D.; Xiang, K.; Qiao, H.; Cui, X.; Xian, H. Multi-Attribute Decision-Making Based on Preference Perspective with Interval Neutrosophic Sets in Venture Capital. Mathematics 2019, 7, 257. [Google Scholar] [CrossRef]
- Smarandache, F. A Unifying Field in Logics: Neutrosophic Logic: Neutrosophy, Neutrosophic Set, Neutrosophic Probability, 3rd ed.; American Research Press: Santa Fe, NM, USA, 2003. [Google Scholar]
- Wang, H.; Smarandache, F.; Sunderraman, R.; Zhang, Y.Q. Interval neutrosophic sets and logic: Theory and applications in computing: Theory and applications in computing. Infin. Study 2005, 5, 1–16. [Google Scholar]
- Xu, Z.; Chen, J.; Wu, J. Clustering algorithm for intuitionistic fuzzy sets. Inf. Sci. 2008, 178, 3775–3790. [Google Scholar] [CrossRef]
- Yingming, W. Using the method of maximizing deviation to make decision for multiindices. J. Syst. Eng. Electron. 1998, 8, 21–26. [Google Scholar]


| Language Labels | Short Labels | Values |
|---|---|---|
| Very-Poor | Vr | ([0.1, 0.2], [0.6, 0.7], [0.7, 0.8]) |
| Poor | Pr | ([0.2, 0.3], [0.5, 0.6], [0.6, 0.7]) |
| Medium | Mm | ([0.3, 0.5], [0.4, 0.6], [0.4, 0.5]) |
| Good | Gd | ([0.5, 0.6], [0.4, 0.5], [0.3, 0.4]) |
| Very-Good | Vd | ([0.6, 0.7], [0.2, 0.3], [0.2, 0.3]) |
| Criteria | Lecturers | Decision Makers | ||||||||
|---|---|---|---|---|---|---|---|---|---|---|
| t1 | t2 | t3 | ||||||||
| C1 | A1 | Mm | Gd | Gd | Gd | Gd | Gd | Gd | Vd | Gd |
| A2 | Gd | Gd | Vd | Vd | Gd | Vd | Vd | Gd | Vd | |
| A3 | Mm | Gd | Gd | Gd | Gd | Gd | Gd | Gd | Vd | |
| A4 | Go | Mm | Gd | Gd | Gd | Gd | Gd | Gd | Gd | |
| A5 | Mm | Gd | Mm | Go | Go | Mm | Gd | Gd | Gd | |
| C2 | A1 | Gd | Gd | Gd | Vd | Gd | Gd | Gd | Gd | Gd |
| A2 | Vd | Gd | Vd | Mm | Gd | Gd | Vd | Gd | Gd | |
| A3 | Vd | Gd | Gd | Gd | Mm | Gd | Gd | Mm | Gd | |
| A4 | Gd | Gd | Gd | Gd | Vd | Gd | Gd | Gd | Vd | |
| A5 | Vd | Gd | Gd | Gd | Vd | Gd | Gd | Gd | Mm | |
| C3 | A1 | Vd | Vd | Gd | Gd | Vd | Gd | Gd | Mm | Gd |
| A2 | Gd | Vd | Gd | Vd | Gd | Vd | Gd | Gd | Vd | |
| A3 | Gd | Vd | Vd | Gd | Gd | Gd | Gd | Vd | Gd | |
| A4 | Gd | Gd | Gd | Vd | Gd | Gd | Vd | Gd | Gd | |
| A5 | Vd | Gd | Gd | Gd | Vd | Gd | Gd | Gd | Gd | |
| C4 | A1 | Mm | Gd | Mm | Gd | Gd | Mm | Mm | Gd | Mm |
| A2 | Gd | Mm | Gd | Gd | Mm | Gd | Gd | Mm | Gd | |
| A3 | Gd | Gd | Gd | Gd | Gd | Mm | Gd | Gd | Vd | |
| A4 | Mm | Poo | Mm | Gd | Mm | Mm | Gd | Gd | Mm | |
| A5 | Mm | Mm | Poo | Mm | Mm | Mm | Mm | Gd | Mm | |
| C5 | A1 | Mm | Gd | Mm | Mm | Gd | Gd | Gd | Mm | Gd |
| A2 | Gd | Vd | Go | Vd | Gd | Gd | Gd | Vd | Gd | |
| A3 | Gd | Gd | Mm | Gd | Gd | Gd | Gd | Vd | Gd | |
| A4 | Vd | Gd | Gd | Vd | Gd | Gd | Vd | Gd | Gd | |
| A5 | Gd | Gd | Gd | Gd | Gd | Gd | Gd | Vd | Gd | |
| C6 | A1 | Vd | Gd | Gd | Vd | Gd | Vd | Vd | Gd | Vd |
| A2 | Gd | Gd | Gd | Gd | Vd | Gd | Gd | Gd | Vd | |
| A3 | Vd | Gd | Vd | Vd | Gd | Vd | Vd | Gd | Vd | |
| A4 | Gd | Vd | Gd | Gd | Vd | Gd | Gd | Gd | Gd | |
| A5 | Gd | Gd | Gd | Vd | Gd | Gd | Gd | Vd | Gd | |
| Lecturers | Weighted Ratings |
|---|---|
| A1 | ([0.072, 0.102], [0.871, 0.906], [0.848, 0.883]) |
| A2 | ([0.083, 0.112], [0.852, 0.889], [0.833, 0.871]) |
| A3 | ([0.082, 0.110], [0.867, 0.900], [0.842, 0.878]) |
| A4 | ([0.077, 0.105], [0.867, 0.901], [0.844, 0.880]) |
| A5 | ([0.073, 0.102], [0.871, 0.907], [0.850, 0.884]) |
| Lecturers | ||
|---|---|---|
| A1 | 0.113845 | 0.889443 |
| A2 | 0.128101 | 0.875218 |
| A3 | 0.120105 | 0.882727 |
| A4 | 0.117807 | 0.885273 |
| A5 | 0.113326 | 0.889768 |
| Lecturers | Proposed Model |
|---|---|
| A1 | 0.11355 |
| A2 | 0.12778 |
| A3 | 0.11983 |
| A4 | 0.11752 |
| A5 | 0.11301 |
© 2020 by the authors. Licensee MDPI, Basel, Switzerland. This article is an open access article distributed under the terms and conditions of the Creative Commons Attribution (CC BY) license (http://creativecommons.org/licenses/by/4.0/).
Share and Cite
Tho Thong, N.; Lan, L.T.H.; Chou, S.-Y.; Son, L.H.; Dong, D.D.; Ngan, T.T. An Extended TOPSIS Method with Unknown Weight Information in Dynamic Neutrosophic Environment. Mathematics 2020, 8, 401. https://doi.org/10.3390/math8030401
Tho Thong N, Lan LTH, Chou S-Y, Son LH, Dong DD, Ngan TT. An Extended TOPSIS Method with Unknown Weight Information in Dynamic Neutrosophic Environment. Mathematics. 2020; 8(3):401. https://doi.org/10.3390/math8030401
Chicago/Turabian StyleTho Thong, Nguyen, Luong Thi Hong Lan, Shuo-Yan Chou, Le Hoang Son, Do Duc Dong, and Tran Thi Ngan. 2020. "An Extended TOPSIS Method with Unknown Weight Information in Dynamic Neutrosophic Environment" Mathematics 8, no. 3: 401. https://doi.org/10.3390/math8030401
APA StyleTho Thong, N., Lan, L. T. H., Chou, S.-Y., Son, L. H., Dong, D. D., & Ngan, T. T. (2020). An Extended TOPSIS Method with Unknown Weight Information in Dynamic Neutrosophic Environment. Mathematics, 8(3), 401. https://doi.org/10.3390/math8030401

