Strength Evaluation and Failure Analysis of the Vortex Reducer under Overspeed Condition
Abstract
:1. Introduction
2. Stress Analysis of the Vortex Reducer
2.1. Structure of the Vortex Reducer
2.2. FE Analysis under Working Condition
3. Overspeed Test of the Vortex Reducer
3.1. Design of the Test
3.1.1. Design of the Connecting Structure
3.1.2. FE Analysis under Test Condition
3.1.3. Stress Comparison under Working Condition and Test Condition
3.2. The Process and Result of the Test
4. Prediction of the Burst Speed
4.1. Failure Strength of the Edge of Support Ring Hole
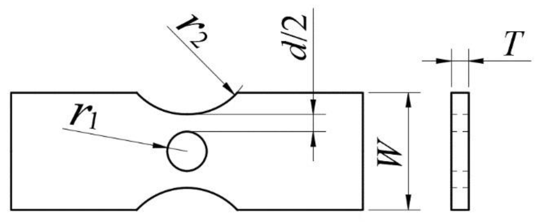
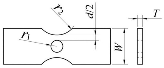
4.1.1. Design of a Simulative Specimen
4.1.2. Tensile Test of Simulative Specimen
4.2. Calculation of Burst Speed
4.2.1. Based on Failure Strength of the Simulative Specimen
4.2.2. Based on the Average Hoop Stress Method
5. Conclusions
Author Contributions
Funding
Institutional Review Board Statement
Informed Consent Statement
Data Availability Statement
Acknowledgments
Conflicts of Interest
References
- Negulescu, D.; Pfitzner, M. Secondary air systems in aeroengines employing vortex reducers. In Proceedings of the ASME Turbo Expo: Power for Land, Sea, & Air, New Orleans, LA, USA, 4–7 June 2001. [Google Scholar]
- Pfitzner, M.; Waschka, W. Development of an aero engine secondary air system employing vortex reducers. In Proceedings of the 22nd ICAS Congress, Harogate, UK, 27 August–1 September 2000. [Google Scholar]
- Peitsch, D.; Stein, M.; Hein, S.; Niehuis, R.; Reinmöller, U. Numerical investigation of vortex reducer flows in the high pressure compressor of modern aeroengines. In Proceedings of the ASME Turbo Expo 2002: Power for Land, Sea, and Air, Amsterdam, The Netherlands, 3–6 June 2002. [Google Scholar]
- Percy, M.J.; Ball, K.; Mellor, P.B. An experimental study of the burst strength of rotating disks. Int. J. Mech. Sci. 1974, 16, 809–817. [Google Scholar] [CrossRef]
- Genta, G.; Gola, M. The stress distribution in orthotropic rotating discs. J. Appl. Mech. 1981, 48, 559–562. [Google Scholar] [CrossRef]
- Reddy, T.Y.; Srinath, H. Elastic stresses in a rotating anisotropic annular disk of variable thickness and variable density. Int. J. Mech. Sci. 1974, 16, 85–89. [Google Scholar] [CrossRef]
- Guven, U. Elastic plastic stress in a rotating annular disk of variable thickness and variable density. Int. J. Mech. Sci. 1992, 34, 133–138. [Google Scholar] [CrossRef]
- Eraslan, A.N.; Orcan, Y. On the rotating elastic -plastic solid disks of variable thickness having concave profiles. Int. J. Mech. Sci. 2002, 44, 1445–1466. [Google Scholar] [CrossRef]
- You, L.H.; Tang, Y.Y.; Zhang, J.J.; Zheng, C.Y. Numerical analysis of elasto-plastic rotating disks with arbitrary variable thickness and density. Int. J. Solids Struct. 2000, 37, 7809–7820. [Google Scholar] [CrossRef]
- Maruthi, B.H.; Venkatarama, R.; Channakeshavalu, K. Finite element formulation for prediction of overspeed and burst margin limits in Aero engine disc. Int. J. Soft Comput. Eng. 2012, 2, 172–176. [Google Scholar]
- Vullo, V.; Vivo, F. Elastic stress analysis of non-linear variable thickness rotating disks subjected to thermal load and having variable density along the radius. Int. J. Solids Struct. 2008, 45, 5337–5355. [Google Scholar] [CrossRef]
- Hassani, A.; Hojjati, M.H.; Farrahi, G.H.; Alashti, R.A. Semi-exact solution for thermomechanical analysis of functionally graded elastic–strain hardening rotating disks. Commun. Nonlinear Sci. Numer. Simul. 2012, 17, 3747–3762. [Google Scholar] [CrossRef]
- Kumar, R.; Ranjan, V.; Kumar, B. Finite element modelling and analysis of the burst margin of a gas turbine disc using an area weighted mean hoop stress method. Eng. Fail. Anal. 2018, 90, 425–433. [Google Scholar] [CrossRef]
- Maziere, M.; Besson, J.; Forest, S.; Tanguy, B.; Chalons, H.; Vogel, F. Overspeed burst of elastoviscoplastic rotating disks—Part I: Analytical and numerical stability analyses. Eur. J. Mech. Ser. A Solids 2009, 28, 36–44. [Google Scholar] [CrossRef]
- Maziere, M.; Besson, J.; Forest, S.; Tanguy, B.; Chalons, H.; Vogel, F. Overspeed burst of elasticviscoelastic rotating disks: Part II—Burst of a superalloy turbine disk. Eur. J. Mech. Ser. A Solids 2009, 28, 428–432. [Google Scholar] [CrossRef]
- Hong, Q.; Zheng, Q.; Wang, P.; Hou, G. A New Method for Calculating Burst Speed of Aeroengine Disks. J. Eng. Gas Turbines Power 1992, 114, 334–337. [Google Scholar]
- Squarcella, N.; Firrone, C.M.; Allara, M.; Gola, M. The importance of the material properties on the burst speed of turbine disks for aeronautical applications. Int. J. Mech. Sci. 2014, 84, 73–83. [Google Scholar] [CrossRef]
- Wan, J.Y.; Zhou, B.Z. Elastic-plastic Disc Burst Criteria Establishment and Variable Thickness Disk Burst Rotational Speed. Aeroengine 2011, 37, 4–6. (In Chinese) [Google Scholar]
- Feng, Y.L.; Wu, C.B.; Gao, P.; Chen, W. Analysis of power metallurgy superalloy turbine disc’s burst speed. J. Aerosp. Power 2013, 28, 501–506. (In Chinese) [Google Scholar]
- Li, H.; Wang, K.; Zhang, C.; Wang, W.; Chen, G. Prediction of Rotor Burst Using Strain-Based Fracture Criteria to Comply With the Engine Airworthiness Regulation. In Proceedings of the ASME Turbo Expo 2020: Turbomachinery Technical Conference and Exposition 2020, Online, 21–25 September 2020. [Google Scholar]


























| Element | C | Cr | Mo | Nb + Ta | Ni | Fe | Al | Ti |
|---|---|---|---|---|---|---|---|---|
| Mass per cent (%) | 0.015~0.08 | 17.0~21.0 | 2.80~3.30 | 4.75~5.50 | 50.0~55.0 | the rest | 0.30~0.70 | 0.75~1.15 |
| Element | Si | Mn | Co | Cu | P | S | B | |
| Mass per cent (%) | ≤a.35 | ≤a.35 | ≤a.00 | ≤a.30 | ≤a.015 | ≤a.015 | ≤a.006 |
| Stress Component | Relative Speed | Working Condition/MPa | Test Condition/MPa | Error |
|---|---|---|---|---|
| Maximum hoop stress | 100% | 801 | 821 | 2.5% |
| 120% | 1164 | 1181 | 1.5% | |
| Maximum equivalent stress | 100% | 970 | 895 | 7.7% |
| 120% | 1334 | 1285 | 3.7% |
| Specimen ID | Maximum Tensile Load/kN | Tensile Strength/MPa |
|---|---|---|
| S1-1 | 12.41 | 1409.86 |
| S1-2 | 12.38 | 1407.24 |
| S1-3 | 12.34 | 1402.59 |
| S2-1 | 12.18 | 1384.09 |
| S2-2 | 12.22 | 1388.64 |
| S2-3 | 12.29 | 1396.59 |
| S2-4 | 12.14 | 1379.55 |
| S2-5 | 12.12 | 1377.27 |
| Maximum Equivalent Plastic Strain/% | Average Equivalent Stress/MPa | Average Tensile Direction Stress/MPa | |
|---|---|---|---|
| Value of the different failure criteria | 15.4 | 1291.2 | 1364.4 |
| Criteria of the Maximum Equivalent Plastic Strain | Criteria of the Average Equivalent Stress | Criteria of the Average Hoop Stress | |
|---|---|---|---|
| Predicted burst speed | 174% | 182% | 182% |
| Predicted Burst Speed | ||||
|---|---|---|---|---|
| 100% | 0.9 | 1230 | 440 | 159% |
Publisher’s Note: MDPI stays neutral with regard to jurisdictional claims in published maps and institutional affiliations. |
© 2021 by the authors. Licensee MDPI, Basel, Switzerland. This article is an open access article distributed under the terms and conditions of the Creative Commons Attribution (CC BY) license (https://creativecommons.org/licenses/by/4.0/).
Share and Cite
Ma, M.; Wei, D.; Wang, Y.; Li, D.; Zhang, H. Strength Evaluation and Failure Analysis of the Vortex Reducer under Overspeed Condition. Aerospace 2021, 8, 394. https://doi.org/10.3390/aerospace8120394
Ma M, Wei D, Wang Y, Li D, Zhang H. Strength Evaluation and Failure Analysis of the Vortex Reducer under Overspeed Condition. Aerospace. 2021; 8(12):394. https://doi.org/10.3390/aerospace8120394
Chicago/Turabian StyleMa, Mengdi, Dasheng Wei, Yanrong Wang, Di Li, and Hui Zhang. 2021. "Strength Evaluation and Failure Analysis of the Vortex Reducer under Overspeed Condition" Aerospace 8, no. 12: 394. https://doi.org/10.3390/aerospace8120394
APA StyleMa, M., Wei, D., Wang, Y., Li, D., & Zhang, H. (2021). Strength Evaluation and Failure Analysis of the Vortex Reducer under Overspeed Condition. Aerospace, 8(12), 394. https://doi.org/10.3390/aerospace8120394

