Strategy of Flywheel–Battery Hybrid Energy Storage Based on Optimized Variational Mode Decomposition for Wind Power Suppression
Abstract
1. Introduction
- (1)
- The sliding average algorithm is used to determine the charging–discharging power grid power and the HESS;
- (2)
- The variational mode decomposition algorithm optimized with LSTM is used to decompose the HESP into a series of sub-modes with frequencies from low to high to complete the primary power distribution of the HESS;
- (3)
- The state of charge of the BESS and the speed of the FESS are monitored in real time, and the primary power of the HESS is modified according to the rules formulated by fuzzy control;
- (4)
- The feasibility and superiority of the proposed method are verified by comparative analysis of the curves with LSTM optimization and without LSTM optimization.
2. Variational Mode Decomposition of Power in HESS
2.1. Flywheel–Battery HESS
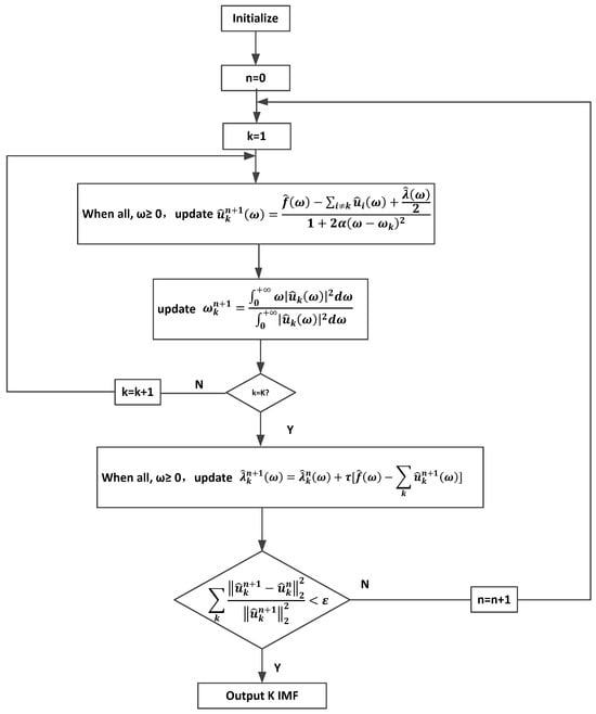
2.2. Variational Mode Decomposition
2.3. VMD Optimized with LSTM
3. HESP Distribution Strategy
3.1. Sliding Average Algorithm
3.2. First Power Allocation
3.3. Secondary Power Correction
3.4. Power Distribution Flow Chart of HESS
4. Simulation and Discussion
4.1. Wind Power
4.2. Grid-Connected Power and HESP
4.3. HESP Decomposition
4.4. Fuzzy Rule
4.5. Flywheel Energy Storage Power
4.6. Battery Energy Storage Power
4.7. Discussion
- (1)
- The power curve of the FESS fluctuates greatly, and the charge–discharge frequency is high, which meets the requirements of power-type energy storage;
- (2)
- The power curve of the BESS fluctuates less, and the charge–discharge frequency is low, which meets the requirements of energy storage;
- (3)
- The fluctuation of the grid-connected power curve is very small, which realizes the suppression of power fluctuation;
- (4)
- The low-frequency component of battery energy storage reconstructed using the LSTM-optimized VMD decomposition method has the advantage of extending the life of lithium battery systems. The depth of charge–discharge is shallower, which avoids the overcharge and over discharge of the battery, delays the attenuation of the battery system, and prolongs the service life.
5. Conclusions
- (1)
- This paper lacks the study of a wind power generation model, so this would be the next step;
- (2)
- We only used LSTM to optimize VMD; the next step will be to try to use other algorithms for optimization and to carry out comparative research.
Author Contributions
Funding
Institutional Review Board Statement
Informed Consent Statement
Data Availability Statement
Acknowledgments
Conflicts of Interest
References
- Shi, W.; Bai, H.; Qu, J. Technology Trend and Development Suggestions for Wind Power Efficient Utilization in China. Strateg. Study CAE 2018, 20, 51–57. [Google Scholar] [CrossRef]
- Xie, X.; Ma, N.; Liu, W.; Zhao, W.; Xu, P.; Li, H. Functions of Energy Storage in Renewable Energy Dominated Power Systems: Review and Prospect. Proc. CSEE 2023, 43, 158–169. [Google Scholar] [CrossRef]
- Bai, L.; Li, F.; Hu, Q.; Cui, H.; Fang, X. Application of battery-supercapacitor energy storage system for smoothing wind power output: An optimal coordinated control strategy. In Proceedings of the 2016 IEEE Power and Energy Society General Meeting (PESGM), Boston, MA, USA, 17–21 July 2016; pp. 1–5. [Google Scholar] [CrossRef]
- Li, H.; Zhang, Y.; Sun, W. Wind Power Fluctuation Smoothing Strategy with Generalized Energy Storage Under Wavelet Packet Decomposition. Power Syst. Technol. 2020, 44, 4495–4504. [Google Scholar] [CrossRef]
- Li, Y.; Lin, X. Application of Hybrid Energy Storage System Based on SMES and BESS in Smoothing the Power Fluctuations of Wind Farms. High Volt. Eng. 2019, 45, 983–992. [Google Scholar] [CrossRef]
- Liu, F.; Yang, X.; Shi, S. Hybrid energy storage scheduling based microgrid energy optimization under different timescales. Power Syst. Technol. 2014, 38, 3079–3087. [Google Scholar] [CrossRef]
- Sang, B.; Wang, D.; Yang, B.; Ye, J.; Tao, Y. Optimal Allocation of Energy Storage System for Smoothing the Output Fluctuations of New Energy. Proc. CSEE 2014, 34, 3700–3706. [Google Scholar] [CrossRef]
- Xiao, J.; Bai, L.; Lu, Z.; Wang, K. Method, implementation and application of energy storage system designing. Int. Trans. Electr. Energ. Syst. 2014, 24, 378–394. [Google Scholar] [CrossRef]
- Han, X.; Chen, Y.; Zhang, H.; Chen, F. Application of hybrid energy storage technology based on wavelet packet decomposition in smoothing the fluctuations of wind power. Proc. CSEE 2013, 33, 8–13. [Google Scholar] [CrossRef]
- Fu, J.; Chen, J.; Deng, H.; Sun, Z.; Zhang, B. Control strategy of hybrid energy storage system for mitigating wind power fluctuations. Electr. Meas. Instrum. 2020, 57, 94–100. [Google Scholar] [CrossRef]
- Liu, Q.; Hu, Z.; Zhou, Y.; Lv, P.; Wang, J. Short-term Wind Power Fore-casting Based on CEEMD and random Forest Algorithm. Smart Power 2019, 47, 71–76. [Google Scholar]
- Sun, C.; Yuan, Y.; Choi, S.S.; Li, M.; Zhang, X.; Cao, Y. Capacity optimization of hybrid energy storage systems in microgrid using empirical mode decom-position and neural network. Autom. Electr. Power Syst. 2015, 39, 19–26. [Google Scholar]
- Zhang, Q.; Li, X.; Yang, M.; Cao, Y.; Li, P. Capacity determination of hybrid energy storage system for smoothing wind power fluctuation with maxi-mum net benefit. Trans. China Electrotech. Soc. 2016, 31, 40–48. [Google Scholar] [CrossRef]
- Tang, J.; Zhu, J.; Li, Y.; Zuo, J.; Ma, J.; Chen, C. VMD based mode identification for broad-band oscillation in power system. Power Syst. Prot. Control 2019, 47, 7–14. [Google Scholar] [CrossRef]
- Guo, X.; Li, L.; Cheng, Z.; Wu, L. Frequency and Voltage Modulation Control Strategy for Hybrid Energy Storage Device in Wind Power Island Mode. Power Syst. Clean Energy 2019, 35, 95–102. [Google Scholar]
- Chen, H.; Lu, T.; Huang, J.; He, X.; Yu, K.; Sun, X.; Ma, X.; Huang, Z. An Improved VMD-LSTM Model for Time-Varying GNSS Time Series Prediction with Temporally Correlated Noise. Remote Sens. 2023, 15, 3694. [Google Scholar] [CrossRef]
- Van, H.G.; Mosquera, C.; Napoles, G. A review on the long short-term memory model. Artif. Intell. Rev. 2020, 5, 5929–5955. [Google Scholar] [CrossRef]
- Gasparin, A.; Lukovic, S.; Alippi, C. Deep learning for time series forecasting: The electric load case. CAAI Trans. Intell. Technol. 2022, 7, 5929–5955. [Google Scholar] [CrossRef]
- Bashir, T.; Chen, H.; Tahir, M.F.; Zhu, L. Short term electricity load forecasting using hybrid prophet-LSTM model optimized by BPNN. Energy Rep. 2022, 8, 1678–1686. [Google Scholar] [CrossRef]
- Lin, J.; Ma, J.; Zhu, J.; Cui, Y. Short-term load forecasting based on LSTM networks considering attention mechanism. Int. J. Electr. Power Energy Syst. 2022, 137, 107818. [Google Scholar] [CrossRef]
- Li, J.; Song, Z.; Wang, X.; Wang, Y.; Jia, Y. A novel offshore wind farm typhoon wind speed prediction model based on PSOBi-LSTM improved by VMD. Energy 2022, 251, 123848. [Google Scholar] [CrossRef]
- Yan, Y.; Wang, X.; Ren, F.; Shao, Z.; Tian, C. Wind speed prediction using a hybrid model of EEMD and LSTM considering seasonal features. Energy Rep. 2022, 8, 8965–8980. [Google Scholar] [CrossRef]
- Yao, W.; Huang, P.; Jia, Z. Multidimensional LSTM networks to predict wind speed. In Proceedings of the 2018 37th Chinese Control Conference (CCC), Wuhan, China, 25–27 July 2018; pp. 7493–7497. [Google Scholar]
- Lu, Z.; Yu, X.; Lu, C. Research on Sales Forecast of New Energy Vehicle Based on the Fusion Model of VMD and LSTM. J. Wuhan Univ. Technol. 2023, 45, 546–551. [Google Scholar]
- Bing, Q.; Zhang, W.; Shen, F.; Hu, Y.; Gao, P.; Liu, D. Short-term traffic flow prediction based on variational model decomposition and LSTM. J. Chongqing Univ. Technol. 2023, 37, 169–177. [Google Scholar] [CrossRef]
- Chen, L.; Shen, L.; Lu, F.; Ban, W. Forecast of Low-Sulfur Marine Fuel Price in Zhoushan Port Based on VMD-LSTM. J. Zhejiang Ocean Univ. 2023, 42, 346–351. [Google Scholar]
- Han, L.; Zhang, R.; Wang, X.; Bao, A.; Jing, H. Multi-Step Wind Power Forecast Based on VMD-LSTM. IET Renew. Power Gener. 2019, 13, 1690–1700. [Google Scholar] [CrossRef]
- Lu, J.; Zhang, Q.; Yang, Z.; Tu, M.; Lu, J.; Peng, H. Short-term load forecasting method based on CNN-LSTM hybrid neural network model. Autom. Electr. Power Syst. 2019, 43, 131–137. [Google Scholar] [CrossRef]
- Zhang, T.; Tang, Z.; Wu, J.; Du, X.; Chen, K. Short Term Electricity Price Forecasting Using a New Hybrid Model Based on Two-Layer Decomposition Technique and Ensemble Learning. Electr. Power Syst. Res. 2022, 205, 107762. [Google Scholar] [CrossRef]
- Jiao, D.; Chen, J.; Fang, Y.; Fu, J.; Deng, H.; Zhang, B. Control strategy of hybrid energy storage for suppressing fluctuation of wind power output based on variational mode decomposition. Electr. Meas. Instrum. 2021, 58, 14–19. [Google Scholar]
- Gao, J.; Yang, D.; Wang, S.; Li, Z.; Wang, L.; Wang, K. State of health estimation of lithium-ion batteries based on Mixers-bidirectional temporal convolutional neural network. J. Storage 2023, 73, 109248. [Google Scholar] [CrossRef]
- Du, G.; Chen, J.; Gao, L. Strategy of hybrid energy storage for wind power fluctuation smoothing based on optimized variational mode decomposition. Mod. Electron. Tech. 2023, 46, 1–7. [Google Scholar] [CrossRef]
- Yuan, M.; Tian, L.; Jiang, T.; Hu, R.; Cui, X. Research on the capacity configuration of the “flywheel + lithium battery” hybrid energy storage system that assists the wind farm to perform a frequency modulation. J. Phys. Conf. Ser. 2022, 2260, 012026. [Google Scholar] [CrossRef]
















| Kb(t) | SOCb(t) | |||||
|---|---|---|---|---|---|---|
| BVL | BL | BM | BH | BVH | ||
| Pb(t) | BNH | BPH | BPL | BZO | BZO | BZO |
| BNL | BPL | BPL | BZO | BZO | BNL | |
| BZO | BPL | BPL | BZO | BZO | BNL | |
| BPL | BPL | BZO | BZO | BNL | BNL | |
| BPH | BZO | BZO | BZO | BNL | BNH | |
| Kf(t) | nf(t) | |||||
|---|---|---|---|---|---|---|
| FVL | FL | FM | FH | FVH | ||
| Pf(t) | FNH | FPH | FPL | FZO | FZO | FZO |
| FNL | FPL | FPL | FZO | FZO | FNL | |
| FZO | FPL | FPL | FZO | FZO | FNL | |
| FPL | FPL | FZO | FZO | FNL | FNL | |
| FPH | FZO | FZO | FZO | FNL | FNH | |
| References | Method | Advantage | ||
|---|---|---|---|---|
| Smoothing Wind Power Fluctuations | SOC Constraint | DOD | ||
| Method of this paper | VMD+LSTM | Yes | Yes | Reduce DOD of BESS |
| Reference [30] | VMD | Yes | Yes | Reduce DOD of supercapacitor |
| Reference [32] | VMD+GWO (gray wolf optimization) | Yes | Yes | NO |
| Reference [33] | Wavelet packet decomposition | Yes | Yes | NO |
Disclaimer/Publisher’s Note: The statements, opinions and data contained in all publications are solely those of the individual author(s) and contributor(s) and not of MDPI and/or the editor(s). MDPI and/or the editor(s) disclaim responsibility for any injury to people or property resulting from any ideas, methods, instructions or products referred to in the content. |
© 2024 by the authors. Licensee MDPI, Basel, Switzerland. This article is an open access article distributed under the terms and conditions of the Creative Commons Attribution (CC BY) license (https://creativecommons.org/licenses/by/4.0/).
Share and Cite
Hou, E.; Xu, Y.; Tang, J.; Wang, Z. Strategy of Flywheel–Battery Hybrid Energy Storage Based on Optimized Variational Mode Decomposition for Wind Power Suppression. Electronics 2024, 13, 1362. https://doi.org/10.3390/electronics13071362
Hou E, Xu Y, Tang J, Wang Z. Strategy of Flywheel–Battery Hybrid Energy Storage Based on Optimized Variational Mode Decomposition for Wind Power Suppression. Electronics. 2024; 13(7):1362. https://doi.org/10.3390/electronics13071362
Chicago/Turabian StyleHou, Enguang, Yanliang Xu, Jiarui Tang, and Zhen Wang. 2024. "Strategy of Flywheel–Battery Hybrid Energy Storage Based on Optimized Variational Mode Decomposition for Wind Power Suppression" Electronics 13, no. 7: 1362. https://doi.org/10.3390/electronics13071362
APA StyleHou, E., Xu, Y., Tang, J., & Wang, Z. (2024). Strategy of Flywheel–Battery Hybrid Energy Storage Based on Optimized Variational Mode Decomposition for Wind Power Suppression. Electronics, 13(7), 1362. https://doi.org/10.3390/electronics13071362

