Particle Swarm Optimization Combined with Inertia-Free Velocity and Direction Search
Abstract
1. Introduction
2. Review of Improving the PSO Algorithm
2.1. Modifying the Velocity Update Strategy of Particles
2.2. The PSO Hybrid Algorithm
3. Static Exploitation: Searching with Inertia-Free Velocity from the Original PSO
4. Searching Based on the Rosenbrock Method
4.1. The Rosenbrock Method
4.2. The Procedure of the Round-Search
| Algorithm 1: A Round-Search along D Coordinate Directions. | |
| 1: | RoundSearch( ) |
| 2: | Set as the coordinate directions and let be the initial step sizes. |
| 3: | {j = 1; |
| 4: | while do |
| 5: | {; |
| 6: | If , let ;//trial step is successful |
| 7: | Else let .;//trial step is not successful |
| 8: | } |
| 9: | |
| 10: | } |
4.3. Direction Search (DS, Rosenbrock Procedure without Coordinate Rotation)
| Algorithm 2: The DS Procedure. | |
| 1: | Initialization. ; set the direction and the initial step size in direction randomly for each ; and let . |
| 2: | Repeat |
| 3: | Call RoundSearch( ) for ; |
| 4: | If (), then |
| 5: | { Let , call RoundSearch( ) to update ;} |
| 6: | Else |
| 7: | { If ( //at least a success in loop-search k |
| 8: | {Break; } |
| 9: | Else |
| 10: | { for each : |
| 11: | { If ││ < ε break; |
| 12: | Else { }. |
| 13: | } |
| 14: | } |
| 15: | } |
| 16: | Step 4. End repeat. |
| 17: | Step 5. Set . |
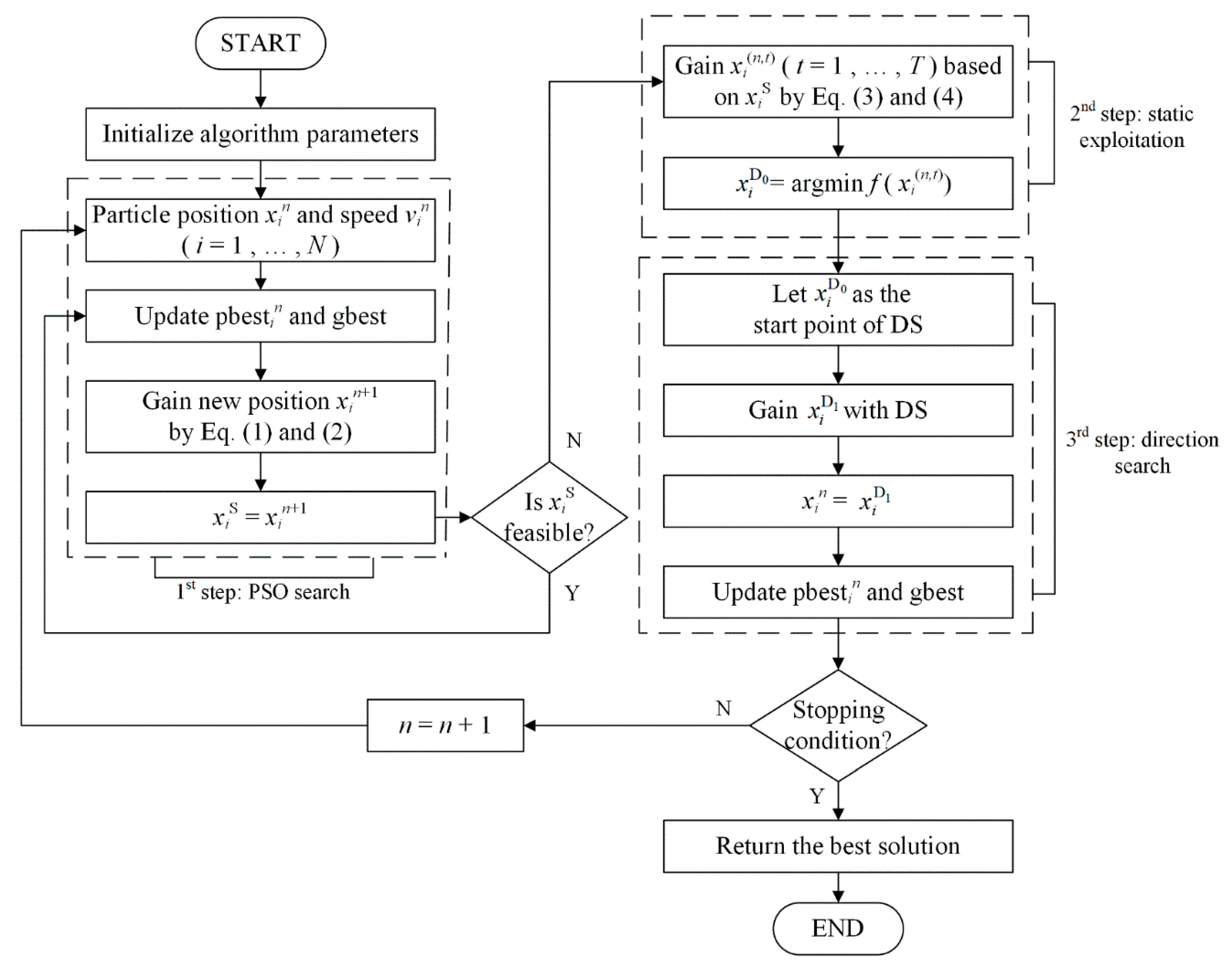
5. Proposed Hybrid Particle Swarm Optimization Algorithm
5.1. The Procedure of the SDPSO
5.2. The Joint Roles of the Three Stages
6. Experimental Study on Unconstrained and Constrained Optimization Problems
6.1. Experimental Study on Unconstrained Benchmark Problems (CEC2014)
6.1.1. Comparison 1: SDPSO and Five Standard Algorithms
6.1.2. Comparison 2: SDPSO and PSO Variants
6.2. Experimental Study on Constrained Engineering Design Problems
6.2.1. Pressure Vessel Design Optimization Problem (Problem 1)
6.2.2. Speed Reducer Design Optimization Problem (Problem 2)
6.2.3. Spring Design Optimization Problem (Problem 3)
6.2.4. Welded Beam Design Problem (Problem 4)
6.2.5. Three-Bar Truss Design Problem (Problem 5)
7. Parameters Study of SDPSO
7.1. Impacts of Inertia Weight on SDPSO
7.2. Parameter c1 and c2
8. Conclusions
Author Contributions
Funding
Conflicts of Interest
Appendix A
References
- Wu, J.-Y. Stochastic Global Optimization Method for Solving Constrained Engineering Design Optimization Problems. In Proceedings of the 2012 Sixth International Conference on Genetic and Evolutionary Computing, Kitakyushu, Japan, 25–28 August 2012; pp. 404–408. [Google Scholar] [CrossRef]
- Javaid, N.; Naseem, M.; Rasheed, M.B.; Mahmood, D.; Khan, S.A.; Alrajeh, N.; Iqbal, Z. A new heuristically optimized Home Energy Management controller for smart grid. Sustain. Cities Soc. 2017, 34, 211–227. [Google Scholar] [CrossRef]
- Li, Z.; Zheng, X. Review of design optimization methods for turbomachinery aerodynamics. Prog. Aerosp. Sci. 2017, 93, 1–23. [Google Scholar] [CrossRef]
- Li, X.; Tang, K.; Suganthan, P.; Yang, Z. Editorial for the special issue of Information Sciences Journal (ISJ) on “Nature-inspired algorithms for large scale global optimization”. Inf. Sci. 2015, 316, 437–439. [Google Scholar] [CrossRef]
- Boussaïd, I.; Lepagnot, J.; Siarry, P. A survey on optimization metaheuristics. Inf. Sci. 2013, 237, 82–117. [Google Scholar] [CrossRef]
- Jain, N.K.; Nangia, U.; Jain, J. A Review of Particle Swarm Optimization. J. Inst. Eng. Ser. B 2018, 99, 407–411. [Google Scholar] [CrossRef]
- Vitorino, L.N.; Ribeiro, S.F.; Bastos-Filho, C.J.A. A mechanism based on Artificial Bee Colony to generate diversity in Particle Swarm Optimization. Neurocomputing 2015, 148, 39–45. [Google Scholar] [CrossRef]
- Chen, Y.; Li, L.; Peng, H.; Xiao, J.; Yang, Y.; Shi, Y. Particle swarm optimizer with two differential mutation. Appl. Soft Comput. 2017, 61, 314–330. [Google Scholar] [CrossRef]
- Jiao, B.; Lian, Z.; Gu, X. A dynamic inertia weight particle swarm optimization algorithm. Chaos Solitons Fractals 2008, 37, 698–705. [Google Scholar] [CrossRef]
- Rosenbrock, H.H. An Automatic Method for Finding the Greatest or Least Value of a Function. Comput. J. 1960, 3, 175–184. [Google Scholar] [CrossRef]
- Leader, J.J. Numerical Analysis and Scientific Computation; Pearson Addison Wesley: Boston, MA, USA, 2004; 590p. [Google Scholar]
- Van den Berg, F.; Andrics, P.E. A Cooperative approach to particle swarm optimization. IEEE Trans. Evol. Comput. 2004, 8, 225–239. [Google Scholar] [CrossRef]
- Liang, J.J.; Qin, A.K.; Suganthan, P.N.; Baskar, S. Comprehensive learning particle swarm optimizer for global optimization of multimodal functions. IEEE Trans. Evol. Comput. 2006, 10, 281–295. [Google Scholar] [CrossRef]
- Liang, J.; Suganthan, P. Dynamic multi-swarm particle swarm optimizer. In Proceedings of the 2005 IEEE Swarm Intelligence Symposium, 2005 (SIS 2005), Pasadena, CA, USA, 8–10 June 2005; pp. 127–132. [Google Scholar] [CrossRef]
- Sun, L.; Yoshida, S.; Cheng, X.; Liang, Y. A cooperative particle swarm optimizer with statistical variable interdependence learning. Inf. Sci. 2012, 186, 20–39. [Google Scholar] [CrossRef]
- Li, J.; Zhang, J.; Jiang, C.; Zhou, M. Composite Particle Swarm Optimizer with Historical Memory for Function Optimization. IEEE Trans. Cybern. 2015, 45, 2350–2363. [Google Scholar] [CrossRef] [PubMed]
- Gülcü, Ş.; Kodaz, H. A novel parallel multi-swarm algorithm based on comprehensive learning particle swarm optimization. Eng. Appl. Artif. Intell. 2015, 45, 33–45. [Google Scholar] [CrossRef]
- Li, W.; Meng, X.; Huang, Y.; Fu, Z.-H. Multipopulation cooperative particle swarm optimization with a mixed mutation strategy. Inf. Sci. 2020, 529, 179–196. [Google Scholar] [CrossRef]
- Xu, G.; Cui, Q.; Shi, X.; Ge, H.; Zhan, Z.-H.; Lee, H.P.; Liang, Y.; Tai, R.; Wu, C. Particle swarm optimization based on dimensional learning strategy. Swarm Evol. Comput. 2019, 45, 33–51. [Google Scholar] [CrossRef]
- Li, W. Improving Particle Swarm Optimization Based on Neighborhood and Historical Memory for Training Multi-Layer Perceptron. Information 2018, 9, 16. [Google Scholar] [CrossRef]
- He, S.; Wu, Q.; Wen, J.; Saunders, J.; Paton, R. A particle swarm optimizer with passive congregation. Biosystems 2004, 78, 135–147. [Google Scholar] [CrossRef] [PubMed]
- Zeng, J.; Cui, Z.; Wang, L. A Differential Evolutionary Particle Swarm Optimization with Controller. Lect. Notes Comput. Sci. 2005, 3612, 467–476. [Google Scholar] [CrossRef]
- Chen, K.; Zhou, F.; Yin, L.; Wang, S.; Wang, Y.; Wan, F. A hybrid particle swarm optimizer with sine cosine acceleration coefficients. Inf. Sci. 2018, 422, 218–241. [Google Scholar] [CrossRef]
- Liu, Y.; Qin, Z.; Xu, Z.-L.; He, X.-S. Using relaxation velocity update strategy to improve particle swarm optimization. In Proceedings of the 2004 International Conference on Machine Learning and Cybernetics, Shanghai, China, 26–29 August 2005; Volume 4, pp. 2469–2472. [Google Scholar] [CrossRef]
- Liu, Y.; Qin, Z.; He, X. Supervisor-student model in particle swarm optimization. In Proceedings of the 2004 Congress on Evolutionary Computation, Portland, OR, USA, 19–23 June 2004; Volume 1, pp. 542–547. [Google Scholar] [CrossRef]
- Stacey, A.; Jancić, M.; Grundy, I. Particle swarm optimization with mutation. In Proceedings of the 2003 Congress on Evolutionary Computation, Canberra, Australia, 8–12 December 2003; Volume 2, pp. 1425–1430. [Google Scholar] [CrossRef]
- Miao, K.; Mao, X.; Li, C. Individualism of particles in particle swarm optimization. Appl. Soft Comput. 2019, 83, 105619. [Google Scholar] [CrossRef]
- Miao, K.; Wang, Z. Neighbor-Induction and Population-Dispersion in Differential Evolution Algorithm. IEEE Access 2019, 7, 146358–146378. [Google Scholar] [CrossRef]
- Tawhid, M.A.; Ali, A.F. Simplex particle swarm optimization with arithmetical crossover for solving global optimization problems. OPSEARCH 2016, 53, 705–740. [Google Scholar] [CrossRef]
- Chen, Y.; Li, L.; Xiao, J.; Yang, Y.; Liang, J.; Li, T. Particle swarm optimizer with crossover operation. Eng. Appl. Artif. Intell. 2018, 70, 159–169. [Google Scholar] [CrossRef]
- Parsopoulos, K.E.; Vrahatis, M.N. Recent approaches to global optimization problems through Particle Swarm Optimization. Nat. Comput. 2002, 1, 235–306. [Google Scholar] [CrossRef]
- Zhang, W.-J.; Xie, X.-F. DEPSO: Hybrid particle swarm with differential evolution operator. In Proceedings of the 2003 IEEE International Conference on Systems, Man and Cybernetics. Conference Theme—System Security and Assurance, Washington, DC, USA, 8 October 2004; Volume 4, pp. 3816–3821. [Google Scholar] [CrossRef]
- Ibrahim, A.M.; Tawhid, M.A. A hybridization of cuckoo search and particle swarm optimization for solving nonlinear systems. Evol. Intell. 2019, 12, 541–561. [Google Scholar] [CrossRef]
- Huang, C.-L.; Huang, W.-C.; Chang, H.-Y.; Yeh, Y.-C.; Tsai, C.-Y. Hybridization strategies for continuous ant colony optimization and particle swarm optimization applied to data clustering. Appl. Soft Comput. 2013, 13, 3864–3872. [Google Scholar] [CrossRef]
- Javidrad, F.; Nazari, M.; Javidrad, H. Optimum stacking sequence design of laminates using a hybrid PSO-SA method. Compos. Struct. 2018, 185, 607–618. [Google Scholar] [CrossRef]
- Luo, P.; Ni, P.; Yao, L.; Ho, S.; Ni, G.; Xia, H. Simulation of a new hybrid particle swarm optimization algorithm. Int. J. Appl. Electromagn. Mech. 2007, 25, 705–710. [Google Scholar] [CrossRef]
- Wang, Y.-J.; Zhang, J.-S.; Zhang, Y.-F. A fast hybrid algorithm for global optimization. In Proceedings of the 2005 International Conference on Machine Learning and Cybernetics, Guangzhou, China, 18–21 August 2005; Volume 5, pp. 3030–3035. [Google Scholar] [CrossRef]
- Salajegheh, F.; Salajegheh, E. PSOG: Enhanced particle swarm optimization by a unit vector of first and second order gradient directions. Swarm Evol. Comput. 2019, 46, 28–51. [Google Scholar] [CrossRef]
- Hofmeister, B.; Bruns, M.; Rolfes, R. Finite element model updating using deterministic optimisation: A global pattern search approach. Eng. Struct. 2019, 195, 373–381. [Google Scholar] [CrossRef]
- Bogani, C.; Gasparo, M.; Papini, A. Generalized Pattern Search methods for a class of nonsmooth optimization problems with structure. J. Comput. Appl. Math. 2009, 229, 283–293. [Google Scholar] [CrossRef]
- Abramson, M.A.; Audet, C.; Chrissis, J.W.; Walston, J.G. Mesh adaptive direct search algorithms for mixed variable optimization. Optim. Lett. 2009, 3, 35–47. [Google Scholar] [CrossRef]
- Liu, Y.; Qin, Z.; Shi, Z. Hybrid particle swarm optimizer with line search. In Proceedings of the 2004 IEEE International Conference on Systems, Man and Cybernetics, The Hague, The Netherlands, 10–13 October 2004; Volume 4, pp. 3751–3755. [Google Scholar] [CrossRef]
- Fan, S.-K.S.; Liang, Y.-C.; Zahara, E. Hybrid simplex search and particle swarm optimization for the global optimization of multimodal functions. Eng. Optim. 2004, 36, 401–418. [Google Scholar] [CrossRef]
- El-Wakeel, A.S.; Smith, A.C. Hybrid Fuzzy-particle Swarm Optimization-simplex (F-PSO-S) Algorithm for Optimum Design of PM Drive Couplings. Electr. Power Components Syst. 2015, 43, 1560–1571. [Google Scholar] [CrossRef]
- Kang, F.; Li, J.; Ma, Z. Rosenbrock artificial bee colony algorithm for accurate global optimization of numerical functions. Inf. Sci. 2011, 181, 3508–3531. [Google Scholar] [CrossRef]
- Lynn, N.; Suganthan, P.N. Ensemble particle swarm optimizer. Appl. Soft Comput. 2017, 55, 533–548. [Google Scholar] [CrossRef]
- Palmer, J.R. An Improved Procedure for Orthogonalising the Search Vectors in Rosenbrock’s and Swann’s Direct Search Optimisation Methods. Comput. J. 1969, 12, 69–71. [Google Scholar] [CrossRef]
- Lewis, R.M.; Torczon, V.; Trosset, M.W. Direct search methods: Then and now. J. Comput. Appl. Math. 2000, 124, 191–207. [Google Scholar] [CrossRef]
- Sajid, I.; Ziavras, S.G.; Ahmed, M.M. FPGA-based normalization for modified gram-schmidt orthogonalization. In Proceedings of the International Joint Conference on Computer Vision, Imaging and Computer Graphics Theory and Applications, VISAPP 2010, Angers, France, 17–21 May 2010; Volume 2, pp. 227–232. [Google Scholar] [CrossRef]
- Wilcoxon, F. Individual Comparisons by Ranking Methods. Biom. Bull. 1945, 1, 80. [Google Scholar] [CrossRef]
- Kennedy, J.; Eberhart, R. Particle swarm optimization. In Proceedings of the ICNN’95—International Conference on Neural Networks, Perth, WA, Australia, 27 November–1 December 1995; Volume 4, pp. 1942–1948. [Google Scholar] [CrossRef]
- Fogel, L.J.; Owens, A.J.; Walsh, M.J. Artificial Intelligence through Simulated Evolution; Wiley: New York, NY, USA, 1966. [Google Scholar]
- Akay, B.; Karaboga, D. Artificial bee colony algorithm for large-scale problems and engineering design optimization. J. Intell. Manuf. 2012, 23, 1001–1014. [Google Scholar] [CrossRef]
- Simon, D. Biogeography-Based Optimization. IEEE Trans. Evol. Comput. 2008, 12, 702–713. [Google Scholar] [CrossRef]
- Chen, H.G.; Wu, J.S.; Wang, J.L.; Chen, B. Mechanism study of simulated annealing algorithm. Tongji Daxue Xuebao J. Tongji Univ. 2004, 32, 802–805. [Google Scholar]
- Zhan, Z.-H.; Zhang, J. Adaptive Particle Swarm Optimization. Lect. Notes Comput. Sci. 2008, 5217, 227–234. [Google Scholar] [CrossRef]
- Zhan, Z.-H.; Zhang, J.; Li, Y.; Shi, Y.-H. Orthogonal Learning Particle Swarm Optimization. IEEE Trans. Evol. Comput. 2011, 15, 832–847. [Google Scholar] [CrossRef]
- Li, Y.-F.; Zhan, Z.-H.; Lin, Y.; Zhang, J. Comparisons study of APSO OLPSO and CLPSO on CEC2005 and CEC2014 test suits. In Proceedings of the 2015 IEEE Congress on Evolutionary Computation (CEC), Sendai, Japan, 25–28 May 2015; pp. 3179–3185. [Google Scholar] [CrossRef]
- Liang, J.J.; Qu, B.Y.; Suganthan, P.N. Problem Definitions and Evaluation Criteria for the CEC 2014 Special Session and Competition on Single Objective Real-Parameter Numerical Optimization; Technical Report; Computational Intelligence Laboratory, Zhengzhou University: Zhengzhou, China; Nanyang Technological University: Singapore, 2014; pp. 1–32. [Google Scholar]
- Aziz, N.A.A.; Ibrahim, Z.; Mubin, M.; Nawawi, S.W.; Mohamad, M.S. Improving particle swarm optimization via adaptive switching asynchronous–synchronous update. Appl. Soft Comput. 2018, 72, 298–311. [Google Scholar] [CrossRef]
- Rada-Vilela, J.; Zhang, M.; Seah, W. A performance study on synchronicity and neighborhood size in particle swarm optimization. Soft Comput. 2013, 17, 1019–1030. [Google Scholar] [CrossRef]
- Bonyadi, M.R.; Michalewicz, Z. Particle Swarm Optimization for Single Objective Continuous Space Problems: A Review. Evol. Comput. 2017, 25, 1–54. [Google Scholar] [CrossRef]
- Voglis, C.A.; Parsopoulos, K.E.; Lagaris, I.E. Particle swarm optimization with deliberate loss of information. Soft Comput. 2012, 16, 1373–1392. [Google Scholar] [CrossRef]
- Chun, S.; Kim, Y.-T.; Kim, T.-H. A Diversity-Enhanced Constrained Particle Swarm Optimizer for Mixed Integer-Discrete-Continuous Engineering Design Problems. Adv. Mech. Eng. 2013. [Google Scholar] [CrossRef]
- Krohling, R.A.; Coelho, L.D.S. Coevolutionary Particle Swarm Optimization Using Gaussian Distribution for Solving Constrained Optimization Problems. IEEE Trans. Syst. Man Cybern. Part B 2006, 36, 1407–1416. [Google Scholar] [CrossRef]
- He, Q.; Wang, L. A hybrid particle swarm optimization with a feasibility-based rule for constrained optimization. Appl. Math. Comput. 2007, 186, 1407–1422. [Google Scholar] [CrossRef]
- Mazhoud, I.; Hadj-Hamou, K.; Bigeon, J.; Joyeux, P. Particle swarm optimization for solving engineering problems: A new constraint-handling mechanism. Eng. Appl. Artif. Intell. 2013, 26, 1263–1273. [Google Scholar] [CrossRef]
- Baykasoğlu, A.; Ozsoydan, F.B. Adaptive firefly algorithm with chaos for mechanical design optimization problems. Appl. Soft Comput. 2015, 36, 152–164. [Google Scholar] [CrossRef]
- Liu, H.; Cai, Z.; Wang, Y. Hybridizing particle swarm optimization with differential evolution for constrained numerical and engineering optimization. Appl. Soft Comput. 2010, 10, 629–640. [Google Scholar] [CrossRef]
- Savsani, P.; Savsani, V. Passing vehicle search (PVS): A novel metaheuristic algorithm. Appl. Math. Model. 2016, 40, 3951–3978. [Google Scholar] [CrossRef]
- Montemurro, M.; Vincenti, A.; Vannucci, P. The Automatic Dynamic Penalisation method (ADP) for handling constraints with genetic algorithms. Comput. Methods Appl. Mech. Eng. 2013, 256, 70–87. [Google Scholar] [CrossRef]
- Gandomi, A.H.; Yang, X.-S.; Alavi, A.H.; Talatahari, S. Bat algorithm for constrained optimization tasks. Neural Comput. Appl. 2013, 22, 1239–1255. [Google Scholar] [CrossRef]
- Rao, R.V.; Savsani, V.J.; Vakharia, D.P. Teaching–learning-based optimization: A novel method for constrained mechanical design optimization problems. Comput. Aided Des. 2011, 43, 303–315. [Google Scholar] [CrossRef]
- Zahara, E.; Kao, Y.-T. Hybrid Nelder–Mead simplex search and particle swarm optimization for constrained engineering design problems. Expert Syst. Appl. 2009, 36, 3880–3886. [Google Scholar] [CrossRef]
- Kiew, K.M.; Ray, T. Society and Civilization: An Optimization Algorithm Based on the Simulation of Social Behavior. IEEE Trans. Evol. Comput. 1903, 7, 386–396. [Google Scholar]
- Wang, Y.; Cai, Z.; Zhou, Y. Accelerating adaptive trade-off model using shrinking space technique for constrained evolutionary optimization. Int. J. Numer. Methods Eng. 2009, 77, 1501–1534. [Google Scholar] [CrossRef]
- Wang, L.; Li, L.-P. An effective differential evolution with level comparison for constrained engineering design. Struct. Multidiscip. Optim. 2010, 41, 947–963. [Google Scholar] [CrossRef]
- De Melo, V.V.; Carosio, G.L. Investigating Multi-View Differential Evolution for solving constrained engineering design problems. Expert Syst. Appl. 2013, 40, 3370–3377. [Google Scholar] [CrossRef]
- Hwang, S.-F.; He, R.-S. A hybrid real-parameter genetic algorithm for function optimization. Adv. Eng. Inform. 2006, 20, 7–21. [Google Scholar] [CrossRef]
- Zhang, M.; Luo, W.; Wang, X. Differential evolution with dynamic stochastic selection for constrained optimization. Inf. Sci. 2008, 178, 3043–3074. [Google Scholar] [CrossRef]
- Zhang, J.; Liang, C.; Huang, Y.; Wu, J.; Yang, S. An effective multiagent evolutionary algorithm integrating a novel roulette inversion operator for engineering optimization. Appl. Math. Comput. 2009, 211, 392–416. [Google Scholar] [CrossRef]
- Shi, Y.; Eberhart, R.C. A Modified Particle Swarm. In Proceedings of the 1998 IEEE International Conference on Evolutionary Computation Proceedings. IEEE World Congress on Computational Intelligence, Anchorage, AK, USA, 4–9 May 1998; pp. 1945–1950. [Google Scholar]
- Yang, C.; Simon, D. A New Particle Swarm Optimization Technique. In Proceedings of the 18th International Conference on Systems Engineering (ICSEng’05), Las Vegas, NV, USA, 16–18 August 2005; pp. 164–169. [Google Scholar] [CrossRef]
- Eberhart, R.C.; Shi, Y. Comparing inertia weights and constriction factors in particle swarm optimization. In Proceedings of the 2000 Congress on Evolutionary Computation, CEC00, La Jolla, CA, USA, 16–19 July 2000; Volume 1, pp. 84–88. [Google Scholar] [CrossRef]







| No | Functions | Fi* = Fi(x*) | |
|---|---|---|---|
| Unimodal Functions | 1 | Rotated High Conditioned Elliptic Function | 100 |
| 2 | Rotated Bent Cigar Function | 200 | |
| 3 | Rotated Discus Function | 300 | |
| Simple Multimodal Functions | 4 | Shifted and Rotated Rosenbrock’s Function | 400 |
| 5 | Shifted and Rotated Ackley’s Function | 500 | |
| 6 | Shifted and Rotated Weierstrass Function | 600 | |
| 7 | Shifted and Rotated Griewank’s Function | 700 | |
| 8 | Shifted Rastrigin’s Function | 800 | |
| 9 | Shifted and Rotated Rastrigin’s Function | 900 | |
| 10 | Shifted Schwefel’s Function | 1000 | |
| 11 | Shifted and Rotated Schwefel’s Function | 1100 | |
| 12 | Shifted and Rotated Katsuura Function | 1200 | |
| 13 | Shifted and Rotated HappyCat Function | 1300 | |
| 14 | Shifted and Rotated HGBat Function | 1400 | |
| 15 | Shifted and Rotated Expanded Griewank’s plus Rosenbrock’s Function | 1500 | |
| 16 | Shifted and Rotated Expanded Scaffer’s F6 Function | 1600 | |
| Hybrid Function | 17 | Hybrid Function 1 (N = 3) | 1700 |
| 18 | Hybrid Function 2 (N = 3) | 1800 | |
| 19 | Hybrid Function 3 (N = 4) | 1900 | |
| 20 | Hybrid Function 4 (N = 4) | 2000 | |
| 21 | Hybrid Function 5 (N = 5) | 2100 | |
| 22 | Hybrid Function 6 (N = 5) | 2200 | |
| Composition Functions | 23 | Composition Function 1 (N = 5) | 2300 |
| 24 | Composition Function 2 (N = 3) | 2400 | |
| 25 | Composition Function 3 (N = 3) | 2500 | |
| 26 | Composition Function 4 (N = 5) | 2600 | |
| 27 | Composition Function 5 (N = 5) | 2700 | |
| 28 | Composition Function 6 (N = 5) | 2800 | |
| 29 | Composition Function 7 (N = 3) | 2900 | |
| 30 | Composition Function 8 (N = 3) | 3000 | |
| Search Range: [−100, 100]D | |||
| Fun | PSO | GA | ABC | BBO | SA | SDPSO | |
|---|---|---|---|---|---|---|---|
| F1 | Mean | 5.41 × 107 (−) | 1.09 × 106 (−) | 6.11 × 108 (−) | 1.95 × 106 (−) | 8.80 × 108 (−) | 2.41 × 103 |
| StdDev | 2.24 × 107 | 5.87 × 105 | 1.26 × 108 | 8.26 × 105 | 1.66 × 108 | 2.31 × 102 | |
| F2 | Mean | 2.42 × 108 (−) | 7.57 × 106 (−) | 8.57 × 107 (−) | 5.69 × 104 (−) | 7.22 × 1010 (−) | 2.07 × 100 |
| StdDev | 4.23 × 108 | 2.51 × 104 | 8.25 × 107 | 2.07 × 104 | 3.95 × 109 | 3.89 × 100 | |
| F3 | Mean | 5.97 × 104 (−) | 2.14 × 104 (−) | 2.73 × 105 (−) | 1.35 × 103 (−) | 1.25 × 105 (−) | 2.06 × 101 |
| StdDev | 1.07 × 104 | 8.27 × 103 | 6.67 × 104 | 1.66 × 103 | 1.01 × 104 | 1.96 × 101 | |
| F4 | Mean | 1.66 × 102 (−) | 3.62 × 100 (+) | 2.77 × 101 (−) | 7.60 × 101 (−) | 1.18 × 104 (−) | 3.82 × 100 |
| StdDev | 8.29 × 101 | 9.54 × 10−1 | 2.37 × 10−1 | 4.64 × 101 | 2.62 × 103 | 3.09 × 100 | |
| F5 | Mean | 2.08 × 101 (−) | 2.09 × 101 (−) | 2.10 × 101 (−) | 2.00 × 101 (≈) | 2.10 × 101 (−) | 2.00 × 101 |
| StdDev | 9.01 × 101 | 6.84 × 10−2 | 4.46 × 10−2 | 1.58 × 10−2 | 5.08 × 10−2 | 5.83 × 10−4 | |
| F6 | Mean | 2.58 × 101 (+) | 2.15 × 101 (+) | 3.93 × 101 (−) | 1.27 × 101 (+) | 3.92 × 101 (−) | 3.40 × 101 |
| StdDev | 6.40 × 101 | 1.06 × 100 | 8.87 × 10−1 | 4.29 × 100 | 5.93 × 10−1 | 2.85 × 100 | |
| F7 | Mean | 9.28 × 101 (−) | 1.28 × 100 (−) | 2.65 × 10−1 (−) | 2.04 × 10−1 (−) | 6.12 × 102 (−) | 1.54 × 10−2 |
| StdDev | 1.23 × 101 | 1.24 × 10−2 | 6.47 × 10−2 | 7.46 × 10−2 | 4.43 × 101 | 4.85 × 10−3 | |
| F8 | Mean | 5.09 × 10−2 (+) | 1.01 × 100 (+) | 2.01 × 102 (−) | 2.59 × 101 (+) | 2.02 × 101 (+) | 1.59 × 102 |
| StdDev | 1.11 × 100 | 9.40 × 100 | 1.08 × 101 | 7.02 × 100 | 1.92 × 10−1 | 1.55 × 101 | |
| F9 | Mean | 3.18 × 101 (+) | 2.83 × 101 (+) | 2.21 × 102 (+) | 4.95 × 101 (+) | 5.98 × 101 (+) | 2.38 × 102 |
| StdDev | 1.28 × 102 | 6.37 × 100 | 1.16 × 101 | 1.43 × 101 | 1.03 × 101 | 3.99 × 101 | |
| F10 | Mean | 7.61 × 102 (+) | 8.85 × 102 (+) | 7.15 × 103 (−) | 1.01 × 103 (+) | 1.35 × 103 (+) | 2.45 × 103 |
| StdDev | 7.61 × 102 | 4.27 × 102 | 2.79 × 102 | 4.22 × 102 | 1.12 × 102 | 2.80 × 102 | |
| F11 | Mean | 6.83 × 103 (−) | 7.53 × 103 (−) | 7.70 × 103 (−) | 3.01 × 103 (+) | 7.23 × 103 (−) | 3.11 × 103 |
| StdDev | 1.93 × 103 | 4.25 × 102 | 2.36 × 102 | 6.11 × 102 | 2.66 × 102 | 2.67 × 102 | |
| F12 | Mean | 2.86 × 100 (−) | 5.86 × 10−1 (−) | 2.48 × 100 (−) | 1.48 × 10−1 (+) | 3.02 × 100 (−) | 2.62 × 10−1 |
| StdDev | 2.77 × 101 | 6.81 × 10−2 | 3.39 × 10−1 | 6.39 × 10−2 | 2.93 × 10−1 | 4.31 × 10−2 | |
| F13 | Mean | 6.40 × 10−1 (−) | 2.79 × 10−1 (+) | 4.97 × 10−1 (−) | 2.15 × 10−1 (+) | 6.82 × 100 (−) | 3.21 × 10−1 |
| StdDev | 4.44 × 10−1 | 6.24 × 10−3 | 7.15 × 10−2 | 5.52 × 10−2 | 7.95 × 10−1 | 4.88 × 10−2 | |
| F14 | Mean | 4.21 × 10−1 (−) | 2.54 × 10−1 (−) | 3.24 × 10−1 (−) | 2.31 × 10−1 (−) | 2.27 × 102 (−) | 1.86 × 10−1 |
| StdDev | 1.57 × 10−1 | 4.14 × 10−2 | 3.70 × 10−2 | 4.95 × 10−2 | 3.32 × 101 | 2.37 × 10−2 | |
| F15 | Mean | 4.47 × 100 (+) | 1.06 × 100 (+) | 1.94 × 101 (−) | 5.27 × 100 (+) | 5.24 × 102 (−) | 6.24 × 100 |
| StdDev | 1.92 × 100 | 2.59 × 10−2 | 1.22 × 100 | 1.07 × 100 | 3.51 × 102 | 9.20 × 10−1 | |
| F16 | Mean | 1.29 × 101 (−) | 1.30 × 101 (−) | 1.36 × 101 (−) | 1.14 × 101 (+) | 1.31 × 101 (−) | 1.19 × 101 |
| StdDev | 4.82 × 10−1 | 6.27 × 10−1 | 1.33 × 10−1 | 6.13 × 10−1 | 1.54 × 10−1 | 4.78 × 10−1 | |
| F17 | Mean | 3.26 × 105 (−) | 3.04 × 105 (−) | 8.00 × 106 (−) | 2.60 × 105 (−) | 2.66 × 106 (−) | 4.39 × 104 |
| StdDev | 2.57 × 105 | 3.72 × 104 | 2.81 × 106 | 1.66 × 105 | 6.01 × 105 | 2.23 × 104 | |
| F18 | Mean | 1.02 × 106 (−) | 5.85 × 104 (−) | 4.71 × 104 (−) | 1.20 × 103 (−) | 1.28 × 109 (−) | 1.89 × 102 |
| StdDev | 2.95 × 106 | 6.43 × 104 | 1.10 × 105 | 1.48 × 103 | 4.99 × 108 | 5.19 × 101 | |
| F19 | Mean | 2.82 × 102 (−) | 1.62 × 101 (−) | 1.91 × 101 (−) | 1.15 × 101 (−) | 3.03 × 102 (−) | 1.06 × 101 |
| StdDev | 1.98 × 101 | 3.52 × 101 | 5.33 × 10−1 | 1.04 × 101 | 5.58 × 101 | 1.09 × 100 | |
| F20 | Mean | 1.08 × 104 (−) | 2.36 × 103 (+) | 1.16 × 105 (−) | 2.59 × 103 (+) | 6.96 × 104 (−) | 5.08 × 103 |
| StdDev | 2.18 × 103 | 3.14 × 103 | 5.49 × 104 | 2.81 × 103 | 2.74 × 104 | 2.41 × 103 | |
| F21 | Mean | 7.54 × 105 (−) | 1.34 × 105 (−) | 2.49 × 106 (−) | 1.69 × 105 (−) | 6.23 × 106 (−) | 2.43 × 104 |
| StdDev | 4.21 × 105 | 5.59 × 104 | 7.99 × 105 | 1.10 × 105 | 2.82 × 106 | 1.85 × 104 | |
| F22 | Mean | 8.24 × 102 (−) | 1.38 × 103 (−) | 7.63 × 102 (−) | 4.02 × 102 (−) | 1.36 × 103 (−) | 2.41 × 102 |
| StdDev | 5.24 × 102 | 1.28 × 102 | 1.10 × 102 | 1.78 × 102 | 2.63 × 102 | 8.61 × 101 | |
| F23 | Mean | 3.42 × 102 (−) | 3.01 × 102 (−) | 3.37 × 102 (−) | 3.15 × 102 (−) | 7.36 × 102 (−) | 3.14 × 102 |
| StdDev | 6.24 × 100 | 3.87 × 10−2 | 1.82 × 100 | 1.69 × 10−3 | 8.22 × 101 | 3.01 × 10−2 | |
| F24 | Mean | 2.05 × 102 (+) | 2.51 × 102 (−) | 2.33 × 102 (−) | 2.29 × 102 (−) | 4.08 × 102 (−) | 2.27 × 102 |
| StdDev | 2.41 × 10−1 | 1.40 × 101 | 6.53 × 100 | 5.89 × 100 | 1.78 × 101 | 7.57 × 10−1 | |
| F25 | Mean | 2.20 × 102 (−) | 2.18 × 102 (−) | 2.52 × 102 (−) | 2.13 × 102 (−) | 2.70 × 102 (−) | 2.01 × 102 |
| StdDev | 4.51 × 100 | 8.47 × 100 | 1.14 × 101 | 4.17 × 100 | 1.04 × 101 | 7.57 × 10−2 | |
| F26 | Mean | 1.00 × 102 (≈) | 1.56 × 102 (−) | 1.01 × 102 (−) | 1.10 × 102 (−) | 1.01 × 102 (−) | 1.00 × 102 |
| StdDev | 2.42 × 10−1 | 4.44 × 101 | 5.64 × 10−2 | 3.05 × 101 | 3.20 × 10−1 | 2.68 × 10−2 | |
| F27 | Mean | 2.51 × 103 (−) | 7.89 × 102 (−) | 1.30 × 103 (−) | 4.70 × 102 (−) | 9.23 × 102 (−) | 4.03 × 102 |
| StdDev | 4.82 × 102 | 2.06 × 102 | 3.82 × 101 | 8.76 × 101 | 1.38 × 102 | 7.61 × 10−1 | |
| F28 | Mean | 1.81 × 103 (−) | 3.46 × 103 (−) | 4.94 × 102 (−) | 1.31 × 103 (−) | 5.08 × 103 (−) | 4.07 × 102 |
| StdDev | 4.91 × 102 | 8.02 × 103 | 2.12 × 101 | 3.92 × 102 | 3.87 × 102 | 8.52 × 100 | |
| F29 | Mean | 8.77 × 107 (−) | 1.39 × 104 (−) | 3.55 × 102 (−) | 1.32 × 103 (−) | 1.87 × 108 (−) | 2.07 × 102 |
| StdDev | 3.24 × 107 | 1.97 × 105 | 3.46 × 101 | 3.00 × 102 | 1.73 × 104 | 7.21 × 10−1 | |
| F30 | Mean | 4.11 × 105 (−) | 3.51 × 103 (−) | 1.72 × 103 (−) | 2.68 × 103 (−) | 1.01 × 106 (−) | 4.11 × 102 |
| StdDev | 1.87 × 104 | 2.08 × 103 | 1.64 × 102 | 6.47 × 102 | 5.00 × 105 | 7.57 × 101 | |
| + | 6 | 8 | 1 | 10 | 3 | ||
| − | 23 | 22 | 29 | 19 | 27 | ||
| ≈ | 1 | 0 | 0 | 1 | 0 |
| Fun | CLPSO | APSO | OLPSO | SDPSO | |
|---|---|---|---|---|---|
| F1 | Mean | 9.41 × 106 (−) | 1.38 × 105 (−) | 6.12 × 106 (−) | 2.41 × 103 |
| StdDev | 3.02 × 106 | 9.59 × 104 | 3.58 × 106 | 2.31 × 102 | |
| F2 | Mean | 2.76 × 102 (−) | 4.34 × 10−3 (+) | 1.28 × 103 (−) | 2.07 × 100 |
| StdDev | 6.84 × 102 | 1.02 × 10−2 | 1.48 × 103 | 3.89 × 100 | |
| F3 | Mean | 3.24 × 102 (−) | 2.61 × 102 (−) | 3.23 × 102 (−) | 2.06 × 101 |
| StdDev | 2.79 × 102 | 4.10 × 102 | 5.69 × 102 | 1.96 × 101 | |
| F4 | Mean | 8.07 × 101 (−) | 6.85 × 100 (−) | 8.64 × 101 (−) | 3.82 × 100 |
| StdDev | 1.58 × 101 | 2.03 × 101 | 2.22 × 101 | 3.09 × 100 | |
| F5 | Mean | 2.05 × 101 (−) | 2.00 × 101 (≈) | 2.03 × 101 (−) | 2.00 × 101 |
| StdDev | 4.95 × 10−2 | 1.88 × 10−4 | 1.28 × 10−1 | 5.83 × 10−4 | |
| F6 | Mean | 1.43 × 101 (+) | 1.58 × 101 (+) | 5.09 × 100 (+) | 3.40 × 101 |
| StdDev | 1.38 × 100 | 3.53 × 100 | 1.48 × 100 | 2.85 × 100 | |
| F7 | Mean | 6.68 × 10−5 (+) | 1.73 × 10−2 (−) | 1.02 × 10−13 (+) | 1.54 × 10−2 |
| StdDev | 5.86 × 10−5 | 2.08 × 10−2 | 3.47 × 10−14 | 4.85 × 10−3 | |
| F8 | Mean | 3.95 × 10−11 (+) | 8.86 × 10−12 (+) | 0.00 × 100 (+) | 1.59 × 102 |
| StdDev | 5.48 × 10−11 | 4.67 × 10−11 | 0.00 × 100 | 1.55 × 101 | |
| F9 | Mean | 6.11 × 101 (+) | 9.13 × 101 (+) | 4.06 × 101 (+) | 2.38 × 102 |
| StdDev | 7.92 × 100 | 2.46 × 101 | 7.02 × 100 | 3.99 × 101 | |
| F10 | Mean | 3.13 × 100 (+) | 7.92 × 10−1 (+) | 8.72 × 10−2 (+) | 2.45 × 103 |
| StdDev | 1.52 × 100 | 8.25 × 10−1 | 2.04 × 10−1 | 2.80 × 102 | |
| F11 | Mean | 2.87 × 103 (+) | 2.74 × 103 (+) | 2.28 × 103 (+) | 3.11 × 103 |
| StdDev | 2.73 × 102 | 5.37 × 102 | 4.66 × 102 | 2.67 × 102 | |
| F12 | Mean | 5.38 × 10−1 (−) | 1.95 × 10−1 (+) | 2.28 × 10−1 (+) | 2.62 × 10−1 |
| StdDev | 7.21 × 10−2 | 7.17 × 10−2 | 6.38 × 10−2 | 4.31 × 10−2 | |
| F13 | Mean | 3.32 × 10−1 (−) | 4.33 × 10−1 (−) | 2.59 × 10−1 (+) | 3.21 × 10−1 |
| StdDev | 3.46 × 10−2 | 9.22 × 10−2 | 3.20 × 10−2 | 4.88 × 10−2 | |
| F14 | Mean | 2.78 × 10−1 (−) | 3.23 × 10−1 (−) | 2.41 × 10−1 (−) | 1.86 × 10−1 |
| StdDev | 2.98 × 10−2 | 1.10 × 10−1 | 2.66 × 10−2 | 2.37 × 10−2 | |
| F15 | Mean | 8.62 × 100 (−) | 2.96 × 101 (−) | 6.67 × 100 (−) | 6.24 × 100 |
| StdDev | 1.09 × 100 | 4.03 × 100 | 1.62 × 100 | 9.20 × 10−1 | |
| F16 | Mean | 1.06 × 101 (+) | 1.05 × 101 (+) | 1.17 × 101 (+) | 1.19 × 101 |
| StdDev | 3.80 × 10−1 | 8.21 × 10−1 | 5.48 × 10−1 | 4.78 × 10−1 | |
| F17 | Mean | 8.59 × 105 (−) | 3.19 × 104 (+) | 7.98 × 105 (−) | 4.39 × 104 |
| StdDev | 3.58 × 105 | 2.14 × 104 | 4.13 × 105 | 2.23 × 104 | |
| F18 | Mean | 1.69 × 102 (+) | 3.73 × 103 (−) | 3.58 × 102 (−) | 1.89 × 102 |
| StdDev | 5.85 × 101 | 5.23 × 103 | 5.12 × 102 | 5.19 × 101 | |
| F19 | Mean | 8.35 × 100 (+) | 1.41 × 101 (−) | 6.13 × 100 (+) | 1.06 × 101 |
| StdDev | 8.04 × 10−1 | 1.84 × 101 | 8.20 × 10−1 | 1.09 × 100 | |
| F20 | Mean | 3.26 × 103 (+) | 6.38 × 103 (−) | 5.58 × 103 (−) | 5.08 × 103 |
| StdDev | 1.70 × 103 | 4.86 × 103 | 4.01 × 103 | 2.41 × 103 | |
| F21 | Mean | 8.08 × 104 (−) | 2.16 × 104 (+) | 1.07 × 105 (−) | 2.43 × 104 |
| StdDev | 3.99 × 104 | 1.31 × 104 | 8.33 × 104 | 1.85 × 104 | |
| F22 | Mean | 1.75 × 102 (+) | 6.50 × 102 (−) | 2.20 × 102 (+) | 2.41 × 102 |
| StdDev | 7.77 × 101 | 2.42 × 102 | 1.07 × 102 | 8.61 × 101 | |
| F23 | Mean | 3.15 × 102 (−) | 3.15 × 102 (−) | 3.15 × 102 (−) | 3.14 × 102 |
| StdDev | 4.86 × 10−5 | 1.15 × 10−12 | 1.23 × 10−10 | 3.01 × 10−2 | |
| F24 | Mean | 2.25 × 102 (+) | 2.29 × 102 (−) | 2.24 × 102 (+) | 2.27 × 102 |
| StdDev | 1.29 × 100 | 4.73 × 100 | 5.47 × 10−1 | 7.57 × 10−1 | |
| F25 | Mean | 2.08 × 102 (−) | 2.16 × 102 (−) | 2.09 × 102 (−) | 2.01 × 102 |
| StdDev | 1.19 × 100 | 5.81 × 100 | 1.75 × 100 | 7.57 × 10−2 | |
| F26 | Mean | 1.00 × 102 (≈) | 1.58 × 102 (−) | 1.00 × 102 (≈) | 1.00 × 102 |
| StdDev | 7.35 × 10−2 | 6.05 × 101 | 4.44 × 10−2 | 2.68 × 10−2 | |
| F27 | Mean | 4.17 × 102 (−) | 6.84 × 102 (−) | 3.26 × 102 (+) | 4.03 × 102 |
| StdDev | 5.24 × 100 | 2.11 × 102 | 3.80 × 101 | 7.61 × 10−1 | |
| F28 | Mean | 8.98 × 102 (−) | 2.53 × 103 (−) | 8.73 × 102 (−) | 4.07 × 102 |
| StdDev | 5.32 × 101 | 8.16 × 102 | 2.97 × 101 | 8.52 × 100 | |
| F29 | Mean | 1.29 × 103 (−) | 1.24 × 103 (−) | 1.36 × 103 (−) | 2.07 × 102 |
| StdDev | 1.69 × 102 | 5.02 × 102 | 2.82 × 102 | 7.21 × 10−1 | |
| F30 | Mean | 3.63 × 103 (−) | 2.50 × 103 (−) | 2.39 × 103 (−) | 4.11 × 102 |
| StdDev | 1.00 × 103 | 6.63 × 102 | 5.99 × 102 | 7.57 × 101 | |
| + | 12 | 10 | 13 | ||
| – | 17 | 19 | 16 | ||
| ≈ | 1 | 1 | 1 |
| Fun | Switch-PSO | S-PSO | AIW-PSO | DLI-PSO | SDPSO |
|---|---|---|---|---|---|
| F1 | 1.43 × 108 (−) | 2.43 × 108 (−) | 2.05 × 108 (−) | 1.43 × 1010 (−) | 8.92 × 103 |
| F2 | 2.49 × 107 (−) | 4.27 × 107 (−) | 5.31 × 105 (−) | 5.59 × 1011 (−) | 7.08 × 103 |
| F3 | 7.12 × 104 (−) | 9.86 × 104 (−) | 4.08 × 104 (−) | 8.40 × 105 (−) | 1.85 × 104 |
| F4 | 1.03 × 103 (−) | 1.14 × 103 (−) | 1.15 × 103 (−) | 2.33 × 105 (−) | 7.30 × 101 |
| F5 | 5.21 × 102 (−) | 5.21 × 102 (−) | 5.21 × 102 (−) | 5.21 × 102 (−) | 2.00 × 101 |
| F6 | 6.72 × 102 (−) | 6.84 × 102 (−) | 6.84 × 102 (−) | 7.66 × 102 (−) | 1.57 × 102 |
| F7 | 7.01 × 102 (−) | 7.01 × 102 (−) | 7.00 × 102 (−) | 5.80 × 103 (−) | 2.44 × 10−2 |
| F8 | 1.01 × 103 (+) | 1.01 × 103 (+) | 9.93 × 102 (+) | 2.73 × 103 (−) | 1.05 × 103 |
| F9 | 1.24 × 103 (+) | 1.33 × 103 (+) | 1.35 × 103 (+) | 3.20 × 103 (−) | 1.47 × 103 |
| F10 | 6.95 × 103 (+) | 7.72 × 103 (+) | 6.39 × 103 (+) | 3.34 × 104 (−) | 1.35 × 104 |
| F11 | 1.46 × 104 (−) | 2.59 × 104 (−) | 1.55 × 104 (−) | 3.35 × 104 (−) | 1.45 × 104 |
| F12 | 1.20 × 103 (−) | 1.20 × 103 (−) | 1.20 × 103 (−) | 1.20 × 103 (−) | 5.00 × 10−1 |
| F13 | 1.30 × 103 (−) | 1.30 × 103 (−) | 1.30 × 103 (−) | 1.31 × 103 (−) | 5.06 × 10−1 |
| F14 | 1.40 × 103 (−) | 1.40 × 103 (−) | 1.40 × 103 (−) | 2.85 × 103 (−) | 3.39 × 10−1 |
| F15 | 1.57 × 103 (−) | 1.60 × 103 (−) | 1.59 × 103 (−) | 3.76 × 108 (−) | 6.15 × 101 |
| F16 | 1.64 × 103 (−) | 1.65 × 103 (−) | 1.65 × 103 (−) | 1.65 × 103 (−) | 4.51 × 101 |
| F17 | 1.02 × 107 (−) | 2.60 × 107 (−) | 3.09 × 107 (−) | 1.75 × 109 (−) | 1.04 × 104 |
| F18 | 3.39 × 103 (−) | 2.05 × 105 (−) | 7.17 × 105 (−) | 5.87 × 1010 (−) | 3.08 × 103 |
| F19 | 2.07 × 103 (−) | 2.09 × 103 (−) | 2.08 × 103 (−) | 1.53 × 104 (−) | 5.68 × 101 |
| F20 | 5.55 × 104 (+) | 6.70 × 104 (+) | 5.23 × 104 (+) | 2.18 × 107 (−) | 9.39 × 104 |
| F21 | 5.45 × 106 (−) | 1.23 × 107 (−) | 1.04 × 107 (−) | 9.19 × 108 (−) | 1.11 × 104 |
| F22 | 4.38 × 103 (−) | 4.78 × 103 (−) | 4.65 × 103 (−) | 7.40 × 105 (−) | 2.14 × 103 |
| F23 | 2.66 × 103 (−) | 2.66 × 103 (−) | 2.66 × 103 (−) | 9.78 × 103 (−) | 3.45 × 102 |
| F24 | 2.80 × 103 (−) | 2.80 × 103 (−) | 2.79 × 103 (−) | 4.13 × 103 (−) | 4.20 × 102 |
| F25 | 2.77 × 103 (−) | 2.80 × 103 (−) | 2.79 × 103 (−) | 3.99 × 103 (−) | 2.03 × 102 |
| F26 | 2.80 × 103 (−) | 2.81 × 103 (−) | 2.81 × 103 (−) | 3.87 × 103 (−) | 1.01 × 102 |
| F27 | 4.77 × 103 (−) | 5.12 × 103 (−) | 5.22 × 103 (−) | 7.85 × 103 (−) | 1.29 × 103 |
| F28 | 7.10 × 103 (−) | 9.87 × 103 (−) | 1.05 × 104 (−) | 2.91 × 104 (−) | 5.48 × 102 |
| F29 | 7.45 × 103 (−) | 1.40 × 104 (−) | 6.93 × 103 (−) | 3.04 × 109 (−) | 2.50 × 102 |
| F30 | 8.06 × 104 (−) | 1.61 × 105 (−) | 2.04 × 105 (−) | 1.80 × 108 (−) | 2.51 × 103 |
| + | 4 | 4 | 4 | 0 | |
| – | 26 | 26 | 26 | 30 | |
| ≈ | 0 | 0 | 0 | 0 |
| Algorithm | Best | Mean | Worst | FES |
|---|---|---|---|---|
| ABC [53] | 6059.714 | 6245.308 | NA | 30,000 |
| CVI-PSO [71] | 6059.714 | 6292.123 | 6820.41 | 25,000 |
| BA [72] | 6059.714 | 6179.13 | 6318.95 | 20,000 |
| TLBO [73] | 6059.714 | 6059.714 | NA | 20,000 |
| PVS [70] | 6059.714 | 6065.877 | 6090.526 | 20,000 |
| SDPSO | 5885.902 | 5906.450 | 6069.794 | 20,000 |
| Algorithm | Best | Mean | Worst | FES |
|---|---|---|---|---|
| DEC-PSO [64] | 6059.714 | 6060.33 | 6090.526 | 300,000 |
| CPSO [65] | 6061.0777 | 6147.1332 | 6363.8041 | 240,000 |
| HPSO [66] | 6059.7143 | 6099.9323 | 6288.6770 | 81,000 |
| BIANCA [67] | 6059.938 | 6182.002 | 6447.325 | 80,000 |
| FFA [68] | 6059.714 | 6064.33 | 6090.52 | 50,000 |
| PSO-DE [69] | 6059.714 | 6059.714 | 6059.714 | 42,100 |
| PVS [70] | 6059.714 | 6063.643 | 6090.526 | 42,100 |
| SDPSO | 5885.378 | 5885.881 | 5886.373 | 42,100 |
| Algorithm | Best | Mean | Worst | FES |
|---|---|---|---|---|
| SCM [75] | 2994.744241 | 3001.758264 | 3009.964736 | 54,456 |
| AATM [76] | 2994.516778 | 2994.585417 | 2994.659797 | 40,000 |
| DELC [77] | 2994.471066 | 2994.471066 | 2994.471066 | 30,000 |
| MVDE [78] | 2994.471066 | 2994.471066 | 2994.471069 | 30,000 |
| PVS [70] | 2994.471066 | 2994.472059 | 2994.477593 | 30,000 |
| SDPSO | 2994.471067 | 2994.471081 | 2994.471166 | 30,000 |
| Algorithm | Best | Mean | Worst | FES |
|---|---|---|---|---|
| ABC [53] | 0.012665 | 0.012709 | NA | 30,000 |
| CVI-PSO [71] | 0.012666 | 0.012731 | 0.012843 | 25,000 |
| BA [72] | 0.012665 | 0.013501 | 0.016895 | 20,000 |
| PVS [70] | 0.012665 | 0.012666 | 0.012667 | 20,000 |
| TLBO [73] | 0.012665 | 0.012666 | NA | 20,000 |
| SDPSO | 0.012665 | 0.012703 | 0.013187 | 20,000 |
| Algorithm | Best | Mean | Worst | FES |
|---|---|---|---|---|
| CPSO [65] | 0.012674 | 0.012730 | 0.012924 | 240,000 |
| HPSO [66] | 0.012665 | 0.012707 | 0.012719 | 81,000 |
| NM–PSO [74] | 0.012630 | 0.012631 | 0.012633 | 80,000 |
| BIANCA [67] | 0.012671 | 0.012681 | 0.012913 | 80,000 |
| FFA [68] | 0.012665 | 0.012677 | 0.013000 | 50,000 |
| PSO-DE [69] | 0.012665 | 0.012665 | 0.012665 | 42,100 |
| PVS [70] | 0.012665 | 0.012665 | 0.012665 | 42,100 |
| SDPSO | 0.012665 | 0.012665 | 0.012668 | 42,100 |
| Algorithm | Best | Mean | Worst | FES |
|---|---|---|---|---|
| SCM [75] | 2.3854347 | 3.2551371 | 6.3996785 | 33,095 |
| ARSAGA [79] | NA | 2.25 | NA | 26,466 |
| DSS-MDE [80] | 2.38095658 | 2.38095658 | 2.38095658 | 24,000 |
| RAER [81] | 2.38117 | 2.38117 | 2.3812 | 18,467 |
| SDPSO | 2.381017466 | 2.412894742 | 2.888707 | 33,000 |
| Algorithm | Best | Mean | Worst | FES |
|---|---|---|---|---|
| SCM [75] | 263.8958465 | 263.9033567 | 263.9697564 | 17,610 |
| PSO-DE [69] | 263.8958434 | 263.8958434 | 263.8958434 | 17,600 |
| AATM [76] | 263.8958435 | 263.8966 | 263.90041 | 17,000 |
| DSS-MDE [80] | 263.8958434 | 263.8958436 | 263.8958498 | 15,000 |
| MVDE [78] | 263.8958434 | 263.8958434 | 263.8958548 | 7,000 |
| SDPSO | 263.8958435 | 263.8966668 | 263.9023268 | 15,000 |
| Fun | Functions | Domain | Best |
|---|---|---|---|
| f1 | (−10, 10) | −78.3323 | |
| f2 | (−10, 10) | 0 | |
| f3 | (−10, 10) | 0 | |
| f4 | (−2.048, 2.048) | 0 | |
| f5 | (−1, 1) | 0 | |
| f6 | (−10, 10) | 0 | |
| f7 | (−3, 3) | 0 |
| F | c1 = 0.1 | c1 = 0.2 | c1 = 0.3 | c1 = 0.4 | c1 = 0.5 | c1 = 0.6 | c1 = 0.7 | c1 = 0.8 | c1 = 0.9 | c1 = 1 |
|---|---|---|---|---|---|---|---|---|---|---|
| f1 | 2.4~4.0/40 | 2.6~4.0/40 | 2.5~4.0/30 | 2.5~4.0/30 | 2.2~3.9/20 | 0.9~3.8/70 | 1.1~3.8/50 | 1.0~3.4/90 | 1.0~3.2/90 | 1.1~3.2/60 |
| f2 | 0.1~4.0/1 | 0.1~4.0/1 | 0.1~4.0/1 | 0.1~4.0/1 | 0.1~4.0/1 | 0.1~4.0/1 | 0.1~4.0/1 | 0.1~4.0/1 | 0.1~4.0/1 | 0.1~4.0/1 |
| f3 | 0.1~4.0/1 | 0.1~4.0/1 | 0.1~4.0/1 | 0.1~4.0/1 | 0.1~4.0/1 | 0.1~4.0/1 | 0.1~4.0/1 | 0.1~4.0/1 | 0.1~4.0/1 | 0.1~4.0/1 |
| f4 | 0.1~4.0/10 | 0.1~4.0/10 | 0.1~4.0/10 | 0.2~4.0/10 | 0.2~4.0/10 | 0.2~4.0/10 | 0.2~4.0/10 | 0.2~4.0/10 | 0.3~4.0/10 | 0.2~4.0/10 |
| f5 | 0.1~4.0/1 | 0.1~4.0/1 | 0.1~4.0/1 | 0.1~4.0/1 | 0.1~4.0/1 | 0.1~4.0/1 | 0.1~4.0/1 | 0.1~4.0/1 | 0.1~4.0/1 | 0.1~4.0/1 |
| f6 | 0.2~4.0/1 | 0.1~4.0/1 | 0.1~4.0/1 | 0.1~4.0/1 | 0.1~4.0/1 | 0.1~4.0/1 | 0.1~4.0/1 | 0.1~4.0/1 | 0.1~4.0/1 | 0.1~4.0/1 |
| f7 | 0.1~4.0/1 | 0.1~4.0/1 | 0.1~4.0/1 | 0.1~4.0/1 | 0.1~4.0/1 | 0.1~4.0/1 | 0.1~4.0/1 | 0.1~4.0/1 | 0.1~4.0/1 | 0.1~4.0/1 |
| F | c1 = 1.1 | c1 = 1.2 | c1 = 1.3 | c1 = 1.4 | c1 = 1.5 | c1 = 1.6 | c1 = 1.7 | c1 = 1.8 | c1 = 1.9 | c1 = 2 |
|---|---|---|---|---|---|---|---|---|---|---|
| f1 | 1.1~3.1/90 | 1.0~2.7/50 | 1.0~2.8/80 | 1.1~2.7/80 | 1.1~2.5/100 | 1.1~2.3/120 | 1.1~2.1/180 | 1.1~2.1/210 | 1.0~2.0/430 | 1.0~2.0/370 |
| f2 | 0.1~4.0/1 | 0.1~4.0/1 | 0.1~4.0/1 | 0.1~4.0/1 | 0.1~4.0/1 | 0.1~4.0/1 | 0.1~4.0/1 | 0.1~4.0/1 | 0.1~3.9/1 | 0.1~3.5/1 |
| f3 | 0.1~4.0/1 | 0.1~4.0/1 | 0.1~4.0/1 | 0.1~4.0/1 | 0.1~4.0/1 | 0.1~4.0/1 | 0.1~4.0/1 | 0.1~4.0/1 | 0.1~3.9/1 | 0.1~3.8/1 |
| f4 | 0.3~4.0/10 | 0.3~4.0/10 | 0.3~4.0/10 | 0.3~3.9/10 | 0.3~3.9/10 | 0.3~3.7/10 | 0.3~3.5/10 | 0.3~3.2/10 | 0.3~3.0/10 | 0.3~3.0/10 |
| f5 | 0.1~4.0/1 | 0.1~4.0/1 | 0.1~4.0/1 | 0.1~4.0/1 | 0.1~4.0/1 | 0.1~4.0/1 | 0.1~4.0/1 | 0.1~4.0/1 | 0.1~3.9/1 | 0.1~3.8/1 |
| f6 | 0.1~4.0/1 | 0.1~4.0/1 | 0.1~4.0/1 | 0.1~4.0/1 | 0.1~4.0/1 | 0.1~4.0/1 | 0.1~4.0/1 | 0.1~4.0/1 | 0.1~4.0/1 | 0.1~4.0/1 |
| f7 | 0.1~4.0/1 | 0.1~4.0/1 | 0.1~4.0/1 | 0.1~4.0/1 | 0.1~4.0/1 | 0.1~4.0/1 | 0.1~4.0/1 | 0.1~3.9/1 | 0.1~3.8/1 | 0.1~3.7/1 |
Publisher’s Note: MDPI stays neutral with regard to jurisdictional claims in published maps and institutional affiliations. |
© 2021 by the authors. Licensee MDPI, Basel, Switzerland. This article is an open access article distributed under the terms and conditions of the Creative Commons Attribution (CC BY) license (http://creativecommons.org/licenses/by/4.0/).
Share and Cite
Miao, K.; Feng, Q.; Kuang, W. Particle Swarm Optimization Combined with Inertia-Free Velocity and Direction Search. Electronics 2021, 10, 597. https://doi.org/10.3390/electronics10050597
Miao K, Feng Q, Kuang W. Particle Swarm Optimization Combined with Inertia-Free Velocity and Direction Search. Electronics. 2021; 10(5):597. https://doi.org/10.3390/electronics10050597
Chicago/Turabian StyleMiao, Kun, Qian Feng, and Wei Kuang. 2021. "Particle Swarm Optimization Combined with Inertia-Free Velocity and Direction Search" Electronics 10, no. 5: 597. https://doi.org/10.3390/electronics10050597
APA StyleMiao, K., Feng, Q., & Kuang, W. (2021). Particle Swarm Optimization Combined with Inertia-Free Velocity and Direction Search. Electronics, 10(5), 597. https://doi.org/10.3390/electronics10050597
