Next Article in Journal
Decipherment Challenges Due to Tamga and Letter Mix-Ups in an Old Hungarian Runic Inscription from the Altai Mountains
Previous Article in Journal
Ghost on the Windshield: Employing a Virtual Human Character to Communicate Pedestrian Acknowledgement and Vehicle Intention
 
 
Font Type:
Arial Georgia Verdana
Font Size:
Aa Aa Aa
Line Spacing:
Column Width:
Background:
Article

A Time-Varying Incentive Optimization for Interactive Demand Response Based on Two-Step Clustering

1
Market Service Center, State Grid Hebei Electric Power Co., Ltd., Shijiazhuang 050022, China
2
School of Electrical and Electronic Engineering, North China Electric Power University, Beijing 102206, China
*
Author to whom correspondence should be addressed.
Information 2022, 13(9), 421; https://doi.org/10.3390/info13090421
Submission received: 7 July 2022 / Revised: 31 August 2022 / Accepted: 2 September 2022 / Published: 7 September 2022
(This article belongs to the Special Issue Cyber–Physical–Social System for Sustainable Energy)

Abstract

:
With the increasing marketization of electricity, residential users are gradually participating in various businesses of power utility companies, and there are more and more interactive adjustments between load, source, and grid. However, the participation of large-scale users has also brought challenges to the grid companies in carrying out demand-side dispatching work. The user load response is uneven, and users’ behavioral characteristics are highly differentiated. It is necessary to consider the differences in users’ electricity consumption demand in the design of the peak–valley load time-sharing incentives, and to adopt a more flexible incentive form. In this context, this paper first establishes a comprehensive clustering method integrating k-means and self-organizing networks (SONs) for the two-step clustering and a BP neural network for reverse adjustment and correction. Then, a time-varying incentive optimization for interactive demand response based on two-step clustering is introduced. Furthermore, based on the different clustering results of customers, the peak–valley load time-sharing incentives are formulated. The proposed method is validated through case studies, where the results indicate that our method can effectively improve the users’ load characteristics and reduce the users’ electricity costs compared to the existing methods.

1. Introduction

With its important role in stabilizing the power grid, demand response [1,2] refers to users’ active adjustment from their conventional energy consumption patterns in response to incentive measures from energy suppliers. Recently, with the power utility companies putting more emphasis on the interactive response from the user side, customer satisfaction, and personal service systems, the demand response mechanism has been changed. On the one hand, residential users are served by power utility companies. On the other hand, residential users also test the applicability of power utility companies’ services. The source–grid–load interaction is further enhanced [3,4].
Presently, the development of frequent interaction between users and power utility companies has led to higher requirements for the precise classification of users [5]. However, with the continuous enrichment of power data collection, the power consumption data on the user side increases exponentially, and the power demand is diversified [6]. In this context, more and more countries combine their power systems with digitization in order to mine the value of massive user data, so as to provide users with more reasonable demand response incentive policies and improve user satisfaction. Therefore, it is extremely important to use the power of big data mining technology to conduct multidimensional analysis on the users’ electricity consumption behavior, which not only helps to grasp the basic characteristics of the users’ electricity consumption behavior, and achieves accurate segmentation of electricity users, but is also helpful for further research on the optimization method of the demand response strategy, reducing the cost of demand response, and ensuring effective interaction between the power grid and users.
In the energy system, aggregators can quickly analyze the characteristics of users’ load and adjustable potential according to the users’ household load information after receiving the big data on the residential users’ power. Residential users are divided into different categories according to the differences in their electricity consumption behavior, and corresponding optimization control strategies are formulated for each category of users. The aggregator sends the relevant optimization control strategy to the home energy management system on the user side. Users can adjust their electricity consumption behavior according to their actual situation to enable demand response participation. The user demand response information interaction flow diagram is shown in Figure 1.
With the continuous development of the Energy Internet, the ability of users’ interaction and response is increasingly enhanced, imposing higher requirements for the division of peak and valley periods based on user demand response and the determination of peak and valley time-varying incentives. In particular, the determination of incentives in peak and valley periods needs to consider two aspects: (I) users’ load characteristics, corresponding to users’ electricity consumption activities, and (II) the adjustable potential of the user, corresponding to the user’s electricity consumption attitude. To formulate corresponding strategies, we must proceed from the real-life electricity consumption patterns.
Considering the existing research, there are blanks in the case of uneven user load response and serious differentiation of user behavior characteristics. The existing clustering methods do not have high clustering accuracy and good generalization ability in the actual situation, where the user’s electricity consumption is complex. Existing demand response strategies are relatively simple. There is an urgent need to study differentiated and interactive demand response strategies, customize peak–valley time-sharing incentives for different user clusters, effectively reduce demand response costs, and enable interactive adjustment of load, source, and network.
In summary, this paper presents an interactive demand response strategy based on two-step clustering, first extracting and analyzing customers’ electricity consumption characteristics by using a two-step clustering method, and then proposing a demand response strategy optimization method that takes into account the clustering of electricity consumption behavior and customizes time-varying incentives. The specific contributions are as follows:
  • In order to solve the problem of poor clustering under the complex electricity consumption situation of users in the existing research, we constructed a two-step clustering model based on the principle of reverse regulation. Our method can improve the poor clustering results of previous research that only adopted the first step of clustering based on a k-means clustering algorithm or the second step f clustering based on self-organizing competitive neural networks.
  • In order to solve the problem that the single demand response strategy in the existing research is unable to effectively interact with the user side, we propose an interactive demand response optimization strategy based on two-step clustering. According to the clustering results of resident users, the peak and valley periods are determined by the primary class, and the peak–valley load time-sharing incentives are customized by the secondary subclass.
  • The improved NSGA-II algorithm is used to solve the multi-objective peak–valley load time-sharing incentive model, which solves the problem that the existing research does not consider the difference of user power demand, and effectively improves the load characteristics of residential users through flexible incentive forms.

2. Related Work

The accurate segmentation of power users should be supported by big data [7], user-centric [8], and use clustering algorithms [9], which is the most widely used and most effective research method in the process of user electricity consumption behavior analysis, and is the basis for users to participate in demand response.
For the research on accurate segmentation of power users, an efficient and energy-saving ELDCA algorithm was proposed in ref. [10], which constructed optimal load-balancing clustering at each internal intersection of grid cells based on clustering fitness values. A power load behavior identification method was proposed in ref. [11], which provides reliable distribution network maintenance guarantees for residential power load on the basis of classification and identification. In ref. [12], the SON input layer was defined as the input of the complete dataset, and through the analysis of differentiated data by a clustering algorithm, the ideal clustering effect was obtained. In order to extract typical daily load curves of load clustering, a k-shaped algorithm based on the similarity criterion of shape was applied, and the load amplitude constraint was introduced [13]. Some studies have tried to implement autoencoder-based clustering that automatically converts smart meter data into more clustering-friendly representations that can retain the original data characteristics [14]. Ref. [15] proposed a method that first encodes an arbitrary load into an embedding centroid vector, and then carries out clustering based on the embedding. In order to link the objectives of forecasting and clustering via a feedback mechanism to return the goodness of fit as the criterion for the clustering, ref. [16] attempted to integrate the hierarchical structure and the forecasting model using a novel closed-loop clustering (CLC) algorithm.
In terms of the research on residential users’ participation in the demand response of TOU price, considering the characteristics of residents’ load operation, and aiming at the optimal benefit of electricity companies, researchers established a day-ahead market game decision model and proposed a distributed parallel game solution algorithm to solve the iterative problem of large-scale residents’ load game [17]. By constructing the response characteristic model of users to TOU price, it was proven that the implementation of TOU price policy is conducive to reducing the peak–valley difference and improving load stability [18]. The diversified needs of users, the degree of satisfaction, and the implementation characteristics of automatic demand response are fully considered in ref. [19]. According to the overall price response capability of consumer psychology, a unified user response model considering the time-shift ability of different load types was established, and the response model was modified according to the satisfaction of users [20]. In ref. [21], a real-time integral package was proposed, where a negative integral was adopted in peak periods and a positive integral was adopted in valley periods to guide users to actively participate in peak shaving and valley filling. One investigation studied the public perceptions of and willingness to participate in urban energy demand response through a questionnaire survey. The results suggest that income level, behaviors, and external motivation factors are the key factors that determine public willingness to participate [22]. In ref. [23], a two-step settlement mode was adopted for the dynamic pricing, to ensure that there was no increased expenditure of residents compared with the existing price. Ref. [24] proposed a game-theory-based demand response program that merges the incentive- and price-based DRP concepts, with a focus on the residential, commercial, and industrial sectors.
In summary, domestic and foreign studies on user-side demand response have achieved fruitful results. However, on the one hand, with the normalization trend of home offices and online learning, the power consumption behavior of residential users has become more flexible and difficult to predict. On the other hand, with the more diversified electrical equipment of residential users, the uncertainty of power load increases, so the question of how to mobilize users to participate in demand response actively and effectively is of great significance. In addition, although the effect of load control is fast and accurate, the communication and infrastructure requirements are high, which is not conducive to privacy protection. Large-scale promotion is more difficult. Therefore, there is an urgent need to carry out research on interactive and differentiated demand response strategies.

3. A Two-Step Clustering Model Based on the Analysis of Consumer Behavior

In this section, we introduce the basic framework of user behavior, and propose a two-step clustering model based on the analysis of consumer behavior.

3.1. Analysis of Power Consumption Behavior of Users

There are differences in the electricity consumption behavior and electricity consumption attitudes of different users. Electricity consumption behavior can be measured by smart meters and other equipment, reflecting the load characteristics of power users; electricity consumption attitudes are not easily measured or observed directly in the mindset, reflecting the regulation potential of the users. In the current big data context, it is important to conduct in-depth mining and analysis of customers’ electricity consumption behavior and explore their regulation potential.
Electricity consumption behavior is jointly determined by the behavioral subject, behavioral environment, behavioral measures, and behavioral outcomes. Behavioral subjects refer to the users themselves. The behavioral environment refers to the non-self factors that affect the electricity consumption behavior of users, such as meteorological factors, holiday factors, etc. Behavioral measures refer to the means by which users implement their electricity consumption behavior, including electric vehicles, air conditioners, etc. Behavioral outcomes refer to the final load curve generated by the user after a series of electricity consumption behaviors.
In this study, to analyze the basic characteristics of users’ electricity consumption behavior, four points were examined according to the concept and component of users’ electricity consumption behavior: subjectivity, predictability, uncertainty, and high-dimensional complexity. These features are also the basis for user behavior analysis. A typical user’s electricity consumption behavior architecture is shown in Figure 2.
Subjectivity means that the customer actively accepts the power supply from the energy system and actively changes their electricity consumption behavior according to the actual situation, including package changes of the external environment, changes of family members, encountering unexpected conditions, etc. Predictability means that the user’s electricity consumption behavior follows a certain internal law. Uncertainty refers to the users’ random electricity consumption behavior due to random events or the model deviation caused by incomplete analysis of user electricity consumption behavior. High-dimensional complexity means that the user behavior model is affected by many factors, cannot be represented by a fixed function expression, and has a non-analytic and nonlinear relationship.
Through the analysis of users’ electricity consumption behavior, we fully considered the impact of users’ attitudes on the segmentation of users’ electricity consumption behavior and demand response strategies, in addition to considering the users’ activities. This analysis was divided into self-influencing factors, climate influence factors, and social influence factors. Self-influencing factors include the user’s gender, age, Internet access, Internet access frequency, number of rooms, housing, etc.; climate factors include daily maximum temperature, daily minimum temperature, daily average temperature, daily average humidity, daily wind level, etc.; social factors include the user’s social class, occupation, salary, family size, family income, and family expenditure.

3.2. Two-Step Clustering Model

Based on the first step of clustering of the user’s daily load and the second step of clustering of the user’s basic data, our model uses a BP neural network to reverse the adjustment and correction of the comprehensive clustering results, in order to adjust the output of the second step of clustering to the results of the first step of clustering in a flexible form through the self-adaptive learning ability and nonlinear mapping ability of the BP neural network. Through the function of the feedback mechanism, the error caused by the insufficient information is corrected by using sufficient information, and the user load characteristics are correlated with the adjustable potential, which can enable accurate classification considering the multidimensional influencing factors of the users’ electricity consumption behavior. The two-step clustering model is shown in Figure 3.
Moreover, electricity consumption is an explicit behavior that can be measured or perceived by sensors such as smart meters, so we can use users’ daily load data to reflect it. Attitudes on electricity consumption (including whether to accept the demand response, etc.) are implicit behaviors, such as thinking patterns and attitudes, which are not easy to directly observe. We can use a user’s basic dataset to reflect the user’s electricity consumption attitude. Through the in-depth analysis of the user’s daily load and basic data, we can comprehensively reflect the user’s electricity load characteristics and adjustment potential, and then provide guidance and support for subsequent research on demand response strategies.
The first step is to classify the daily load dataset through K clusters with the same electricity consumption. The basic steps of the procedure are indicated as follows:
Randomly select K power users’ electricity load characteristics as the initialized centroids.
The cluster assignment consists of minimizing the sum of the squared objective function, which is defined as follows:
J ( C ) = min m = 1 K x c m u m n d 2 ( c m , x n )
where u m n = 1 indicates that user n belongs to class m while u m n = 0 indicates that they do not; d ( c m , x n ) is the intra-cluster distance, c m is the cluster centroid, and x n is the user’s dataset.
The Calinski–Harabasz index (CHI) is used to recalculate the cluster centroid c m based on the current cluster members.
c m = n = 1 N u m n x n n = 1 N u m n
Repeatedly executing step 3 until convergence, the Calinski–Harabasz index is used to find the optimal value of K for the user’s dataset. S S B and V R C k are used to measure the separation of the clusters.
S S B = i = 1 k n i m i m 2
S S W = i = 1 k x c i x m i 2
V R C k = S S B S S W × N K K 1
where c i is i th cluster; n i is the number of points within cluster c i ; x represents the data points of cluster c i ; and m i is the centroid of cluster c i . When the value of V R C k decreases, separation increases, which indicates the clustering quality.
The second step is using a self-organizing competitive neural network to adjust the user’s adjustable potential, and to identify the user clusters with the same electricity consumption patterns. The basic steps of the procedure are indicated as follows:
The input vector of the SON, which is the principal component X after PCA reducing the dimensionality of the dataset, is normalized with the synaptic weight vector W j ( j = 1 , 2 , , m ) of each neuron in the competition layer to obtain X .
When the network receives the input data X , W j ( j = 1 , 2 , , m ) in the competition layer is compared with X , and the one with the greatest similarity with W j ( j = 1 , 2 , , m ) is determined as the winning neuron, denoted as W j * . The measure of similarity is determined by the Euclidean distance method (or the cosine of the included angle).
X W j = min j { 1 , 2 , , m } { X W j }
X W j = ( X W j ) T ( X W j ) = 2 ( 1 W j T X )
W j T X = max j { 1 , 2 , , m } ( W j T X )
The weight vector W j * of the wining neuron is adjusted in accordance with the following function:
{ W j ( t + 1 ) = W j ( t ) + α ( X W j ) W j * ( t + 1 ) = W j * ( t ) j j *
where α is the learning rate, which shrinks over time, and α ( 0 , 1 ] .
The above steps are iterated until the value of α is less than 0 or a threshold value.
Finally, based on the principle of reverse correction, the second step’s clustering result is used as the training dataset of the BP neural network to reversely correct the primary clustering result. The two-step clustering process is then repeated to obtain clusters corresponding to the user’s electricity consumption behavior.

4. Interactive Response Strategy

In this section, we propose a user-side interactive response strategy based on two-step clustering of users’ electricity consumption behavior to customize time-varying incentives.
The comprehensive clustering method, which combines k-means and an SON for two-step clustering, along with a BP neural network for reverse adjustment and correction, is as previously discussed. Considering the influence of users’ electricity consumption activities and attitudes toward electricity consumption on the demand response optimization strategy, residential users are subdivided into primary classes and secondary subclasses. The peak and trough load periods are determined by the primary class, and the peak–valley load time-varying incentive is customized by the secondary subclasses.
The user-side interaction response strategy process is illustrated in Figure 4. The multi-objective peak–trough load incentive model takes the minimum electricity cost of the user and the peak–trough load difference of the equivalent load as the objective functions, and employs the improved NSGA-II multi-objective optimization algorithm to solve them. Through the above methods, the enthusiasm of various users’ participation in demand response is improved, the adjustment potential of various users is fully tapped, and the load characteristics of various users are improved.

4.1. Residential Load Modeling

By analyzing the daily electricity consumption of residential users, it was concluded that the user’s load is mainly based on their basic non-dispatchable load, dispatchable load, electric vehicle (EV) load, and energy storage device load. Other load types are not considered in this paper. Therefore, the total load of the user is as follows:
l n ( t ) = l n B ( t ) + l n A ( t ) + l n P ( t ) + l n S ( t )
where l n ( t ) is the total load at t of the user n; l n B ( t ) is the basic non-dispatchable load at t of the user n; l n A ( t ) is the dispatchable load at t of the user n; l n P ( t ) is the electric vehicle (EV) load at t of the user n; and l n S ( t ) is the energy storage device load at t of the user n.
The basic non-dispatchable load of residential users belongs to the daily fixed load. For example, a rigid demand load such as a refrigerator satisfies l n B ( t ) = l n min ( t ) , where l n min ( t ) is the minimum load demand at t of the user n.
The dispatchable load of residential users refers to the partial load that can be dispatched frequently. For example, with washing machines, rice cookers, dishwashers, dehumidifiers, sweeping robots, etc., the usage period and power can be adjusted. The formulation can be expressed as follows:
t = 1 T l n A ( t ) = s n A
0 l n A ( t ) l n max ( t ) , n
where s n A is the total amount of partial loads that can be scheduled frequently. In daily life, its maximum value is l n max ( t ) .
The constraints of the electric vehicle load model for residential users are as follows:
l n P ( t ) = l n P + ( t ) μ c + μ d l n P ( t )
When l n P ( t ) 0 , l n P + ( t ) = l n P ( t ) .
When l n P ( t ) < 0 , l n P ( t ) = l n P ( t ) , and have:
t = t n a r t n d e p 1 l n P ( t ) = S n Q S n P
r n min l n P ( t ) r n max
0 S n P + t = t n a r t 0 l n P ( t ) E n , t 0 = t n a r , t n a r + 1 , , t n d e p 1
where μ d is the discharge efficiency of electric vehicles; μ c is the charging efficiency of electric vehicles; l n P + ( t ) represents the energy changes when charging electric vehicles; l n P ( t ) represents the energy changes when electric vehicles are discharged; r n min and r n max are the minimum and maximum hourly energy change, respectively; t n a r and t n d e p are the time needed for the electric car to return home and start from home, respectively; S n P and S n Q are the remaining power at time t n a r and the electric vehicle power at time t n d e p , respectively; and E n is the maximum capacity for electric vehicles.
The constraints on the load of residential energy storage devices are as follows:
d n ( t ) = d n ( t 1 ) + e n S ( t )
When l n S ( t ) 0 , e n S ( t ) = l n S ( t ) μ s .
When l n P ( t ) < 0 , e n S ( t ) = l n S ( t ) μ s , and have:
c n max l n S ( t ) c n max
d n ( 0 ) = d k 0
0 < d n ( t ) < d n max
where μ s is the energy storage device’s charge and discharge efficiency; c n max is the maximum value of the charge and discharge capacity of the energy storage device; d n ( t ) is the remaining power of the energy storage device at time t; d n ( t 1 ) is the remaining power of the energy storage device at time t − 1; e n S ( t ) represents the difference between d n ( t ) and d n ( t 1 ) ; d k 0 is the initial battery value; and d n ( t ) is less than the maximum capacity d n max .

4.2. Multi-Objective Peak–Valley Time-Varying Incentive Optimization Strategy Based on Two-Step Clustering

The assumptions of the multi-objective peak–valley time-varying incentive optimization strategy are as follows:
  • The peak–trough load period is based on the user’s daily electricity consumption, which can reflect the load characteristics of the power user, and the user can participate in the peak–trough load time-varying incentive response by adjusting the usage of household appliances.
  • The impact of peak–trough load incentives on the total daily electricity consumption of residents within a certain range is almost negligible, so the default total user load before the electricity price of peak–trough load period optimization is consistent with the total load after peak–trough load incentive optimization.
In order to take full account of the activities and attitudes related to the electricity consumption of power users under the influence of the external environment—that is, to take into account the load characteristics and regulation potential of power users—in the fourth part, a comprehensive clustering method was designed, combining k-means and the SON to carry out secondary clustering with a BP neural network to carry out reverse adjustment correction, where the residential users are grouped into k clusters (called primary classes). Each class is subdivided into two subclasses (referred to as secondary subclasses), with k1 indicating stronger and k2 weaker regulatory potential. From the primary k class, it can be determined that the peak and trough load periods of time-varying incentives for users’ classes are Tkf and Tkg, respectively. From the secondary subclasses, it can be determined that the peak and trough load time-varying incentives of subclass k1 are p k 1 f and p k 1 g , respectively, while the peak and trough load time-varying incentives of subclass k2 are p k 2 f and p k 2 g , respectively.
The objective of the users’ peak–trough load time-varying incentive optimization strategy is to minimize the users’ electricity consumption costs and the differences between peak and trough load periods. Therefore, the functions for minimizing electricity consumption costs for users with strong and weak regulatory potential are shown in Equations (10) and (11), respectively:
F 11 = min P n = t T k f l n f ( t ) p k 1 f + t T k g l n g ( t ) p k 1 g
F 12 = min P n = t T k f l n f ( t ) p k 2 f + t T k g l n g ( t ) p k 2 g
where Pn is the electricity consumption cost of the user n, while l n f ( t ) and l n g ( t ) are the responded loads to the peak and trough load periods, respectively, after the implementation of the incentive policy.
The function for minimizing the difference between user n’s peak and trough load periods is shown in Equation (12):
F 2 = min [ max l n ( t ) min l n ( t ) ]
where l n ( t ) is the total load of user n in time period t.
The peak–trough incentive optimization model was constructed with constraints considering the users’ total load, the peak–trough load electricity price ratio, and the electricity price at each time period.
The total load of users after implementing the time-varying incentive policy should satisfy the following constraint, which remains unchanged:
t T l n 0 ( t ) = t T f l n f ( t ) + t T g l n g ( t )
where l n 0 ( t ) is the original total load of user n in each time period, while l n f ( t ) and l n g ( t ) are the load in the peak and trough load time periods, respectively, after implementing the incentive policy.
Constraints (14) and (15) limit the peak–trough load electricity price ratio. For the peak–trough load electricity price ratio, adopting the peak–valley time-varying incentive policy within a certain threshold helps reduce the peak load. When the peak–trough load electricity price ratio exceeds the threshold range, the original peak–trough load time period is reversed, causing a burden on the grid’s operation. Therefore, it is necessary to satisfy the following constraints:
α p k 1 f p k 1 g β
α p k 2 f p k 2 g β
where α is the minimum peak load electricity price ratio, while β is the maximum peak load electricity price ratio. According to the current standard peak–valley time-of-use tariff, we set α = 2 , β = 5 .
Constraints (16)–(19) limit the incentive policies:
p f min p k 1 f p f max
p g min p k 1 g p g max
p f min p k 2 f p f max
p g min p k 2 g p g max
where p f min and p f max are the minimum and maximum incentive of the peak load time period, respectively, while p g min and p g max are the minimum and maximum incentive of the trough load time period, respectively.

4.3. Improved NSGA-II Multi-Objective Optimization Algorithm

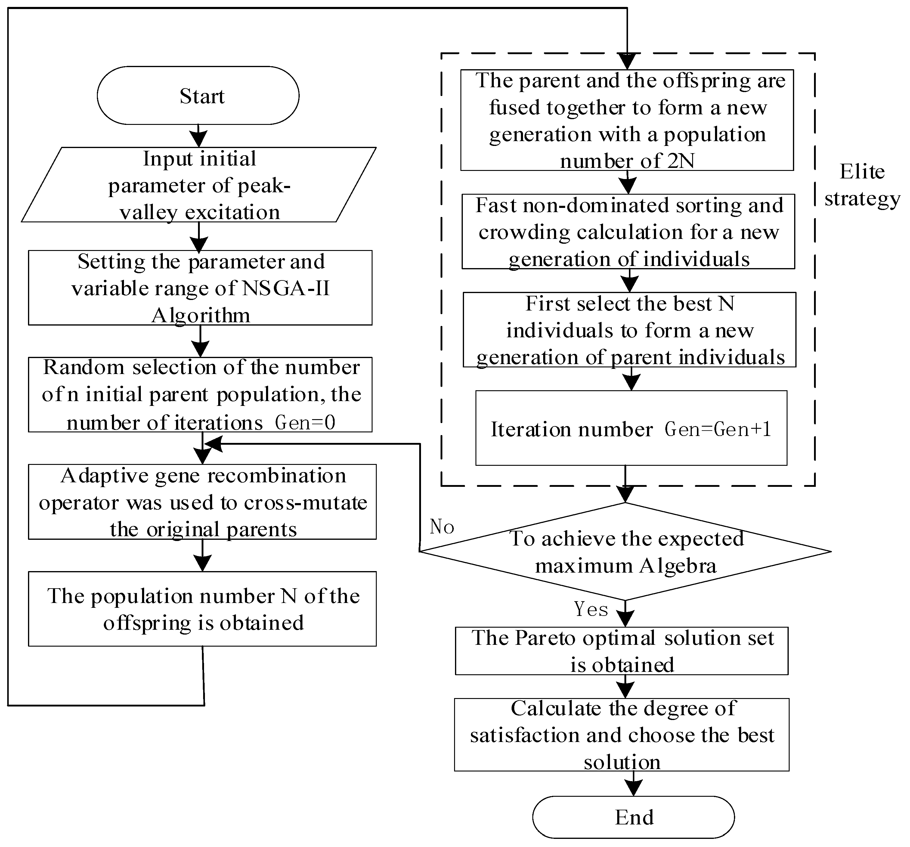
At present, the NSGA-II algorithm is often used to find the optimal solution for multiple objective functions [25]; it is composed of simulated binary crossover (SBX) and polynomial mutation (PM) combined with a single-gene genetic recombination operator to produce the next generation [26,27]. Because the single-gene recombination operator is unpredictable in solving mathematical problems, the search rate and solution accuracy are reduced. Therefore, we introduced the combinations of SBX with PM, order crossover (OX) and PM, parent-centric crossover (PCX) and PM, and simplex crossover (SPX) and PM into the crossover mutation algorithm. The next generations generated based on SBX and OX are distributed with the parent generation as the central axis, while those generated based on PCX and SPX are distributed in all directions, with the parent generation as the center.
In the optimization iteration process of the algorithm, the selection probability of the gene recombination operator is iteratively updated to utilize the advantages of each recombination operator in different periods as much as possible. Therefore, a feedback route map of the gene recombination operator, as shown in Figure 5, was established to improve the NSGA-II algorithm.
Assuming that only one gene recombination operator performs crossover mutation at a time, the probability of each gene recombination operator satisfies the following data expression:
X = { X 1 , X 2 , , X O } , X i ( 0 , 1 )
where i is the genetic recombination operator and O is the number of genetic recombination operators. At the beginning of the algorithm, we set X i = 1 O . At each iteration, the probability of the genetic recombination operator is periodically updated as follows:
X i = C i + τ i = 1 O ( C i + τ )
where Ci is the number of successful offspring produced by i, while τ is a constant in order to avoid the loss of the genetic recombination operator in the iterative process. We set τ = 1 .
The improved NSGA-II algorithm performing multi-objective optimization is composed of the steps as shown in Figure 6.

5. Performance Validation

In this section, we present simulation experiments to test the effectiveness of the proposed clustering method and demand response optimization strategy.

5.1. Experimental Environment and Data Introduction

We selected the measured user load data and the basic user dataset of Irish smart meters as the research object [28], and the simulations were carried out using MATLAB R2019a.
For residential users, according to the differences in electricity consumption activities and attitudes toward electricity consumption of each user, users with similar electricity consumption behaviors can be classified into the same class. In order to improve the enthusiasm of users to participate in demand response, we customized corresponding incentive strategies for each type of residential user. This paper presents a two-step clustering analysis based on the reverse correction principle, which divides the 48 households selected in this paper into four primary classes, as shown in Figure 7a–d. Each primary class is further divided into two secondary subclasses based on the basic user information dataset, and finally achieves the distinction between two secondary subclasses with fixed and random user behavior characteristics. The first class (Figure 7a) contains 12 users, mainly with basic unschedulable loads. The second class (Figure 7b) contains 12 users, and most of them are typical unimodal users, who are mainly based on the basic load and have a certain schedulable load. The third class (Figure 7c) contains 11 users, and most of them are typical bimodal users, who are characterized by insignificant differences between the bimodalities. The electricity consumption characteristics of the third class entail higher loads at noon and at night, and they are mainly electric vehicle users. The fourth class (Figure 7d) contains 13 users, most of whom are typical bimodal users, characterized by unstable daily load data, high total electricity consumption, and large power fluctuations. The difference between the fourth class and the third class of bimodal users is that the bimodal difference is obvious. The electricity consumption characteristics of the fourth class of users entail a higher load during the day, and most of these users have energy storage devices. Analyzing the basic information of users, we found that the fourth class of users are mainly freelancers who work at home, as well as housewives.
It should be noted that according to the analysis of the clustering results, the daily load data of users in the first class are relatively stable; their total electricity consumption is low, and their power fluctuation is small. No time-varying incentives were formulated for this class of users.
According to the typical load distribution diagram of each user class, the peak and trough load periods of TOU price for each user category were determined as follows:
The peak and trough load periods of TOU price for users of the second class: peak load periods are 9:00–11:00 and 16:00–20:00; trough load periods are 0:00–9:00, 11:00–16:00, and 20:00–24:00.
The peak and trough load periods of TOU price for users of the third class: peak load periods are 10:00–13:00 and 18:00–24:00; trough load periods are 0:00–9:00 and 13:00–19:00.
The peak and trough load periods of TOU price for users of the fourth class: peak load period is 9:00–22:00; trough load periods are 0:00–9:00 and 22:00–24:00.
Based on the basic user dataset, each primary class was divided into two secondary subclasses, so as to distinguish the two secondary subclasses with fixed and random user behavior characteristics. The users of the second, third, and fourth classes, along with their secondary subclasses, were taken as the analysis objects for simulation analysis. The load characteristics of each type of user are shown in Table 1.

5.2. Experimental Results

The advantages of the interactive demand response strategy based on two-step clustering were compared and analyzed through the following two cases. The specific case is as follows:
Case A: K-means clustering is performed for users based on load data only, without considering multidimensional influencing factors of users’ electricity consumption behavior, and then the multi-objective peak–trough load time-varying incentive is solved.
Case B: The two-step clustering method based on the reverse regulation principle proposed in this paper is used to subdivide users, and the multi-objective peak–trough load time-varying incentive is solved for each subclass.
A residential user was randomly selected from the dataset of this paper. Figure 8 shows the comparison of the load curve of the user under the two cases. Compared with the user’s original load curve, the load values of Case 1 and 2 fall back during the peak load period and rise in the trough load period, and the overall load curve tends to be gentle compared with the original load curve. Among the cases, Case 2 has the stronger load stability and more obvious optimization effect, proving the effectiveness of the method proposed in this paper and the necessity of considering the multidimensional influencing factors of users’ electricity consumption behavior. Table 2 compares the electricity consumption costs to the user under the two cases. Case 1 saves CNY 1.79, while Case 2 saves CNY 2.28. It should be noted that in order to verify the advantages of the demand response strategy proposed in this paper, we conducted a comparative analysis of the relative values. The absolute values of the actual situation varied according to the different user groups. Therefore, it can be concluded that Case 2 takes into account the two objective functions and has better optimization performance.
The improved NSGA-II algorithm proposed in this paper was used to solve the multi-objective peak–trough load time-varying incentive optimization model. The parameters were as follows: population size N = 100; variation rate of 0.1, crossover rate of 0.9, and maximum genetic algebra of 100. According to the algorithm flow described in Section 4.2, the simulation calculation was carried out to develop time-varying incentives for all types of users, and the peak–valley optimization incentive is shown in Table 3.
When the peak–valley time-varying incentive policy is formulated for various users, the incentive value is negative in the peak load period and positive in the trough load period, so as to encourage users to reduce their power consumption in peak load periods and increase there electricity consumption during trough load period.
Table 4 shows the daily average peak–trough load difference and electricity consumption costs of various users after the implementation of the peak–trough load time-varying incentive optimization strategy. Compared with the data in Table 1, it can be concluded that after the implementation of time-varying incentives, the daily average peak–valley load difference of various users decreased, while the adjustable potential increased. In addition, the daily power consumption costs of various users also decreased. The average cost savings of subclass 1 and subclass 2 of the second parent category were CNY 1.28 and 1.42, respectively; the average cost savings of subclass 1 of the third class was CNY 1.91, while that of subclass 2 was CNY 1.79; The average cost savings of subclass 1 of the fourth class were CNY 2.46 with and those of subclass 2 were CNY 2.89.

6. Conclusions

The construction of smart grids is leading the traditional electric power industry to develop in the direction of intelligence, digitalization, and automation. The interaction between power users and power utility companies is becoming more and more frequent, imposing higher requirements for the accurate classification of users and the interaction of user demand response. In this paper, a demand response optimization strategy based on two-step clustering is proposed, and the validity and practicability of the strategy proposed in this paper are verified by taking the refined classification of electricity consumption behavior of residents in Ireland as an example. The main contributions of this paper are as follows:
  • A two-step clustering model based on the principle of reverse regulation was adopted to improve the poor clustering results of the first step clustering based on k-means clustering algorithm and the second clustering based on self-organizing competitive neural networks, as well as to improve the clustering quality and clustering accuracy.
  • By customizing the peak–valley time-varying incentives for different types of residential users, and using the improved NSGA-II algorithm to solve the model, the goal of saving users’ electricity consumption costs and reducing the peak–trough differences in the grid’s power load was realized.
This paper verifies the effectiveness of the demand response optimization strategy based on two-step clustering through simulation, but is limited by data and technology; the following aspects still need to be further studied:
  • This paper does not consider the differences in the electricity consumption behavior of users in different countries and regions. In the future, the demand response optimization strategy proposed in this paper should be applied to more measured datasets to analyze the applicability of this method.
  • In the follow-up, the non-cooperative game problems formed by power suppliers formulating different sales strategies for different types of residential users will be further analyzed, and the game equilibrium of the power market will be further studied.

Author Contributions

Conceptualization, F.L. and Y.M.; methodology, B.G.; software, L.S.; validation, H.S. and H.W.; formal analysis, P.T.; writing—original draft preparation, F.L. and Y.M.; writing—review and editing, Y.Z.; supervision, Y.M. All authors have read and agreed to the published version of the manuscript.

Funding

This research was funded by the Research on Key Technologies of Environmental Protection Enterprise Monitoring and Precise Governance under State Grid Hebei Electric Power Co., Ltd.: SGHEYX00SCJS2100192.

Data Availability Statement

The data used in this study are available from the authors upon readers request.

Conflicts of Interest

The authors declare no conflict of interest.

References

  1. Xu, S.; Chen, X.; Xie, J.; Rahman, S.; Wang, J.; Hui, H.; Chen, T. Agent-based modeling and simulation for the electricity market with residential demand response. CSEE J. Power Energy Syst. 2021, 7, 368–380. [Google Scholar] [CrossRef]
  2. Zhao, Y.; Lin, Z.; Wen, F.; Ding, Y.; Hou, J.; Yang, L. Risk-Constrained Day-Ahead Scheduling for Concentrating Solar Power Plants with Demand Response Using Info-Gap Theory. IEEE Trans. Ind. Inform. 2019, 15, 5475–5488. [Google Scholar] [CrossRef]
  3. Zhou, B.; Cao, Y.; Li, C.; Wu, Q.; Liu, N.; Huang, S.; Wang, H. Many-criteria optimality of coordinated demand response with heterogeneous households. Energy 2020, 207, 118267. [Google Scholar] [CrossRef]
  4. Mazidi, M.; Monsef, H.; Siano, P. Robust day-ahead scheduling of smart distribution networks considering demand response programs. Appl. Energy 2016, 178, 929–942. [Google Scholar] [CrossRef]
  5. Yantai, H.; Lei, W.; Weian, G. Chance Constrained Optimization in a Home Energy Management System. Smart Grid. IEEE Trans. Smart Grid 2017, 9, 252–260. [Google Scholar]
  6. Mahesh Kumar, K.; Rama Mohan Reddy, A. An efficient k -means clustering filtering algorithm using density based initial cluster centers. Inf. Sci. 2017, 418–419, 286–301. [Google Scholar] [CrossRef]
  7. Shiyu, Z.; Shaoyun, G. User Power Interaction Behavior Clustering Analysis That is Based on the Self-Organizing-Center K-Means Algorithm. IEEE Access 2019, 7, 175879–175888. [Google Scholar]
  8. Wang, Y.; Qiu, J.; Tao, Y.; Zhao, J. Carbon-Oriented Operational Planning in Coupled Electricity and Emission Trading Markets. IEEE Trans. Power Syst. 2020, 35, 3145–3157. [Google Scholar] [CrossRef]
  9. Qi, Z.; Haolin, L.; Xinying, W. Analysis of users’ electricity consumption behavior based on ensemble clustering. Glob. Energy Interconnect. 2019, 2, 480–489. [Google Scholar]
  10. Sivaraj, C.; Alphonse, P.; Janakiraman, T. Energy-efficient and Load Distributed Clustering Algorithm for Dense Wireless Sensor Networks. Int. J. Intell. Syst. Appl. 2017, 9, 34–42. [Google Scholar]
  11. Baoyi, W.; Jin, L.; Shaomin, Z. Study of Residential Power Load Patterns Based on Clustering and Deep Belief Network. J. Netw. Comput. Appl. 2017, 2, 7–13. [Google Scholar]
  12. Aida Hosseini, B.; Vahid, N.; Mohammad-Ali, K. Conjunction of wavelet-entropy and SOM clustering for multi-GCM statistical downscaling. Hydrol. Res. 2019, 50, 1–23. [Google Scholar]
  13. Zhang, X.; Han, Z.; Cai, J.; Jin, Z.; Yang, Q. Research on scheduling strategy of heterogeneous flexible load clusters with strong association consider dual-scale similarities. Int. J. Electr. Power Energy Syst. 2022, 141, 108201. [Google Scholar] [CrossRef]
  14. Eskandarnia, E.; Al-Ammal, H.M.; Ksantini, R. An Embedded Deep-Clustering-Based Load Profiling Framework. Sustain. Cities Soc. 2021, 78, 103618. [Google Scholar] [CrossRef]
  15. Xu, R. Efficient clustering for aggregate loads: An unsupervised pretraining based method. Energy 2020, 210, 118617. [Google Scholar]
  16. Li, K.; Cao, X.; Ge, X.; Wang, F.; Lu, X.; Shi, M.; Yin, R.; Mi, Z.; Chang, S. Meta-Heuristic Optimization-Based Two-Stage Residential Load Pattern Clustering Approach Considering Intra-Cluster Compactness and Inter-Cluster Separation. IEEE Trans. Ind. Appl. 2020, 56, 3375–3384. [Google Scholar] [CrossRef]
  17. Mohandes, B.; Moursi, M.; Hatziargyriou, N.; El Khatib, S. Incentive based Demand Response Program for Power System Flexibility Enhancement. Smart Grid. IEEE Trans. Smart Grid 2020, 12, 2212–2223. [Google Scholar] [CrossRef]
  18. He, Y.; Chen, F.; Jiao, Z.; Guang, F.; Gao, X.; He, Q. Research on user demand response under time-of-use tariff policy based on Sigmoid function. In E3S Web of Conferences; EDP Sciences: Les Ulis, France, 2018; pp. 489–492. [Google Scholar]
  19. Pallonetto, F.; de Rosa, M.; D’Ettorre, F.; Finn, D.P. On the assessment and control optimisation of demand response programs in residential buildings. Renew. Sustain. Energy Rev. 2020, 127, 109861. [Google Scholar] [CrossRef]
  20. Man, Y.; Yuzhen, Z.; Zhe, Y. The Time-of-Use Price of Electric Vehicle Charging and Discharging based on Monte Carlo Algorithm. In Proceedings of the 2018 International Conference on Big Data and Artificial Intelligence (ICBDAI 2018), Ningbo, China, 21–23 December 2018; Francis Academic Press: London, UK, 2018; pp. 76–83. [Google Scholar]
  21. Zhu, Y.; Liang, Z.; Su, H.; Wang, Y.; Wang, W. Research on Peak-Valley TOU Price Based on Demand Side Response. IOP Conf. Ser. Earth Environ. Sci. 2018, 199, 032048. [Google Scholar] [CrossRef]
  22. Wang, B.; Cai, Q.; Sun, Z. Determinants of Willingness to Participate in Urban Incentive-Based Energy Demand-Side Response: An Empirical Micro-Data Analysis. Energy Convers. Perform. Sustain. Dev. 2020, 12, 8052. [Google Scholar] [CrossRef]
  23. Chen, L.; Yang, Y.; Xu, Q. Retail dynamic pricing strategy design considering the fluctuations in day-ahead market using integrated demand response. Int. J. Electr. Power Energy Syst. 2021, 130, 106983. [Google Scholar] [CrossRef]
  24. Goudarzi, A.; Li, Y.; Fahad, S.; Xiang, J. A game theory-based interactive demand response for handling dynamic prices in security-constrained electricity markets. Sustain. Cities Soc. 2021, 72, 103073. [Google Scholar] [CrossRef]
  25. David, F.; Bruce, S.; Alexander, F. Modeling the Effects of Variable Tariffs on Domestic Electric Load Profiles by Use of Occupant Behavior Submodels. IEEE Trans. Smart Grid 2017, 8, 2685–2693. [Google Scholar]
  26. Wei, H.; Liang, J.; Li, C.; Zhang, Y. Real-time Locally Optimal Schedule for Electric Vehicle Load via Diversity-maximization NSGA-II. J. Mod. Power Syst. Clean Energy 2021, 9, 940–950. [Google Scholar] [CrossRef]
  27. Li, B.; Li, C.; Cui, X.; Lai, X.; Ren, J.; He, Q. A Disassembly Sequence Planning Method with Team-Based Genetic Algorithm for Equipment Maintenance in Hydropower Station. IEEE Access 2020, 8, 47538–47555. [Google Scholar] [CrossRef]
  28. Irish Social Science Data Archive. Commission for Energy Regulation (CER) Smart Metering Project. 2012. Available online: http://www.ucd.ie/issda/data/commissionforenergyregulationcer/ (accessed on 12 November 2012).
Figure 1. User demand response information interaction flow diagram.
Figure 1. User demand response information interaction flow diagram.
Information 13 00421 g001
Figure 2. Framework of consumer power consumption behavior.
Figure 2. Framework of consumer power consumption behavior.
Information 13 00421 g002
Figure 3. Two-step clustering model based on the reverse correction principle.
Figure 3. Two-step clustering model based on the reverse correction principle.
Information 13 00421 g003
Figure 4. Interactive response strategy of time-varying excitation based on power consumption characteristics.
Figure 4. Interactive response strategy of time-varying excitation based on power consumption characteristics.
Information 13 00421 g004
Figure 5. Feedback roadmap of the gene recombination operator.
Figure 5. Feedback roadmap of the gene recombination operator.
Information 13 00421 g005
Figure 6. Flowchart of the improved NSGA-II multi-objective optimization algorithm.
Figure 6. Flowchart of the improved NSGA-II multi-objective optimization algorithm.
Information 13 00421 g006
Figure 7. Results of two-step clustering based on the inverse correction principle. (a) The first class. (b) The second class. (c) The third class. (d) The fourth class.
Figure 7. Results of two-step clustering based on the inverse correction principle. (a) The first class. (b) The second class. (c) The third class. (d) The fourth class.
Information 13 00421 g007
Figure 8. Comparison of load curves of a user under two demand response scenarios.
Figure 8. Comparison of load curves of a user under two demand response scenarios.
Information 13 00421 g008
Table 1. Analysis of the load characteristics of various kinds of users.
Table 1. Analysis of the load characteristics of various kinds of users.
User CategoryDaily Average Load/kWhDaily Mean Difference between Peak and Valley/kWhTypical Load
The second classSubclass115.142.16Schedulable load
Subclass215.282.25
The third classSubclass121.542.87EV
Subclass220.293.12
The fourth classSubclass130.983.71Energy storage device
Subclass233.214.19
Table 2. Comparison of electricity consumption costs to a customer under the two demand response cases.
Table 2. Comparison of electricity consumption costs to a customer under the two demand response cases.
CaseAverage Cost before Optimization/CNYOptimized Average Cost/CNYCost Saving/CNY
Case A14.1312.341.79
Case B14.1311.852.28
Table 3. Optimized incentives for all types of users.
Table 3. Optimized incentives for all types of users.
User CategoryPeak-Hour Excitation/(CNY/kWh)Valley-Hour Excitation/(CNY/kWh)
The second classSubclass1−0.231+0.128
Subclass2−0.252+0.136
The third classSubclass1−0.202+0.141
Subclass2−0.211+0.147
The fourth classSubclass1−0.133+0.064
Subclass2−0.168+0.088
Table 4. Average daily peak–valley difference and power costs before and after the implementation of the strategy.
Table 4. Average daily peak–valley difference and power costs before and after the implementation of the strategy.
User CategoryDaily Mean Difference between Peak and Valley/kWhAverage Cost before Optimization/CNYOptimized Average Cost/CNYCost Saving/CNY
The second classSubclass11.277.265.981.28
Subclass21.317.345.921.42
The third classSubclass11.3310.348.431.91
Subclass21.399.747.951.79
The fourth classSubclass11.8914.8712.412.46
Rubclass21.7215.9413.052.89
Publisher’s Note: MDPI stays neutral with regard to jurisdictional claims in published maps and institutional affiliations.

Share and Cite

MDPI and ACS Style

Li, F.; Gao, B.; Shi, L.; Shen, H.; Tao, P.; Wang, H.; Mao, Y.; Zhao, Y. A Time-Varying Incentive Optimization for Interactive Demand Response Based on Two-Step Clustering. Information 2022, 13, 421. https://doi.org/10.3390/info13090421

AMA Style

Li F, Gao B, Shi L, Shen H, Tao P, Wang H, Mao Y, Zhao Y. A Time-Varying Incentive Optimization for Interactive Demand Response Based on Two-Step Clustering. Information. 2022; 13(9):421. https://doi.org/10.3390/info13090421

Chicago/Turabian Style

Li, Fei, Bo Gao, Lun Shi, Hongtao Shen, Peng Tao, Hongxi Wang, Yehua Mao, and Yiyi Zhao. 2022. "A Time-Varying Incentive Optimization for Interactive Demand Response Based on Two-Step Clustering" Information 13, no. 9: 421. https://doi.org/10.3390/info13090421

APA Style

Li, F., Gao, B., Shi, L., Shen, H., Tao, P., Wang, H., Mao, Y., & Zhao, Y. (2022). A Time-Varying Incentive Optimization for Interactive Demand Response Based on Two-Step Clustering. Information, 13(9), 421. https://doi.org/10.3390/info13090421

Note that from the first issue of 2016, this journal uses article numbers instead of page numbers. See further details here.

Article Metrics

Back to TopTop