Investigation on Dynamic Behaviors of Ship Propulsion Shafting with Misalignment Based on Stochastic Uncertainty Models
Abstract
1. Introduction
2. Establishment Method of Stochastic Uncertainty Model
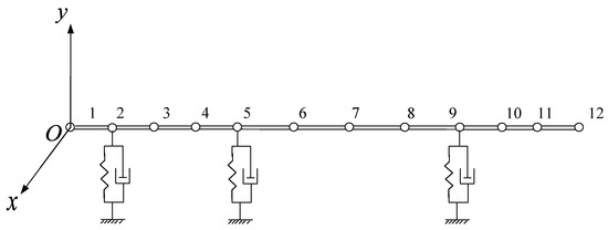
2.1. Dynamic Equation Under Misalignment
2.1.1. Dynamic Equation
2.1.2. Calculation of Misalignment Force
2.2. Introduction of Uncertainties
2.2.1. Data Uncertainty and Model Uncertainty
2.2.2. Excitation Uncertainty
2.2.3. Newmark-β Numerical Solution
3. Experimental System for Ship Propulsion Shafting
3.1. Test Bench
3.2. Shafting Model
4. Numerical and Experimental Investigation on Dynamic Behaviors
4.1. Numerical Study
4.1.1. Simulation Settings
4.1.2. Analysis of Numerical Results
4.2. Experimental Study
4.2.1. Experimental Setup
- Experimental design: To obtain the dynamic behaviors of shafting with misalignment under stochastic uncertainty, the aft stern bearing height is set to 2 mm. Then, the uncertainty caused by hull deformation is determined by adjusting the front stern bearing height. The height fluctuation range of the front stern bearing is set to Δh1 = ±0 mm, Δh2 = ±0.05 mm, Δh3 = ±0.1 mm. Therefore, the above three groups of stochastic uncertainty experiments are conducted on the test bench. The rotating speed is set to 150 rpm, and the running time of each group of experiments is set to 10 min to maintain a stable operation.
- Dynamic response measurements: To measure the dynamic behaviors of the shafting with misalignment in the horizontal (X direction) and vertical (Y direction) directions, two CZF/BZF eddy current displacement sensors are installed near the aft stern bearing as shown in Figure 10. A data acquisition system (model: Ni pxle-1071) is used to collect the displacement signal from the eddy current displacement sensor. The sampling frequency is 1024 Hz, and the sampling time is 120 s.
4.2.2. Analysis of Experimental Results
5. Conclusions
Author Contributions
Funding
Institutional Review Board Statement
Informed Consent Statement
Data Availability Statement
Acknowledgments
Conflicts of Interest
References
- ABS. Guidance Notes on Propulsion Shafting Alignment; American Bureau of Shipping: Houston, TX, USA, 2019; pp. 11–12.
- Feng, G.Q.; Zhou, B.Z.; Lin, L.J.; Han, Q.K. Transverse vibration measurement and analysis of a three-Point supported dual-span rotor system with angle misaligned flexible coupling. Adv. Mater. Res. 2011, 301, 790–796. [Google Scholar] [CrossRef]
- Jin, Y.; Liu, Z.; Yang, Y.; Li, F.; Chen, Y. Nonlinear vibrations of a dual-rotor-bearing-coupling misalignment system with blade-casing rubbing. J. Sound Vib. 2021, 497, 115948. [Google Scholar] [CrossRef]
- Xu, M.; Marangoni, R. Vibration analysis of a motor-flexible coupling-rotor system subject to misalignment and unbalance-part I: Theoretical model and analysis. J. Sound Vib. 1994, 176, 663–679. [Google Scholar] [CrossRef]
- Saavedra, P.; Ramirez, D. Vibration analysis of rotors for the identification of shaft misalignment-part II: Experimental validation. Proc. Inst. Mech. Eng. Part C J. Mech. Eng. Sci. 2004, 218, 987–999. [Google Scholar] [CrossRef]
- Al-Hussain, K. Dynamic stability of two rigid rotors connected by a flexible coupling with angular misalignment. J. Sound Vib. 2003, 266, 217–234. [Google Scholar] [CrossRef]
- Lees, A. Misalignment in rigidly coupled rotors. J. Sound Vib. 2007, 305, 261–271. [Google Scholar] [CrossRef]
- Fu, C.; Sinou, J.; Zhu, W.; Lu, K.; Yang, Y. A state-of-the-art review on uncertainty analysis of rotor systems. Mech. Syst. Signal Process. 2022, 198, 67–76. [Google Scholar] [CrossRef]
- Hu, X.; Wei, X.; Zhang, H.; Xie, W.; Zhang, Q. Composite anti-disturbance dynamic positioning of vessels with modelling uncertainties and disturbances. Appl. Ocean. Res. 2020, 105, 102404. [Google Scholar] [CrossRef]
- Zhang, Z.; Ma, X.; Hua, H.; Liang, X. Nonlinear stochastic dynamics of a rub-impact rotor system with probabilistic uncertainties. Nonlinear Dyn. 2020, 102, 2229–2246. [Google Scholar] [CrossRef]
- Soize, C. A nonparametric model of random uncertainties for reduced matrix models in structural dynamics. Probabilistic Eng. Mech. 2000, 15, 277–294. [Google Scholar] [CrossRef]
- He, X.; Li, G.; Xing, P.; Lu, L.; Gao, H.; Zhang, H.; Wang, G. Experimental and numerical investigation on dynamic characteristics of ship propulsion shafting under uncertainty based on displacement response. Ocean. Eng. 2021, 237, 0029–8018. [Google Scholar] [CrossRef]
- Murthy, R.; Mignolet, M.; El-Shafei, A. Nonparametric stochastic modeling of uncertainty in rotordynamics-part I: Formulation. J. Eng. Gas Turbines Power 2010, 132, 881–899. [Google Scholar] [CrossRef]
- Murthy, R.; Mignolet, M.; El-Shafei, A. Nonparametric stochastic modeling of uncertainty in rotordynamics-part II: Applications. J. Eng. Gas Turbines Power 2010, 132, 92502. [Google Scholar] [CrossRef]
- Papanikolaou, A.; Mohammed, E.; Hirdaris, S. Stochastic uncertainty modelling for ship design loads and operational guidance. Ocean. Eng. 2014, 86, 47–57. [Google Scholar] [CrossRef]
- Guedes Soares, C. Effect of spectral shape uncertainty in the short term wave-induced ship responses. Appl. Ocean. Res. 1990, 12, 54–69. [Google Scholar] [CrossRef]
- Nelson, H.; Mcvaugh, J. The dynamics of rotor-bearing systems using finite elements. Trans. Am. Soc. Mech. Eng. J. Eng. Ind. 1976, 98, 593–600. [Google Scholar] [CrossRef]
- Nelson, H.; Meacham, W.; Fleming, D.; Kascak, A.F. Nonlinear analysis of rotor-bearing systems using component mode synthesis. J. Mech. Des. 1983, 102, 352–359. [Google Scholar] [CrossRef]
- Han, Q.; Zhang, Z.; Wen, B. Periodic motions of a dual-disc rotor system with rub-impact at fixed limiter. Proc. Inst. Mech. Eng. Part C J. Mech. Eng. Sci. 2008, 222, 1935–1946. [Google Scholar] [CrossRef]
- Volpi, L.; Ritto, T. Probabilistic model for non-proportional damping in structural dynamics. J. Sound Vib. 2021, 506, 116145. [Google Scholar] [CrossRef]
- Huang, W.; Gan, C. Bifurcation analysis and vibration signal identification for a motorized spindle with random uncertainty. Int. J. Bifurc. Chaos 2019, 29, 1950001. [Google Scholar] [CrossRef]
- Taflanidis, A.; Vetter, C.; Loukogeorgaki, E. Impact of modeling and excitation uncertainties on operational and structural reliability of tension leg platforms. Appl. Ocean. Res. 2013, 43, 131–147. [Google Scholar] [CrossRef]
- Gan, C.; Guo, S.; Lei, H.; Yang, S.-X. Random uncertainty modeling and vibration analysis of a straight pipe conveying fluid. Nonlinear Dyn. 2014, 77, 503–519. [Google Scholar] [CrossRef]
- Deng, J.; Xie, W.; Pandey, M. Stochastic stability of a fractional viscoelastic column under bounded noise excitation. J. Sound Vib. 2014, 333, 1629–1643. [Google Scholar] [CrossRef]
- Shinozuka, M.; Janc, M. Digital simulation of random processes and its applications. J. Sound Vib. 1972, 25, 111–128. [Google Scholar] [CrossRef]
- Liu, Y.; Dou, J.; Wen, B. Identification technique of misalignment-rubbing coupling fault in dual-disk rotor system supported by rolling bearing. J. Vibro Eng. 2015, 17, 287–299. [Google Scholar]
- Han, Q.; Yao, H.; Wen, B. Parameter identifications for a rotor system based on its finite element model and with varying speeds. Acta Mech. Sin. 2010, 26, 299–303. [Google Scholar] [CrossRef]
- Filippi, M.; Carrera, E. Stability and transient analyses of asymmetric rotors on anisotropic supports. J. Sound Vib. 2021, 500, 116006. [Google Scholar] [CrossRef]













| Geometric Dimension Parameters | Numerical Value | Unit |
|---|---|---|
| Shaft radius: r | 21.5 | mm |
| Shaft length: L | 3100 | mm |
| Length of intermediate bearing: L | 100 | mm |
| Length of front stern bearing: L2 | 100 | mm |
| Length of aft stern bearing: L3 | 300 | mm |
| Counterweight disc radius: R | 250 | mm |
| Counterweight disc mass: M | 15~35 | kg |
| Shaft mass: m | 35 | kg |
| Beam Elements Number | Length/mm |
|---|---|
| 1 | 210 |
| 2 | 350 |
| 3 | 200 |
| 4 | 330 |
| 5 | 500 |
| 6 | 520 |
| 7 | 500 |
| 8 | 500 |
| 9 | 240 |
| 10 | 240 |
| 11 | 240 |
| Parameters | Values | Unit |
|---|---|---|
| Rotational speed of shaft: V | 150 | rpm |
| Misalignment angle: α | 1/30 | rad |
| Polar moment of inertia of the shafting: IR | 0.06 | kg·m2 |
| Modulus of elasticity: E | 2.11 × 1011 | Pa |
| Density of shaft: | 7850 | kg/m3 |
| Unbalanced mass: mu | 6 × 10−4 | kg |
| Eccentricity of shaft: e | 1 × 10−6 | m |
| Constant: f0 | 1 | / |
| Divergence control parameter of mass matrix: | 0.01 | / |
| Divergence control parameter of damping matrix: | 0.01 | / |
| Divergence control parameter of gyroscopic moment matrix: | 0.01 | / |
| Divergence control parameter of stiffness matrix: | 0.01 | / |
Disclaimer/Publisher’s Note: The statements, opinions and data contained in all publications are solely those of the individual author(s) and contributor(s) and not of MDPI and/or the editor(s). MDPI and/or the editor(s) disclaim responsibility for any injury to people or property resulting from any ideas, methods, instructions or products referred to in the content. |
© 2024 by the authors. Licensee MDPI, Basel, Switzerland. This article is an open access article distributed under the terms and conditions of the Creative Commons Attribution (CC BY) license (https://creativecommons.org/licenses/by/4.0/).
Share and Cite
Xing, P.; Zhao, F.; He, X.; Li, G. Investigation on Dynamic Behaviors of Ship Propulsion Shafting with Misalignment Based on Stochastic Uncertainty Models. J. Mar. Sci. Eng. 2024, 12, 1927. https://doi.org/10.3390/jmse12111927
Xing P, Zhao F, He X, Li G. Investigation on Dynamic Behaviors of Ship Propulsion Shafting with Misalignment Based on Stochastic Uncertainty Models. Journal of Marine Science and Engineering. 2024; 12(11):1927. https://doi.org/10.3390/jmse12111927
Chicago/Turabian StyleXing, Pengfei, Feng Zhao, Xiaoliang He, and Guobin Li. 2024. "Investigation on Dynamic Behaviors of Ship Propulsion Shafting with Misalignment Based on Stochastic Uncertainty Models" Journal of Marine Science and Engineering 12, no. 11: 1927. https://doi.org/10.3390/jmse12111927
APA StyleXing, P., Zhao, F., He, X., & Li, G. (2024). Investigation on Dynamic Behaviors of Ship Propulsion Shafting with Misalignment Based on Stochastic Uncertainty Models. Journal of Marine Science and Engineering, 12(11), 1927. https://doi.org/10.3390/jmse12111927

