Design and Experimentation of a Longitudinal Axial Flow Sunflower Oil Threshing Device
Abstract
:1. Introduction
2. Machine and Methods
2.1. Overall Structure
2.2. Working Principle
2.3. Structural Design of the Threshing Device
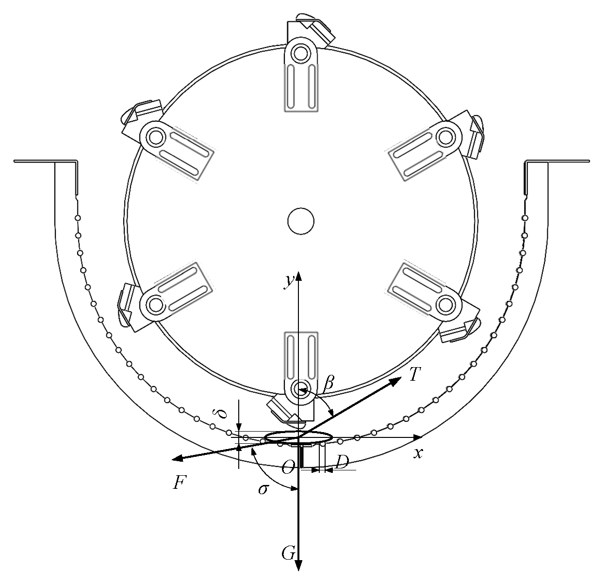
2.3.1. Parameter Design of the Threshing Drum
2.3.2. Threshing Element Selection and Placement
2.3.3. Design of the Circular Tube Concave Screen
2.3.4. Guide Screw Design
2.4. Field Experiment
2.4.1. Experimental Arrangement
2.4.2. Data Collection and Processing
3. Results and Discussion
3.1. Single Factor Test Analysis
3.1.1. Influence of Threshing Gap on Threshing Effect
3.1.2. Influence of Drum Speed on Threshing Effect
3.1.3. Influence of the Feed Amount on the Threshing Effect
3.2. Response Surface Experiment Analysis
3.2.1. Test Design
3.2.2. Test Results
3.2.3. Parameter Optimization and Experimental Verification
4. Discussion
4.1. Effect of Threshing Gap on Grain Loss Rate and Grain Mass Ratio of Undersize
4.2. Effect of the Drum Speed on the Grain Mass Ratio of Undersize Material
4.3. Effects of the Feed Amount on the Grain Mass Ratio of Undersize Material
5. Conclusions
- (1)
- Aiming at the problems of high seed loss rate and high impurity content in the sunflower oil threshing process, a longitudinal axial flow sunflower oil threshing device was designed. A rasp bar-type threshing drum was used to reduce the collision and impact of the threshing element on the sunflower oil plate, and a circular tube-type gravure screen was designed to reduce the breakage caused by collision between the sunflower plate and the grid plate during threshing.
- (2)
- The effects of the threshing gap, drum speed, and feed amount on the threshing effect were investigated using a single-factor test. The results showed that the optimal threshing gap range was 15~20 mm, the optimal drum speed range was 150~250 r/min, and the optimal feed amount range was 2.6~3.2 kg/s.
- (3)
- Multi-objective optimization of the grain loss rate and grain mass ratio of undersize material was performed by the Box-Behnken test, and the results showed that the optimal parameter combination was as follows: the threshing gap was 24.903 mm, the drum speed was 244.138 r/min, and the feed amount was 2.948 kg/s. The difference between the validation result and the predicted value was less than 3%.
Author Contributions
Funding
Institutional Review Board Statement
Informed Consent Statement
Data Availability Statement
Conflicts of Interest
References
- Guo, S.C.; LI, S.P.; Sun, R.F. Analysis of the overall situation of sunflower industry development in t world and China. Chin. Seed. Ind. 2021, 7, 10–13. [Google Scholar]
- Zong, W.Y.; Liu, Y.; Huang, X.M.; Ma, L.N.; Tang, S.P. Present situation and developmental strategies for sunflower mechanized harvest in China. Acta Agric. Univ. Jiangxiensis 2017, 39, 600–606. [Google Scholar]
- Liu, W.; Huang, X.M.; Ma, L.N.; Zong, W.Y.; Zhu, Y.F. Design and experiment of special header of oil sunflower combine harvester. Trans. Chin. Soc. Agric. Mach. 2020, 51, 83–88. [Google Scholar]
- Jin, W.; Ding, Y.C.; Bai, S.H.; Zhang, X.J.; Yan, J.S.; Zhou, X.C. Design and experiments of the reel board header device for an oil sunflower harvester. Trans. Chin. Soc. Agric. Eng. 2021, 37, 27–36. [Google Scholar]
- Ma, S.T.; Zhang, X.J.; Zhu, X.L.; Yu, M.J.; Liu, Y.; Zhang, Y.H.; Zhang, H.T. Design of threshing device of oil sunflower combined harvester. Gansu Agric. Univ. 2021, 56, 176–181. [Google Scholar]
- Zhang, X.J.; Li, Q.; Zhu, X.L.; Ma, S.T. Rotational speed control of threshing cylinder of oil sunflower combine harvester based on active disturbance rejection controller-dynamic matrix predictive. Trans. Chin. Soc. Agric. Eng. 2019, 35, 9–16. [Google Scholar]
- Zhan, G.; Ma, L.; Zong, W.; Liu, W.; Deng, D.; Lian, G. Study on the Vibration Characteristics of Rape Plants Based on High-Speed Photography and Image Recognition. Agriculture 2022, 12, 727. [Google Scholar] [CrossRef]
- Ali, K.A.M.; Zong, W.; Md-Tahir, H.; Ma, L.; Yang, L. Design, Simulation and Experimentation of an Axial Flow Sunflower-Threshing Machine with an Attached Screw Conveyor. Appl. Sci. 2021, 11, 6312. [Google Scholar] [CrossRef]
- Ali, K.A.M.; Huang, X.; Zong, W.; Abdeen, M.A.M. Mechanical structure and operating parameters of sunflower harvesting machines: A review. IAEJ 2020, 29, 1–12. [Google Scholar]
- Azharuddin, K.; Mir, S.; Narasimhan, M.M. Design and fabrication of sunflower seed extracting machine. Int. J. Latest Technol. Eng. 2016, 5, 90–97. [Google Scholar]
- Morsy, H.; Ashr, A.; Kfrawy, A. Development and performance evaluation of a rubbing thresher for sunflower crop. J. Soil Sci. Agric. Eng. 2019, 10, 61–67. [Google Scholar]
- Abdollahpour, S.; Ghassemzadeh, H. Designing, fabrication and evaluation of threshing unit edible sunflower. Agric. Eng. Int. CIGR J. 2019, 21, 52–58. [Google Scholar]
- Chavoshgoli, E.; Abdollahpour, S.; Ghasemzadeh, H. Construction an innovative separator sunflower grain with new methods. Eng. Int. CIGR J. 2020, 22, 76–85. [Google Scholar]
- Sudajan, S.; Salokhe, V.M.; Triratanasirichai, K. PM—Power and machinery: Effect of type of drum, drum speed and feed rate on sunflower threshing. Biosyst. Eng. 2002, 83, 413–421. [Google Scholar] [CrossRef]
- Hao, J.J.; Wei, W.B.; Qin, J.H.; Zhu, Z.M.; Lv, X.Y.; Yang, S.H. Design and test of cut-flow type oil sunflower threshing and screening machine. Trans. Chin. Soc. Agric. Mach. 2022, 53, 139–148. [Google Scholar]
- Zhang, X.J.; Ma, S.T.; Zhu, X.L.; Yuan, P.P.; Yu, M.J.; Liu, Y. Design and test of oil-sunflower threshing device with variable clearance. Trans. Chin. Soc. Agric. Eng. 2020, 36, 26–33. [Google Scholar]
- Han, C.J.; Diao, H.W.; Zhu, X.L.; Huang, X.N.; Wang, S.; Song, D.L. Design and experiment of the edible sunflower threshing device based on manual threshing principle. Trans. Chin. Soc. Agric. Eng. 2022, 38, 57–64. [Google Scholar]
- Li, Q.; Zhang, X.J.; Zhu, X.L. Design and experimental study on threshing device of oil sunflower combine harvester. J. Chin. Agric. Mech. 2019, 40, 6–12. [Google Scholar]
- Lian, G.D.; Wei, X.X.; Ma, L.N.; Zhou, G.H.; Zong, W.Y. Design and experiments of the axial-flow spiral drum threshing device for the edible sunflower. Trans. Chin. Soc. Agric. Eng. 2022, 38, 42–51. [Google Scholar]
- Li, X.P.; Wang, W.Z.; Zhao, G.Y.; Sun, C.C.; Hu, P.Z.; Ji, J.T. Design and experiment of longitudinal axial flow double flexible rolling and kneading threshing device for millet. Trans. Chin. Soc. Agric. Mach. 2021, 52, 113–123. [Google Scholar]
- Wang, Z.B.; Wang, Z.W.; Zhang, Y.P.; Yan, W.X.; Chi, Y.J.; Liu, C.Q. Design and test of longitudinal axial flexible hammer-claw corn thresher. Trans. Chin. Soc. Agric. Mach. 2020, 51, 109–117. [Google Scholar]
- Chinese Academy of Agricultural Mechanization Sciences. Agricultural Machinery Design Manual; China Agricultural Science and Technology Press: Beijing, China, 2007. [Google Scholar]
- Fan, C.L.; Cui, T.; Zhang, D.X.; Yang, L.; Qu, Z.; Li, Y.H. Design and test of low-damage combined corn threshing and separating device. Trans. Chin. Soc. Agric. Mach. 2019, 50, 113–123. [Google Scholar]
- Powa, R.R.V.; Aware, V.V.; Shahare, P.U. Optimizing operational parameters of finger millet threshing drum using RSM. J. Food Sci. Technol. 2019, 56, 3481–3491. [Google Scholar]
- Ge, Y.Y.B. Design of Experiments Methodology and Application of Design-Expert Software; Harbin Institute of Technology Press: Harbin, China, 2015. [Google Scholar]












| Parameter | Value |
|---|---|
| Output of the roll form | Striped rod |
| Disengagement roller diameter/mm | 1800 |
| Length of the threshing drum/mm | 2100 |
| Gravure screen form | Round tube |
| Feed amount/(kg/s) | 1–4 |
| Adjustment range of the threshing gap/mm | 10–60 |
| Drum speed adjustment range/(r/min) | 0–800 |
| Levels | Threshing Gap | Drum Speed | Feed Amount |
|---|---|---|---|
| −1 | 15 | 150 | 2.6 |
| 0 | 20 | 200 | 2.9 |
| 1 | 25 | 250 | 3.2 |
| Test Serial Number No. | Factors and Levels | Response Index | |||
|---|---|---|---|---|---|
| Threshing Gap x1/mm | Drum Speed x2/mm | Feed Amount x3/(r·min−1) | Threshing Loss Rate/% | Grain Mass Ratio of Undersize/% | |
| 1 | 0 | −1 | 1 | 2.25 | 78.94 |
| 2 | 1 | 0 | −1 | 2.92 | 84.76 |
| 3 | 0 | 0 | 0 | 2.46 | 79.54 |
| 4 | −1 | −1 | 0 | 2.18 | 73.24 |
| 5 | 0 | −1 | −1 | 1.98 | 77.74 |
| 6 | 0 | 0 | 0 | 2.51 | 80.94 |
| 7 | −1 | 1 | 0 | 3.09 | 72.52 |
| 8 | 1 | 0 | 1 | 2.93 | 83.18 |
| 9 | 0 | 0 | 0 | 2.38 | 82.45 |
| 10 | 0 | 1 | 1 | 3.09 | 77.85 |
| 11 | −1 | 0 | −1 | 2.74 | 75.19 |
| 12 | 0 | 0 | 0 | 2.57 | 78.62 |
| 13 | 0 | 0 | 0 | 2.49 | 79.91 |
| 14 | −1 | 0 | 1 | 3.14 | 74.92 |
| 15 | 1 | 1 | 0 | 3.26 | 82.15 |
| 16 | 0 | 1 | −1 | 3.17 | 75.69 |
| 17 | 1 | −1 | 0 | 2.32 | 84.96 |
| Source | Sum of Square | Free Degree | Mean Square | F Value | p Value |
|---|---|---|---|---|---|
| Model | 2.427 | 9 | 0.270 | 38.105 | <0.0001 ** |
| x1 | 0.004 | 1 | 0.004 | 0.572 | 0.4740 |
| x2 | 1.882 | 1 | 1.882 | 265.952 | <0.0001 ** |
| x3 | 0.031 | 1 | 0.031 | 4.417 | 0.0737 |
| x1x2 | 0.000 | 1 | 0.000 | 0.032 | 0.8635 |
| x1x3 | 0.060 | 1 | 0.060 | 8.483 | 0.0226 * |
| x2x3 | 0.031 | 1 | 0.031 | 4.328 | 0.0760 |
| x12 | 0.280 | 1 | 0.280 | 39.533 | 0.0004 ** |
| x22 | 0.003 | 1 | 0.003 | 0.442 | 0.5275 |
| x32 | 0.118 | 1 | 0.118 | 16.745 | 0.0046 ** |
| Residual | 0.050 | 7 | 0.007 | ||
| Lack of Fit | 0.030 | 3 | 0.010 | 2.057 | 0.2486 |
| Pure Error | 0.019 | 4 | 0.005 | ||
| Cor Total | 2.476 | 16 | 0.270 |
| Source | Sum of Square | Free Degree | Mean Square | F Value | p Value |
|---|---|---|---|---|---|
| Model | 245.726 | 9 | 27.303 | 16.707 | 0.0006 |
| x1 | 191.884 | 1 | 191.884 | 117.415 | <0.0001 ** |
| x2 | 5.561 | 1 | 5.561 | 3.403 | 0.1076 |
| x3 | 0.030 | 1 | 0.030 | 0.018 | 0.8960 |
| x1x2 | 1.092 | 1 | 1.092 | 0.668 | 0.4406 |
| x1x3 | 0.429 | 1 | 0.429 | 0.263 | 0.6242 |
| x2x3 | 12.110 | 1 | 12.110 | 7.410 | 0.0297 * |
| x12 | 0.821 | 1 | 0.821 | 0.502 | 0.5014 |
| x22 | 26.654 | 1 | 26.654 | 16.310 | 0.0049 ** |
| x32 | 6.277 | 1 | 6.277 | 3.841 | 0.0908 |
| Residual | 11.440 | 7 | 1.634 | ||
| Lack of Fit | 2.856 | 3 | 0.952 | 0.444 | 0.7349 |
| Pure Error | 8.584 | 4 | 2.146 | ||
| Cor Total | 257.166 | 16 |
Disclaimer/Publisher’s Note: The statements, opinions and data contained in all publications are solely those of the individual author(s) and contributor(s) and not of MDPI and/or the editor(s). MDPI and/or the editor(s) disclaim responsibility for any injury to people or property resulting from any ideas, methods, instructions or products referred to in the content. |
© 2023 by the authors. Licensee MDPI, Basel, Switzerland. This article is an open access article distributed under the terms and conditions of the Creative Commons Attribution (CC BY) license (https://creativecommons.org/licenses/by/4.0/).
Share and Cite
Liu, W.; Ma, L.; Zong, W.; Liu, J.; Li, M.; Lian, G. Design and Experimentation of a Longitudinal Axial Flow Sunflower Oil Threshing Device. Agriculture 2023, 13, 876. https://doi.org/10.3390/agriculture13040876
Liu W, Ma L, Zong W, Liu J, Li M, Lian G. Design and Experimentation of a Longitudinal Axial Flow Sunflower Oil Threshing Device. Agriculture. 2023; 13(4):876. https://doi.org/10.3390/agriculture13040876
Chicago/Turabian StyleLiu, Wei, Lina Ma, Wangyuan Zong, Jinyi Liu, Mao Li, and Guodang Lian. 2023. "Design and Experimentation of a Longitudinal Axial Flow Sunflower Oil Threshing Device" Agriculture 13, no. 4: 876. https://doi.org/10.3390/agriculture13040876
APA StyleLiu, W., Ma, L., Zong, W., Liu, J., Li, M., & Lian, G. (2023). Design and Experimentation of a Longitudinal Axial Flow Sunflower Oil Threshing Device. Agriculture, 13(4), 876. https://doi.org/10.3390/agriculture13040876

