Ground-Borne Vibration Due to Construction Works with Respect to Brownfield Areas
Abstract
1. Introduction
2. Materials and Methods
2.1. Basic Definition of Brownfields
2.2. An example of Ostrava’s Brownfield
2.3. Measuring Instrumentation
3. Experimental Setup and Results of SEISMIC Measurements
3.1. Vibrated Gravel Piles
3.2. Vibrated Sheet Piles
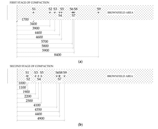
3.3. Vibrating Roller
3.4. Interpretation of the Measured Data with Respect to Historical and Decaying or Dilapidated Objects
3.5. Study Evaluations
4. Discussion and Conclusions
Author Contributions
Funding
Conflicts of Interest
References
- Martinat, S.; Navrátil, J.; Hollander, J.B.; Trojan, J.; Klapka, P.; Klusáček, P.; Kalok, D. Re-reuse of regenerated brownfields: Lessons from an Eastern European post-industrial city. J. Clean. Prod. 2018, 188, 536–545. [Google Scholar] [CrossRef]
- Thornton, G.; Franz, M.; Edwards, D.; Pahlen, G.; Nathanail, P.; Nathanail, C.P. The challenge of sustainability: Incentives for brownfield regeneration in Europe. Environ. Sci. Policy 2007, 10, 116–134. [Google Scholar] [CrossRef]
- Černík, J.; Kunc, J.; Martinát, S. Territorial-Technical and Socio-Economic Aspects of Successful Brownfield Regeneration: A Case Study of The Liberec Region (Czech Republic). Geogr. Tech. 2016, 11, 22–38. [Google Scholar] [CrossRef]
- Tureckova, K.; Martinat, S.; Skrabal, J.; Chmielova, P.; Nevima, J. How local Population Perceive Impact of Brownfields on the Residential Property Values: Some Remarks from Post-Industrial Areas in the Czech Republic. Geogr. Tech. 2017, 12, 150–164. [Google Scholar] [CrossRef][Green Version]
- Krejčí, T.; Dostál, I.; Havlíček, M.; Martinát, S. Exploring the hidden potential of sugar beet industry brownfields (case study of the Czech Republic). Transp. Res. Part D Transp. Environ. 2016, 46, 284–297. [Google Scholar] [CrossRef]
- Kim, D.-S.; Lee, J.-S. Propagation and attenuation characteristics of various ground vibrations. Soil Dyn. Earthq. Eng. 2000, 19, 115–126. [Google Scholar] [CrossRef]
- Athanasopoulos, G.; Pelekis, P. Ground vibrations from sheetpile driving in urban environment: Measurements, analysis and effects on buildings and occupants. Soil Dyn. Earthq. Eng. 2000, 19, 371–387. [Google Scholar] [CrossRef]
- Czech, K.; Gosk, W. Analysis of the Vibration Propagation Induced by Pulling out of Sheet Pile Wall in a Close Neighbourhood of Existing Buildings. Procedia Eng. 2016, 143, 1460–1467. [Google Scholar] [CrossRef]
- Westcott, F.; Smith, J.; Lean, C.; Smith, J. Piling in contaminated ground: Environmental impacts, regulatory concerns and effective solutions. Eng. Geol. 2003, 70, 259–268. [Google Scholar] [CrossRef]
- Xiao, Y.J.; Chen, F.Q.; Lin, L.Q. Study of ground vibration and vibration isolation due to sleeve of cast-in-place piles installed by vibratory driving. Rock Soil Mech. 2017, 38, 705–713. [Google Scholar]
- Vavrina, L.; Windeln, D. Example of a low vibration deep foundation with precast driven piles. Bautechnik 2017, 94, 661–666. [Google Scholar] [CrossRef]
- Hwang, J.H.; Tu, T.Y. Ground vibration during gravel pile construction. J. Mar. Sci. Technol. 2002, 10, 36–46. [Google Scholar]
- Stolarik, M.; Hrubesova, E.; Pinka, M. Dynamic response of the experimental foundation slab—Seismic measurement and analysis. Int. Multidiscip. Sci. Geoconf. Surv. Geol. Min. Ecol. Manag. 2015, 2, 261–268. [Google Scholar]
- Jayawardana, W.A.P.D.; De Silva, G.H.M.J.S.; De Silva, G.S.Y. Effectiveness of a Trench Filled with Waste Material in Reducing the Propagation of Ground Vibration Induced by Soil Roller Compaction. Eng. J. Inst. Eng. Sri Lanka 2016, 49, 17. [Google Scholar] [CrossRef]
- Kalab, Z. Seismic Measurements in Geotechnics—Monograph; Vysoka Skola Banska—Technicka Univerzita Ostrava: Ostrava, Czech Republic, 2008; p. 125. [Google Scholar]
- Tucholka, P.; Kielbasiński, K.; Mieszkowski, R. Tracing Seismic Surface Waves Induced by Road Traffic in Urban Environment: Example of st. Catherine’schurch Hill in Warsaw. Geologija 2008, 50, 79–84. [Google Scholar]
- Lak, M.; Degrande, G.; Lombaert, G. The effect of road unevenness on the dynamic vehicle response and ground-borne vibrations due to road traffic. Soil Dyn. Earthq. Eng. 2011, 31, 1357–1377. [Google Scholar] [CrossRef]
- Stolarik, M.; Nedoma, J. Fiber-Optic Interferometric Sensor for Dynamic Impact Measurement of Transport Trucks. Int. J. Eng. Res. Afr. 2019, 42, 34–46. [Google Scholar] [CrossRef]
- Kalab, Z.; Hrubesova, E. Evaluation of seismic effect of traffic-induced vibrations. Acta Montan. Slovaca 2015, 20, 33–37. [Google Scholar]
- Sanayei, M.; Maurya, P.; Moore, J.A. Measurement of building foundation and ground-borne vibrations due to surface trains and subways. Eng. Struct. 2013, 53, 102–111. [Google Scholar] [CrossRef]
- Lee, J.-J.; Choi, J.-S.; Lee, J.-H.; Yun, C.-B. A Semi-Analytical Approach to Predict Ground Vibration by Identification of Soil Properties and Train-Transit Loads. Adv. Struct. Eng. 2012, 15, 1013–1029. [Google Scholar] [CrossRef]
- Ozer, U. Environmental impacts of ground vibration induced by casting at different rock units on the Kadikoy–Kartal metro tunnel. Eng. Geol. 2008, 100, 82–90. [Google Scholar] [CrossRef]
- Stolarik, M. Dynamic Load Due to The Tram in Urban Area. Int. Multidiscip. Sci. Geoconf. Surv. Geol. Min. Ecol. Manag. 2017, 17, 271–277. [Google Scholar]
- Zou, C.; Wang, Y.; Wang, P.; Guo, J. Measurement of ground and nearby building vibration and noise induced by trains in a metro depot. Sci. Total. Environ. 2015, 536, 761–773. [Google Scholar] [CrossRef] [PubMed]
- Nedoma, J.; Stolarik, M.; Fajkus, M.; Pinka, M.; Hejduk, S. Use of fiber-optic sensors for the detection of the rail vehicles and monitoring of the rock mass dynamic response due to railway rolling stock for the civil engineering needs. Appl. Sci. 2019, 9, 134. [Google Scholar] [CrossRef]
- Pandula, B.; Kondela, J. Methodology of Blasting Works Seismicity; DEKI Design: Košice, Slovak, 2010; p. 156. [Google Scholar]
- Tomasin, M.; Domaneschi, M.; Guerini, C.; Martinelli, L.; Perotti, F. A comprehensive approach to small and large-scale effects of earthquake motion variability. Comput. Struct. 2018, 207, 155–170. [Google Scholar] [CrossRef]
- Shearer, P.M. Introduction to Seismology; Cambridge Univerzity Press: Cambridge, UK, 1999; p. 260. [Google Scholar]
- Doyle, H. Seismology; John While & Sons: Chichester, UK, 1995; p. 218. [Google Scholar]
- Osinski, Z. Damping of Vibrations, A.A; Balkema Publishers: Rotterdam, The Netherlands, 1998; p. 564. [Google Scholar]
- Miller, G.F.; Pursey, H. On the partition of energy between elastic waves in a semi-infinite solid. Proc. R. Soc. A 1955, 233, 55–69. [Google Scholar]
- Selby, A.R. Ground vibrations caused by pile installation. In Proceedings of the 4th International DFI Conference, Rotterdam, The Netherlands, 7–12 April 1991; pp. 497–502. [Google Scholar]
- Sams, M.S.; Neep, J.P.; Worthington, M.H.; King, M.S. The measurement of velocity dispersion and frequency-dependent in trinsic attenuation in sedimentary rocks. Geophysics 1997, 62, 1456–1464. [Google Scholar] [CrossRef]
- Attewell, P.B.; Selby, A.R.; Uromeihy, A. Non-monotonical decay of ground surface vibrations caused by pile driving. In Earthquake, blast and impact. Measurementand effects of vibration. In The Society for Earthquake and Civil Engineering Dynamics; Elsevier: London, UK, 1991; pp. 463–481. [Google Scholar]
- Loads of Technical Structures by Technical Seismicity; Standard ČSN 73 0040; Technor: Hradec Kralove, Czech Republic, 1996.
- Vojvodikova, B.; Ticha, L.; Fojtik, R.; Szeligova, N. Brownfields in Function Urban Area Ostrava. IOP Conf. Series: Mater. Sci. Eng. 2019, 471, 102023. [Google Scholar] [CrossRef]
- Laprise, M.; Lufkin, S.; Rey, E. An operational monitoring tool facilitating the transformation of urban brownfields into sustainable neighborhoods. Build. Environ. 2018, 142, 221–233. [Google Scholar] [CrossRef]
- Wiszniowski, J.; Wiejacz, P. Program SWIP; Institute of Geophysics, Polish Academy of Sciences: Warszawa, Poland, 2003. [Google Scholar]
- Bedon, C.; Bergamo, E.; Izzi, M.; Noè, S. Prototyping and Validation of MEMS Accelerometers for Structural Health Monitoring—The Case Study of the Pietratagliata Cable-Stayed Bridge. J. Sens. Actuator Netw. 2018, 7, 30. [Google Scholar] [CrossRef]
- Hiller, D.M.; Crabb, G.I. Ground borne vibration caused by mechanised construction works. Noise Vib. Worldw. 2001, 32, 9–14. [Google Scholar]
- BSI Group. BS ISO 4866:2010 Mechanical Vibration and Shock, Vibration of Fixed Structures, Guidelines for the Measurement of Vibrations and Evaluation of Their Effects on Structures; BSI Group: London, UK, 2010. [Google Scholar]
- BSI Group. BS 7385: Part 2:1993. Evaluation and Measurement for Vibration in Buildings. Part 2. Guide to Damage Levels from Ground Borne Vibration; BSI Group: London, UK, 1993. [Google Scholar]
- CEN. European Committee for Standardization. European Prestandard ENV 1993-5, Eurocode 3: Design of Steel Structures—Part 5: Piling; CEN: Brussels, Belgium, 1998. [Google Scholar]
















| Vibration Source | Dominant Component (Hz) | Bandwidth (Hz) |
|---|---|---|
| Vibrated gravel piles | 48 | 40–60 |
| Sheet piles | 15 | 9–19 |
| First stage of compaction | 21 | 16–28 |
| Second stage of compaction | 28 | 18–38 |
© 2019 by the authors. Licensee MDPI, Basel, Switzerland. This article is an open access article distributed under the terms and conditions of the Creative Commons Attribution (CC BY) license (http://creativecommons.org/licenses/by/4.0/).
Share and Cite
Stolarik, M.; Pinka, M.; Nedoma, J. Ground-Borne Vibration Due to Construction Works with Respect to Brownfield Areas. Appl. Sci. 2019, 9, 3766. https://doi.org/10.3390/app9183766
Stolarik M, Pinka M, Nedoma J. Ground-Borne Vibration Due to Construction Works with Respect to Brownfield Areas. Applied Sciences. 2019; 9(18):3766. https://doi.org/10.3390/app9183766
Chicago/Turabian StyleStolarik, Martin, Miroslav Pinka, and Jan Nedoma. 2019. "Ground-Borne Vibration Due to Construction Works with Respect to Brownfield Areas" Applied Sciences 9, no. 18: 3766. https://doi.org/10.3390/app9183766
APA StyleStolarik, M., Pinka, M., & Nedoma, J. (2019). Ground-Borne Vibration Due to Construction Works with Respect to Brownfield Areas. Applied Sciences, 9(18), 3766. https://doi.org/10.3390/app9183766

