Abstract
This study aims to investigate multi-objective configuration optimization of a hybrid energy storage system (HESS). In order to maximize the stability of the wind power output with minimized HESS investment, a multi-objective model for optimal HESS configuration has been established, which proposes decreasing the installation and operation & maintenance costs of an HESS and improving the compensation satisfaction rate of wind power fluctuation. Besides, fuzzy control has been used to allocate power in the HESS for lengthening battery lifetime and ensuring HESS with enough energy to compensate the fluctuation of the next time interval. Instead of converting multiple objectives into one, a multi-objective particle swarm optimization with integration of bacteria quorum sensing and circular elimination (BC-MOPSO) has been applied to provide diverse alternative solutions. In order to illustrate the feasibility and effectiveness of the proposed model and the application of BC-MOPSO, simulations along with analysis and discussion are carried out. The results verified the feasibility and effectiveness of the proposed approach.
1. Introduction
Wind power generation and its techniques have attracted increasing worldwide attention because of their effective reduction in environmental pollution, fossil fuel consumption, and the costs of overall electricity generation [1]. Technology for wind power generation system is regarded to be much more mature than that of other distributed generation systems [2]. Photovoltaic generation also develops fast due to low emissions, high durability, and low maintenance requirements. Its technology has been considered as another one of the most mature renewable distributed generations (RDGs) and widely applied as a mean to reach emission reduction with the increasing concern of environmental protection. However, they are characteristically fluctuating and intermittent. Their generated uneven power over time increases the difficulties in the controllability and dispatch ability. Consequently, serious challenges resulting from their integration to the grid are mounting on the power balance, system safety, and power quality [3,4]. In order to promote grid penetration capability and meet standard requirements for integration of renewable distributed generations, it’s necessary to apply appropriate allocation of distributed energy storage systems (ESSs) for decreasing negative effects on the grid that are brought about by fluctuating power and improving the power quality and system stability of the distribution network penetrated with such RDGs.
According to the related studies [5], distribution systems suffer most from a frequency band from 0.01 Hz to 1 Hz of the fluctuating power output. Hence, the corresponding output power needs to be compensated with ESSs. Although lead-acid battery has been widely used because of the most mature technology and the lowest cost [6], its lifetime is badly affected by frequent charging/discharging when used for compensating fluctuation of wind power output, especially deep discharging resulting in rising temperature of the equipment. The power-type ESS is quite different from the energy-type ESSs. Power-type ESSs, such as super-capacitor and superconducting magnet ESSs, have a high power density and quick response speed, but cannot have large energy capacity. While energy-type ESSs such as batteries have high energy density, its speed for compensating power is not ideal. While hybrid energy storage system (HESS) composed of the two types of ESSs that fully take advantage of their complementation can compensate for each other’s weaknesses [3,4,7]. Consequently, researchers proposed [3,4,7,8,9] an HESS that contains a supercapacitor and a battery; the supercapacitor with a quick response compensates for the output power fluctuation of high frequency, and the battery with high energy density compensates for the fluctuation of lower frequency. It is theoretically and experimentally proven that an HESS with an appreciable power allocation strategy allows for decreasing charging and discharging cycles and effectively compensates for the fluctuation of the wind power output. The key issue is how to reasonably allocate an HESS to balance the compensation effect and investment economy.
Basically, the configuration of an HESS is classified into aggregated and distributed [10] as illustrated in Figure 1. Simulation results demonstrate that the distributed configuration is as effective as aggregated in wind power smoothing and system frequency deviation reduction. Figure 2 depicts the control diagram of a wind-HESS [11]. The HESS implements power control and distribution according to the difference between the wind power, PWD, and the reference power, PWDref, that is computed via the low pass filter (LPF), and the state of charge (SOC) of each ESS device. The HESS output power, PSC + PB, either injects to or takes form the AC bus to compensate the wind power fluctuation, ΔPWD = PWD − PWDref. Finally, we get the compensated wind power, PWDCom. The rated capacity and power of each ESS clearly determine the power fluctuation compensation performance.
Figure 1.
Illustration of energy storage system (ESS) configurations. (a) Aggregated ESS; (b) Distributed~ESS.
Figure 2.
Control diagram of wind-energy storage system.
In order to investigate the compensation of power fluctuation of distributed generation with intermittent characteristics, and reasonably allocate HESS for balancing the compensation effect and investment economy, this study establishes a multi-objective model for optimally allocating HESS considering wind power generation, in which the objectives are to minimize the installation, operation, and maintenance costs and to maximize the satisfaction rate of power fluctuation compensation. Meanwhile, fuzzy control [8] is introduced to optimally schedule the power output of each ESS for avoiding destroy the SOC limits, lengthening the battery lifetime, and ensuring HESS with enough energy to compensate the fluctuation of the next time interval. To provide the decision-maker with alternatives and to analyze correlations between optimization objectives, a multi-objective particle swarm optimization with integration of bacteria quorum sensing and circular elimination (BC-MOPSO) presented in [12] has been applied to provide diverse alternative solutions. Numerical simulation along with discussion has been carried out to demonstrate advantages of the proposed model and effectiveness of the application of BC-MOPSO.
2. Multi-Objective Optimization Model for Allocating HESS
2.1. HESS Model
As illustrated in Figure 2, in order to make PWDCom approximate PWDref as closely as possible, the power fluctuation is constantly compensated by the real time power output of HESS, PSC + PB. The compensation effect is determined by the remaining energy in the HESS, the rated charging/discharging power, and the real time available maximum charging/discharging power. When the ESS i (i = SC, B) is charging or discharging, the remaining energy, Et, at time t, can be expressed as Equations (1) and (2), respectively. Both exhausted and saturated states have bad effects on the ESS lifetime. The state of charge (SOC) of an ESS that can be expressed as a percentage of its rated capacity, Erated, reflects its available capacity, and it can be formulated as Equation (3) in which SOCmax and SOCmin represent the upper and lower limits, respectively.
For ESS i, rSDC indicates the self-discharge rate, and ηC and ηD denote the charge efficiency and discharge efficiency, respectively. Pt represents the ESS power at time interval t, which can be mathematically described as Equation (4) when it is charging and Equation (5) when it is discharging.
where PCrated and PDrated denote the rated charging and discharging power, and Preft indicates the reference output power whose calculation will be analyzed below. Pmax represents the allowed maximum charging/discharging power. It is related to ESS charging/discharging characteristics and the maximum left energy at t. Its formulation can be expressed as Equation (6) if ESS is charging or Equation (7) if ESS is discharging.
2.2. Evaluation Index of Wind Output Power Compensation
Function of HESS is realized through compensating the fluctuation of wind power, PWD, with its real-time output power, PSC + PB. The compensation objective is to make the compensated wind power output, PWDCom, approach the reference power, PWDref, as closely as possible. Hence, Equation (8) can be used as compensation evaluation index. Apparently, η is less than or equal to 1 and the less the better compensation effect.
From Figure 2, it is evident that △PWD = PWD − PWDref. It is △PWD according to which HESS carries out power allocation. Consequently, a reasonable PWDref needs to be set for minimizing the wind power output fluctuation. For this purpose, Ding et al. [9] proposed adjusting the time constant of the LPF, τt, based on the remaining energy in HESS, thus realizing PWDref regulating. To be more detailed, τt is properly increased if HESS remains adequate energy, so that PtWDref approaches Pt−1WD*. Accordingly, change rate of the compensated wind power output is decreased. PtWDref can be formulated as Equation (9).
where λt is the filtering coefficient, and Δt and λt and their relations to the remaining energy in HESS are formulated as Equations (10) and (11) [9].
where k1 and k2 are proportional coefficients. Taking into account of compensation effect and fully utilizing HESS remaining energy, k1 and k2 are set to be 0.5 [9].
2.3. Multi-Objective Configuration Optimization Model
The cost of the ESS primarily includes capital cost, Ccap, expressed as Equation (12), and operation and maintenance cost, COM. The mathematical model for multi-objective optimization with consideration of minimizing the cost of HESS per year, fcost, and maximizing the satisfaction rate of wind power fluctuation compensation, fprob, can be formulated as Equation (13).
where CE, CP, CC, and CD represent the energy rating initial cost, the power rating initial cost, the power conversion system initial cost, and the disposal cost, respectively. CfOM and CvOM indicate the unit fixed and variable operation and maintenance costs, respectively. L is the life span of the ESS. Nt is the total time interval number during which the wind power output fluctuation needs compensation. αt can be either 0 or 1, which is formulated as Equation (14). δ is the threshold level of wind power compensation rate.
3. Computation of Reference Power Output of ESS and Power Accommodation for HESS
As stated in Section 2.2, the actual power output of the ESS is computed via Equation (6) or Equation (7), in which its reference power output is determined taking into account the reference power of wind turbine and the SOC of each ESS device. On the other hand, compensation of the fluctuating wind power is realized through real-time control of the HESS power output. Consequently, suitable power accommodation strategy is important for enhancing the compensation effect. Fuzzy control is widely applied to accommodate the HESS for avoiding SOC limit violation. The process for computing the reference power output of each ESS is described as follows.
Firstly, estimate the SOC of each ESS using Equation (15) when charging or Equation (16) when discharging, and then apply them as the input of fuzzy control. Essentially, the two equations are used to compute the SOC after compensating the wind power with individual ESS.
Secondly, get the membership value and determine the corresponding rule based on the membership function depicted in Figure 3 and the fuzzy control rules illustrated in Table 1 [8,9].
Figure 3.
Membership function: (a) battery; (b) supercapacitor for ΔPWD ≥ 0; (c) supercapacitor for ΔPWD < 0; (d) fuzzy control output.
Table 1.
Fuzzy control rule. SOC: state of charge.
Thirdly, compute the modification coefficient for the power of ESS based on Equation (17) [9,13]. Finally, compute the reference power output of each ESS according to Equation (18).
Once the reference power output of each ESS is obtained, its real-time power output can be derived according to Equation (6) or Equation (7). Investigation from Figure 3 and Table 2, it is clear that the remaining energy in the supercapacitor is regarded to be adequate only when SOCpSC ≤ 0.5 for ΔPWD ≥ 0 and SOCpSC > 0.7 for ΔPWD < 0. And only in the two cases, the fluctuating wind power is compensated by the supercapacitor. The fluctuation is compensated by the battery and the supercapacitor when the remaining energy in the supercapacitor is insufficient.
Table 2.
Parameters of supercapacitor (SC) and battery.
4. Solution to the Multi-Objective Optimization of Allocating HESS
From the equations described above, it can be seen that the objective functions with technical and operational constraints are formulated. Appropriate optimization model considering multiple objectives of interest is essential for HESS configuration optimization. Such a model is worthless when it is optimized with an inaccurate optimization method. Traditionally, the multi-objective optimization problems (MOPs) have been solved by linear programming, and usually one of the objectives is optimized and the others are included in the restrictions or using fuzzy method and weighted aggregation approach where the MOP is converted into a mono-objective one. These methods simplify the optimization process of MORPO, but generate disadvantages [14,15]:
- (1)
- Representation of the objectives using restrictions in linear programming can lead to unfeasible problems.
- (2)
- There is not a clear criterion for choosing the suitable objective function, and in many cases the fulfilment of one single objective can be in conflict with others.
- (3)
- Fuzzy optimization turns out to be a weighted aggregation approach with a set of stationary weights (preference factors).
- (4)
- The weighted aggregation approach cannot accurately reflect the relationship between the various objectives, especially when the involved objectives are conflicted with each other.
- (5)
- The only one best solution fails to provide the designer with alternative options.
Compared with mono-objective optimization (MOO) techniques, the main advantage of MOO is that a set of diverse optimal solutions are identified instead of one optimal solution, which gives more flexibility to the decision-maker. To offer a set of solutions to do tradeoff analysis and provide a deep insight into the multi-objective configuration optimization of HESS, effective MOO algorithms should be applied to this problem.
4.1. Discretization of the Decision Variables
Apply BC-MOPSO [12] to solve the multi-objective optimization of allocating HESS. The BC-MOPSO algorithm was proved to outperform the other algorithms on convergence while maintaining a good spread performance, and can be used as an effective global optimization tool. In the real number space, each individual potential solution can be modeled as a particle that moves in the problem hyperspace, each particle i is associated with its velocity vi = [vi1, vi2, … viD]T and position xi = [xi1, xi2, …, xiD]T, where D stands for the dimensions of the decision space. Suppose the position of each particle ranges between 0 and 1, its corresponding relation to the decision variables can be described by Equation (19). Assume the unit rated power and energy of the ESS are Purated and Eurated, respectively. Their corresponding relations with respect to x are illustrated as Equation (20).
4.2. Computation of the Objective Functions
One of the important steps in the solution of the multi-objective optimization of allocating HESS is to evaluate an allocation solution, namely, compute the objective-function value corresponding to the solution or the fitness value of the corresponding particle. Suppose the swarm size is P. Evaluation of the swarm can be summarized as follows.
- (1)
- Initialize each particle, discretize the power and energy of each ESS according to Equation (20). Initialize P0WD*, E0SC, and E0B, set p = 1 and t = 1.
- (2)
- Read PtWD, Pt−1WD*, Et−1SC, and Et−1B, compute PtmaxSC and PtmaxB based on Equation (6) or Equation (7), and get PtWDref according to Equation (9).
- (3)
- Estimate SOC of each ESS at the end of interval t, based on the membership function illustrated in Figure 3, compute bt according to Equation (17).
- (4)
- Calculate PtSCref and PtBref according to Equation (18).
- (5)
- Determine PtSC and PtB based on Equation (4) or Equation (5) and further get PtWD* = PtWD + PtSC + PtB. Compute EtSC and EtB according to Equation (1) or Equation (2).
- (6)
- Derive SOCtSC and SOCtB according to Equation (3) and get ηt based on Equation (8).
- (7)
- Assess t equals Nt or not, if yes go to Step (8), else make t = t + 1 and go to Step (2).
- (8)
- Compute the objective-function values of the solution p.
- (9)
- Judge p = P, if yes go to the next, else make p = p + 1 and go to Step (2).
4.3. Application of the BC-MPSO Algorithm
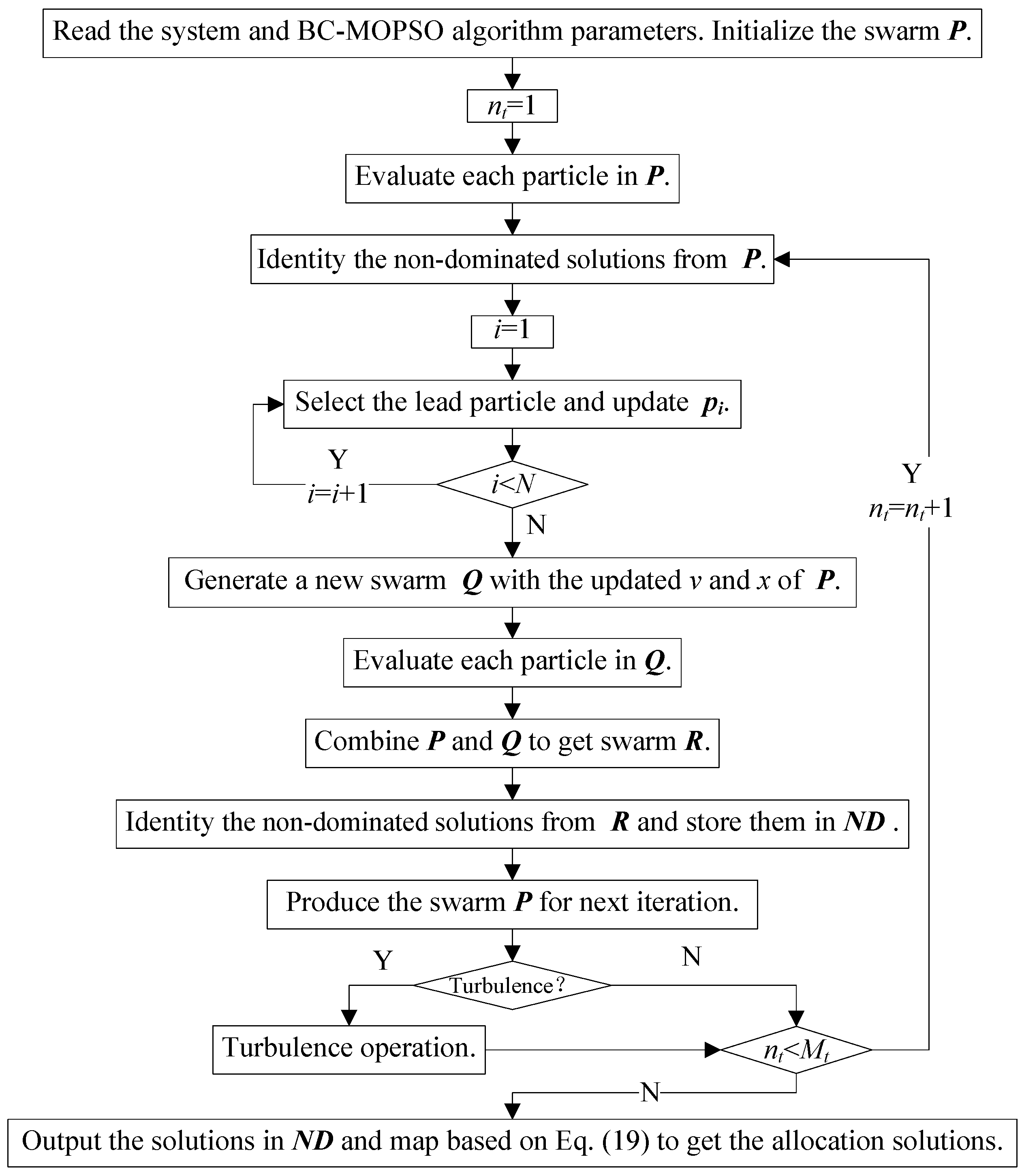
Solving the multi-objective optimization of allocating HESS is to apply BC-MPSO algorithm to identify the optimal allocation solution(s). The detailed procedure of the algorithm can be described as follows and its application can be illustrated in Figure 4.
Figure 4.
Scheme of identifying optimal solutions.
5. Simulation and Analysis
Numerical simulations are carried out based on Matlab/Simulink. The allowed depths of discharge of the superconductor (SC) and battery range from 0.25 to 0.95 and 0.2 to 0.9, respectively. Their self-discharge rate is 0, an initial SOC is 0.55, and charge efficiencies are 100% and 80%, respectively. In addition, their unit-rated capacity is 1 MW, and charge/discharge power are 0.1 MW and 1 MW, respectively. The other characteristic parameters are listed in Table 2 [16,17].
The wind power is illustrated in Figure 6 that supposes it is of normal distribution with a mean of 50 MW and a variance of 15 MW. Apply BC-MOPSO to determine the rated capacity and power of each ESS, and the configuration solutions and their corresponding objective-function values are listed in Table 3. The distribution of Pareto solutions in the objective-space are demonstrated in Figure 5.
Figure 6.
Compensation effect on wind power output by HESS. (a) Comparison between PWD and PWD*; (b) comparison between PWD* and PWDref.
Table 3.
Pareto solutions and corresponding objectives.
Figure 5.
Distribution of optimal solutions in the objective space.
From Table 3 and Figure 5, it is evident that the rated capacity and power of each ESS increase with increasing satisfaction rate of wind power fluctuation compensation. Especially, when the satisfaction rate is larger than 93.91%, the HESS cost is remarkably increased. To analyze the compensation effect, take the 9th solution as an example. Figure 6 demonstrates the comparison between the compensated and uncompensated wind power.
Investigation from Figure 6, it is clear that HESS dramatically reduces the fluctuation of wind power output, and 94% of |η| is less than 2%. However, for some period, the difference between the compensated wind power and the reference power is rather large. For example, when t = 437 s, PWDref = 66.25 MW: When t = 436 s, PWD is quite large, which leads the SC and the battery to charge and their SOCs to be high. As a result, HESS fails to well compensate the fluctuating wind power that produces a compensated wind power output of 70.63 MW.
Figure 7 depicts the dynamic SOCs of the SC and battery, respectively. Clearly, their SOCs are controlled within a reasonable range that avoids making a bad effect on the lifespan of the ESS resulting from saturated and exhausted states.
Figure 7.
SOC of the ESS.
6. Conclusions
Taking compensation of wind power fluctuation, for example, the study developed the multi-objective configuration optimization of HESS to compensate the fluctuating power output of the intermittent DG, in which the HESS is composed of a supercapacitor and battery. For maximizing the stability of the wind power output with minimized HESS investment, along with fuzzy control that is used for HESS power allocation, a multi-objective model for optimal HESS configuration was established to decrease the installation, operation, and maintenance costs of HESS and to improve the compensation satisfaction rate of wind power fluctuation. With the application of BC-MOPSO, a set of Pareto solutions were identified to provide diverse alternative configuration solutions, from which the decision-maker can make a choice according to the requirements of investment and compensation performance. The Pareto front demonstrate the relation between the power fluctuation compensation effect and the total installation, operation, and maintenance costs of HESS based on which the compensated power quality and the HESS investment economy is compromised along with the configuration of the HESS. The simulation results also demonstrate that the power allocation strategy with the application of fuzzy control enables to effectively reduce the fluctuation of the output power. Meanwhile, the SOC of the ESS is controlled within a reasonable range, which avoids negative effect on its lifetime resulting from saturated and exhausted states.
Acknowledgments
This work is supported by the National Natural Science Foundation of China under Grant No. 5160070515 and Hubei Provincial Engineering Research Center of Microgrid under Grant No. 2015KDW09.
Author Contributions
Shan Cheng and WenLi Liu conceived and designed the study. Shan Cheng designed the application of BC-MPSO algorithm and reviewed and edited the manuscript. WeiBin Sun established the MOO model and realized the simulation platform. WenLi Liu wrote the manuscript. All authors read and approved the manuscript.
Conflicts of Interest
The authors declare no conflict of interest.
References
- Hong, Y.Y.; Pen, K.L. Optimal VAR Planning Considering Intermittent Wind Power Using Markov Model and Quantum Evolutionary Algorithm. IEEE Trans. Power Deliv. 2010, 25, 2987–2996. [Google Scholar] [CrossRef]
- Wai, R.J.; Cheng, S.; Lin, Y.F. Installed capacity selection of hybrid energy generation system via improved particle-swarm-optimisation. IET Gener. Transm. Distrib. 2014, 8, 742–752. [Google Scholar] [CrossRef]
- Wang, J.B.; Chao, Q.; Wang, Y.B. A Control of Hybrid Energy Storage System for Suppressing Fluctuation of Wind Power Based on Primary-Secondary Scale Intersection Cutting Effect. Power Syst. Technol. 2015, 39, 3369–3377. [Google Scholar]
- Lu, Y.; Xu, J. Wind power hybrid energy storage capacity configuration based on wavelet packet decomposition. Power Syst. Prot. Control 2016, 44, 149–154. [Google Scholar]
- Luo, C.L.; Ooi, B.T. Frequency deviation of thermal power plants due to wind farms. IEEE Trans. Energy Convers. 2006, 21, 708–716. [Google Scholar] [CrossRef]
- Tan, X.; Li, Q.; Wang, H. Advances and trends of energy storage technology in Microgrid. Int. J. Electr. Power Energy Syst. 2013, 44, 179–191. [Google Scholar] [CrossRef]
- Luo, P.; Yang, T.M.; Lou, S.H. Spectrum Analysis Based Capacity Configuration of Hybrid Energy Storage in Microgrid. Power Syst. Technol. 2016, 42, 376–381. [Google Scholar]
- Ise, T.; Kita, M.; Taguchi, A. A hybrid energy storage with a SMES and secondary battery. IEEE Trans. Appl. Supercond. 2005, 15, 1915–1918. [Google Scholar] [CrossRef]
- Ding, M.; Lin, G.D.; Chen, Z.N. A Control Strategy for Hybrid Energy Storage Systems. Proc. CSEE 2012, 32, 1–6. [Google Scholar]
- Wei, L.; Joos, G. Performance Comparison of Aggregated and Distributed Energy Storage Systems in a Wind Farm for Wind Power Fluctuation Suppression. In Proceedings of the Power Engineering Society General Meeting, Tampa, FL, USA, 24–28 June 2007; pp. 1–6.
- Liang, L.; Li, J.L.; Hui, D. Optimization Configuration for Capacity of Energy Storage System in Large scale Wind Farm. High Volt. Eng. 2011, 37, 930–936. [Google Scholar]
- Cheng, S.; Zhao, L.L.; Jiang, X.Y. An Effective Application of Bacteria Quorum Sensing and Circular Elimination in MOPSO. IEEE/ACM Trans. Comput. Biol. Bioinform. 2016, 13, 1–8. [Google Scholar] [CrossRef] [PubMed]
- Xie, S.Y.; Yang, N.; Li, L.N. A Chance Constrained Programming Based Optimal Configuration Method of Hybrid Energy Storage System. Power Syst. Technol. 2012, 36, 79–84. [Google Scholar]
- Alonso, M.; Amaris, H.; Alvarez-Ortega, C. A multiobjective approach for reactive power planning in networks with wind power generation. Renew. Energy 2013, 37, 180–191. [Google Scholar] [CrossRef]
- Burke, E.; Kendall, G. Search methodologies: Introductory Tutorials in Optimization and Decision Support Techniques. Sci. Bus. 2005, 58, 409–410. [Google Scholar]
- Ross, M.; Hidalgo, R.; Abbey, C. Analysis of Energy Storage sizing and technologies. In Proceedings of the Electric Power and Energy Conference, Halifax, NS, Canada, 25–27 August 2010; pp. 1–6.
- Liu, F.C.; Liu, J.J.; Zhou, L.Y. A novel control strategy for hybrid energy storage system to relieve battery stress. In Proceedings of the IEEE International Symposium on Power Electronics for Distributed Generation Systems, Hefei, China, 16–18 June 2010; pp. 929–934.
© 2017 by the authors. Licensee MDPI, Basel, Switzerland. This article is an open access article distributed under the terms and conditions of the Creative Commons Attribution (CC BY) license ( http://creativecommons.org/licenses/by/4.0/).






