A Psychoacoustic Investigation on the Effect of External Shading Devices on Building Facades
Abstract
:1. Introduction and Objectives
2. Methodology
2.1. Experimental Set-Up
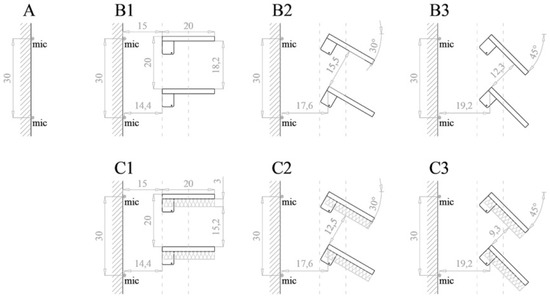
2.1.1. Model of the Shading System
2.1.2. Sound Source, Excitation Signals and Microphone Grid
2.2. Parameters Selection: SPL and Psychoacoustics Parameters
2.2.1. Sound Pressure Levels
2.2.2. Loudness
2.2.3. Roughness
2.2.4. Sharpness
2.3. Experimental Measurements and Data Analysis
2.3.1. Measurement Procedure
2.3.2. Convolution Process and Analysis of the Differences of the Studied Values
3. Results and Discussion
3.1. Average Variations of Loudness, Roughness, Sharpness and Sound Pressure Level over the Building Facade
3.1.1. Average Loudness Differences: Traditional versus Sound Absorbing Louvres
3.1.2. Average Roughness Differences: Traditional versus Sound Absorbing Louvres
3.1.3. Average Sharpness Differences: Traditional versus Sound Absorbing Louvres
3.1.4. Average SPL Differences: Traditional versus Sound Absorbing Louvres
3.2. Analysis of Variance: Significance and Fixed Factors Effects
3.2.1. Analysis of Variance and Effect of Size of the Loudness Comparisons
3.2.2. Analysis of Variance and Effect of Size of the Roughness Comparisons
3.2.3. Analysis of Variance and Effect of Size of the Sharpness Comparisons
3.2.4. Analysis of Variance and Effect of Size of the SPL Comparisons
4. Summary and Conclusions
Acknowledgments
Author Contributions
Conflicts of Interest
Appendix A
| ANOVA Fixed Factors | Dependent Variable: Differences in Loudness Levels | |
|---|---|---|
| Traditional Louvres | Sound Abs. Louvres | |
| Sound Source Position (p.n.) | F(2, 99) = 20, p = 5.07 × 10−8, ηp2 = 0.29 | F(2, 99) = 157.22, p = 1.87 × 10−31, ηp2 = 0.76 | 
| Sound Source Position (traf.) | F(2, 99) = 16.75, p = 5.43 × 10−7, ηp2 = 0.25 | F(2, 99) = 159.88, p = 9.93 × 10−32, ηp2 = 0.76 | 
| Louvres Tilt Angle (p.n.) | F(2, 99) = 33.11, p = 9.76 × 10−12, ηp2 = 0.40 | F(2, 99) = 65.67, p = 7.01 × 10−19, ηp2 = 0.57 | 
| Louvres Tilt Angle (traf.) | F(2, 99) = 35.96, p = 1.83 × 10−12, ηp2 = 0.42 | F(2, 99) = 152.59, p = 2.82 × 10−19, ηp2 = 0.58 | 
| Factors Interaction (p.n.) | F(4, 99) = 1.51, p = 0.20, ηp2 = 0.06 | F(4, 99) = 2.27, p = 0.07, ηp2 = 0.08 | 
| Factors Interaction (traf.) | F(4, 99) = 2.23, p = 0.07, ηp2 = 0.08 | F(4, 99) = 4.20, p = 0.12, ηp2 = 0.07 | 
| ANOVA Fixed Factors | Dependent Variable: Differences in Roughness | |
|---|---|---|
| Traditional Louvres | Sound Abs. Louvres | |
| Sound Source Position (p.n.) | F(2, 99) = 4.04, p = 0.021, ηp2 = 0.075 | F(2, 99) = 8.59, p = 3.63 × 10−4, ηp2 = 0.148 | 
| Sound Source Position (traf.) | F(2, 99) = 3.13, p = 0.048, ηp2 = 0.06 | F(2, 99) = 162.48, p = 5.39 × 10−32, ηp2 = 0.77 | 
| Louvres Tilt Angle (p.n.) | F(2, 99) = 44.86, p = 1.35 × 10−14, ηp2 = 0.475 | F(2, 99) = 1.066, p = 0.35, ηp2 = 0.021 | 
| Louvres Tilt Angle (traf.) | F(2, 99) = 38.14, p = 5.23 × 10−13, ηp2 = 0.43 | F(2, 99) = 66.13, p = 5.77 × 10−19, ηp2 = 0.57 | 
| Factors Interaction (p.n.) | F(4, 99) = 5.10, p = 0.001, ηp2 = 0.171 | F(4, 99) = 0.09, p = 0.98, ηp2 = 0.04 | 
| Factors Interaction (traf.) | F(4, 99) = 6.65, p = 8.81 × 10−5, ηp2 = 0.21 | F(4, 99) = 4.10, p = 0.004, ηp2 = 0.14 | 
| ANOVA Fixed Factors | Dependent Variable: Differences in Sharpness | |
|---|---|---|
| Traditional Louvres | Sound Abs. Louvres | |
| Sound Source Position (p.n.) | F(2, 99) = 23.19, p = 5.47 × 10−9, ηp2 = 0.32 | F(2, 99) = 12.2, p = 1.84 × 10−5, ηp2 = 0.198 | 
| Sound Source Position (traf.) | F(2, 99) = 22.13, p = 1.14 × 10−8, ηp2 = 0.31 | F(2, 99) = 15.00, p =1.91 × 106, ηp2 = 0.23 | 
| Louvres Tilt Angle (p.n.) | F(2, 99) = 26.26, p = 7.07 × 10−10, ηp2 = 0.35 | F(2, 99) = 3.22, p = 0.04, ηp2 = 0.06 | 
| Louvres Tilt Angle (traf.) | F(2, 99) = 15.48, p = 1.41 × 10−6, ηp2 = 0.24 | F(2, 99) = 9.87, p = 1.20 × 10−4, ηp2 = 0.16 | 
| Factors Interaction (p.n.) | F(4, 99) = 2.92, p = 0.02, ηp2 = 0.10 | F(4, 99) = 1.47, p = 0.21, ηp2 = 0.06 | 
| Factors Interaction (traf.) | F(4, 99) = 0.59, p = 0.67, ηp2 = 0.02 | F(4, 99) = 1.08, p = 0.37, ηp2 = 0.04 | 
| ANOVA Fixed Factors | Dependent Variable: Differences in Sound Pressure Levels | |
|---|---|---|
| Traditional Louvres | Sound Abs. Louvres | |
| Sound Source Position | F(2, 99) = 47.58, p = 3.31 × 10−15, ηp2 = 0.49 | F(2, 99) = 64.67, p =1.07 × 10−18, ηp2 = 0.57 | 
| Louvres Tilt Angle | F(2, 99) = 11.91, p = 2.32 × 10−5, ηp2 = 0.19 | F(2, 99) = 26.53, p = 5.93E−10, ηp2 = 0.35 | 
| Factors Interaction | F(4, 99) = 0.46, p = 0.77, ηp2 = 0.02 | F(4, 99) = 0.11, p = 0.98, ηp2 = 0.005 | 
References
- Fritschi, L.; Brown, A.L.; Kim, R.; Schwela, D.; Kephalopolous, S. Burden of Disease from Environmental Noise—Quantification of Healthy Life Years Lost in Europe; The World Health Organization, Regional Office for Europe: Copenhagen, Denmark, 2011. [Google Scholar]
- Grubesa, S.; Jambrosic, K.; Domitrovic, H. Noise barriers with varying cross-section optimized by genetic algorithms. Appl. Acoust. 2012, 73, 1129–1137. [Google Scholar] [CrossRef]
- Koussa, F.; Defrance, J.; Jean, P.; Blanc-Benon, P. Acoustic performance of gabions noise barriers: Numerical and experimental approaches. Appl. Acoust. 2013, 74, 189–197. [Google Scholar] [CrossRef]
- Oldham, D.J.; Egan, C.A. A parametric investigation of the performance of multiple edge highway noise barriers and proposals for design guidance. Appl. Acoust. 2015, 96, 139–152. [Google Scholar] [CrossRef]
- Van Renterghem, T.; Attenborough, K.; Maennel, M.; Defrance, J.; Horoshenkov, K.; Kang, J.; Bashir, I.; Taherzadeh, S.; Altreuther, B.; Khan, A.; et al. Measured light vehicle noise reduction by hedges. Appl. Acoust. 2014, 78, 19–27. [Google Scholar] [CrossRef]
- Van Renterghem, T.; Forssen, J.; Attenborough, K.; Jean, P.; Defrance, J.; Hornikx, M.; Kang, J. Using natural means to reduce surface transport noise during propagation outdoors. Appl. Acoust. 2015, 92, 86–101. [Google Scholar] [CrossRef]
- Hosanna—Greener-Cities. Available online: www.greener-cities.eu (accessed on 14 September 2016).
- Tang, S.K. Noise screening effects of balconies on a building facade. J. Acoust. Soc. Am. 2005, 118, 213–221. [Google Scholar] [CrossRef] [PubMed]
- El Dien, H.H.; Woloszyn, P. The acoustical influence of balcony depth and parapet form: Experiments and simulations. Appl. Acoust. 2005, 66, 533–551. [Google Scholar] [CrossRef]
- Lee, P.J.; Kim, Y.H.; Jeon, J.Y.; Song, K.D. Effects of apartment building facade and balcony design on the reduction of exterior noise. Build. Environ. 2007, 42, 3517–3528. [Google Scholar] [CrossRef]
- Busa, L.; Secchi, S.; Baldini, S. Effect of Facade Shape for the Acoustic Protection of Buildings. Build. Acoust. 2010, 17, 317–338. [Google Scholar] [CrossRef]
- Ishizuka, T.; Fujiwara, K. Full-scale tests of reflective noise-reducing devices for balconies on high-rise buildings. J. Acoust. Soc. Am. 2013, 134, 185–190. [Google Scholar] [CrossRef] [PubMed]
- Tang, S.K.; Ho, C.Y.; Tso, T.Y. Insertion losses of balconies on a building facade and the underlying wave interactions. J. Acoust. Soc. Am. 2014, 136, 213–225. [Google Scholar] [CrossRef] [PubMed]
- Kang, J.; Brocklesby, M.W. Feasibility of applying micro-perforated absorbers in acoustic window systems. Appl. Acoust. 2005, 66, 669–689. [Google Scholar] [CrossRef]
- Tong, Y.G.; Tang, S.K. Plenum window insertion loss in the presence of a line source—A scale model study. J. Acoust. Soc. Am. 2013, 133, 1458–1467. [Google Scholar] [CrossRef] [PubMed]
- Tong, Y.G.; Tang, S.K.; Kang, J.; Fung, A.; Yeung, M.K.L. Full scale field study of sound transmission across plenum windows. Appl. Acoust. 2015, 89, 244–253. [Google Scholar] [CrossRef]
- Cellai, G.; Carletti, C.; Sciurpi, F.; Secchi, S. Transparent Building Envelope: Windows and Shading Devices Typologies for Energy Efficiency Refurbishments. In Building Refurbishment for Energy Performance, Green Energy and Technology; Magrini, A., Ed.; Springer: Cham, Switzerland, 2014; pp. 61–118. [Google Scholar]
- Secchi, S.; Sciurpi, F.; Pierangioli, L.; Randazzo, M. Retrofit strategies for the improvement of visual comfort and energy performance of classrooms with large windows exposed to East. Energy Procedia 2015, 78, 3144–3149. [Google Scholar] [CrossRef]
- Yun, G.; Yoon, K.C.; Kim, K.S. The influence of shading control strategies on the visual comfort and energy demand of office buildings. Energy Build. 2014, 84, 70–85. [Google Scholar] [CrossRef]
- Cho, J.; Yoo, C.; Kim, Y. Viability of exterior shading devices for high-rise residential buildings: Case study for cooling energy saving and economic feasibility analysis. Energy Build. 2014, 82, 771–785. [Google Scholar] [CrossRef]
- Sakamoto, S.; Aoki, A. Numerical and experimental study on noise shielding effect of eaves/louvers attached on building façade. Build. Environ. 2015, 94, 773–784. [Google Scholar] [CrossRef]
- Zuccherini Martello, N.; Fausti, P.; Santoni, A.; Secchi, S. The Use of Sound Absorbing Shading Systems for the Attenuation of Noise on Building Facades. An Experimental Investigation. Buildings 2015, 5, 1346–1360. [Google Scholar] [CrossRef]
- Zuccherini Martello, N.; Fausti, P.; Secchi, S. Acoustic Measurements on a 1:1 Scale Model of a Shading System for Building Facade in a Semi-Anechoic Chamber. In Proceedings of the Inter-Noise 2016, Hamburg, Germany, 21–24 August 2016; pp. 3813–3824.
- Genuit, K.; Fiebig, A. Prediction of psychacoustic paramenters. In Proceedings of the Noise-Con 2005, Minneapolis, MN, USA, 17–19 October 2005.
- Salomons, E.M.; Janssen, S.A. Practical Ranges of Loudness Levels of Various Types of Environmental Noise, Including Traffic Noise, Aircraft Noise, and Industrial Noise. Int. J. Environ. Res. Public Health 2011, 8, 1847–1864. [Google Scholar] [CrossRef] [PubMed]
- Sottek, R.; Genuit, K. Models of signal processing in human hearing. AEU—Int. J. Electron. Commun. 2005, 59, 157–165. [Google Scholar] [CrossRef]
- Neubauer, R.O.; Kang, J. Airborne sound insulation in terms of a loudness model. Appl. Acoust. 2014, 85, 34–45. [Google Scholar] [CrossRef]
- ISO 16283-1:2014. Acoustics—Field Measurement of Sound Insulation in Buildings and of Building Elements—Part 1: Airborne Sound Insulation; International Organization for Standardization: Geneva, Switzerland, 2014. [Google Scholar]
- Fastl, H.; Zwicker, E. Psychoacoustics: Facts and Models, 3rd ed.; Springer: Berlin, Germany, 2007. [Google Scholar]
- ISO 3745:2012. Acoustics—Determination of Sound Power Levels and Sound Energy Levels of Noise Sources Using Sound Pressure--Precision Methods for Anechoic Rooms and Hemi-Anechoic Rooms; International Organization for Standardization: Geneva, Switzerland, 2012. [Google Scholar]
- ISO 10534-2:1998. Acoustics—Determination of Sound Absorption Coefficient and Impedance in Impedance Tubes—Part 2: Transfer-Function Method; International Organization for Standardization: Geneva, Switzerland, 1998. [Google Scholar]
- ISO 16283-3:2016. Acoustics—Field Measurement of Sound Insulation in Buildings and of Building Elements—Part 3: Façade Sound Insulation; International Organization for Standardization: Geneva, Switzerland, 2016. [Google Scholar]
- DIN 45631:1991. Procedure for Calculating Loudness Level and Loudness; Deutsches Institut für Normung: Berlin, Germany, 1991. [Google Scholar]
- DIN 45692:2009. Measurement Technique for the Simulation of the Auditory Sensation of Sharpness; Deutsches Institut für Normung: Berlin, Germany, 2009. [Google Scholar]
- Aures, W. Berechnungsverfahren fur den sensorischen Wohlklang beliebiger Schallsignale (A model for Calculating the Sensory Euphony of Various Sounds). Acustica 1985, 59, 130–141. [Google Scholar]
- EN 1793-3:1997. Acoustics—Road Traffic Noise Reducing Devices. Test Method for Determining the Acoustic Performance. Part 3: Normalized Traffic Noise Spectrum; European Committee for Standardization: Bruxelles, Belgium, 1997. [Google Scholar]











| ANOVA Fixed Factors | Δ in Loudness Levels | Δ in Roughness | Δ in Sharpness | Δ in SPL | ||||
|---|---|---|---|---|---|---|---|---|
| p.n. | traf. | p.n. | traf. | p.n. | traf. | - | ||
| Traditional Louvres | Sound source pos. | p < 0.001 | p < 0.001 | 0.021 | 0.048 | p < 0.001 | p < 0.001 | p < 0.001 | 
| Louvres tilt angle | p < 0.001 | p < 0.001 | p < 0.001 | p < 0.001 | p < 0.001 | p < 0.001 | p < 0.001 | |
| Interaction | 0.205 | 0.071 | 0.001 | p < 0.001 | 0.025 | 0.668 | 0.766 | |
| Sound Absorbing Louvres | Sound source pos. | p < 0.001 | p < 0.001 | p < 0.001 | p < 0.001 | p < 0.001 | p < 0.001 | p < 0.001 | 
| Louvres tilt angle | p < 0.001 | p < 0.001 | 0.348 | p < 0.001 | 0.044 | p < 0.001 | p < 0.001 | |
| Interaction | 0.067 | 0.123 | 0.985 | 0.004 | 0.215 | 0.369 | 0.977 | |
© 2016 by the authors; licensee MDPI, Basel, Switzerland. This article is an open access article distributed under the terms and conditions of the Creative Commons Attribution (CC-BY) license (http://creativecommons.org/licenses/by/4.0/).
Share and Cite
Zuccherini Martello, N.; Aletta, F.; Fausti, P.; Kang, J.; Secchi, S. A Psychoacoustic Investigation on the Effect of External Shading Devices on Building Facades. Appl. Sci. 2016, 6, 429. https://doi.org/10.3390/app6120429
Zuccherini Martello N, Aletta F, Fausti P, Kang J, Secchi S. A Psychoacoustic Investigation on the Effect of External Shading Devices on Building Facades. Applied Sciences. 2016; 6(12):429. https://doi.org/10.3390/app6120429
Chicago/Turabian StyleZuccherini Martello, Nicolò, Francesco Aletta, Patrizio Fausti, Jian Kang, and Simone Secchi. 2016. "A Psychoacoustic Investigation on the Effect of External Shading Devices on Building Facades" Applied Sciences 6, no. 12: 429. https://doi.org/10.3390/app6120429
APA StyleZuccherini Martello, N., Aletta, F., Fausti, P., Kang, J., & Secchi, S. (2016). A Psychoacoustic Investigation on the Effect of External Shading Devices on Building Facades. Applied Sciences, 6(12), 429. https://doi.org/10.3390/app6120429
 
         
                                                




 
       