Instability and Atomization of Liquid Cylinders after Shock Wave’s Impacting
Abstract
1. Introduction
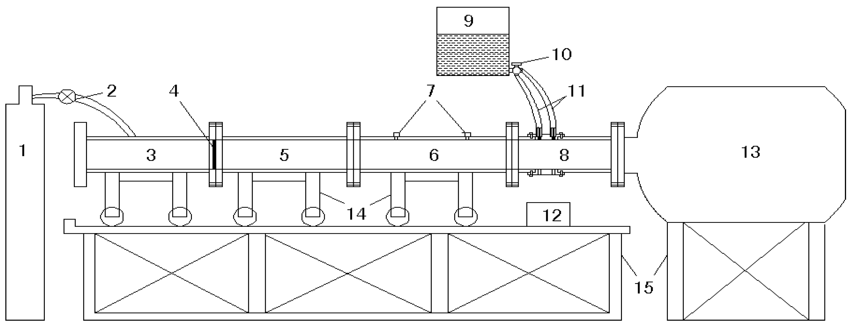
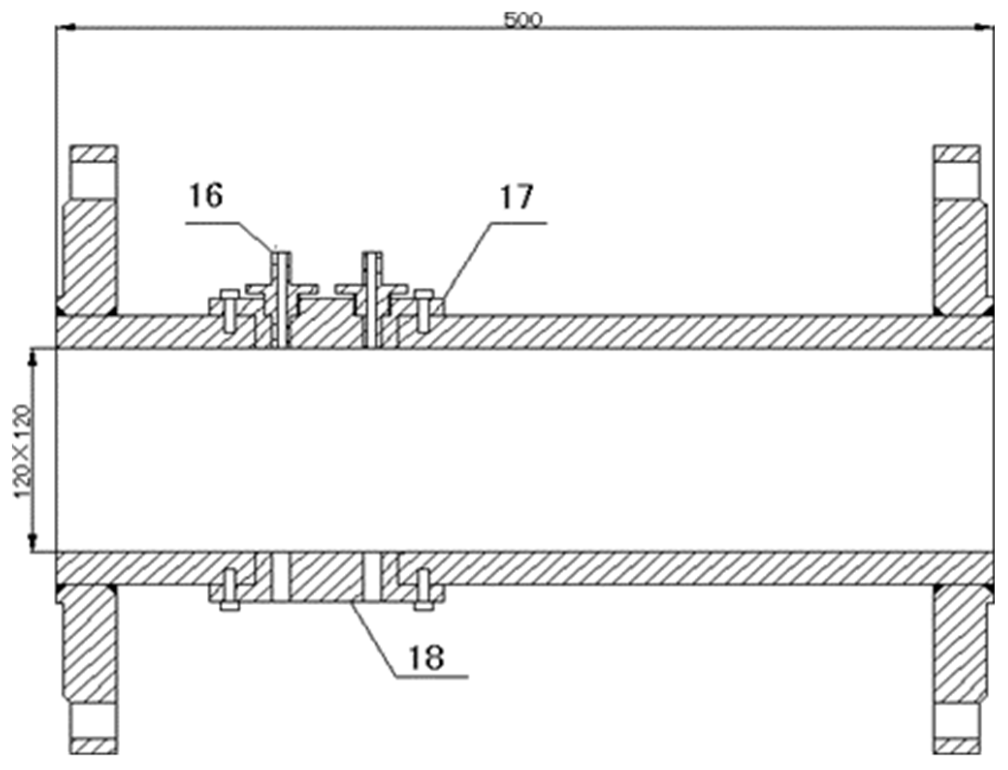
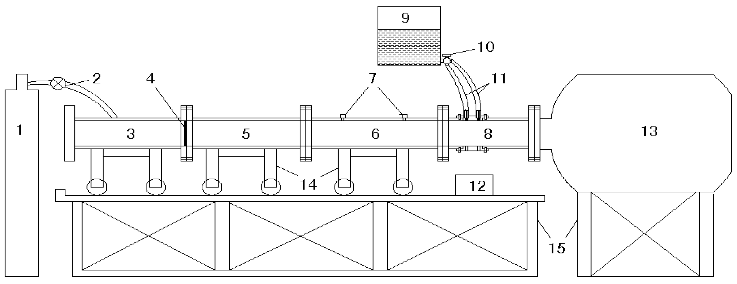
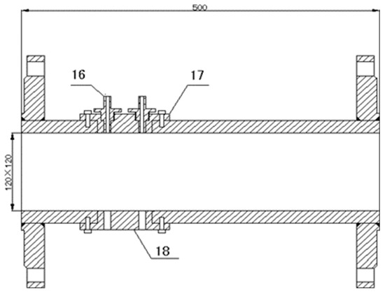
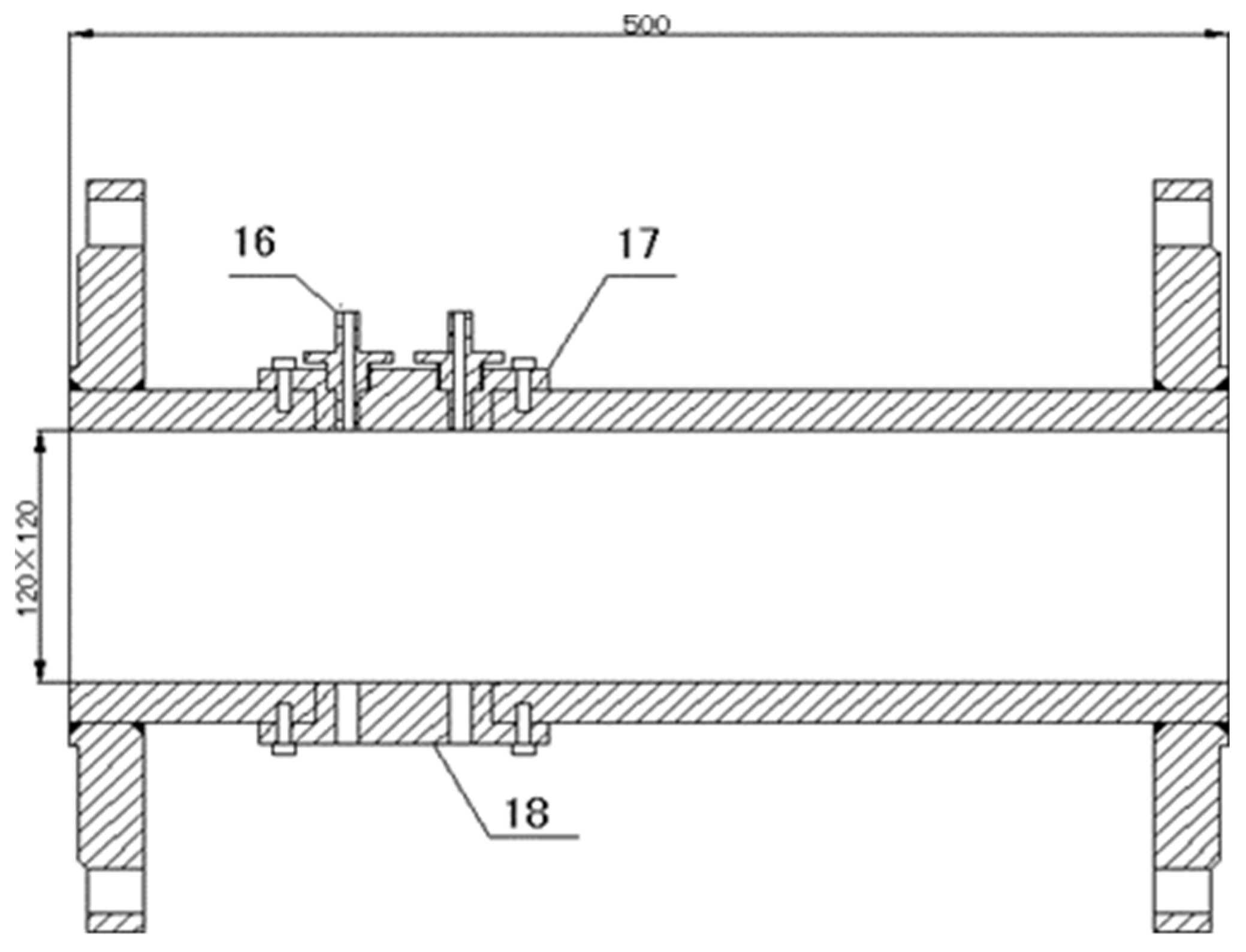
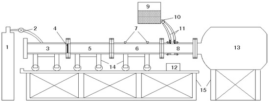
2. Experimental Devices
3. Results and Discussion
4. Conclusions
Author Contributions
Funding
Institutional Review Board Statement
Informed Consent Statement
Data Availability Statement
Conflicts of Interest
References
- Hermanson, J.C.; Papas, P.; Kay, I.W. Structure and penetration of a supercritical fluid jet in supersonic flow. J. Propuls. Power 1994, 10, 387–394. [Google Scholar] [CrossRef]
- Li, H.-S.; Kelly, R.E. The instability of a liquid jet in a compressible airstream. Phys. Fluids A 1992, 4, 2162–2168. [Google Scholar] [CrossRef]
- Li, H.-S.; Karagozian, A.R. Breakup of liquid jet in supersonic crossflow. AIAA J. 1992, 30, 1919–1921. [Google Scholar] [CrossRef]
- Meekunnasombat, P.; Oakley, J.G.; Anderson, M.H.; Bonazza, R. Experimental study of shock-accelerated liquid layers. Shock Waves 2006, 15, 383–397. [Google Scholar] [CrossRef]
- Shi, H.H.; Zhang, G.; Du, K.; Jia, H.X. Experimental study of the mechanism of Richtmyer-Meshkov instability at a gas/liquid interface. J. Hydrodyn. Ser. B 2009, 21, 423–428. [Google Scholar] [CrossRef]
- Mikaelian, K.O. Extended model for Richtmyer-Meshkov mix. Phys. D Nonlinear Phenom. 2011, 240, 935–942. [Google Scholar] [CrossRef]
- Gordon, G.D. Mechanism and speed of breakup of drops. J. Appl. Phys. 1959, 20, 1759–1761. [Google Scholar] [CrossRef]
- Wierzba, A.; Takayama, K. Experimental investigation of aerodynamic breakup of liquid drops. AIAA J. 1998, 26, 1329–1335. [Google Scholar] [CrossRef]
- Hisang, L.P.; Faeth, G. Near-limit drop deformation and secondary breakup. Int. J. Multiph. Flow 1992, 18, 635–652. [Google Scholar] [CrossRef]
- Hisang, L.P.; Faeth, G. Drop deformation and breakup due to shock wave and steady disturbances. Int. J. Multiph. Flow 1995, 21, 545–560. [Google Scholar] [CrossRef]
- Igra, D.; Takayama, K. Numerical simulation of shock wave interaction with a water column. Shock Waves 2001, 11, 219–228. [Google Scholar] [CrossRef]
- Chen, H.; Liang, S.M. Flow visualization of shock/water column interactions. Shock Waves 2008, 17, 309–321. [Google Scholar] [CrossRef]
- Wang, C.; Wu, Y.; Shi, H.H.; Xiao, Y. Breakup process of a droplet under the impact of a shock wave. Explos. Shock Waves 2016, 36, 1775–1779. (In Chinese) [Google Scholar]
- Rossano, V.; De Stefano, G. Computational evaluation of shock wave interaction with a cylindrical water column. Appl. Sci. 2021, 11, 4934. [Google Scholar] [CrossRef]
- Rossano, V.; Cittadini, A.; De Stefano, G. Computational evaluation of shock wave interaction with a liquid droplet. Appl. Sci. 2022, 12, 1349. [Google Scholar] [CrossRef]
- Rossano, V.; De Stefano, G. Hybrid VOF–Lagrangian CFD Modeling of Droplet Aerobreakup. Appl. Sci. 2022, 12, 8302. [Google Scholar] [CrossRef]
- Chen, H. Two-dimensional simulation of stripping breakup of a water droplet. AIAA J. 2008, 46, 1135–1143. [Google Scholar] [CrossRef]
- Ben, G.; Yao, L.; Yung, W.C.; Hua, S. Numerical Study on Liquid Droplet Internal Flow Under Shock Impact. AIAA J. 2018, 56, 9. [Google Scholar]
- Sharma, S.; Singh, A.P.; Rao, S.S.; Kumar, A.; Basu, S. Shock induced aerobreakup of a droplet. J. Fluid Mech. 2021, 929, A27. [Google Scholar] [CrossRef]
- Igra, D.; Takayama, K. Investigation of aerodynamic breakup of a cylindrical water droplet. At. Spary 2001, 11, 167–185. [Google Scholar]
- Sembian, S.; Liverts, M.; Tillmark, N.; Apazidis, N. Plane shock wave interaction with a cylindrical water column. Phys. Fluids 2016, 28, 056102. [Google Scholar] [CrossRef]
- Xu, J.; Wang, H.; Feng, L.; Zhai, Z.; Luo, X. Interaction of a shock with two concentric/eccentric cylinders. Exp. Fluids 2021, 62, 1–12. [Google Scholar] [CrossRef]
- Shi, H.H.; Xiao, Y.; Wu, Y. A Device Applied for the Interaction between Shock Waves and Various Shapes’ Liquids. Chinese Patent No. ZL201220233805.7, 23 May 2012. (In Chinese). [Google Scholar]
- Xiao, Y.; Shi, H.H.; Wu, Y.; Wang, C.; Zhang, L.T.; Dong, R.L. Experimental study of the shock-induced acceleration and breakup of liquid droplets. In Proceedings of the 29th lnternational Symposium on Shock Waves, CD-ROM, Paper No. 0246-000071. Madison, WI, USA, 14–19 July 2013. [Google Scholar]
- Shi, H.H.; Xiao, Y.; Wu, Y.; Zhang, L.T.; Wang, C.; Dong, R.L. Experimental study of the Richtmyer−Meshkov instability in the interaction of shock waves with liquid column. J. Eng. Thermophys. 2014, 35, 1775–1779. (In Chinese) [Google Scholar]
- Zhang, K. The Mechanism of Liquid Columns’ Deformation and Breakup Process under the Action of Shock Wave. Master’s Thesis, Zhejiang Sci-Tech University, Hangzhou, China, 2015. (In Chinese). [Google Scholar]
- Shi, H.H.; Wang, T.Y.; Liu, J.H.; Zhang, K.; Dong, R.L.; Zhang, Y.B. Research on deformation and breakup of multiple liquid cylinders after the impact by shock waves. J. Eng. Thermophys. 2020, 41, 1931–1939. (In Chinese) [Google Scholar]
- Richtmyer, R.D. Taylor instability in shock acceleration of compressible fluids. Commun. Pure Appl. Math. 1960, 13, 297–319. [Google Scholar] [CrossRef]
- Alon, U.; Hecht, J.; Ofer, D.; Shvarts, D. Power laws and similarity of Rayleigh-Taylor and Richtmyer-Meshkov mixing fronts at all density ratios. Phys. Rev. Lett. 1995, 74, 534–537. [Google Scholar] [CrossRef] [PubMed]










Publisher’s Note: MDPI stays neutral with regard to jurisdictional claims in published maps and institutional affiliations. |
© 2022 by the authors. Licensee MDPI, Basel, Switzerland. This article is an open access article distributed under the terms and conditions of the Creative Commons Attribution (CC BY) license (https://creativecommons.org/licenses/by/4.0/).
Share and Cite
Chen, C.-Y.; Dong, R.-L.; Shi, H.-H.; Liu, Y. Instability and Atomization of Liquid Cylinders after Shock Wave’s Impacting. Appl. Sci. 2022, 12, 12597. https://doi.org/10.3390/app122412597
Chen C-Y, Dong R-L, Shi H-H, Liu Y. Instability and Atomization of Liquid Cylinders after Shock Wave’s Impacting. Applied Sciences. 2022; 12(24):12597. https://doi.org/10.3390/app122412597
Chicago/Turabian StyleChen, Chen-Yuan, Ruo-Ling Dong, Hong-Hui Shi, and Yi Liu. 2022. "Instability and Atomization of Liquid Cylinders after Shock Wave’s Impacting" Applied Sciences 12, no. 24: 12597. https://doi.org/10.3390/app122412597
APA StyleChen, C.-Y., Dong, R.-L., Shi, H.-H., & Liu, Y. (2022). Instability and Atomization of Liquid Cylinders after Shock Wave’s Impacting. Applied Sciences, 12(24), 12597. https://doi.org/10.3390/app122412597

