Research on Seeding Performance of Self-Propelled Industrial Hemp Seeder
Abstract
:1. Introduction
2. Structural Principle and Design Requirements
2.1. Structure of Machine and Seed Metering Device
2.2. Seeding Mechanism
2.3. Metering Quantity Requirement
3. Parameter Design and Analysis of Critical Components of Seed Metering Device
3.1. Basic Parameters of Industrial Hemp Seeds
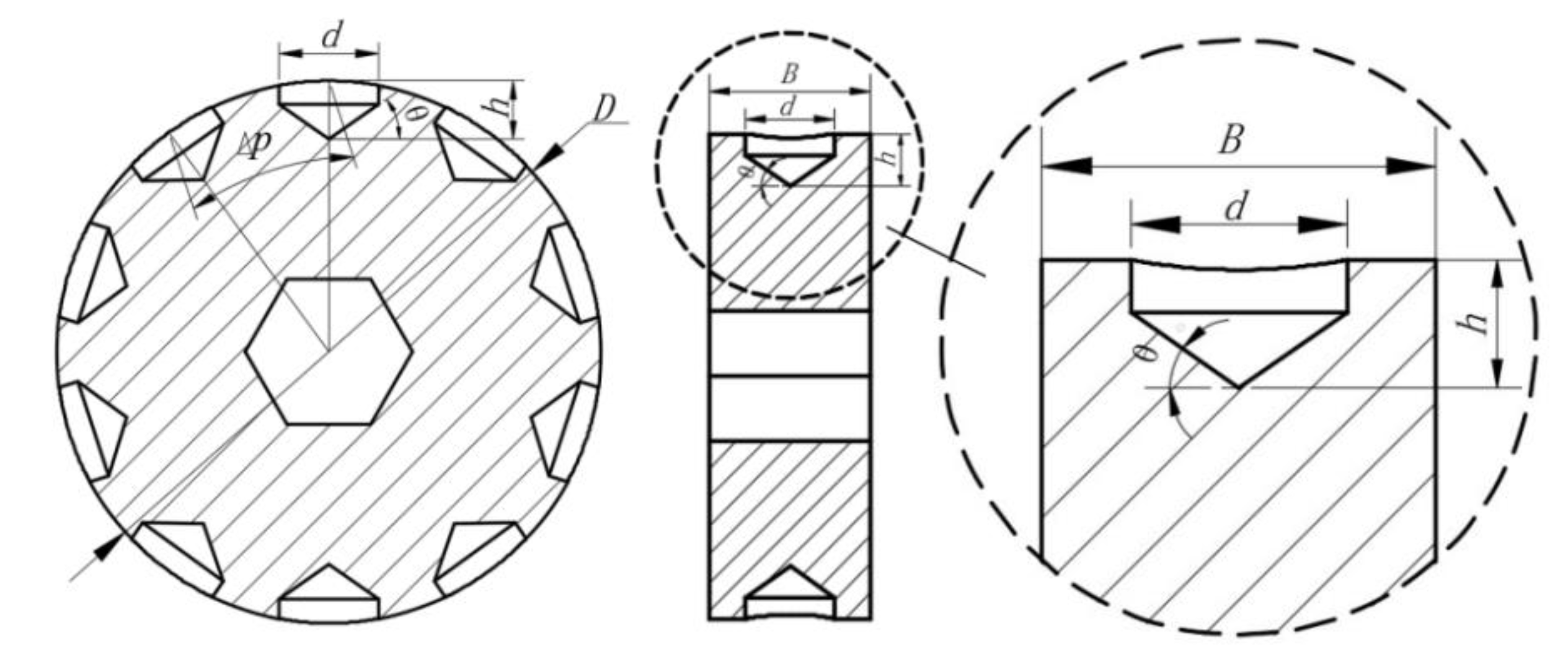
3.2. Parameter Design of the Metering Wheel
3.2.1. Diameter of Metering Wheel
3.2.2. Hole Design
3.2.3. Speed of Seeding Wheel
3.2.4. Seed Cleaning Process Analysis
3.2.5. Analysis of the Process of Seed Protection and Seed Arrangement
4. Test and Verification of Seed Metering Device
4.1. Test Purpose
4.2. Test Equipment and Materials
4.2.1. Parameter Optimization Test
4.2.2. Parameter Optimization Test
4.3. Evaluation Indicators
4.4. Single Factor Test Results
4.4.1. Effect of the Rotational Speed of the Metering Wheel on Each Index
4.4.2. Effect of Hole Diameter on Each Index
4.4.3. Effect of Hole Depth on Each Index
4.5. Multi-Factor Test
4.5.1. Test Results and Regression Model Establishment
- (1)
- The regression equation of variation coefficient Y1 of seeding uniformity is:
- (2)
- The regression equation of the consistency coefficient Y2 of each row after excluding the insignificant indigenous term is:
4.5.2. Effect of Interaction among Factors on Test Indexes
- (1)
- Effect of interaction on variation coefficient of seeding uniformity
- (2)
- Effect of interaction on the coefficient of variation for consistency of seed quantity in each row
4.5.3. The Field Test
5. Conclusions
- According to the planting mode of industrial hemp for fiber in hilly and mountainous areas, the design of the industrial hemp seed metering device was carried out around the self-propelled industrial hemp seeder. The power chassis system drove the power input seeding and fertilization system to drive the rotation of the metering wheel so that the industrial hemp seeds in the hole of the metering wheel were dropped to the ditch by gravity after passing through the seed protection plate to complete the seeding operation. Through theoretical analysis, the structural parameters and structural parameters of the seed metering wheel are determined.
- We took the rotation speed of the seeding wheel, the depth of the seeding hole, and the diameter of the seeding hole as the test factors, and the variation coefficient of seed metering uniformity and seed metering quantity as the evaluation indexes. The value range of each factor was determined when the seed metering device met the total seeding quantity of 57.6~62.4 kg/hm2. We used the quadratic orthogonal rotating center combination test with three factors and three levels and carried out a regression analysis on the test results. The test results showed that: the seeding wheel speed had a significant impact on the seeding uniformity and the line displacement consistency coefficient.
- To optimize the structural and operational parameters of the wheel setter, we used Design-Expert 11.0 for optimization analysis. When the operating speed of the seeder was 4.7 km/h, the speed of the seed row wheel is 90.0 r/min, the diameter of the hole is 10.4 mm, and the depth of the hole is 6.4 mm in the optimal parameter group. At this time, the coefficient of variation of seed row uniformity was 3.66% and the coefficient of consistency of row displacement was 0.78%, both of which were better than the industry standard.
- In order to verify the practical application effect of the planter, we carried out field experiments on the optimized seeder. The results showed that the average variation coefficient of the actual seeding uniformity was 6.19%. The average coefficient of variation for consistency of seed quantity in each row displacement was 3.44%, which was much less than 8.0%, and the seeding performance was essentially consistent with the optimization results. The self-walking industrial hemp seeder could satisfy the design requirements and effectively improve the cultivation efficiency of fiber industrial hemp in mountainous areas and solve the problem of heavy labor intensity in artificial planting.
Author Contributions
Funding
Institutional Review Board Statement
Informed Consent Statement
Data Availability Statement
Conflicts of Interest
References
- Manaia, J.P.; Manaia, A.T.; Rodriges, L. Industrial hemp fibers: An Overview. Fibers 2019, 7, 106. [Google Scholar] [CrossRef]
- Cherney, J.H.; Small, E. Industrial hemp in north America: Production, Politics and Potential. Agronomy 2016, 6, 58. [Google Scholar] [CrossRef]
- Xiang, W.; Ma, L.; Liu, J.J.; Yan, B.; Duan, Y.P.; Hu, Y.; Lyu, J.N. Review on technology and equipment of mechanization for industrial hemp in China. Plant Fiber Sci. China. 2021, 43, 320–332. [Google Scholar]
- Wang, Y.F.; Qiu, C.S.; Hao, D.M.; Chen, X.B.; Long, S.H.; Deng, X.; Yu, W.J.; Jia, W.Q. Production status and developmental direction of hemp in China. Modern Agricl. Sci. Tech. 2009, 23, 84–86. [Google Scholar]
- Su, F.F.; Yang, G.; Zheng, Y.G. Industrial hemp cultivation and breeding research on the current situation. Chin. J. Trad. Chin. Med. 2022, 47, 1190–1195. [Google Scholar]
- Lyu, J.N.; Ma, L.; Liu, J.J.; Long, C.H.; Zhou, W. The investigation on the development of industrial hemp and its harvesting machinery of Hei Long Jiang province. Chin. Hemp. Sci. 2017, 39, 94–102. [Google Scholar]
- Jiang, S.; Wang, Q.; Zhong, G.; Tong, Z.; Wang, X.; Xu, J. Brief review of minimum or no-till seeders in china. Agric. Eng. 2021, 3, 605–621. [Google Scholar] [CrossRef]
- Kamgar, S.; Noei-Khodabadi, F.; Shafaei, S.M. Design, development and field assessment of a controlled seed metering unit to be used in grain drills for direct seeding of wheat. Inf. Process. Agric. 2015, 2, 169–176. [Google Scholar] [CrossRef]
- Li, H.; Liu, H.; Zhou, J.; Wei, G.; Shi, S.; Zhang, X.; Zhang, R.; Zhu, H.; He, T. Development and first results of a no-till pneumatic seeder for maize precise sowing in huang-huai-hai plain of China. Agriculture 2021, 11, 1023. [Google Scholar] [CrossRef]
- Wu, M.L.; Guan, C.Y.; Gao, X.Y.; Luo, X. Test on limit turning speed of eccentric round hole-wheel seed meter for rape. Trans. Chin. Soc. Agric. Engin. 2010, 26, 119–123. [Google Scholar]
- Liao, Q.X.; Lei, X.L.; Liao, Y.T.; Ding, Y.; Zhang, Q.; Wang, L. Research progress of precision seeding for rapeseed. Chin. Soc. Agric. Mach. 2017, 48, 1–16. [Google Scholar]
- Yang, L.; Yan, B.X.; Zhang, D.X.; Zhang, T.; Wang, Y.; Cui, T. Research progress on precision planting technology of maize. Chin. Soc. Agric. Mach. 2016, 47, 38–48. [Google Scholar]
- Liao, Y.T.; Wang, L.; Liao, Q.X. Design and test of an inside-filling pneumatic precision centralized seed-metering device for rapeseed. Int. J. Agric. Biol. Eng. 2017, 10, 56–62. [Google Scholar]
- Li, H.C.; Gao, F.; Zhao, S.; Liu, W. Domestic and overseas research status and development trend of precision seed metering device. J. Chin. Agric. Mech. 2014, 35, 12–16, 56. [Google Scholar] [CrossRef]
- Chen, Y.; Cheng, Y.; Chen, J.; Zheng, Z. Design and experiment of the buckwheat hill-drop planter hole forming device. Agriculture 2021, 11, 1085. [Google Scholar] [CrossRef]
- Sun, X.; Li, H.; Qi, X.; Nyambura, S.M.; Yin, J.; Ma, Y.; Wang, J. Performance parameters optimization of a three-row pneumatic precision metering device for brassica chinensis. Agronomy 2022, 12, 1011. [Google Scholar] [CrossRef]
- Wang, B.; Na, Y.; Liu, J.; Wang, Z. Design and evaluation of vacuum central drum seed metering device. Appl. Sci. 2022, 12, 2159. [Google Scholar] [CrossRef]
- Liu, Y.; Lin, J.; Li, B.; Ma, T. Design and experiment of horizontal disc seed metering device for maize seeder. Trans. Chin. Soc. Agric. Eng. 2017, 33, 37–46. [Google Scholar]
- Guler, I.E. Effects of flute diameter, fluted roll length, and speed on alfalfa seed flow. Appl. Eng. Agric. 2005, 21, 5–7. [Google Scholar] [CrossRef]
- Singh, R.C.; Singh, G.; Saraswat, D.C. Optimisation of design and operational parameters of a pneumatic seed metering device for planting cottonseeds. Biost. Eng. 2005, 92, 429–438. [Google Scholar] [CrossRef]
- Yazgi, A.; Degirmencioglu, A. Measurement of seed spacing uniformity performance of a precision metering unit as function of the number of holes on vacuum plate. Measurement 2014, 56, 128–135. [Google Scholar] [CrossRef]
- Singh, T.; Mane, D. Development and laboratory performance of an electronically controlled metering mechanism for okra seed. Agric. Mech. Asia Afr. Lat. Am. 2011, 42, 63–69. [Google Scholar]
- Wang, S.W.; Song, Y.Z. Hemp Crop Production Machinery, 1st ed.; China Agriculture Press: Beijing, China, 1997; pp. 258–267. [Google Scholar]
- Wang, J.W.; Tang, H.; Guan, R.; Li, X.; Bai, C.H.; Tian, L.Q. Design and experiment on clamping static and dynamic finger–spoon maize precision seed metering device. Chin. Soc. Agric. Mach. 2017, 48, 48–57. [Google Scholar]
- Yi, S.J.; Chen, T.; Li, Y.F.; Tao, G.; Mao, X. Design and test of millet hill-drop seed-metering device with combination of positive-negative pressure and hole wheel. Chin. Soc. Agric. Mach. 2021, 52, 83–94. [Google Scholar]
- Zhu, D.Q.; Li, L.L.; Wen, S.C.; Zhang, S.; Jiang, R.; Wu, L.Q. Numerical simulation and experiment on seeding performance of slide hole-wheel precision seed-metering device for rice. Trans. Chin. Soc. Agric. Eng. 2018, 34, 17–26. [Google Scholar]
- China Academy of Agricultural Mechanization Sciences. Agricultural Machinery Design Manual, Upper; China Agriculture Science Technology Press: Beijing, China, 2007; pp. 347–348. [Google Scholar]
- Xiong, D.Y.; Wu, M.; Xie, W.; Liu, R.; Luo, H. Design and experimental study of the general mechanical pneumatic combined seed metering device. Appl. Sci. 2021, 11, 7223. [Google Scholar] [CrossRef]
- Lian, Z.; Wang, J.; Yang, Z.; Shang, S.Q. Development of plot–sowing mechanization in China. Trans. Chin. Soc. Agric. Eng. 2012, 28, 140–145. [Google Scholar]
- Zhang, S.; Xia, J.F.; Zhou, Y.; Zhai, J. Design and experiment of pneumatic cylinder–type precision direct seed–metering device for rice. Trans. Chin. Soc. Agric. Engin. 2015, 31, 11–19. [Google Scholar]
- Ding, L.; Yang, L.; Zhang, D.X.; Gui, T.; Zhang, K.; Zhong, X. Effect of seed adsorption posture of corn air–suction metering device on seed feeding performance. Chin. Soc. Agric. Mach. 2021, 52, 40–50. [Google Scholar]
- Su, W.; Chen, Z.W.; Lai, Q.H.; Jia, G.X.; Lyu, Q.; Tian, B.N. Design and test of wheel-spoon type precision seed–metering device for Chinese herbal medicine Pinellia ternata. Chin. Soc. Agric. Mach. 2022, 1–15. [Google Scholar]
- Jiang, M.; Liu, C.L.; Wei, D.; Du, X.; Cai, P.; Song, J. Design and test of wide seedling strip wheat precision planter. Chin. Soc. Agric. Mach. 2019, 50, 53–62. [Google Scholar]
- Lai, Q.H.; Jia, G.X.; Su, W.; Hong, F.; Zhao, J. Design and test of ginseng precision special–hole type seed-metering device with convex hull. Chin. Soc. Agric. Mach. 2021, 51, 60–71. [Google Scholar]
- Zhang, S.; Li, Y.; Wang, H.Y.; Liao, J.; Li, Z.; Zhu, D. Design and Experiment of U–shaped Cavity Type Precision Hill-drop Seed-metering Device for Rice. Chin. Soc. Agric. Mach. 2020, 51, 98–108. [Google Scholar]
- Song, Y. Summary of Agricultural Mechanization Standards, 1st ed.; China Agriculture Press: Beijing, China, 2013; pp. 315–316. [Google Scholar]















| Parameter | Mean Value/mm | Maximum Value/mm | Coefficient of Variation/% |
|---|---|---|---|
| Length | 3.9 | 4.2 | 1.3 |
| Width | 3.0 | 3.2 | 1.2 |
| Thickness | 2.4 | 2.5 | 1.0 |
| Coding | Factor | ||
|---|---|---|---|
| Speed of Metering Wheel x1/(r·min−1) | Hole Diameter x2/mm | Hole Depth x3/mm | |
| −1 | 80.0 | 10.0 | 5.5 |
| 0 | 90.0 | 11.0 | 6.5 |
| 1 | 100.0 | 12.0 | 7.5 |
| Experimental Number | Experimental Factor | Experimental Index | |||
|---|---|---|---|---|---|
| Speed of Metering Wheel x1 | Hole Diameter x2 | Hole Depth x3 | Variation Coefficient of Seeding Uniformity Y1/% | Coefficient of Variation for Consistency of Seed Quantity in Each Row Y2/% | |
| 1 | −1 | 0 | 1 | 5.78 | 2.03 |
| 2 | 0 | −1 | −1 | 5.73 | 1.22 |
| 3 | 1 | 0 | −1 | 6.12 | 1.14 |
| 4 | −1 | −1 | 0 | 5.11 | 2.09 |
| 5 | 0 | 0 | 0 | 3.45 | 0.69 |
| 6 | 0 | 0 | 0 | 3.64 | 0.81 |
| 7 | −1 | 0 | −1 | 6.13 | 1.29 |
| 8 | 1 | −1 | 0 | 6.43 | 0.89 |
| 9 | 1 | 0 | 1 | 6.55 | 1.06 |
| 10 | 0 | 0 | 0 | 3.78 | 0.76 |
| 11 | 0 | 1 | 1 | 5.67 | 1.67 |
| 12 | −1 | 1 | 0 | 6.22 | 1.51 |
| 13 | 0 | 0 | 0 | 3.61 | 0.81 |
| 14 | 0 | 1 | −1 | 5.59 | 1.05 |
| 15 | 0 | 0 | 0 | 3.69 | 0.89 |
| 16 | 1 | 1 | 0 | 6.07 | 1.73 |
| 17 | 0 | −1 | 1 | 4.82 | 1.19 |
| Variance Source | Variation Coefficient of Seeding Uniformity Y1/% | ||||
|---|---|---|---|---|---|
| Sum of Square | Degree of Freedom | Mean Square | F Value | p Value | |
| Model | 20.12 | 9 | 2.24 | 85.23 | <0.0001 ** |
| x1 | 0.47 | 1 | 0.47 | 17.75 | 0.0048 ** |
| x2 | 0.27 | 1 | 0.27 | 10.16 | 0.0090 * |
| x3 | 0.07 | 1 | 0.07 | 2.68 | 0.0014 ** |
| x1×2 | 0.54 | 1 | 0.54 | 20.59 | 0.0012 ** |
| x1×3 | 0.15 | 1 | 0.15 | 5.80 | 0.0019 * |
| x2×3 | 0.25 | 1 | 0.25 | 9.34 | 0.0074 * |
| 9.58 | 1 | 9.58 | 364.97 | <0.0001 ** | |
| 2.80 | 1 | 2.80 | 106.73 | <0.0001 * | |
| 4.24 | 1 | 4.24 | 161.46 | <0.0001 ** | |
| Residual | 0.18 | 7 | 0.026 | ||
| Lack of Fit | 0.12 | 3 | 0.042 | 2.82 | 0.2953 |
| Pure Error | 0.059 | 4 | 0.015 | ||
| Cor Total | 20.31 | 16 | |||
| = 0.9793; CV (Coefficient of Variation) = 3.12%; Adeq precious = 22.97 | |||||
| Variance Source | Coefficient of Variation for Consistency of Seed Quantity in Each Row Y2/% | ||||
|---|---|---|---|---|---|
| Sum of Square | Degree of Freedom | Mean Square | F Value | p Value | |
| Model | 3.05 | 9 | 0.34 | 94.60 | <0.0001 ** |
| x1 | 0.55 | 1 | 0.55 | 154.01 | <0.0001 ** |
| x2 | 0.041 | 1 | 0.041 | 11.35 | 0.0119 * |
| x3 | 0.20 | 1 | 0.20 | 54.57 | 0.0002 ** |
| x1×2 | 0.50 | 1 | 0.50 | 140.84 | <0.0001 ** |
| x1×3 | 0.17 | 1 | 0.17 | 46.96 | 0.0002 ** |
| x2×3 | 0.11 | 1 | 0.11 | 29.51 | 0.0010 ** |
| 0.78 | 1 | 0.78 | 217.76 | <0.0001 ** | |
| 0.47 | 1 | 0.47 | 130.25 | <0.0001 ** | |
| 0.10 | 1 | 0.10 | 29.27 | 0.0010 ** | |
| Residual | 0.025 | 7 | 0.0035 | ||
| Lack of Fit | 0.0033 | 3 | 0.0011 | 0.21 | 0.8864 |
| Pure Error | 0.022 | 4 | 0.0054 | ||
| Cor Total | 3.07 | 16 | |||
| = 0.9814; CV (Coefficient of Variation) = 4.88%; Adeq precious = 82.66. | |||||
| Levels | Variation Coefficient of Seeding Uniformity Y1/% | Coefficient of Variation for Consistency of Seed Quantity in Each Row Y2/% |
|---|---|---|
| 1 | 6.03% | 3.58% |
| 2 | 5.35% | 3.29% |
| 3 | 6.49% | 2.80% |
| 4 | 7.06% | 3.71% |
| 5 | 6.03% | 3.82% |
| Average | 6.19% | 3.44% |
Publisher’s Note: MDPI stays neutral with regard to jurisdictional claims in published maps and institutional affiliations. |
© 2022 by the authors. Licensee MDPI, Basel, Switzerland. This article is an open access article distributed under the terms and conditions of the Creative Commons Attribution (CC BY) license (https://creativecommons.org/licenses/by/4.0/).
Share and Cite
Duan, Y.; Xiang, W.; Lv, J.; Yan, B.; Hu, Y.; Wu, M. Research on Seeding Performance of Self-Propelled Industrial Hemp Seeder. Appl. Sci. 2022, 12, 8079. https://doi.org/10.3390/app12168079
Duan Y, Xiang W, Lv J, Yan B, Hu Y, Wu M. Research on Seeding Performance of Self-Propelled Industrial Hemp Seeder. Applied Sciences. 2022; 12(16):8079. https://doi.org/10.3390/app12168079
Chicago/Turabian StyleDuan, Yiping, Wei Xiang, Jiangnan Lv, Bo Yan, Yao Hu, and Mingliang Wu. 2022. "Research on Seeding Performance of Self-Propelled Industrial Hemp Seeder" Applied Sciences 12, no. 16: 8079. https://doi.org/10.3390/app12168079
APA StyleDuan, Y., Xiang, W., Lv, J., Yan, B., Hu, Y., & Wu, M. (2022). Research on Seeding Performance of Self-Propelled Industrial Hemp Seeder. Applied Sciences, 12(16), 8079. https://doi.org/10.3390/app12168079
