Next Article in Journal
Augmenting Seafloor Characterization via Grain Size Analysis with Low-Cost Imagery: Minimizing Sediment Sampler Biases and Increasing Habitat Classification Accuracy
Previous Article in Journal
Earthquake Environmental Effects: The Case of Late Classical-Hellenistic Helike, Gulf of Corinth, Greece
 
 
Font Type:
Arial Georgia Verdana
Font Size:
Aa Aa Aa
Line Spacing:
Column Width:
Background:
Article

Fragility of Highway Embankments Exposed to Permanent Deformations Due to Underlying Fault Rupture

Department of Civil Engineering, Democritus University of Thrace, 67100 Xanthi, Greece
*
Author to whom correspondence should be addressed.
Geosciences 2024, 14(11), 312; https://doi.org/10.3390/geosciences14110312
Submission received: 11 August 2024 / Revised: 23 October 2024 / Accepted: 11 November 2024 / Published: 15 November 2024
(This article belongs to the Section Natural Hazards)

Abstract

Seismic risk expresses the expected degree of damage and loss following a catastrophic event. An efficient tool for assessing the seismic risk of embankments is fragility curves. This research investigates the influence of embankment’s geometry, the depth of rupture occurrence, and the underlying sandy soil’s conditions on the embankment’s fragility. To achieve this, the response of three highway embankments resting on sandy soil was examined through quasi-static parametric numerical analyses. For the establishment of fragility curves, a cumulative lognormal probability distribution function was used. The maximum vertical displacement of the embankments’ external surface and the fault displacement were considered as the damage indicator and the intensity measure, respectively. Damage levels were categorized into three qualitative thresholds: minor, moderate, and extensive. All fragility curves were generated for normal and reverse faults, as well as the combination of those fault types (dip-slip fault). Finally, the proposed curves were verified via their comparison with those provided by HAZUS. It was concluded that embankment geometry and depth of fault rupture appearance do not significantly affect fragility, as exceedance probabilities show minimal differences (<4%). However, an embankment founded on dense sandy soil reveals slightly higher fragility compared to the one founded on loose sand. Differences regarding the probability of exceedance of a certain damage level are restricted by a maximum of 7%.

1. Introduction

Transportation networks are vulnerable to natural hazards. The occurrence of hazardous events, such as earthquakes, ground movements, floods, debris flows, or landslides/rockfalls, poses a significant threat to both their integrity and functionality. Important social–economic consequences, as well as human injuries and even fatalities, might be caused due to their potential failure. Therefore, ensuring the integrity of transportation assets is an issue of vital importance, mainly in case of earthquakes.
An integral part of the transportation network is embankments having an essential role in transporting both people and products. Serious damages and even failures have been reported during devastating earthquake events in the past. In 1999, the Düzce Turkey earthquake (Mw = 7.2) caused failures and landslides on the embankments of the E5 highway. The fault rupture crossed the highway in the city of Kaynaşli, as well as several provincial roads [1]. The 2004 Niigata Chuetsu earthquake (Mw = 6.7) resulted in the large-scale collapse of three embankments [2]. In the 2010 Maule Chile earthquake (Mw = 8.8), extensive damages occurred on highways due to embankment settlements and failures. Two roadway embankments collapsed due to liquefaction [3]. According to Zhou et al. [4], during the earthquakes of the 2015 Illapel, the 2016 Taiwan, and the 2018 Hokkaido Eastern Iburi, liquefaction resulted in cracks, settlements, lateral spreading, and failures of embankments. Mason et al. [5] reported that the 2016 Kaikōura New Zealand earthquake (M7.8) caused extensive damage to highway embankments. The main failure modes observed were pavement surface cracks and deformations, embankment permanent displacements and subsidence, slope displacements and failures, and landslides.
Accounting for the above, the seismic fragility estimation of highway embankments is of great importance for a transportation network, as it is a fundamental component of its risk assessment. Fragility curves represent the probability of an element or a system reaching or exceeding a specific damage state as a function of a seismic intensity level. They express the relationship between a seismic intensity measure and the probability of induced damage.
In recent years, significant research efforts have been made on the fragility assessment of transportation assets, such as bridges [6,7,8,9], tunnels [10,11], road pavements [12,13], retaining walls [14,15,16], and slopes [17,18,19], exposed to different hazards. Regarding embankments, the research is relatively confined. An important part of it was focused on investigating the response of embankment due to peak ground acceleration (PGA). In 2009, Towhata et al. [20] proposed fragility curves for expressway embankments as a function of PGA, using a lognormal distribution function. The dynamic response of highway and railway embankments, as well as cuts, was examined by Argyroudis and Kaynia [21]. They generated fragility curves using a cumulative lognormal probability distribution function. Fragility curves were expressed in terms of PGA and embankments’ vertical displacements. Yin et al. [22], as well as Che et al. [23], examined the influence of retaining walls on expressway embankment fragility. Using incremental dynamic analysis and probabilistic seismic hazard analysis, all of them created fragility curves as a function of PGA. In 2019, Oblak et al. [24] investigated the response of an embankment subjected to earthquake-induced liquefaction via finite difference numerical analyses. Their research focused on the impact of the embankment’s geometry and characteristics of the liquefiable layer on derived fragility curves. Moreover, fragility curves of embankment exposed to liquefaction both with and without the use of liquefaction countermeasures were calculated by Zhou et al. [4] through nonlinear dynamic numerical analyses. PGA values and the embankment’s crest settlements were chosen as intensity measure and damage index, respectively. Another intensity measure that has been used to develop fragility curves is the peak ground velocity (PGV). In 2010, Maruyama et al. [2] used damage observations from four earthquake events in Japan. Based on an empirical method, they developed fragility curves for expressway embankments. Those curves estimated the damage distribution along expressways as a function of PGV. In several documents in the international literature, more than one intensity measure was examined for evaluating embankments’ fragility. Among others, Hübner and Mahler [25] used the lognormal probability distribution method to estimate the seismic fragility of highway embankments with different heights. They calculated an embankment’s displacement by conducting 2D numerical analyses. Also, fragility curves, as a function of both PGA and Arias intensity, were derived. In 2022, Shinoda et al. [26] investigated the seismic fragility of geosynthetic-reinforced and unreinforced railway embankments in Japan. As part of their work, they executed parametric sensitivity analyses for different embankment heights, angles of friction of the backfill soil, and different values of reinforcement tensile strength. The proposed curves were expressed in terms of PGA, PGV, and Arias intensity. Finally, multiple-hazard fragility analysis in the case of a highway embankment exposed to flooding was carried out by McKenna et al. [27]. For this purpose, they calculated the vertical displacement of the road’s surface regarding the scour presence and moisture ingress. As per the intensity measure, the percentage of saturated embankment was considered.
The existing research has mainly focused on the derivation of embankments’ seismic fragility curves as a function of PGA, PGV, and Arias intensity. These intensity measures are commonly used to describe the dynamic response of a structure or geostructure subjected to an earthquake event. According to the authors, a research gap has been identified regarding the lack of fragility curves for embankments as a function of permanent displacement due to underlying fault rupture. An underlying fault rupture propagation imposes deformations that result in inelastic behavior of the overlying embankment. It is therefore concluded that seismic fragility analysis of induced deformations due to fault rupture propagation needs to be also treated in terms of inelastic displacements of the embankment. An attempt to address this gap was recently made by Petala et al. [28] by proposing fragility curves for highway embankments in terms of fault displacement. Based on the previous work of Petala et al. [28], the present manuscript aims to investigate for the first time the impact of the highway embankment’s geometry, the depth of rupture occurrence, and the underlying sandy soil’s state on the embankment’s seismic fragility to provide a more generalized framework for investigating embankments’ fragility to underlying fault rupture. To accomplish this, the response of three highway embankments of the same typology but with different geometries, due to normal and reverse fault rupture, was calculated through quasi-static parametric numerical analyses using the finite difference software FLAC2D v7.0 [29]. Based on a cumulative lognormal probability distribution function, fragility curves were proposed. The maximum vertical displacement of the embankments’ external surface, δymax, and the fault displacement, d, were considered as the damage indicator and the intensity measure, respectively. All fragility curves were generated for normal and reverse faults, as well as the combination of those fault types (dip-slip fault). In conclusion, the derived fragility curves were compared to already existing ones provided in the literature.

2. Materials and Methods

This work investigates the influence of the embankment’s geometry, the depth of the fault tip and the underlying sandy soil’s condition on the highway embankment’s seismic fragility. For this purpose, a considerable number of parametric numerical analyses were performed to examine the response of three highway embankments resting on single-layered sandy soil. Based on a cumulative lognormal probability distribution function, fragility curves for embankment were developed.

2.1. Model Description and Numerical Analyses

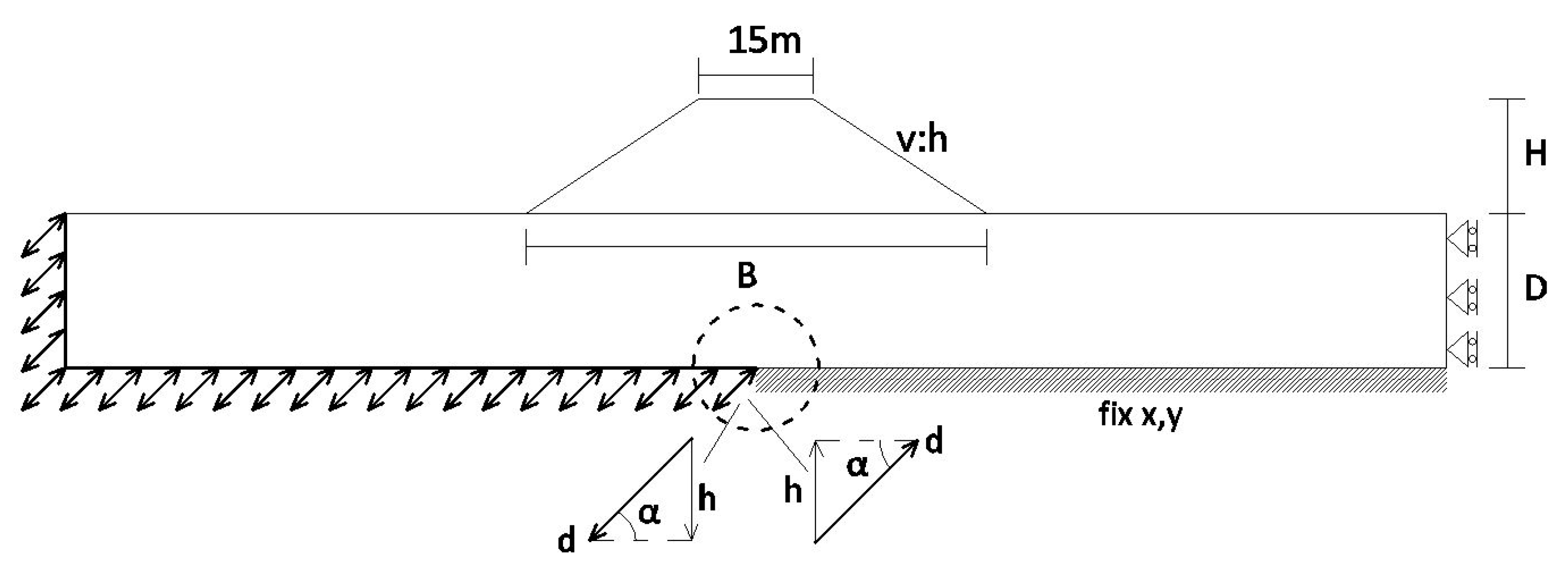
The response of three highway embankments with different geometries subjected to underlying fault rupture was examined. The embankments’ dimensions were selected to correspond to three typical highway embankment cases. Their cross-sections depict two different heights and represent usual slope inclinations. The height (H) and slope inclination (v:h) of the examined embankments varied, as presented in Table 1, whereas the width of the crest remained equal to 15 m. All three embankments were founded on a single-layered soil located on top of a rigid bedrock. It was assumed that fault rupture entirely formed into the underlying bedrock. The simulation of fault disruption was realized by dividing the model into two parts, with the right part held fixed. Fault dislocation was applied to the left side. Consequently, the left vertical boundary and the left part of the bottom boundary moved parallel to the fault plane. Fault displacements were simulated quasi-statically to minimize inertial forces and were applied as a velocity vector. Additional details regarding the model’s geometry and imposed fault displacement are provided in Table 1 and Figure 1. Moreover, the distortion of the model’s mesh due to fault rupture propagation is shown in Figure 2.
The simulation of normal and reverse fault rupture diffusion was achieved through quasi-static numerical analyses using the finite difference software FLAC2D [29] in plane strain mode. It was supposed that the compacted material of three highway embankments was clayey sand with some gravel. The single-layered soil consisted of sand in two different states: dense and loose. To simulate the mechanical behavior of embankment material and dense sand, Mohr–Coulomb elastoplastic constitutive model with isotropic strain softening was adopted. This constitutive law is a Mohr–Coulomb taking into account nonlinear material softening via the reduction of cohesion, friction, and dilation angle with the increase in deviatoric plastic strain [29]. On the contrary, softening is not expected in the case of loose sand. Hence, a Mohr–Coulomb constitutive model without softening was chosen to simulate its mechanical behavior [30,31]. The constitutive models’ input parameters are tabulated in Table 2.
More information concerning the simulation of fault rupture, the boundary conditions, and the mesh of the model, as well as the choice of constitutive models and their validation, are given by Petala and Klimis [30,31].
To investigate the response of embankments to fault disruption, a total of 912 numerical parametric analyses were conducted. The effects of embankment height and slope inclination were examined, selecting two heights (8 m and 15 m) and two slope inclinations (v:h = 2:3 and 1:2). Regarding the embankments’ foundation soil, it was assumed to consist of sand in dense (DS) and loose (LS) condition, and its thickness (D) received values of 10 m, 20 m, and 30 m accordingly. We studied the dislocation of both normal and reverse faults by considering vertical displacements (h) of 0.5 m, 1.0 m, 1.5 m, and 2.0 m and dip angles (α) of 35°, 45°, 60°, 75°, and 90°, respectively (Figure 1). Additionally, three different fault tip locations at depth D under the free soil’s surface were chosen. Two of them were located at the embankment toes, and the third was beneath its symmetry axis.

2.2. Fragility Curves for Highway Embankments

Fragility curves represent the probability of an embankment either reaching or exceeding a specific level of damage under a given seismic intensity measure. The development of these curves necessitates determining the values of three parameters: the intensity measure, the damage states, and the total uncertainty.
In this study, the fault offset (d) at the bedrock was considered as the intensity measure for generating fragility curves. Twenty values of d derived from all combinations of fault vertical displacement (h) and dip angle (α) were adopted. The proposed fragility curves were developed for both normal and reverse fault rupture. In addition, given that the type of fault disruption may be unknown, an effort was made to make the curves independent of the rupture type. To accomplish this, curves that use displacements from both normal and reverse faults as intensity measures simultaneously were created.
For the fragility assessment, defining damage states is essential. It is ascertained that research on damage parameters for embankments is scarce. Previous studies indicate that damage indexes have typically been based on displacement measures, such as vertical [4,21,24,27] and horizontal [2] displacement of the embankments’ crest. Yin et al. [22] and Che et al. [23] adopted the maximum lateral permanent displacement on the top surface as a damage parameter. Additionally, HAZUS [32] provided fragility curves for urban and major roads, considering the permanent ground deformation (PGD) caused by fault dislocations, landslides, or liquefaction as the damage index. These curves are the only ones available in the literature for road pavements and are expressed as a function of PGD. Damage levels were categorized into three qualitative thresholds: minor, moderate, and extensive/complete (Table 3). In this research, the maximum permanent vertical displacement of the embankments’ external surface (δymax), caused by disruption of normal and reverse faults, was selected as the damage index. The HAZUS methodology [32] and the proposed damage states for the case of major roads (Table 3) were adopted for the development of fragility curves.
The assessment of the probability of exceedance of a specific damage state was realized by applying a cumulative lognormal probability distribution function [32]. As referred to by Porter [33], this distribution function has been extensively utilized in earthquake engineering for several decades. In addition, this is the most common method for generating fragility curves due to its mathematical convenience [34]. Such a distribution has been accepted as satisfactory for generating fragility curves [35,36]. Since the lognormal distribution is defined only for positive values, it is well-suited to modeling variables that cannot take negative values [33]. Soils experience only compressive forces, which are considered positive in geotechnical engineering. Furthermore, their mechanical properties take on positive values. Finally, Stewart et al. [37] advocated that lognormal distribution in the context of geological and geotechnical data analysis is more suitable due to its mathematical properties and the characteristics of the data.
The cumulative lognormal probability distribution function can be expressed as follows [32]:
P d s d s i = Φ 1 β t o t × l n I M I M m i
where Φ corresponds to the standard normal cumulative distribution function, IM and IMmi express, respectively, the intensity measure and its median threshold required to induce the ith damage state (dsi) and βtot is the total lognormal standard deviation. The value of βtot was calculated by implementing Equation (2).
β t o t = β D S 2 + β C 2 + β D 2
As described by the above equation, the total lognormal standard deviation comprises different sources of uncertainty correlated with the damage states (βDS), the element’s capacity (βC), and the seismic demand (βD). The coefficient βC expresses the uncertainties due to the selected parameters of the structure and soil. The uncertainty βD indicates the deviation of structural response at each intensity level caused by different values of intensity measures. It is calculated based on the dispersion of the logarithms of the intensity measure and the corresponding parameter of structural response [4,21,32]. In the context of this work, considering the lack of data on the values of βDS for road embankments, we chose the value of 0.4 recommended by HAZUS [32] in the case of buildings. For βC, we adopted the value of 0.3 based on engineering judgment [21]. Finally, the coefficient of uncertainty, βD, was considered equal to the standard deviation of the logarithms of the intensity measure (d) and the corresponding value of the damage index (δymax).
Once total uncertainty is determined, it is necessary to identify the IMmi for each one of the three adopted damage states (Table 3) to apply the lognormal cumulative distribution function. To achieve this, ln(d) − ln(δymax) dispersion plots were created by utilizing the results of numerical analyses. Following this, a correlation simulating the evolution of the damage index with intensity measure was derived based on the linear regression analyses. The values of IMmi were estimated using this correlation for its value of damage state. In all of the examined cases, the correlations between ln(d) and ln(δymax) yielded high determination coefficients (R2), with values exceeding 0.86. An example of dispersion plots and fitting curves is displayed in Figure 3 for the case of EmbA and D = 20 m.

3. Results and Discussion

This section presents and discusses the results derived from investigating the impact of the embankment’s geometry, the depth of the fault tip, and the state of the underlying sandy soil condition on the highway embankment’s seismic fragility. Moreover, the results comparing the derived fragility curves with the existing curves proposed by HAZUS [32] are presented.

3.1. Influence of Embankment’s Geometry

To examine the influence of the embankment’s geometry, we calculated the fragility curves for the three embankments founded on a sandy soil of 20 m depth. The examined embankments were of the same typology but differed in geometry. We created curves for normal and reverse fault rupture, as well as for the combination of them (dip-slip fault). To develop the fragility curves, we defined the median threshold value of intensity measure (IMmi) for each damage state (dsi) and the total uncertainty (βtot), as shown in Table 4. Figure 4 depicts the fragility curves of the embankments for three fault types. On the horizontal axis, the values of fault displacement at the bedrock are depicted. The vertical axis represents the exceedance probability of a specific damage level. Each diagram contains nine curves, three curves for each embankment. Curves with different colors correspond to the different damage levels. The blue curve corresponds to minor damage, while the curves with orange and red colors correspond to moderate and extensive damage, respectively. Moreover, different line types are used to represent the fragility of each embankment.
Figure 4 indicates that the embankments present approximately the same degree of fragility at each damage state, regardless of the fault type, with the exception of extensive damage, where a slight divergence in exceedance probabilities is noticed. Namely, EmbA presents a slightly higher probability of extensive damage compared to the rest of the examined embankments. The probability of extensive damage for EmbB and EmbC is about the same. More specifically, for normal fault rupture, the EmbA shows up to a 4% higher probability for extensive damage. This discrepancy is reduced, at 3 and 3.5%, for reverse and dip-slip faults, respectively. In addition, in all examined cases, for fault displacement (d) equal to 0.5 m, the embankments will exhibit no serious damage, while the probability for minor and moderate damage is about 80% and 30%, respectively. For d = 1 m, the probability of generating extensive damage varies from 18% to 22%, and the probability of minor or moderate damage exceeds 75%. For d ≥ 2 m, the embankments will surely experience moderate damage, and a significant probability (>58%) of extensive damage is also estimated. Finally, it is denoted that the exceedance probability at a specific damage state obtains higher values in the case of normal faults and lower for reverse faults. This difference is more intense for the extensive damage. The curves for the dip-slip fault correspond to intermediate values of probability, as expected since this category includes both normal and reverse faults. The comparison of the fragility curves of the EmbA for the three types of intensity measures is given in Figure 5. For minor damage, only slight differences (<4%) are detected in embankment fragility for all fault rupture types. As per moderate and extensive damage, those differences are increased, reaching 8% and 13%, respectively.
The convergence of the results is substantiated by the fact that the relationships describing the evolution of damage as a function of the intensity measure, ln(d) − ln(δymax), are almost identical for all embankments. An example of these relationships is given in Table 5 for the case of normal fault rupture. It is concluded that for the examined highway embankment cross-sections, modifications in their geometry do not appear to affect their fragility significantly. For the generation of fragility curves of highway embankments subjected to normal and reverse fault rupture, it is ascertained that the estimation of a typical highway embankment response is adequate in assessing the embankment’s fragility. Based on this finding, EmbA was adopted as a representative embankment to discern the eventual effect of (a) fault rupture depth and (b) the underlying sandy soil condition (loose and dense) on the embankment’s seismic fragility state.

3.2. Influence of Fault Rupture Depth on Embankment’s Fragility

Fault rupture may occur at any depth under the embankment’s base. In the present study, we investigated the influence of the fault tip depth on embankment’s seismic fragility. To achieve this, we considered that the embankment with H = 15 m and v:h = 2:3 (EmbA) was founded on a sandy soil of three potential depths 10 m, 20 m, and 30 m. We generated fragility curves for three different depths and all cases of intensity measures (Figure 6). The values of IMmi and βtot are presented in Table 6.
Figure 6 presents the probability of exceedance at each predefined damage level. The three different line types correspond to different values of D. It is observed that there are no significant differences in the embankment’s fragility for the three examined depths of the fault tip. The fragility curves are almost identical. The largest discrepancy is found in the case of extensive damage, mainly for the normal fault rupture. In this case, the probability of exceedance gets the highest and the lowest values when D = 30 m and D = 10 m, respectively. The larger difference in probabilities reaches 4%. For reverse fault, we notice that the embankment shows approximately the same degree of fragility at each damage state for D equal to 10 m and 20 m. When D = 30 m, fragility levels are diminished by 3%. In the case of dip-slip fault, fragility curves coincide for minor and moderate damage. However, for extensive damage, the exceedance probability reduces as the depth of the rupture occurrence is diminished. The difference in probabilities does not exceed 2%. The convergence of the fragility curves for the different underlying soil depths is due to the similar evolution of damage with the intensity measure. It is inferred that for all fault types, the depth of fault rupture does not affect the fragility of the embankment.

3.3. Influence of the Underlying Sandy Soil’s State on Embankment’s Fragility

In the third part of this research, the impact of the state of sandy soil on the embankment’s fragility was also investigated. To this end, we examined the response of EmbA rested alternatively on the dense and loose sandy soil of 20 m depth. We derived fragility curves as a function of fault dislocation for three fault types, as shown in Figure 7. Fragility function parameters are given in Table 7.
In Figure 7, we realize that the fragility curves resulting from the two different conditions of sandy soil are still very close to each other for all cases of intensity measures. However, when the embankment is founded on a dense sandy layer, it tends to exhibit a slightly higher degree of fragility, particularly in the case of normal and dip-slip faults for moderate and extensive damage levels. For normal fault disruption, reduced fragility levels are observed when the embankment rests on a loose sand layer presenting about 0.5–7% lower probabilities of damage. For the case of reverse fault, this difference is further reduced to 0.5–3%, whereas for a dip-slip fault rupture, the embankment presents a slightly larger probability of presenting damage (0.5–4.5%) when founded on dense sandy soil. It is concluded, therefore, that for a dense sandy layer (DS), there is a slightly higher probability of exceeding a damage level. Nevertheless, the slight modifications in the probability of exceeding a damage level, due to the difference of the underlying sandy layer condition, seem rather meaningless and do not significantly affect the fragility curves.

3.4. Fragility Curves Verification

The final stage of this research involved the verification and comparison of the developed fragility curves of the highway embankment versus the existing HAZUS [32] fragility curves. Summarizing the conclusions of Section 3.1 and Section 3.2, it is clear that the fragility curves for the examined embankments are rather insensitive to their geometry and the depth of rupture occurrence. Thus, a representative embankment can be used to assess the fragility of highway embankments exposed to underlying fault ruptures. Based on these statements, we proceeded to make a direct comparison of the fragility curves derived for EmbA founded on sandy soil of 20 m depth with existing curves in the literature. The comparison took place for three fault types. We used the fragility curves provided by HAZUS [32] which represent the fragility of major roads as a function of permanent ground deformation (PGD) caused by fault dislocations, landslides, or liquefaction. These are derived based on a combination of empirical models and expert judgment. They are the only available curves in the literature that depict the fragility of roads due to PGD. However, to compare curves derived from the analytical/numerical methodology to those proposed by HAZUS, it was necessary to convert the intensity measure, d, to PGD. This was achieved by estimating the PGD of a point located on the free surface of the hanging wall, away from the left foot of the embankment. Through the use of a linear regression analysis, we established the correlation between induced fault displacement and PGD of the selected point for each fault type. The correlation of d and PGD gave correlation coefficients, R2, equal to 0.99 (Table 8). Consequently, we succeeded in assessing the PGD values for all studied cases and developed new fragility curves as a function of PGD.
The results of comparing the derived fragility curves for the highway embankment with those developed by HAZUS [32] are shown in Figure 8. It seems that the curves derived from the analytical methodology satisfactorily converge with those proposed by HAZUS. The shape of the curves is similar in all cases. The difference in damage probability estimation between the proposed curves and those of the literature is larger in the case of reverse fault and mainly for extensive damage. In this case, it reaches a maximum value of 15%. For normal and dip-slip faults, the numerical results are in reasonably good agreement with those of HAZUS, and divergence in damage probabilities does not exceed 10%.

4. Conclusions

The investigation of embankment’s fragility exposed to permanent deformation due to dislocation of underlying fault ruptures is very limited. From the literature review, it is inferred that only one research effort [28] in this direction has been made in the past. In this work, innovative curves for highway embankments have been generated, with the scope of investigating the impact of embankments’ geometry, depth of fault rupture occurrence, and underlying sandy soil’s state on fragility. The originality of this work is based on the fact that this issue is raised for the first time, as an attempt to provide a significant tool for assessing highway embankments’ fragility due to fault rupture propagation. This research consists of four stages. In the first stage, fragility curves for the three highway embankments were compared to investigate the impact of embankment geometry on their fragility. Next, by selecting one embankment, the effect of the depth at which fault ruptures occur was examined. In the third stage, the fragility of an embankment resting on a sandy layer in two different conditions was examined. Finally, the generated fragility curves were compared with those available in the literature. To accomplish this, three typical highway embankments of the same typology but with different geometry resting on a single-layered soil were examined. It was considered that the single-layered soil can exist in two different conditions (dense and loose), and its depth was 10 m, 20 m, and 30 m. Embankments’ response due to underlying normal and reverse fault rupture propagation was studied through a significant number of quasi-static parametric numerical analyses. Its fragility assessment was accomplished using a cumulative lognormal probability distribution function. The probability of exceedance of a certain damage level was expressed as a function of fault displacement (d) at the bedrock. The maximum permanent vertical displacement of the embankments’ external surface (δymax), caused by the rupture of all fault types, was chosen as the damage index. Three damage states were adopted, representing minor, moderate, and extensive damage. The fragility curves were generated for both normal and reverse fault ruptures, as well as for the dip-slip disruptions.
The main conclusions derived from this research are summarized as follows:
  • Normal fault rupture results in a higher probability of exceedance of a specific damage level, while a lower probability is presented for reverse faults. Concerning the dip-slip fault, the probability of exceedance obtains intermediate values.
  • For each of the three examined typical cross-sections of embankments, the embankment’s geometry does not affect its seismic fragility. Therefore, a representative embankment can be used to assess the fragility of highway embankments exposed to underlying fault ruptures.
  • The variation in the depth of fault rupture occurrence does not impact the embankment’s fragility.
  • As per the sandy soil’s condition, a higher probability of exceeding a specific damage level appears in the case of DS. However, the deviation of damage probability for two soil states is less than 7%.
  • The proposed curves satisfactorily converge with those from the literature.

Author Contributions

Conceptualization, E.P. and N.K.; methodology, E.P.; software, E.P.; validation, E.P.; formal analysis, E.P.; investigation, E.P.; data curation, E.P. and N.K.; writing—original draft preparation, E.P.; writing—review and editing, E.P. and N.K.; supervision, N.K. All authors have read and agreed to the published version of the manuscript.

Funding

This research was funded by the project “Risk and Resilience Assessment Center–Prefecture of East Macedonia and Thrace-Greece” (MIS 5047293), which is implemented under the Action “Reinforcement of the Research and Innovation Infrastructure”, funded by the Operational Program “Competitiveness, Entrepreneurship, and Innovation” (NSRF 2014–2020), and co-financed by Greece and the European Union (European Regional Development Fund).

Data Availability Statement

Data are contained within the article.

Conflicts of Interest

The authors declare no conflicts of interest.

References

  1. Ulusay, R.; Aydan, Ö.; Hamada, M. The behavior of structures built on active fault zones: Examples from the recent earthquakes of Turkey. Struct. Eng./Earthq. Eng. Jpn. Soc. Civil. Eng. 2001, 19, 149–167. [Google Scholar] [CrossRef]
  2. Maruyama, Y.; Yamazaki, F.; Mizuno, K.; Tsuchiya, Y.; Yogai, H. Fragility curves for expressway embankments based on damage datasets after recent earthquakes in Japan. Soil Dyn. Earthq. Eng. 2010, 30, 58–67. [Google Scholar] [CrossRef]
  3. Ledezma, C.; Hutchinson, T.; Ashford, S.A.; Moss, R.; Arduino, P.; Bray, J.D.; Rollins, K. Effects of ground failure on bridges, roads, and railroads. Earthq. Spectra 2012, 28, 119–143. [Google Scholar] [CrossRef]
  4. Zhou, H.; Liu, X.; Tan, X.; Zhao, J.; Zheng, G. Seismic fragility evaluation of embankments on liquefiable soils and remedial countermeasures. Soil Dyn. Earthq. Eng. 2023, 164, 107631. [Google Scholar] [CrossRef]
  5. Mason, D.; Brabhaharan, P.; Saul, G. Performance of road networks in the 2016 Kaikōura earthquake: Observations on ground damage and outage effects. In Proceedings of the 20th New Zealand Geotechnical Society, Geotechnical Symposium, Napier, New Zealand, 24–26 November 2017; Alexander, G., Chin, C., Eds.; [Google Scholar]
  6. Dong, Y.; Frangopol, D.M.; Saydam, D. Time-variant sustainability assessment of seismically vulnerable bridges subjected to multiple hazards. Earthq. Eng. Struct. Dyn. 2013, 42, 1451–1467. [Google Scholar] [CrossRef]
  7. Kim, H.; Sim, S.-H.; Lee, J.; Lee, Y.-J.; Kim, J.-M. Flood fragility analysis for bridges with multiple failure modes. Adv. Mech. Eng. 2017, 9, 1–11. [Google Scholar] [CrossRef]
  8. Kwon, O.S.; Elnashai, A.S. Fragility analysis of a highway over-crossing bridge with consideration of soil–structure interactions. Struct. Infrastruct. Eng. 2010, 6, 159–178. [Google Scholar] [CrossRef]
  9. Stefanidou, S.P.; Kappos, A.J. Methodology for the development of bridge-specific fragility curves. Earthq. Eng. Struct. Dyn. 2017, 46, 73–93. [Google Scholar] [CrossRef]
  10. Argyroudis, S.; Pitilakis, K. Seismic fragility curves of shallow tunnels in alluvial deposits. Soil Dyn. Earthq. Eng. 2012, 35, 1–12. [Google Scholar] [CrossRef]
  11. Avanaki, M.J.; Hoseini, A.; Vahdani, S.; de Santos, C.; de la Fuente, A. Seismic fragility curves for vulnerability assessment of steel fiber reinforced concrete segmental tunnel linings. Tunn. Undergr. Space Technol. 2018, 78, 259–274. [Google Scholar] [CrossRef]
  12. Lam, J.C.; Adey, B.T.; Heitzler, M.; Hackl, J.; Gehl, P.; van Erp, N.; D’Ayala, D.; van Gelder, P.; Hurni, L. Stress tests for a road network using fragility functions and functional capacity loss functions. Reliab. Eng. Syst. Saf. 2018, 173, 78–93. [Google Scholar] [CrossRef]
  13. Pregnolato, M.; Ford, A.; Wilkinson, S.M.; Dawson, R.J. The impact of flooding on road transport: A depth-disruption function. Transp. Res. Part D Trans. Env. 2017, 55, 67–81. [Google Scholar] [CrossRef]
  14. Cosentini, R.M.; Bozzoni, F. Fragility curves for rapid assessment of earthquake-induced damage to earth-retaining walls starting from optimal seismic intensity measures. Soil Dyn. Earthq. Eng. 2022, 152, 107017. [Google Scholar] [CrossRef]
  15. Koutsoupaki, E.-I.; Sotiriadis, D.; Klimis, N.; Dokas, I. Seismic Fragility Analysis of Retaining Walls Dependent on Initial Conditions. Geosciences 2024, 14, 2. [Google Scholar] [CrossRef]
  16. Seo, H.; Lee, Y.-J.; Park, D.; Kim, B. Seismic fragility assessment for cantilever retaining walls with various backfill slopes in South Korea. Soil Dyn. Earthq. Eng. 2022, 161, 107443. [Google Scholar] [CrossRef]
  17. Martinovic, K.; Gavin, K.; Reale, C. Assessing the vulnerability of Irish rail network earthworks. Transp. Res. Procedia 2016, 14, 1904–1913. [Google Scholar] [CrossRef]
  18. Tsompanakis, Y.; Lagaros, N.; Psarropoulos, P.; Georgopoulos, E. Probabilistic seismic slope stability assessment of geostructures. Struct. Infrastruct. Eng. 2010, 6, 179–191. [Google Scholar] [CrossRef]
  19. Winter, M.G.; Smith, J.T.; Fotopoulou, S.; Pitilakis, K.; Mavrouli, O.; Corominas, J.; Argyroudis, S. An expert judgment approach to determining the physical vulnerability of roads to debris flow. Bull. Eng. Geol. Environ. 2014, 73, 291–305. [Google Scholar] [CrossRef]
  20. Towhata, I.; Yoshida, I.; Ishihara, Y.; Suzuki, S.; Sato, M.; Ueda, T. On design of expressway embankment in seismically active area with emphasis on life cycle cost. Soils Found. 2009, 49, 871–882. [Google Scholar] [CrossRef][Green Version]
  21. Argyroudis, S.; Kaynia, A.M. Analytical seismic fragility functions for highway and railway embankments and cuts. Earthq. Eng. Struct. Dyn. 2015, 44, 1863–1879. [Google Scholar] [CrossRef]
  22. Yin, C.; Li, Y.; Liu, F. Probability risk assessment and management of embankment seismic damages based on CPSHA-PSDA. Iran. J. Sci. Technol. Trans. A Sci. 2018, 43, 1563–1574. [Google Scholar] [CrossRef]
  23. Che, F.; Yin, C.; Zhang, H.; Tang, G.; Hu, Z.; Liu, D.; Li, Y.; Huang, Z. Assessing the risk probability of the embankment seismic damage using Monte Carlo method. Adv. Civ. Eng. 2020, 2020, 8839400. [Google Scholar] [CrossRef]
  24. Oblak, A.; Kuder, S.; Logar, J.; Viana Da Fonseca, A. Numerical assessment of fragility curves for embankments on liquefiable ground. In Proceedings of the XVII ECSMGE 2019: Geotechnical Engineering Foundation of the Future, Reykjavik, Iceland, 1–6 September 2019. [Google Scholar] [CrossRef]
  25. Hübner, B.; Mahler, A. Analysis of seismic fragility functions of highway embankments. Period. Polytech. Civ. Eng. 2020, 64, 1162–1169. [Google Scholar] [CrossRef]
  26. Shinoda, M.; Nakajima, S.; Watanabe, K.; Nakamura, S.; Yoshida, I.; Miyata, Y. Practical seismic fragility estimation of Japanese railway embankments using three seismic intensity measures. Soils Found. 2022, 62, 101160. [Google Scholar] [CrossRef]
  27. McKenna, G.; Argyroudis, S.; Winter, G.; Mitoulis, S. Multiple hazard fragility analysis for granular highway embankments: Moisture ingress and scour. Transp. Geotech. 2021, 26, 100431. [Google Scholar] [CrossRef]
  28. Petala, E.; Sotiriadis, D.; Klimis, N. Assessment of fragility curves of highway embankments due to underlying faults rupture propagation. Soil Dyn. Earthq. Eng. 2024, 184, 108818. [Google Scholar] [CrossRef]
  29. Itasca. FLAC-Fast Lagrangian Analysis of Continua, Version 7.0; Itasca Consulting Group: Minneapolis, MN, USA, 2011. [Google Scholar]
  30. Petala, E.; Klimis, N. Numerical assessment of distortion and damage induced on a highway embankment due to reverse fault rupture propagation. Soil. Dyn. Earthq. Eng. 2019, 116, 264–277. [Google Scholar] [CrossRef]
  31. Petala, E.; Klimis, N. Exploring the interplay between normal fault rupture and a highway embankment founded on a single-layered soil: Mapping and quantification of damage. Soil Dyn. Earthq. Eng. 2019, 123, 91–109. [Google Scholar] [CrossRef]
  32. National Institute of Building Sciences (NIBS). HAZUS-MH: Users’ Manual and Technical Manuals; Federal Emergency Management Agency: Washington, DC, USA, 2004. [Google Scholar]
  33. Porter, K. A Beginner’s Guide to Fragility, Vulnerability, and Risk; University of Colorado Boulder: Boulder, CO, USA, 2021. [Google Scholar]
  34. Shinozuka, M.; Feng, M.Q.; Lee, J.; Naganuma, T. Statistical analysis of fragility curves. J. Eng. Mech. 2000, 126, 1224–1231. [Google Scholar] [CrossRef]
  35. Ellingwood, B.; Kinali, K. Quantifying and communicating uncertainty in seismic risk assessment. Struct. Saf. 2009, 31, 179–187. [Google Scholar] [CrossRef]
  36. Wen, Y.K.; Ellingwood, B.R.; Veneziano, D.; Bracci, J. Uncertainty Modeling in Earthquake Engineering; MAE Center Project FD-2 Report; Purdue University: West Lafayette, IN, USA, 2003. [Google Scholar]
  37. Stewart, J.; Klimis, N.; Savvaidis, A.; Theodoulidis, N.; Zargli, N.; Athanasopoulos, G.; Pelekis, P.; Mylonakis, G.; Margaris, B. Compilation of a local VS profile database and its application for inference of VS30 from geologic- and terrain-based proxies. Bull. Seismol. Soc. Am. 2014, 104, 2827–2841. [Google Scholar] [CrossRef]
Figure 1. Model’s presentation for normal and reverse fault disruption.
Figure 1. Model’s presentation for normal and reverse fault disruption.
Geosciences 14 00312 g001
Figure 2. Typical mesh and shear strain increments of the model (a) before and (b) after fault rupture propagation.
Figure 2. Typical mesh and shear strain increments of the model (a) before and (b) after fault rupture propagation.
Geosciences 14 00312 g002
Figure 3. Dispersion plots of ln(δymax) − ln(d) and fitting curves for EmbA exposed to (a) normal, (b) reverse, and (c) dip-slip fault rupture propagation.
Figure 3. Dispersion plots of ln(δymax) − ln(d) and fitting curves for EmbA exposed to (a) normal, (b) reverse, and (c) dip-slip fault rupture propagation.
Geosciences 14 00312 g003
Figure 4. Fragility curve for three highway embankments exposed to (a) normal, (b) reverse, and (c) dip-slip fault rupture propagation.
Figure 4. Fragility curve for three highway embankments exposed to (a) normal, (b) reverse, and (c) dip-slip fault rupture propagation.
Geosciences 14 00312 g004
Figure 5. Fragility curves of EmbA for (a) minor, (b) moderate, and (c) extensive damage state.
Figure 5. Fragility curves of EmbA for (a) minor, (b) moderate, and (c) extensive damage state.
Geosciences 14 00312 g005
Figure 6. Fragility curves of EmbA for the three rupture depths: (a) normal, (b) reverse, and (c) strike-slip fault.
Figure 6. Fragility curves of EmbA for the three rupture depths: (a) normal, (b) reverse, and (c) strike-slip fault.
Geosciences 14 00312 g006
Figure 7. Fragility curves of EmbA for two conditions of sandy soil for (a) normal, (b) reverse, and (c) dip-slip fault rupture.
Figure 7. Fragility curves of EmbA for two conditions of sandy soil for (a) normal, (b) reverse, and (c) dip-slip fault rupture.
Geosciences 14 00312 g007
Figure 8. Comparison of fragility curves with those proposed by HAZUS methodology [32] for (a) normal, (b) reverse, and (c) dip-slip fault.
Figure 8. Comparison of fragility curves with those proposed by HAZUS methodology [32] for (a) normal, (b) reverse, and (c) dip-slip fault.
Geosciences 14 00312 g008
Table 1. Embankments’ geometry.
Table 1. Embankments’ geometry.
GeometryEmbAEmbBEmbC
H (m)15158
v:h2:31:22:3
B (m)607539
Table 2. Constitutive models’ parameters [30,31].
Table 2. Constitutive models’ parameters [30,31].
Soil Properties 1EmbankmentDense SandLoose Sand
ρ (gr/cm3)2.22.11.9
E (MPa)501.5 × z + 250.5 × z + 10
ν0.30.30.35
c (kPa)800
cres (kPa)2--
φ (°)383931
φres (°)3030-
ψ (°)10120
ψres (°)00-
γfp (%)64-
1 ρ: soil density. φ: peak friction angle. E: Young modulus. φres: residual friction angle. z: depth of single-layered soil. ψ: peak dilation angle. ν: Poisson ratio. ψres: residual dilation angle. c: cohesion. cres: residual cohesion. γfp: plastic shear strain at which softening of material is completed.
Table 3. Damage states for major road pavements [32].
Table 3. Damage states for major road pavements [32].
Damage StatesPGD (m)
Urban RoadMajor Road
Minor0.150.30
Moderate0.300.60
Extensive/complete0.601.50
Table 4. Fragility function parameters for the three examined embankments.
Table 4. Fragility function parameters for the three examined embankments.
EmbankmentDamage StatesNormal FaultReverse FaultDip-Slip Fault
IMmi (m)βDβtotIMmi (m)βDβtotIMmi (m)βDβtot
EmbAMinor0.310.1850.5530.330.1770.5300.320.1940.536
Moderate0.600.1850.5530.680.1770.5300.650.1940.536
Extensive1.490.1850.5531.750.1770.5301.600.1940.536
Minor0.310.1470.5210.320.1880.5340.320.1860.534
EmbBModerate0.620.1470.5210.670.1880.5340.650.1860.534
Extensive1.530.1470.5211.820.1880.5341.680.1860.534
Minor0.310.1160.5130.330.2050.5400.320.1870.534
EmbCModerate0.620.1160.5130.690.2050.5400.650.1870.534
Extensive1.530.1160.5131.850.2050.5401.660.1870.534
Table 5. Relationships denoting the evolution of damage for normal fault dislocation.
Table 5. Relationships denoting the evolution of damage for normal fault dislocation.
EmbankmentRelationshipR2
EmbAln(δymax) = 1.022 × ln(d) + 0.005590.921
EmbBln(δymax) = 0.993 × ln(d) − 0.032400.957
EmbCln(δymax) = 1.011 × ln(d) − 0.022060.970
Table 6. Fragility function parameters for the three depths of disruption occurrence.
Table 6. Fragility function parameters for the three depths of disruption occurrence.
D (m)Damage StatesNormal FaultReverse FaultDip-Slip Fault
IMmi (m)βDβtotIMmi (m)βDβtotIMmi (m)βDβtot
10Minor0.310.2480.5580.350.1290.5160.340.2110.543
Moderate0.610.2480.5580.700.1290.5160.670.2110.543
Extensive1.510.2480.5581.760.1290.5161.660.2110.543
Minor0.300.2150.5440.360.1090.5130.350.1770.530
20Moderate0.590.2150.5440.710.1090.5130.680.1770.530
Extensive1.450.2150.5441.770.1090.5131.630.1770.530
Minor0.320.1190.5140.380.1160.5130.350.1760.530
30Moderate0.610.1190.5140.750.1160.5130.670.1760.530
Extensive1.450.1190.5141.810.1160.5131.610.1760.530
Table 7. Fragility function parameters for two sandy soil conditions.
Table 7. Fragility function parameters for two sandy soil conditions.
SandDamage StatesNormal FaultReverse FaultDip-Slip Fault
IMmi (m)βDβtotIMmi (m)βDβtotIMmi (m)βDβtot
DSMinor0.290.2350.5520.310.1990.5380.310.2110.529
Moderate0.580.2350.5520.650.1990.5380.630.2110.529
Extensive1.450.2350.5521.720.1990.5381.580.2110.529
Minor0.310.150.5220.350.1740.5290.340.1870.534
LSModerate0.610.150.5220.700.1740.5290.660.1870.534
Extensive1.490.150.5221.790.1740.5291.610.1870.534
Table 8. Correlations between d and PGD.
Table 8. Correlations between d and PGD.
Fault TypeCorrelationR2
NormalPGD = 0.9993 × d − 0.00060.992
ReversePGD = 0.9917 × d − 0.00140.998
Dip-slipPGD = 0.9995 × d − 0.00420.997
Disclaimer/Publisher’s Note: The statements, opinions and data contained in all publications are solely those of the individual author(s) and contributor(s) and not of MDPI and/or the editor(s). MDPI and/or the editor(s) disclaim responsibility for any injury to people or property resulting from any ideas, methods, instructions or products referred to in the content.

Share and Cite

MDPI and ACS Style

Petala, E.; Klimis, N. Fragility of Highway Embankments Exposed to Permanent Deformations Due to Underlying Fault Rupture. Geosciences 2024, 14, 312. https://doi.org/10.3390/geosciences14110312

AMA Style

Petala E, Klimis N. Fragility of Highway Embankments Exposed to Permanent Deformations Due to Underlying Fault Rupture. Geosciences. 2024; 14(11):312. https://doi.org/10.3390/geosciences14110312

Chicago/Turabian Style

Petala, Eleni, and Nikolaos Klimis. 2024. "Fragility of Highway Embankments Exposed to Permanent Deformations Due to Underlying Fault Rupture" Geosciences 14, no. 11: 312. https://doi.org/10.3390/geosciences14110312

APA Style

Petala, E., & Klimis, N. (2024). Fragility of Highway Embankments Exposed to Permanent Deformations Due to Underlying Fault Rupture. Geosciences, 14(11), 312. https://doi.org/10.3390/geosciences14110312

Note that from the first issue of 2016, this journal uses article numbers instead of page numbers. See further details here.

Article Metrics

Back to TopTop