Thermal Oxidation of Indium, Germanium, and Tin from Lead-Bearing Alloys Generated in Zinc Refinement
Abstract
:1. Introduction
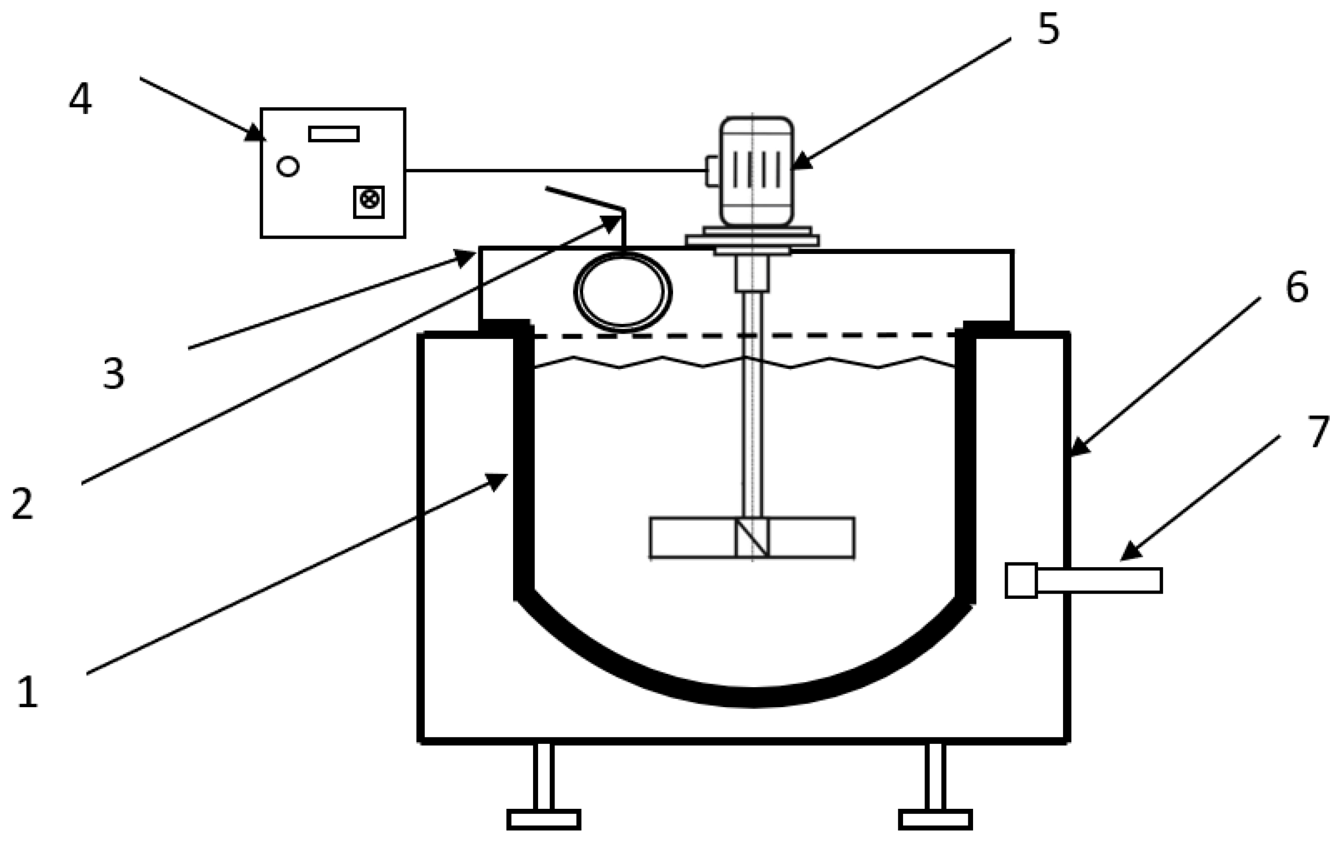
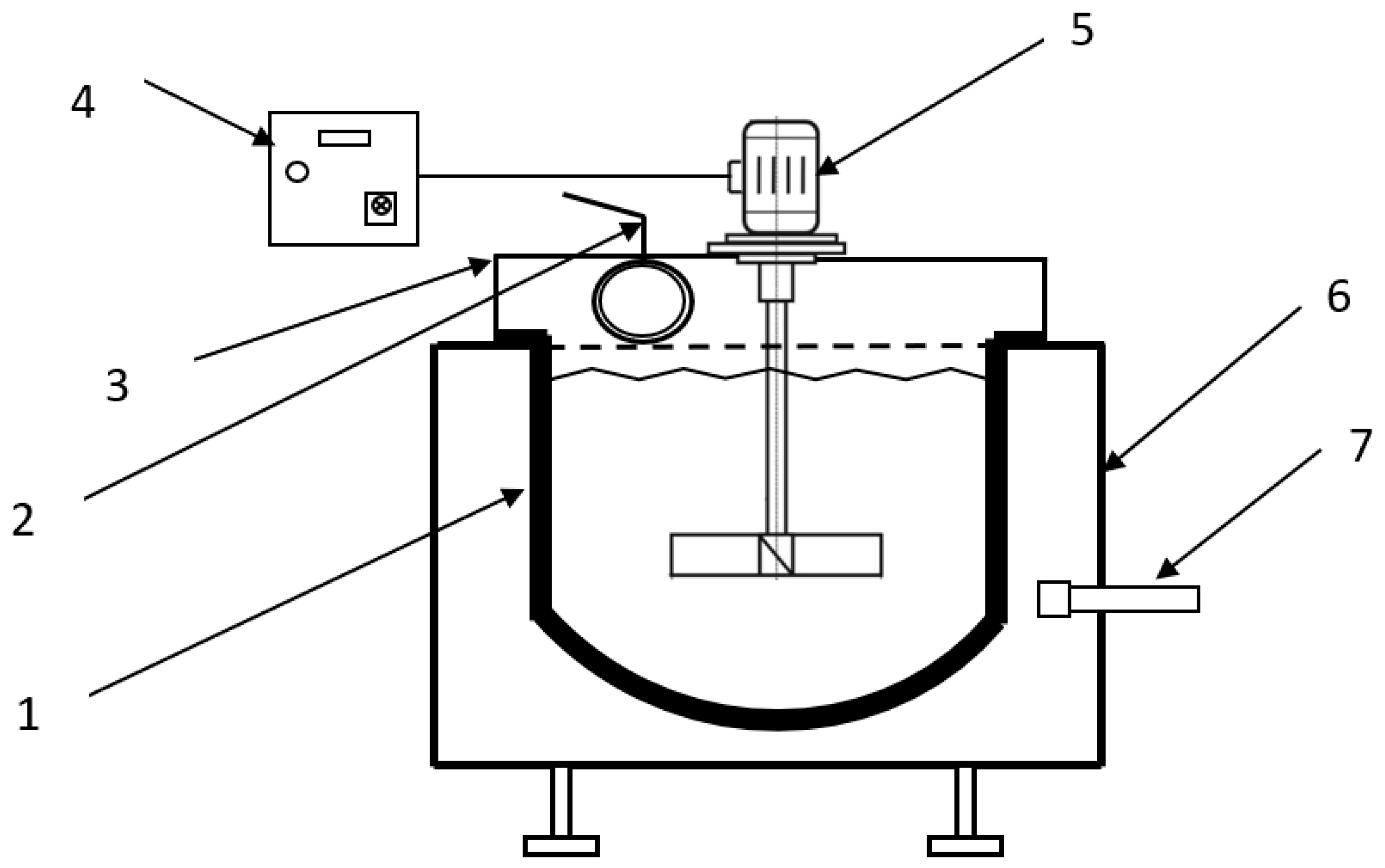
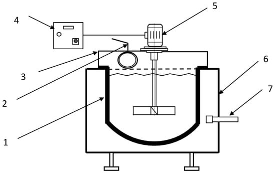
2. Materials and Methods
- PbSnIn alloy, derived directly as the heavy bottom phase from the liquation furnace, used for separation of the residual melt from reboiling columns in the HCM zinc refinery, and
- PbSnCuGeIn alloy separated in the same zinc-rich upper phase, by extensive zinc removal in the distillation furnace (Faber furnace), according to the original HCM procedure, already successfully implemented in an industrial-scale practice.
2.1. PbSnIn Alloy Processing
- Alloy melting and collection of the homogenized sample;
- Zinc removal from the alloy, at first with the application of NaOH and finally by stirring NaOH + NaNO3 on the alloy surface at 500–550 °C;
- Indium removal by thermal oxidation of the alloy at approximately 650 ± 20 °C with intense stirring (400 rot/min) and open air circulation.
2.2. PbSnCuGeIn Alloy Processing
- Alloy melting and potential addition of recycled metal;
- Ge and In removal by thermal oxidation of the alloy at approximately 650–700 °C under intensive mixing in open air with the addition of NaNO3 (Tests 1, 3, 4, and 5) or NaOH (Test 2);
- Collection of the GeIn drosses, sieving them through a 0.32-mm sieve, and recycling the oversized drosses before the next oxidation; and
- Casting the PbSn(Cu)Ag alloy.
3. Results
3.1. PbSnIn Alloy
- Zinc removal, at first with NaOH, and finally with NaOH + NaNO3 through continuous stirring on the alloy surface at 500–550 °C;
- Indium removal by thermal oxidation of the alloy at 650 ± 20 °C with intense stirring and free air circulation.
3.2. PbSnCuGeIn Alloy
- Ge and In removal by thermal oxidation of the alloy at approximately 650–700 °C under intensive mixing and in open air with addition of 1–3 kg of NaNO3 (Tests 1, 3, 4, and 5) or 5 kg of NaOH (Test 2); and
- Collection of the GeIn dross and its sieving through a 0.32-mm sieve, as well as recycling of the coarse fraction to the next oxidation step.
4. Discussion
4.1. PbSnIn Alloy
4.2. PbSnCuGeIn Alloy
5. Conclusions
Author Contributions
Funding
Conflicts of Interest
References
- European Commission. Communication from the Commission to the European Parliament, the Council, the European Economic and Social Committee and the Committee of the Regions on the 2017 List of Critical Raw Materials for the EU. COM(217) 490 Final; European Commission: Brussels, Belgium, 2017. [Google Scholar]
- Speirs, J.; Gross, B.; Gross, R.; Houari, Y. Energy Materials Availability; UK Energy Research Centre: London, UK, 2013. [Google Scholar]
- Dai, S.F.; Seredin, V.V.; Ward, C.R.; Jiang, J.H.; Hower, J.C.; Song, X.L.; Jiang, Y.F.; Wang, X.B.; Gornostaeva, T.; Li, X.; et al. Composition and modes of occurrence of minerals and elements in coal combustion products derived from high-Ge coals. Int. J. Coal Geol. 2014, 121, 79–97. [Google Scholar] [CrossRef]
- Font, O.; Querol, X.; Lopez-Soler, A.; Chimenos, J.M.; Fernandez, A.I.; Burgos, S.; Pena, F.G. Ge extraction from gasification fly ash. Fuel 2005, 84, 1384–1392. [Google Scholar] [CrossRef]
- Makowska, D.; Wieronska, F.; Strugala, A.; Kosowska, K. Germanium content in Polish hard coals. In Proceedings of the 1st International Conference on the Sustainable Energy and Environment Development (SEED), Krakow, Poland, 17–19 May 2016. [Google Scholar]
- Kul, A.; Topkaya, Y. Recovery of germanium and other valuable metals from zinc plant residues. Hydrometallurgy 2008, 92, 87–94. [Google Scholar] [CrossRef]
- Bayat, S.; Aghazadeh, S.; Noaparast, M.; Gharabaghi, M.; Taheri, B. Germanium separation and purification by leaching and precipitation. J. Cent. South Univ. 2016, 23, 2214–2222. [Google Scholar] [CrossRef]
- Fayram, T.S.; Anderson, C.G. The development and implementation of industrial hydrometallurgical gallium and germanium recovery. J. South. Afr. Inst. Min. Metall. 2008, 108, 261–271. [Google Scholar]
- Liu, F.P.; Liu, Z.H.; Li, Y.H.; Wilson, B.P.; Lundstrom, M. Recovery and separation of gallium(III) and germanium(IV) from zinc refinery residues: Part I: Leaching and iron(III) removal. Hydrometallurgy 2017, 169, 564–570. [Google Scholar] [CrossRef]
- Alfantazi, A.M.; Moskalyk, R.R. Processing of indium: A review. Miner. Eng. 2003, 16, 687–694. [Google Scholar] [CrossRef]
- Chmielarz, A.; Prajsnar, R.; Szołomicki, Z.; Becker, K.; Pietrek, W. A case study on indium recovery from by-product lead alloy. In Proceedings of the Pb-Zn, Duesseldorf, Germany, 14–17 June 2015; pp. 147–158. [Google Scholar]
- Howard, S.M. Ellingham Diagrams, Internet Resource for MET 320—Metallurgical Thermodynamics, South Dakota School of Mines and Technology, Rapid City, SD, USA. Available online: http://showard.sdsmt.edu/MET320/Handouts/EllinghamDiagrams/Ellingham_v22_Macro.pdf (accessed on 17 Dec 2018).
- Drzazga, M.; Prajsnar, R.; Chmielarz, A.; Benke, G.; Leszczyńska-Sejda, K.; Ciszewski, M.; Bilewska, K.; Krawiec, G. Germanium and Indium Recovery from Zinc Metallurgy by—Products—Dross Leaching in Sulphuric and Oxalic Acids. Metals 2018, 8, 1041. [Google Scholar] [CrossRef]










| Alloy | Amount (tpa *) | Chemical Composition (wt %) | |||||||||
|---|---|---|---|---|---|---|---|---|---|---|---|
| In | Ge | Sn | Pb | Cu | Zn | Sb | As | Bi | Ag | ||
| PbSnIn | 250 | 0.23 | 0.012 | 2.62 | 93.3 | 0.006 | 2.23 | 0.076 | <0.02 | 0.30 | – |
| PbSnCuGeIn | 30 | 1.74 | 6.90 | 35.9 | 19.0 | 21.4 | 8.63 | 1.06 | 1.55 | 0.061 | 1.55 |
| Test No. | Mass (kg) | Chemical Composition (wt %) | |||
|---|---|---|---|---|---|
| Pb | Zn | Sn | In | ||
| 1 | 703 | 98.20 | <0.010 | 1.650 | 0.020 |
| 2 | 693 | 98.10 | <0.010 | 1.560 | 0.020 |
| 3 | 632 | 98.50 | <0.010 | 1.170 | 0.020 |
| 4 | 642 | 98.40 | <0.010 | 1.320 | 0.018 |
| 5 | 449 | 98.60 | <0.010 | 1.080 | 0.013 |
| Test No. | Mass (kg) | Chemical Composition (wt %) | |||||
|---|---|---|---|---|---|---|---|
| Zn | Pb | Sn | In | Ge | Na | ||
| 1 | 47.20 | 31.50 | 17.00 | 2.510 | 0.141 | 0.303 | 18.30 |
| 2 | 39.70 | 30.90 | 29.30 | 2.140 | 0.138 | 0.270 | 13.00 |
| 3 | 63.30 | 30.70 | 16.60 | 4.820 | 0.162 | 0.200 | 19.40 |
| 4 | 57.00 | 36.70 | 9.240 | 4.550 | 0.064 | 0.196 | 20.50 |
| 5 | 29.00 | 37.20 | 6.800 | 7.960 | 0.154 | 0.395 | 17.10 |
| Test No. | Mass (kg) | Chemical Composition (wt %) | |||
|---|---|---|---|---|---|
| Pb | In | Sn | Zn | ||
| 1 | 99.20 | 82.20 | 1.250 | 6.160 | 0.850 |
| 2 | 109.4 | 75.80 | 1.340 | 6.120 | 3.030 |
| 3 | 142.6 | 70.50 | 0.820 | 5.110 | 1.120 |
| 4 | 150.1 | 77.20 | 1.120 | 4.460 | 1.200 |
| 5 | 174.3 | 73.70 | 1.110 | 6.730 | 1.260 |
| Test No. | Chemical Composition (wt %) | |||||||||
|---|---|---|---|---|---|---|---|---|---|---|
| Ge | In | Ag | Zn | Cu | Sn | Pb | Ni | Sb | As | |
| 1 | 4.89 | 1.98 | 0.98 | 1.81 | 15.7 | 40.7 | 31.2 | 0.20 | 0.60 | 0.048 |
| 2 | 2.19 | 2.12 | 1.10 | 0.58 | 18.8 | 44.4 | 28.8 | 0.21 | 0.66 | 0.077 |
| 3 | 0.27 | 0.63 | 1.26 | <0.01 | 20.3 | 47.1 | 29.0 | 0.25 | 0.69 | 0.13 |
| 4 | 0.01 | 0.015 | 1.87 | <0.01 | 29.0 | 49.4 | 18.2 | 0.36 | 0.84 | 0.21 |
| 5 | 0.01 | 0.06 | 1.76 | <0.01 | 30.8 | 50.2 | 15.8 | 0.37 | 0.80 | 0.16 |
| Test No. | Chemical Composition (wt %) | ||||||||||
|---|---|---|---|---|---|---|---|---|---|---|---|
| Ge | In | Sn | Cu | Pb | Zn | Ag | Ga | Fe | Sb | Na | |
| 1 | 11.1 | 3.74 | 27.7 | 15.1 | 21.0 | 17.6 | 0.67 | 0.43 | 0.41 | 0.72 | 0.49 |
| 3 | 11.7 | 4.09 | 27.2 | 10.3 | 17.2 | 8.12 | 0.50 | 0.26 | 1.49 | 0.51 | 2.20 |
| 4 | 10.5 | 2.74 | 28.7 | 10.6 | 18.0 | 9.23 | 0.68 | 0.28 | 0.74 | 0.58 | 1.96 |
| 5 | 11.6 | 2.45 | 28.5 | 9.32 | 20.9 | 7.09 | 0.66 | 0.47 | 0.67 | 0.55 | 2.55 |
| Test No. | Chemical Composition (wt %) | ||||||||||
|---|---|---|---|---|---|---|---|---|---|---|---|
| Ge | In | Sn | Cu | Pb | Zn | Ag | Ga | Fe | Sb | Na | |
| 2 | 12.2 | 2.52 | 21.1 | 10.9 | 14.0 | 5.94 | 0.53 | 0.66 | 0.28 | 0.51 | 13.0 |
© 2019 by the authors. Licensee MDPI, Basel, Switzerland. This article is an open access article distributed under the terms and conditions of the Creative Commons Attribution (CC BY) license (http://creativecommons.org/licenses/by/4.0/).
Share and Cite
Kulawik, S.; Prajsnar, R.; Chmielarz, A.; Cybulski, A.; Michalski, R.; Klejnowska, K.; Drzazga, M.; Krawiec, G. Thermal Oxidation of Indium, Germanium, and Tin from Lead-Bearing Alloys Generated in Zinc Refinement. Metals 2019, 9, 166. https://doi.org/10.3390/met9020166
Kulawik S, Prajsnar R, Chmielarz A, Cybulski A, Michalski R, Klejnowska K, Drzazga M, Krawiec G. Thermal Oxidation of Indium, Germanium, and Tin from Lead-Bearing Alloys Generated in Zinc Refinement. Metals. 2019; 9(2):166. https://doi.org/10.3390/met9020166
Chicago/Turabian StyleKulawik, Sebastian, Ryszard Prajsnar, Andrzej Chmielarz, Andrzej Cybulski, Rafał Michalski, Katarzyna Klejnowska, Michał Drzazga, and Grzegorz Krawiec. 2019. "Thermal Oxidation of Indium, Germanium, and Tin from Lead-Bearing Alloys Generated in Zinc Refinement" Metals 9, no. 2: 166. https://doi.org/10.3390/met9020166
APA StyleKulawik, S., Prajsnar, R., Chmielarz, A., Cybulski, A., Michalski, R., Klejnowska, K., Drzazga, M., & Krawiec, G. (2019). Thermal Oxidation of Indium, Germanium, and Tin from Lead-Bearing Alloys Generated in Zinc Refinement. Metals, 9(2), 166. https://doi.org/10.3390/met9020166

