Comparative Study of High-Cycle Fatigue and Failure Mechanisms in Ultrahigh-Strength CrNiMoWMnV Low-Alloy Steels
Abstract
1. Introduction
2. Experimental Procedures
2.1. Materials
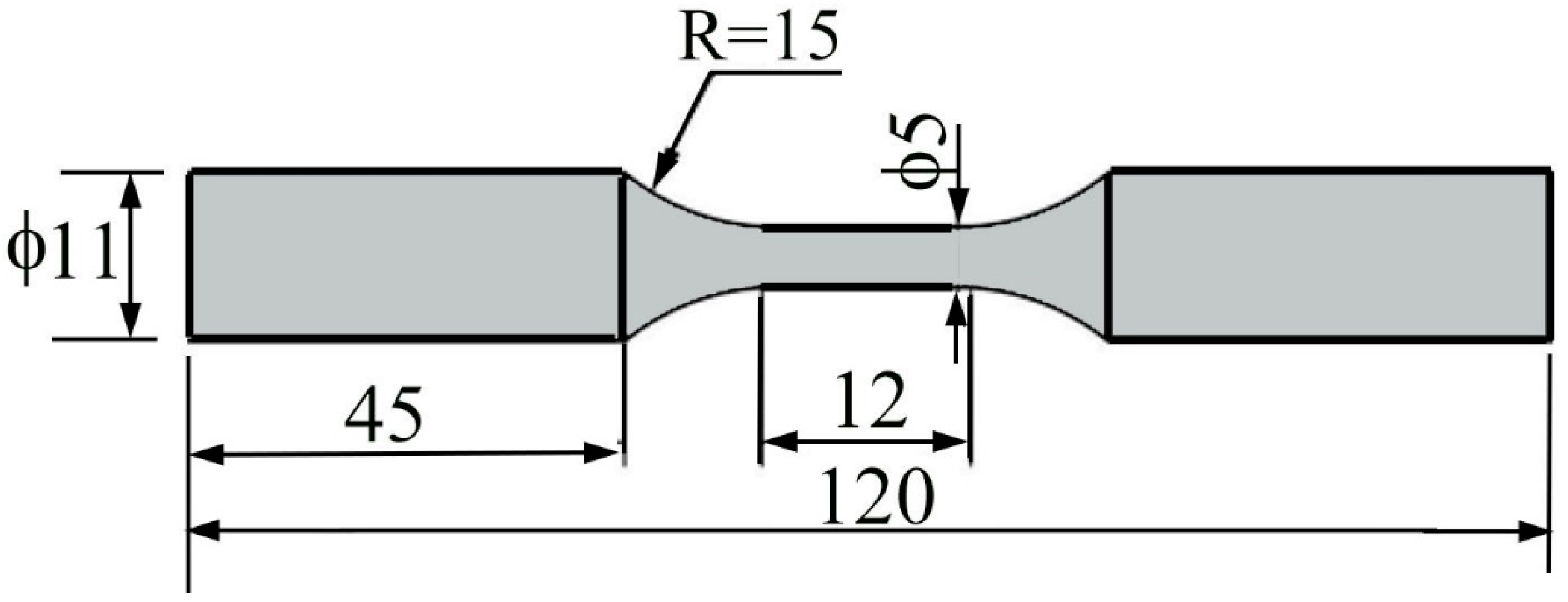
2.2. Fatigue Tests
2.3. Characterisation
3. Results and Discussion
3.1. Microstructure Characteristics
3.2. Tensile Properties and Microindentation Hardness
3.3. Fatigue Behaviour
4. Conclusions
- Steel A, with its martensitic structure, exhibited higher YS and tensile strength (UTS) compared to Steel B, which has a martensitic–bainitic structure. The YS and UTS values for Steel A were measured to be 1145 and 1872 MPa, respectively, while the corresponding values for Steel B were 920 and 1353 MPa.
- Fatigue tests revealed that Steel A demonstrated higher fatigue resistance compared to Steel B. The fatigue limit () for Steel A and Steel B was estimated to be 550 and 500 MPa, respectively, corresponding to a fatigue run out of 107 cycles without failure.
- NMIs acted as stress concentrators, leading to localised cyclic plastic deformation and fatigue crack initiation. Chemical analysis revealed Mn/Si oxides as the primary constituents of the NMIs.
- Surface cracks were observed in the cross-section of fatigued Steel B, while internal cracks were attributed to NMIs. Microstructure investigations showed surface cracks and distributed fatigue markings (PSBs) in Steel B, highlighting its complex fatigue behaviour.
Author Contributions
Funding
Data Availability Statement
Acknowledgments
Conflicts of Interest
References
- Dilmore, M.; Ruhlman, J.D. Eglin Steel—A Low Alloy High Strength Composition. US Patent US7537727B2, 26 May 2009. Google Patents. 2009. Available online: https://patents.google.com/patent/US7537727B2/en (accessed on 24 July 2023).
- Malakondaiah, G.; Srinivas, M.; Rao, P.R. Ultrahigh-strength low-alloy steels with enhanced fracture toughness. Prog. Mater. Sci. 1997, 42, 209–242. [Google Scholar] [CrossRef]
- Tümer, M.; Schneider-Bröskamp, C.; Enzinger, N. Enzinger, Fusion welding of ultra-high strength structural steels—A review. J. Manuf. Process. 2022, 82, 203–229. [Google Scholar] [CrossRef]
- Hu, L.; Li, X.; Luo, W.; Li, S.; Deng, D. Residual stress and deformation in UHS quenched steel butt-welded joint. Int. J. Mech. Sci. 2023, 245, 108099. [Google Scholar] [CrossRef]
- Tian, J.; Jiang, Z. Exploring New Strategies for Ultrahigh Strength Steel via Tailoring the Precipitates. Front. Mater. 2021, 8, 797798. [Google Scholar] [CrossRef]
- Bhaumik, S.; Sujata, M.; Venkataswamy, M. Fatigue failure of aircraft components. Eng. Fail. Anal. 2008, 15, 675–694. [Google Scholar] [CrossRef]
- Zerbst, U.; Madia, M.; Klinger, C.; Bettge, D.; Murakami, Y. Defects as a root cause of fatigue failure of metallic components. II: Non-metallic inclusions. Eng. Fail. Anal. 2019, 98, 228–239. [Google Scholar] [CrossRef]
- Yu, W.; Zhu, S.; He, X.; Wang, M. Very high cycle fatigue properties of 2000 MPa ultrahigh-strength steels. Mater. Sci. Technol. 2022, 38, 866–875. [Google Scholar] [CrossRef]
- Okuda, K.; Ogawa, K.; Ichikawa, Y.; Shiozaki, T.; Yamaguchi, N. Influence of microstructure on fatigue property of ultra high-strength steels. Frat. Integrita Strutt. 2019, 13, 125–134. [Google Scholar] [CrossRef]
- Schönbauer, B.M.; Ghosh, S.; Karr, U.; Pallaspuro, S.; Kömi, J.; Frondelius, T.; Mayer, H. Mean-stress sensitivity of an ultrahigh-strength steel under uniaxial and torsional high and very high cycle fatigue loading. Fatigue Fract. Eng. Mater. Struct. 2022, 45, 3361–3377. [Google Scholar] [CrossRef]
- Shiozawa, K.; Morii, Y.; Nishino, S.; Lu, L. Subsurface crack initiation and propagation mechanism in high-strength steel in a very high cycle fatigue regime. Int. J. Fatigue 2006, 28, 1521–1532. [Google Scholar] [CrossRef]
- Hong, Y.; Lei, Z.; Sun, C.; Zhao, A. Propensities of crack interior initiation and early growth for very-high-cycle fatigue of high strength steels. Int. J. Fatigue 2014, 58, 144–151. [Google Scholar] [CrossRef]
- Hong, Y.; Liu, X.; Lei, Z.; Sun, C. The formation mechanism of characteristic region at crack initiation for very-high-cycle fatigue of high-strength steels. Int. J. Fatigue 2016, 89, 108–118. [Google Scholar] [CrossRef]
- Furuya, Y.; Matsuoka, S.; Abe, T.; Yamaguchi, K. Gigacycle fatigue properties for high-strength low-alloy steel at 100 Hz, 600 Hz, and 20 kHz. Scr. Mater. 2002, 46, 157–162. [Google Scholar] [CrossRef]
- Jeddi, D.; Palin-Luc, T. A review about the effects of structural and operational factors on the gigacycle fatigue of steels. Fatigue Fract. Eng. Mater. Struct. 2018, 41, 969–990. [Google Scholar] [CrossRef]
- Gui, X.; Gao, G.; An, B.; Misra, R.; Bai, B. Relationship between non-inclusion induced crack initiation and microstructure on fatigue behavior of bainite/martensite steel in high cycle fatigue/very high cycle (HCF/VHCF) regime. Mater. Sci. Eng. A 2021, 803, 140692. [Google Scholar] [CrossRef]
- Liu, C.; Zhao, M.-C.; Zhao, Y.-C.; Zhang, L.; Yin, D.-F.; Tian, Y.; Shan, Y.-Y.; Yang, K.; Atrens, A. Ultra-high cycle fatigue behavior of a novel 1.9 GPa grade super-high-strength maraging stainless steel. Mater. Sci. Eng. A 2019, 755, 50–56. [Google Scholar] [CrossRef]
- Yuan, C.; Li, S.; Huang, J.; Lin, X.; Bian, X.; Chen, J. Effect of hierarchical martensitic microstructure on fatigue crack growth behavior of ultra-high strength hot stamping steel. Mater. Charact. 2021, 174, 111041. [Google Scholar] [CrossRef]
- Hojo, T.; Kobayashi, J.; Sugimoto, K.-I.; Takemoto, Y.; Nagasaka, A.; Koyama, M.; Akiyama, E. Effects of matrix structure and nitrogen content on fatigue properties of ultrahigh-strength low alloy TRIP-aided steels. Tetsu-to-Hagane/J. Iron Steel Inst. Jpn. 2021, 107, 672–680. [Google Scholar] [CrossRef]
- Guo, P.; Deng, L.; Wang, X.; Jin, J. Simultaneous improvement of toughness and fatigue life in a typical ultrahigh strength steel by a new deep cryogenic treatment process. ISIJ Int. 2021, 61, 463–472. [Google Scholar] [CrossRef]
- Ali, M.; Porter, D.; Kömi, J.; Eissa, M.; El Faramawy, H.; Mattar, T. The Effect of Electroslag Remelting on the Microstructure and Mechanical Properties of CrNiMoWMnV Ultrahigh-Strength Steels. Metals 2020, 10, 262. [Google Scholar] [CrossRef]
- Designation: E466—07; StandardPractice for Conducting Force Controlled Constant Amplitude Axial Fatigue Tests of Metallic Materials. ASTM International: West Conshohocken, PA, USA, 2015. [CrossRef]
- Groeber, M.A.; Jackson, M.A. DREAM.3D: A Digital Representation Environment for the Analysis of Microstructure in 3D. Integr. Mater. Manuf. Innov. 2014, 3, 56–72. [Google Scholar] [CrossRef]
- Totten, G.E. Steel Heat Treatment: Metallurgy and Technologies, 1st ed.; CRC Press: Boca Raton, FL, USA, 2006. [Google Scholar] [CrossRef]
- Lynch, P.C. The Development of Ultrahigh Strength Low Alloy Cast Steels with Increased Toughness; The Pennsylvania State University: University Park, PA, USA, 2011; Available online: https://ui.adsabs.harvard.edu/abs/2011PhDT.......247L/abstract (accessed on 25 July 2023).
- Hamada, A.; Ghosh, S.; Ali, M.; Jaskari, M.; Järvenpää, A. Studying the strengthening mechanisms and mechanical properties of dissimilar laser-welded butt joints of medium-Mn stainless steel and automotive high-strength carbon steel. Mater. Sci. Eng. A 2022, 856, 143936. [Google Scholar] [CrossRef]
- Saha, D.C.; Biro, E.; Gerlich, A.P.; Zhou, Y. Effects of tempering mode on the structural changes of martensite. Mater. Sci. Eng. A 2016, 673, 467–475. [Google Scholar] [CrossRef]
- Kumar, A.; Singh, S.B.; Ray, K.K. Influence of bainite/martensite-content on the tensile properties of low carbon dual-phase steels. Mater. Sci. Eng. A 2008, 474, 270–282. [Google Scholar] [CrossRef]
- Haiko, O.; Pallaspuro, S.; Javaheri, V.; Kaikkonen, P.; Ghosh, S.; Valtonen, K.; Kaijalainen, A.; Kömi, J. High-stress abrasive wear performance of medium-carbon direct-quenched and partitioned, carbide-free bainitic, and martensitic steels. Wear 2023, 526–527, 204925. [Google Scholar] [CrossRef]
- Zhang, Y.; Long, X.; Zhang, Z.; Zhu, R.; Li, Y.; Zhang, F.; Yang, Z. Effect of phase transformation sequence on the low cycle fatigue properties of bainitic/martensitic multiphase steels. Int. J. Fatigue 2024, 178, 107995. [Google Scholar] [CrossRef]
- Chapetti, M.; Miyata, H.; Tagawa, T.; Miyata, T.; Fujioka, M. Fatigue strength of ultra-fine grained steels. Mater. Sci. Eng. A 2004, 381, 331–336. [Google Scholar] [CrossRef]
- Song, Q.; Sun, C. Mechanism of crack initiation and early growth of high strength steels in very high cycle fatigue regime. Mater. Sci. Eng. A 2020, 771, 138648. [Google Scholar] [CrossRef]
- KBurkart, K.; Bomas, H.; Zoch, H.-W. Fatigue of notched case-hardened specimens of steel SAE 5120 in the VHCF regime and application of the weakest-link concept. Int. J. Fatigue 2011, 33, 59–68. [Google Scholar] [CrossRef]
- Zhang, J.M.; Li, S.X.; Yang, Z.G.; Li, G.Y.; Hui, W.J.; Weng, Y.Q. Influence of inclusion size on fatigue behavior of high strength steels in the gigacycle fatigue regime. Int. J. Fatigue 2007, 29, 765–771. [Google Scholar] [CrossRef]
- Nie, Y.H.; Fu, W.T.; Hui, W.J.; Dong, H.; Weng, Y.Q. Very high cycle fatigue behaviour of 2000-MPa ultra-high-strength spring steel with bainite-martensite duplex microstructure. Fatigue Fract. Eng. Mater. Struct. 2009, 32, 189–196. [Google Scholar] [CrossRef]
- Mayer, H.; Haydn, W.; Schuller, R.; Issler, S.; Bacher-Höchst, M. Very high cycle fatigue properties of bainitic high carbon-chromium steel under variable amplitude conditions. Int. J. Fatigue 2009, 31, 1300–1308. [Google Scholar] [CrossRef]
- Zhao, P.; Gao, G.; Misra, R.; Bai, B. Effect of microstructure on the very high cycle fatigue behavior of a bainite/martensite multiphase steel. Mater. Sci. Eng. A 2015, 630, 1–7. [Google Scholar] [CrossRef]
- Mayer, H.; Haydn, W.; Schuller, R.; Issler, S.; Furtner, B.; Bacher-Höchst, M. Very high cycle fatigue properties of bainitic high carbon-chromium steel. Int. J. Fatigue 2009, 31, 242–249. [Google Scholar] [CrossRef]
- Sangid, M.D. The physics of fatigue crack initiation. Int. J. Fatigue 2013, 57, 58–72. [Google Scholar] [CrossRef]
- Armstrong, W.; Polák, J. Role of Persistent Slip Bands and Persistent Slip Markings in Fatigue Crack Initiation in Polycrystals. Crystals 2023, 13, 220. [Google Scholar] [CrossRef]
- Schijve, J. Fatigue of Structures and Materials, 2nd ed.; Springer: Delft, The Netherlands, 2009. [Google Scholar] [CrossRef]
- Hamada, A.S.; Järvenpää, A.; Ahmed, M.M.Z.; Jaskari, M.; Wynne, B.P.; Porter, D.A.; Karjalainen, L.P. The microstructural evolution of friction stir welded AA6082-T6 aluminum alloy during cyclic deformation. Mater. Sci. Eng. A 2015, 642, 366–376. [Google Scholar] [CrossRef]














| C | Si | Mn | P | S | Cr | Mo | Ni | W | V | N | |
|---|---|---|---|---|---|---|---|---|---|---|---|
| Steel A | 0.30 | 0.71 | 0.70 | 0.02 | 0.02 | 2.32 | 0.32 | 2.34 | 1.21 | 0.08 | 0.01 |
| Steel B | 0.15 | 0.51 | 0.41 | 0.02 | 0.02 | 1.73 | 0.31 | 4.44 | 1.33 | 0.07 | 0.02 |
Disclaimer/Publisher’s Note: The statements, opinions and data contained in all publications are solely those of the individual author(s) and contributor(s) and not of MDPI and/or the editor(s). MDPI and/or the editor(s) disclaim responsibility for any injury to people or property resulting from any ideas, methods, instructions or products referred to in the content. |
© 2024 by the authors. Licensee MDPI, Basel, Switzerland. This article is an open access article distributed under the terms and conditions of the Creative Commons Attribution (CC BY) license (https://creativecommons.org/licenses/by/4.0/).
Share and Cite
Hamada, A.; Ali, M.; Ghosh, S.; Jaskari, M.; Allam, T.; Schwaiger, R.; Eissa, M.; Mattar, T. Comparative Study of High-Cycle Fatigue and Failure Mechanisms in Ultrahigh-Strength CrNiMoWMnV Low-Alloy Steels. Metals 2024, 14, 1238. https://doi.org/10.3390/met14111238
Hamada A, Ali M, Ghosh S, Jaskari M, Allam T, Schwaiger R, Eissa M, Mattar T. Comparative Study of High-Cycle Fatigue and Failure Mechanisms in Ultrahigh-Strength CrNiMoWMnV Low-Alloy Steels. Metals. 2024; 14(11):1238. https://doi.org/10.3390/met14111238
Chicago/Turabian StyleHamada, Atef, Mohammed Ali, Sumit Ghosh, Matias Jaskari, Tarek Allam, Ruth Schwaiger, Mamdouh Eissa, and Taha Mattar. 2024. "Comparative Study of High-Cycle Fatigue and Failure Mechanisms in Ultrahigh-Strength CrNiMoWMnV Low-Alloy Steels" Metals 14, no. 11: 1238. https://doi.org/10.3390/met14111238
APA StyleHamada, A., Ali, M., Ghosh, S., Jaskari, M., Allam, T., Schwaiger, R., Eissa, M., & Mattar, T. (2024). Comparative Study of High-Cycle Fatigue and Failure Mechanisms in Ultrahigh-Strength CrNiMoWMnV Low-Alloy Steels. Metals, 14(11), 1238. https://doi.org/10.3390/met14111238

