Designing of a Decentralized Pretreatment Line for EOL-LIBs Based on Recent Literature of LIB Recycling for Black Mass
Abstract
:1. Background
2. Novelty and Scope of the Study
3. LIB Classification, Collection, and Sorting
3.1. Battery Characterization
3.2. Material Collection
3.3. Material Sorting
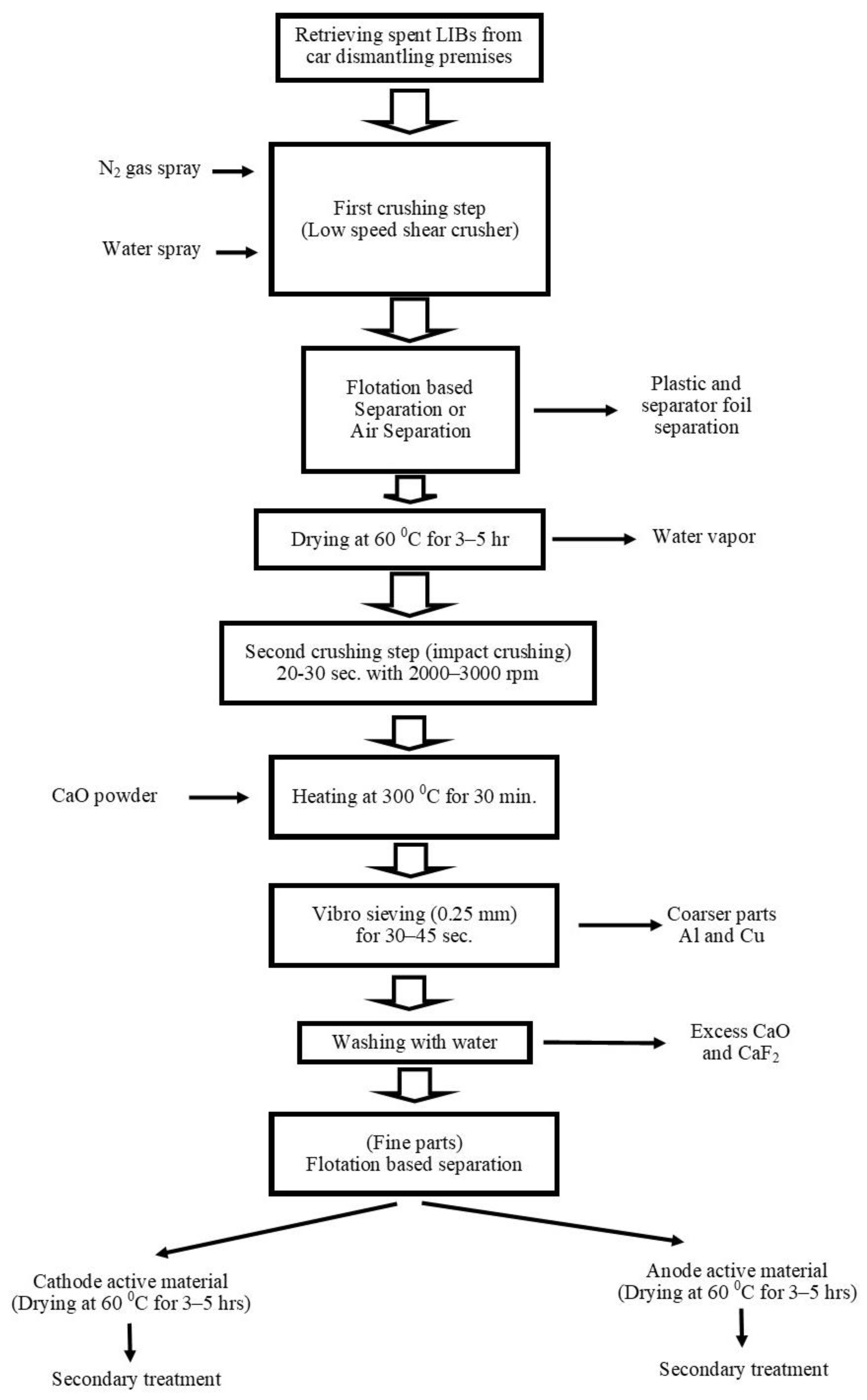
4. Pretreatment
4.1. Discharging and Dismantling
4.2. Mechanical Treatment


4.3. Sieving
4.4. Dissolution
| Solvent Type | Condition | Results | Remarks | Ref. | ||
|---|---|---|---|---|---|---|
| NMP | 1 h reaction at 100 °C | 100% recovery of Al and Cu | LCO-type LIBs, economically inefficient | [73] | ||
| DMAC | 1:4 to 1:5 S:L ratio | Less recovery than NMP at optimum conditions | LCO-type LIBs, cheap and convenient | [147] | ||
| DMF + Ethanol | dissolution at 70 °C | Less recovery compared to NMP | NMC and LCO-type LIBs, cheap and convenient | [146] | ||
| NMP Water Acetone Dichloromethane Carbon tetrachloride | 3 min. ultrasonication at room temperature | 99% recovery for cathode material | NMC-type LIBs | [151] | ||
![]() | less than 18% recovery | |||||
| DMAC DMF DMSO Ethanol NMP | dissolving with mild sonication 1:10 S:L ratio at 60 °C for 30 min. | Increased by 6 times when sonication was used than when it was not used according to: ethanol < DMSO < DMF < DMAC | Common LIB types | [152] | ||
| NMP | 90 min. reaction time at 70 °C with 240 W sonication | 99% recovery of cathode materials | Common LIB types | [152] | ||
| Sulfide Dissolved in water | at room temperature | 100% selective liberation of LFP cathode materials | Beneficial when extracting LFP active materials from combination of LIBs available | [154] | ||
| AlCl3-NaCl molten salts | 20 min. reaction time at 160 °C with 1:10 S:L ratio | 99.8 wt% liberation efficiency | Inexpensive and convenient method | [155] | ||
| 15 vol% TFA | 180 min. optimal agitation at 40 °C with 1:8 S:L ratio | High-quality material recovery | NMC-type LIBs with PTFE binders | [121,122,123,124,125,126,127,128,129,130,131,132,133,134,135,136,137,138,139,140,141,142,143,144,145,146,147,148,149,150,151,152,153,154,155] | ||
| AEES | Na-based salt at room temperature | Active material 100% Cu 99% Al 95.6% | For LFP and NMC-type LIBs | [156] | ||
| Alkaline solution (NaOH) | removing of 63.2 nm layer from Al foil | Cathode active material 100% Al 99% | LCO-type LIBs | [101,102,157] | ||
4.5. Thermal Pretreatment
5. Discussions and Conclusions
Author Contributions
Funding
Institutional Review Board Statement
Informed Consent Statement
Data Availability Statement
Conflicts of Interest
References
- IEA. World Energy Outlook 2020. Available online: https://www.iea.org/reports/world-energy-outlook-2020 (accessed on 3 January 2023).
- European Commision. Directive (eu) 2018/2001 of the European Parliament and of the Council. 2018. Available online: https://eur-lex.europa.eu/legal-content/EN/TXT/?uri=uriserv:OJ.L_.2018.328.01.0082.01.ENG (accessed on 3 January 2023).
- BP. BP Statistical Review of World Energy 2020. Available online: https://www.bp.com/en/global/corporate/news-and-insights/press-releases/bp-statistical-review-of-world-energy-2020-published.html (accessed on 3 January 2023).
- Schmuch, R.; Wagner, R.; Hörpel, G.; Placke, T.; Winter, M. Performance and Cost of Materials for Lithium-Based Rechargeable Automotive Batteries. Nat. Energy 2018, 3, 267. [Google Scholar] [CrossRef]
- Placke, T.; Kloepsch, R.; Dühnen, S.; Winter, M. Lithium Ion, Lithium Metal, and Alternative Rechargeable Battery Technologies: The Odyssey for High Energy Density. J. Solid State Electrochem. 2017, 21, 1939–1964. [Google Scholar] [CrossRef]
- Armand, M.; Axmann, P.; Bresser, D.; Copley, M.; Edström, K.; Ekberg, C.; Guyomard, D.; Lestriez, B.; Novák, P.; Petranikova, M.; et al. Lithium-Ion Batteries—Current State of the Art and Anticipated Developments. J. Power Sources 2020, 479, 228708. [Google Scholar] [CrossRef]
- Qiao, H.; Wei, Q. 10-Functional Nanofibers in Lithium-Ion Batteries. In Functional Nanofibers and Their Applications; Wei, Q., Ed.; Woodhead Publishing: Sawston, UK, 2012; pp. 197–208. ISBN 9780857090690. [Google Scholar]
- Baars, J.; Domenech, T.; Bleischwitz, R.; Melin, H.E.; Heidrich, O. Circular Economy Strategies for Electric Vehicle Batteries Reduce Reliance on Raw Materials. Nat. Sustain. 2020, 4, 71–79. [Google Scholar] [CrossRef]
- IEA. The Role of Critical Minerals in Clean Energy Transitions. 2021. Available online: https://www.iea.org/reports/the-role-of-critical-minerals-in-clean-energy-transitions (accessed on 5 January 2023).
- Castelvecchi, D. Electric Cars: The Battery Challenge. Nature 2021, 596, 336–339. [Google Scholar] [CrossRef]
- European Commission. Critical Raw Materials Resilience: Charting a Path towards Greater Security and Sustainability. 2020. Available online: https://eur-lex.europa.eu/legal-content/EN/TXT/?uri=CELEX:52020DC0474 (accessed on 5 January 2023).
- European Commision. New Circular Economy Action Plan for a Cleaner and More Competitive Europe. 2020. Available online: https://eur-lex.europa.eu/legal-content/EN/TXT/?qid=1583933814386&uri=COM:2020:98:FIN (accessed on 5 January 2023).
- European Parliament. Council of the European Union Directive 2006/66/EC of the European Parliament and of the Council of 6 September 2006 on Batteries and Accumulators and Waste Batteries and Accumulators and Repealing Directive 91/157/ EEC 2006. 2006. Available online: https://eur-lex.europa.eu/legal-content/EN/ALL/?uri=CELEX%3A32006L0066 (accessed on 6 January 2023).
- Trading Economics. Cobalt. 2023. Available online: https://tradingeconomics.com/commodity/cobalt (accessed on 6 January 2023).
- U.S. Geological Survey. Mineral Commodity Summaries 2020. Available online: https://pubs.usgs.gov/periodicals/mcs2020/mcs2020.pdf (accessed on 6 January 2023).
- Jiang, Y.; Deng, Y.-P.; Fu, J.; Lee, D.U.; Liang, R.; Cano, Z.P.; Liu, Y.; Bai, Z.; Hwang, S.; Yang, L.; et al. Interpenetrating Triphase Cobalt-Based Nanocomposites as Efficient Bifunctional Oxygen Electrocatalysts for Long-Lasting Rechargeable Zn-Air Batteries. Adv. Energy Mater. 2018, 8, 1702900. [Google Scholar] [CrossRef]
- Korstanje, T.J.; van der Vlugt, J.I.; Elsevier, C.J.; de Bruin, B. Hydrogenation of Carboxylic Acids with a Homogeneous Cobalt Catalyst. Science 2015, 350, 298–302. [Google Scholar] [CrossRef]
- Statista, Countries with the Largest Lithium Reserves Worldwide. 2021. Available online: https://www.statista.com/statistics/268790/countries-with-the-largest-lithium-reserves-worldwide/ (accessed on 7 January 2022).
- Thomas, C.L. Mineral Commodity Summaries 2018, U.S. Geological Survey Mineral Commodity Summaries 2019. Miner. Commod. Summ. 2019, 20–200. [Google Scholar] [CrossRef]
- U.S. Geological Survey. Mineral Commodity Summaries 2023. Available online: https://doi.org/10.3133/mcs2023 (accessed on 6 January 2023).
- Pan, H.; Hu, Y.-S.; Chen, L. Room-Temperature Stationary Sodium-Ion Batteries for Large-Scale Electric Energy Storage. Energy Environ. Sci. 2013, 6, 2338–2360. [Google Scholar] [CrossRef]
- Hou, W.; Guo, X.; Shen, X.; Amine, K.; Yu, H.; Lu, J. Solid Electrolytes and Interfaces in All-Solid-State Sodium Batteries: Progress and Perspective. Nano Energy 2018, 52, 279–291. [Google Scholar] [CrossRef]
- Saeki, S.; Lee, J.; Zhang, Q.; Saito, F. Co-Grinding LiCoO2 with PVC and Water Leaching of Metal Chlorides Formed in Ground Product. Int. J. Miner. Process. 2004, 74, S373–S378. [Google Scholar] [CrossRef]
- Nassar, N.T.; Brainard, J.; Gulley, A.; Manley, R.; Matos, G.; Lederer, G.; Bird, L.R.; Pineault, D.; Alonso, E.; Gambogi, J.; et al. Evaluating the Mineral Commodity Supply Risk of the U.S. Manufacturing Sector. Sci Adv. 2020, 6, eaay8647. [Google Scholar] [CrossRef] [PubMed]
- U.S. Geological Survey. Mineral Commodity Summaries 2022. Available online: https://pubs.usgs.gov/periodicals/mcs2022/mcs2022.pdf (accessed on 6 January 2023).
- Statista. Reserves of Graphite Worldwide in 2021, by Country. 2021. Available online: https://www.statista.com/statistics/267367/reserves-of-graphite-by-country/#:~:text=In%202020%2C%20the%20total%20worldwide,650%2C000%20metric%20tons%20of%20graphite (accessed on 6 January 2023).
- Jin, S.; Mu, D.; Lu, Z.; Li, R.; Liu, Z.; Wang, Y.; Tian, S.; Dai, C. A Comprehensive Review on the Recycling of Spent Lithium-Ion Batteries: Urgent Status and Technology Advances. J. Clean. Prod. 2022, 340, 130535. [Google Scholar] [CrossRef]
- Statista. Worldwide Revenue from Electric Vehicles since 2010. 2023. Available online: https://www.statista.com/statistics/271537/worldwide-revenue-from-electric-vehicles-since-2010/ (accessed on 6 January 2023).
- IEA. Global EV Outlook 2019. License: CC BY 4.0. Available online: https://www.iea.org/reports/global-ev-outlook-2019 (accessed on 6 January 2023).
- IEA. New CEM Campaign Aims for Goal of 30% New Electric Vehicle Sales by 2030. 2017. Available online: https://www.iea.org/news/new-cem-campaign-aims-for-goal-of-30-new-electric-vehicle-sales-by-2030 (accessed on 6 January 2023).
- Koleski, K. The 13th Five-Year Plan (2016–2020), U.S.-China Economic and Security Review Commission. 2017. Available online: https://www.uscc.gov/sites/default/files/Research/The%2013th%20Five-Year%20Plan_Final_2.14.17_Updated%20(002).pdf (accessed on 6 January 2023).
- Larcher, D.; Tarascon, J.-M. Towards Greener and More Sustainable Batteries for Electrical Energy Storage. Nat. Chem. 2014, 7, 19–29. [Google Scholar] [CrossRef]
- Forti, V.; Baldé, C.P.; Kuehr, R.; Bel, G.; The Global E-Waste. Monitor 2020-Quantities, Flows, and the Circular Economy Potential. 2020. Available online: https://ewastemonitor.info/wp-content/uploads/2020/11/GEM_2020_def_july1_low.pdf (accessed on 6 January 2023).
- Fahimi, A.; Ducoli, S.; Federici, S.; Ye, G.; Mousa, E.; Frontera, P.; Bontempi, E. Evaluation of the Sustainability of Technologies to Recycle Spent Lithium-Ion Batteries, Based on Embodied Energy and Carbon Footprint. J. Clean. Prod. 2022, 338, 130493. [Google Scholar] [CrossRef]
- European Commission. Regulation of the European Parliament and the Council Concerning Batteries and Waste Batteries, Repealing Directive 2006/66/EC and Amending Regulation (EU) No2019/1020. 2020. Available online: https://eur-lex.europa.eu/legal-content/EN/TXT/?uri=CELEX:52020PC0798 (accessed on 6 January 2023).
- The Federal Universal Waste Regulations, in Title 40 of the Code of Federal Regulations (CFR) in Part 273 1995. Available online: https://www.ecfr.gov/current/title-40/part-261/subpart-D (accessed on 6 January 2023).
- Bureau of National Affairs (Arlington, V.). Environment Reporter: Cases; Bureau of National Affairs: Virginia, NV, USA, 1996. [Google Scholar]
- Wu, J.; Zheng, M.; Liu, T.; Wang, Y.; Liu, Y.; Nai, J.; Zhang, L.; Zhang, S.; Tao, X. Direct recovery: A sustainable recycling technology for spent lithium-ion battery. Energy Storage Mater. 2023, 54, 120–134. [Google Scholar] [CrossRef]
- State of California, California Rechargeable Battery Recycling Act of 2006. 2005. Available online: https://dtsc.ca.gov/fs-ab1125/ (accessed on 6 January 2023).
- State of Puerto Rico. Puerto Rico Electronics Recycling and Disposal Promotion Act. 2012. Available online: https://casetext.com/statute/laws-of-puerto-rico/title-twelve-conservation/subtitle-8-environment-ii/chapter-507-puerto-rico-electronics-recycling-and-disposal-promotion-act (accessed on 6 January 2023).
- New York State. Laws of New York Chapter 562-2010. Available online: https://www.call2recycle.org/wp-content/uploads/Chaptered-New-York-State-Law.pdf (accessed on 6 January 2023).
- State of Minnesota. 2022 Minnesota Statutes. 2022. Available online: https://www.revisor.mn.gov/statutes/cite/325E.125 (accessed on 7 July 2022).
- Sun, S.; Jin, C.; He, W.; Li, G.; Zhu, H.; Huang, J. Management Status of Waste Lithium-Ion Batteries in China and a Complete Closed-Circuit Recycling Process. Sci. Total Environ. 2021, 776, 145913. [Google Scholar] [CrossRef]
- Brückner, L.; Frank, J.; Elwert, T. Industrial Recycling of Lithium-Ion Batteries—A Critical Review of Metallurgical Process Routes. Metals 2020, 10, 1107. [Google Scholar] [CrossRef]
- Doose, S.; Mayer, J.K.; Michalowski, P.; Kwade, A. Challenges in Ecofriendly Battery Recycling and Closed Material Cycles: A Perspective on Future Lithium Battery Generations. Metals 2021, 11, 291. [Google Scholar] [CrossRef]
- He, K.; Zhang, Z.-Y.; Zhang, F.-S. Synthesis of Graphene and Recovery of Lithium from Lithiated Graphite of Spent Li-Ion Battery. Waste Manag. 2021, 124, 283–292. [Google Scholar] [CrossRef]
- Liu, C.; Lin, J.; Cao, H.; Zhang, Y.; Sun, Z. Recycling of Spent Lithium-Ion Batteries in View of Lithium Recovery: A Critical Review. J. Clean. Prod. 2019, 228, 801–813. [Google Scholar] [CrossRef]
- Lv, W.; Wang, Z.; Cao, H.; Sun, Y.; Zhang, Y.; Sun, Z. A Critical Review and Analysis on the Recycling of Spent Lithium-Ion Batteries. ACS Sustain. Chem. Eng. 2018, 6, 1504–1521. [Google Scholar] [CrossRef]
- Velázquez-Martínez, O.; Valio, J.; Santasalo-Aarnio, A.; Reuter, M.; Serna-Guerrero, R. A Critical Review of Lithium-Ion Battery Recycling Processes from a Circular Economy Perspective. Batteries 2019, 5, 68. [Google Scholar] [CrossRef]
- Windisch-Kern, S.; Gerold, E.; Nigl, T.; Jandric, A.; Altendorfer, M.; Rutrecht, B.; Scherhaufer, S.; Raupenstrauch, H.; Pomberger, R.; Antrekowitsch, H.; et al. Recycling Chains for Lithium-Ion Batteries: A Critical Examination of Current Challenges, Opportunities and Process Dependencies. Waste Manag. 2022, 138, 125–139. [Google Scholar] [CrossRef]
- Winslow, K.M.; Laux, S.J.; Townsend, T.G. A Review on the Growing Concern and Potential Management Strategies of Waste Lithium-Ion Batteries. Resour. Conserv. Recycl. 2018, 129, 263–277. [Google Scholar] [CrossRef]
- Ali, H.; Khan, H.A.; Pecht, M. Preprocessing of Spent Lithium-Ion Batteries for Recycling: Need, Methods, and Trends. Renew. Sustain. Energy Rev. 2022, 168, 112809. [Google Scholar] [CrossRef]
- Botelho Junior, A.B.; Stopic, S.; Friedrich, B.; Tenório, J.A.S.; Espinosa, D.C.R. Cobalt Recovery from Li-Ion Battery Recycling: A Critical Review. Metals 2021, 11, 1999. [Google Scholar] [CrossRef]
- Mossali, E.; Picone, N.; Gentilini, L.; Rodrìguez, O.; Pérez, J.M.; Colledani, M. Lithium-Ion Batteries towards Circular Economy: A Literature Review of Opportunities and Issues of Recycling Treatments. J. Environ. Manag. 2020, 264, 110500. [Google Scholar] [CrossRef]
- Yun, L.; Linh, D.; Shui, L.; Peng, X.; Garg, A.; Le, M.L.P.; Asghari, S.; Sandoval, J. Metallurgical and Mechanical Methods for Recycling of Lithium-Ion Battery Pack for Electric Vehicles. Resour. Conserv. Recycl. 2018, 136, 198–208. [Google Scholar] [CrossRef]
- Warner, J. 7-Lithium-Ion Battery Packs for EVs. In Lithium-Ion Batteries; Pistoia, G., Ed.; Elsevier: Amsterdam, The Netherlands, 2014; pp. 127–150. ISBN 9780444595133. [Google Scholar]
- El Mofid, W.; Ivanov, S.; Konkin, A.; Bund, A. A High-Performance Layered Transition Metal Oxide Cathode Material Obtained by Simultaneous Aluminum and Iron Cationic Substitution. J. Power Sources 2014, 268, 414–422. [Google Scholar] [CrossRef]
- Zhao, S.; Guo, Z.; Yan, K.; Wan, S.; He, F.; Sun, B.; Wang, G. Towards High-Energy-Density Lithium-Ion Batteries: Strategies for Developing High-Capacity Lithium-Rich Cathode Materials. Energy Storage Mater. 2021, 34, 716–734. [Google Scholar] [CrossRef]
- Bharathraj, S.; Adiga, S.P.; Mayya, K.S.; Song, T.; Kim, J.; Sung, Y. Degradation-Guided Optimization of Charging Protocol for Cycle Life Enhancement of Li-Ion Batteries with Lithium Manganese Oxide-Based Cathodes. J. Power Sources 2020, 474, 228659. [Google Scholar] [CrossRef]
- Chen, Y.; Wang, G.X.; Konstantinov, K.; Liu, H.K.; Dou, S.X. Synthesis and Characterization of LiCoxMnyNi1−x−yO2 as a Cathode Material for Secondary Lithium Batteries. J. Power Sources 2003, 119–121, 184–188. [Google Scholar] [CrossRef]
- Li, Y.-C.; Xiang, W.; Wu, Z.-G.; Xu, C.-L.; Xu, Y.-D.; Xiao, Y.; Yang, Z.-G.; Wu, C.-J.; Lv, G.-P.; Guo, X.-D. Construction of Homogeneously Al3+ Doped Ni Rich Ni-Co-Mn Cathode with High Stable Cycling Performance and Storage Stability via Scalable Continuous Precipitation. Electrochim. Acta 2018, 291, 84–94. [Google Scholar] [CrossRef]
- Wang, Z.; Liu, E.; He, C.; Shi, C.; Li, J.; Zhao, N. Effect of Amorphous FePO4 Coating on Structure and Electrochemical Performance of Li1.2Ni0.13Co0.13Mn0.54O2 as Cathode Material for Li-Ion Batteries. J. Power Sources 2013, 236, 25–32. [Google Scholar] [CrossRef]
- Xiang, W.; Zhu, C.-Q.; Zhang, J.; Shi, H.; Liang, Y.-T.; Yu, M.-H.; Zhu, X.-M.; He, F.-R.; Lv, G.-P.; Guo, X.-D. Synergistic Coupling Effect of Sodium and Fluorine Co-Substitution on Enhancing Rate Capability and Cycling Performance of Ni-Rich Cathode for Lithium Ion Battery. J. Alloys Compd. 2019, 786, 56–64. [Google Scholar] [CrossRef]
- Mekonnen, Y.; Sundararajan, A.; Sarwat, A.I. A Review of Cathode and Anode Materials for Lithium-Ion Batteries. In SoutheastCon 2016; IEEE: Norfolk, VA, USA, 2016. [Google Scholar]
- Daniel, C.; Mohanty, D.; Li, J.; Wood, D.L. Cathode Materials Review. AIP Conf. Proc. 2014, 1597, 26–43. [Google Scholar] [CrossRef]
- Wild, M.; O’Neill, L.; Zhang, T.; Purkayastha, R.; Minton, G.; Marinescu, M.; Offer, G.J. Lithium Sulfur Batteries, a Mechanistic Review. Energy Environ. Sci. 2015, 8, 3477–3494. [Google Scholar] [CrossRef]
- Lahiri, I.; Choi, W. Carbon Nanostructures in Lithium Ion Batteries: Past, Present, and Future. Crit. Rev. Solid State Mater. Sci. 2013, 38, 128–166. [Google Scholar] [CrossRef]
- Winter, M.; Besenhard, J.O.; Spahr, M.E.; Novák, P. Insertion Electrode Materials for Rechargeable Lithium Batteries. Adv. Mater. 1998, 10, 725–763. [Google Scholar] [CrossRef]
- Nitta, N.; Wu, F.; Lee, J.T.; Yushin, G. Li-Ion Battery Materials: Present and Future. Mater. Today 2015, 18, 252–264. [Google Scholar] [CrossRef]
- Nemeth, T.; Schröer, P.; Kuipers, M.; Sauer, D.U. Lithium Titanate Oxide Battery Cells for High-Power Automotive Applications—Electro-Thermal Properties, Aging Behavior and Cost Considerations. J. Energy Storage 2020, 31, 101656. [Google Scholar] [CrossRef]
- Meng, X. Recent Progress of Graphene as Cathode Materials in Lithium Ion Batteries. IOP Conf. Ser.: Earth Environ. Sci. 2019, 300, 042039. [Google Scholar] [CrossRef]
- Martins, L.S.; Guimarães, L.F.; Botelho Junior, A.B.; Tenório, J.A.S.; Espinosa, D.C.R. Electric Car Battery: An Overview on Global Demand, Recycling and Future Approaches towards Sustainability. J. Environ. Manag. 2021, 295, 113091. [Google Scholar] [CrossRef] [PubMed]
- Contestabile, M.; Panero, S.; Scrosati, B. A Laboratory-Scale Lithium-Ion Battery Recycling Process. J. Power Sources 2001, 92, 65–69. [Google Scholar] [CrossRef]
- Xu, J.; Thomas, H.R.; Francis, R.W.; Lum, K.R.; Wang, J.; Liang, B. A Review of Processes and Technologies for the Recycling of Lithium-Ion Secondary Batteries. J. Power Sources 2008, 177, 512–527. [Google Scholar] [CrossRef]
- Yu, J.; Lin, M.; Tan, Q.; Li, J. High-Value Utilization of Graphite Electrodes in Spent Lithium-Ion Batteries: From 3D Waste Graphite to 2D Graphene Oxide. J. Hazard. Mater. 2021, 401, 123715. [Google Scholar] [CrossRef]
- Rothermel, S.; Evertz, M.; Kasnatscheew, J.; Qi, X.; Grützke, M.; Winter, M.; Nowak, S. Graphite Recycling from Spent Lithium-Ion Batteries. ChemSusChem 2016, 9, 3473–3484. [Google Scholar] [CrossRef]
- Badawy, S.M. Synthesis of High-Quality Graphene Oxide from Spent Mobile Phone Batteries. Environ. Prog. Sustain. Energy 2016, 35, 1485–1491. [Google Scholar] [CrossRef]
- Blomgren, G.E. The Development and Future of Lithium Ion Batteries. J. Electrochem. Soc. 2016, 164, A5019. [Google Scholar] [CrossRef]
- Sun, X.; Hao, H.; Zhao, F.; Liu, Z. Tracing Global Lithium Flow: A Trade-Linked Material Flow Analysis. Resour. Conserv. Recycl. 2017, 124, 50–61. [Google Scholar] [CrossRef]
- Zubi, G.; Dufo-López, R.; Carvalho, M.; Pasaoglu, G. The Lithium-Ion Battery: State of the Art and Future Perspectives. Renew. Sustain. Energy Rev. 2018, 89, 292–308. [Google Scholar] [CrossRef]
- Rallo, H.; Benveniste, G.; Gestoso, I.; Amante, B. Economic Analysis of the Disassembling Activities to the Reuse of Electric Vehicles Li-Ion Batteries. Resour. Conserv. Recycl. 2020, 159, 104785. [Google Scholar] [CrossRef]
- Glöser-Chahoud, S.; Pfaff, M.; Walz, R.; Schultmann, F. Simulating the Service Lifetimes and Storage Phases of Consumer Electronics in Europe with a Cascade Stock and Flow Model. J. Clean. Prod. 2019, 213, 1313–1321. [Google Scholar] [CrossRef]
- Yang, F.; Xie, Y.; Deng, Y.; Yuan, C. Predictive Modeling of Battery Degradation and Greenhouse Gas Emissions from U.S. State-Level Electric Vehicle Operation. Nat. Commun. 2018, 9, 2429. [Google Scholar] [CrossRef] [PubMed]
- Casals, L.C.; Amante García, B.; Canal, C. Second Life Batteries Lifespan: Rest of UsefuLife and Environmental Analysis. J. Environ. Manag. 2019, 232, 354–363. [Google Scholar] [CrossRef]
- Gaines, L.; Richa, K.; Spangenberger, J. Key Issues for Li-Ion Battery Recycling. MRS Energy Sustain. 2018, 5, E14. [Google Scholar] [CrossRef]
- IEA. Global EV Outlook 2020. Available online: https://www.iea.org/reports/global-ev-outlook-2020 (accessed on 3 June 2022).
- Forti, V.; Balde, C.P.; Kuehr, R.; Bel, G. The Global E-Waste Monitor 2020: Quantities, Flows and the Circular Economy Potential; United Nations University: Bonn, Germany; United Nations Institute for Training and Research: Geneva, Switzerland; International Telecommunication Union: Geneva, Switzerland; International Solid Waste Association: Rotterdam, The Netherlands, 2020; ISBN 9789280891140. [Google Scholar]
- Wang, X.; Gaustad, G.; Babbitt, C.W.; Richa, K. Economies of Scale for Future Lithium-Ion Battery Recycling Infrastructure. Resour. Conserv. Recycl. 2014, 83, 53–62. [Google Scholar] [CrossRef]
- Chen, M.; Ma, X.; Chen, B.; Arsenault, R.; Karlson, P.; Simon, N.; Wang, Y. Recycling End-of-Life Electric Vehicle Lithium-Ion Batteries. Joule 2019, 3, 2622–2646. [Google Scholar] [CrossRef]
- European Parliament. Directive 2008/98/ec of the European Parliament and of the Council EUR-Lex. 2008. Available online: https://eur-lex.europa.eu/legal-content/EN/TXT/?uri=CELEX%3A32008L0098 (accessed on 3 June 2022).
- Li, W.; Yang, M.; Long, R.; Mamaril, K.; Chi, Y. Treatment of Electric Vehicle Battery Waste in China: A Review of Existing Policies. J. Environ. Eng. Landsc. Manag. 2021, 29, 111–122. [Google Scholar] [CrossRef]
- Alper, J. Batteries. The Battery: Not yet a Terminal Case. Science 2002, 296, 1224–1226. [Google Scholar] [CrossRef] [PubMed]
- Guimarães, L.F.; Botelho Junior, A.B.; Espinosa, D.C.R. Sulfuric Acid Leaching of Metals from Waste Li-Ion Batteries without Using Reducing Agent. Miner. Eng. 2022, 183, 107597. [Google Scholar] [CrossRef]
- Harper, G.; Sommerville, R.; Kendrick, E.; Driscoll, L.; Slater, P.; Stolkin, R.; Walton, A.; Christensen, P.; Heidrich, O.; Lambert, S.; et al. Recycling Lithium-Ion Batteries from Electric Vehicles. Nature 2019, 575, 75–86. [Google Scholar] [CrossRef] [PubMed]
- Diekmann, J.; Hanisch, C.; Froböse, L.; Schälicke, G.; Loellhoeffel, T.; Fölster, A.-S.; Kwade, A. Ecological Recycling of Lithium-Ion Batteries from Electric Vehicles with Focus on Mechanical Processes. J. Electrochem. Soc. 2016, 164, A6184. [Google Scholar] [CrossRef]
- Lee, C.K.; Rhee, K.-I. Preparation of LiCoO2 from Spent Lithium-Ion Batteries. J. Power Sources 2002, 109, 17–21. [Google Scholar] [CrossRef]
- Jafari, M.; Torabian, M.M.; Bazargan, A. A Facile Chemical-Free Cathode Powder Separation Method for Lithium Ion Battery Resource Recovery. J. Energy Storage 2020, 31, 101564. [Google Scholar] [CrossRef]
- Ojanen, S.; Lundström, M.; Santasalo-Aarnio, A.; Serna-Guerrero, R. Challenging the Concept of Electrochemical Discharge Using Salt Solutions for Lithium-Ion Batteries Recycling. Waste Manag. 2018, 76, 242–249. [Google Scholar] [CrossRef]
- Castro, F.D.; Mehner, E.; Cutaia, L.; Vaccari, M. Life Cycle Assessment of an Innovative Lithium-Ion Battery Recycling Route: A Feasibility Study. J. Clean. Prod. 2022, 368, 133130. [Google Scholar] [CrossRef]
- Li, J.; Wang, G.; Xu, Z. Generation and Detection of Metal Ions and Volatile Organic Compounds (VOCs) Emissions from the Pretreatment Processes for Recycling Spent Lithium-Ion Batteries. Waste Manag. 2016, 52, 221–227. [Google Scholar] [CrossRef]
- Nan, J.; Han, D.; Zuo, X. Recovery of Metal Values from Spent Lithium-Ion Batteries with Chemical Deposition and Solvent Extraction. J. Power Sources 2005, 152, 278–284. [Google Scholar] [CrossRef]
- Gratz, E.; Sa, Q.; Apelian, D.; Wang, Y. A Closed Loop Process for Recycling Spent Lithium Ion Batteries. J. Power Sources 2014, 262, 255–262. [Google Scholar] [CrossRef]
- Grandjean, T.R.B.; Groenewald, J.; Marco, J. The Experimental Evaluation of Lithium Ion Batteries after Flash Cryogenic Freezing. J. Energy Storage 2019, 21, 202–215. [Google Scholar] [CrossRef]
- Torabian, M.M.; Jafari, M.; Bazargan, A. Discharge of Lithium-Ion Batteries in Salt Solutions for Safer Storage, Transport, and Resource Recovery. Waste Manag. Res. 2022, 40, 402–409. [Google Scholar] [CrossRef] [PubMed]
- Smith, N.W.; Swoffer, S. Process for Recovering and Regenerating Lithium Cathode Material from Lithium-Ion Batteries. U.S. Patent No.: US 8882007B1, 11 November 2014. [Google Scholar]
- Batrec, A.G. Batrec.ch. 2021. Available online: https://batrec.ch/en/battery-recycling/ (accessed on 3 January 2023).
- Tedjar, F.; Foudraz, J.-C. Method for the Mixed Recycling of Lithium-Based Anode Batteries and Cells. U.S. Patent 10/593,332, 27 August 2007. [Google Scholar]
- Cheret, D.; Santen, S. Battery Recycling. U.S. Patent 7,169,206 B2, 30 January 2007. [Google Scholar]
- Guo, R.; Lu, L.; Ouyang, M.; Feng, X. Mechanism of the Entire Overdischarg Process and Overdischarge-Induced Internal Short Circuit in Lithium-Ion Batteries. Sci. Rep. 2016, 6, 30248. [Google Scholar] [CrossRef]
- Nie, H.; Xu, L.; Song, D.; Song, J.; Shi, X.; Wang, X.; Zhang, L.; Yuan, Z. LiCoO2: Recycling from Spent Batteries and Regeneration with Solid State Synthesis. Green Chem. 2015, 17, 1276–1280. [Google Scholar] [CrossRef]
- Song, X.; Dai, S.; Xu, Y.; Xie, Y. Experimental Study on the Discharge of the Waste Lithium Ion Battery. Appl. Chem. Ind. 2015, 4, 594–597. [Google Scholar]
- Yao, L.P.; Zeng, Q.; Qi, T.; Li, J. An Environmentally Friendly Discharge Technology to Pretreat Spent Lithium-Ion Batteries. J. Clean. Prod. 2020, 245, 118820. [Google Scholar] [CrossRef]
- Li, H.; Dai, J.; Wang, A.; Zhao, S.; Ye, H.; Zhang, J. Recycling and Treatment of Waste Batteries. IOP Conf. Ser. Mater. Sci. Eng. 2019, 612, 052020. [Google Scholar] [CrossRef]
- Zhang, X.; Li, L.; Fan, E.; Xue, Q.; Bian, Y.; Wu, F.; Chen, R. Toward Sustainable and Systematic Recycling of Spent Rechargeable Batteries. Chem. Soc. Rev. 2018, 47, 7239–7302. [Google Scholar] [CrossRef]
- Li, L.; Zheng, P.; Yang, T.; Sturges, R.; Ellis, M.W.; Li, Z. Disassembly Automation for Recycling End-of-Life Lithium-Ion Pouch Cells. JOM-J. Miner. Met. Mater. Soc. 2019, 71, 4457–4464. [Google Scholar] [CrossRef]
- Fröhlich, S.; Sewing, D. The BATENUS Process for Recycling Mixed Battery Waste. J. Power Sources 1995, 57, 27–30. [Google Scholar] [CrossRef]
- Pinegar, H.; Smith, Y.R. Recycling of End-of-Life Lithium Ion Batteries, Part I: Commercial Processes. J. Sustain. Met. 2019, 5, 402–416. [Google Scholar] [CrossRef]
- Rosova, K. Li-Cycle: Sustainable Lithium-Ion Battery Recycling Technology. 2022. Available online: https://www.innovationnewsnetwork.com/li-cycle-sustainable-lithium-ion-battery-recycling-technology/21097/ (accessed on 6 January 2023).
- Granata, G.; Pagnanelli, F.; Moscardini, E.; Takacova, Z.; Havlik, T.; Toro, L. Simultaneous Recycling of Nickel Metal Hydride, Lithium Ion and Primary Lithium Batteries: Accomplishment of European Guidelines by Optimizing Mechanical Pre-Treatment and Solvent Extraction Operations. J. Power Sources 2012, 212, 205–211. [Google Scholar] [CrossRef]
- Zhang, T.; He, Y.; Ge, L.; Fu, R.; Zhang, X.; Huang, Y. Characteristics of Wet and Dry Crushing Methods in the Recycling Process of Spent Lithium-Ion Batteries. J. Power Sources 2013, 240, 766–771. [Google Scholar] [CrossRef]
- Zhang, T.; He, Y.; Wang, F.; Ge, L.; Zhu, X.; Li, H. Chemical and Process Mineralogical Characterizations of Spent Lithium-Ion Batteries: An Approach by Multi-Analytical Techniques. Waste Manag. 2014, 34, 1051–1058. [Google Scholar] [CrossRef] [PubMed]
- Li, L.; Ge, J.; Chen, R.; Wu, F.; Chen, S.; Zhang, X. Environmental Friendly Leaching Reagent for Cobalt and Lithium Recovery from Spent Lithium-Ion Batteries. Waste Manag. 2010, 30, 2615–2621. [Google Scholar] [CrossRef] [PubMed]
- Li, L.; Ge, J.; Wu, F.; Chen, R.; Chen, S.; Wu, B. Recovery of Cobalt and Lithium from Spent Lithium Ion Batteries Using Organic Citric Acid as Leachant. J. Hazard. Mater. 2010, 176, 288–293. [Google Scholar] [CrossRef]
- Li, L.; Dunn, J.B.; Zhang, X.X.; Gaines, L.; Chen, R.J.; Wu, F.; Amine, K. Recovery of Metals from Spent Lithium-Ion Batteries with Organic Acids as Leaching Reagents and Environmental Assessment. J. Power Sources 2013, 233, 180–189. [Google Scholar] [CrossRef]
- Guan, J.; Li, Y.; Guo, Y.; Su, R.; Gao, G.; Song, H.; Yuan, H.; Liang, B.; Guo, Z. Mechanochemical Process Enhanced Cobalt and Lithium Recycling from Wasted Lithium-Ion Batteries. ACS Sustain. Chem. Eng. 2017, 5, 1026–1032. [Google Scholar] [CrossRef]
- Pagnanelli, F.; Moscardini, E.; Altimari, P.; Abo Atia, T.; Toro, L. Cobalt Products from Real Waste Fractions of End of Life Lithium Ion Batteries. Waste Manag. 2016, 51, 214–221. [Google Scholar] [CrossRef]
- Wang, X.; Gaustad, G.; Babbitt, C.W. Targeting High Value Metals in Lithium-Ion Battery Recycling via Shredding and Size-Based Separation. Waste Manag. 2016, 51, 204–213. [Google Scholar] [CrossRef]
- Barik, S.P.; Prabaharan, G.; Kumar, L. Leaching and Separation of Co and Mn from Electrode Materials of Spent Lithium-Ion Batteries Using Hydrochloric Acid: Laboratory and Pilot Scale Study. J. Clean. Prod. 2017, 147, 37–43. [Google Scholar] [CrossRef]
- Diekmann, K.A.A. Recycling of Lithium-Ion Batteries [Electronic Resource]: The LithoRec Way; Arno Kwade, J.D., Ed.; Springer International Publishing: Cham, Switzerland, 2018; Volume 1, ISBN 9783319705729. [Google Scholar]
- He, Y.; Zhang, T.; Wang, F.; Zhang, G.; Zhang, W.; Wang, J. Recovery of LiCoO2 and Graphite from Spent Lithium-Ion Batteries by Fenton Reagent-Assisted Flotation. J. Clean. Prod. 2017, 143, 319–325. [Google Scholar] [CrossRef]
- Yu, J.; He, Y.; Ge, Z.; Li, H.; Xie, W.; Wang, S. A Promising Physical Method for Recovery of LiCoO2 and Graphite from Spent Lithium-Ion Batteries: Grinding Flotation. Sep. Purif. Technol. 2018, 190, 45–52. [Google Scholar] [CrossRef]
- Wang, H.; Liu, J.; Bai, X.; Wang, S.; Yang, D.; Fu, Y.; He, Y. Separation of the Cathode Materials from the Al Foil in Spent Lithium-Ion Batteries by Cryogenic Grinding. Waste Manag. 2019, 91, 89–98. [Google Scholar] [CrossRef] [PubMed]
- Liu, J.; Wang, H.; Hu, T.; Bai, X.; He, Y. Recovery of LiCoO2 and Graphite from Spent Lithium-Ion Batteries by Cryogenic Grinding and Froth Flotation. Miner. Eng. 2020, 148, 106223. [Google Scholar] [CrossRef]
- Wuschke, L.; Jäckel, H.-G.; Leißner, T.; Peuker, U.A. Crushing of Large Li-Ion Battery Cells. Waste Manag. 2019, 85, 317–326. [Google Scholar] [CrossRef] [PubMed]
- Widijatmoko, S.D.; Gu, F.; Wang, Z.; Hall, P. Selective Liberation in Dry Milled Spent Lithium-Ion Batteries. Sustain. Mater. Technol. 2020, 23, e00134. [Google Scholar] [CrossRef]
- Zhan, R.; Payne, T.; Leftwich, T.; Perrine, K.; Pan, L. De-Agglomeration of Cathode Composites for Direct Recycling of Li-Ion Batteries. Waste Manag. 2020, 105, 39–48. [Google Scholar] [CrossRef] [PubMed]
- Shin, S.M.; Kim, N.H.; Sohn, J.S.; Yang, D.H.; Kim, Y.H. Development of a Metal Recovery from Li-Ion Battery Wastes. Hydrometallurgy 2005, 3–4, 172–181. [Google Scholar] [CrossRef]
- Granata, G.; Moscardini, E.; Pagnanelli, F.; Trabucco, F.; Toro, L. Product Recovery from Li-Ion Battery Wastes Coming from an Industrial Pre-Treatment Plant: Lab Scale Tests and Process Simulations. J. Power Sources 2012, 206, 393–401. [Google Scholar] [CrossRef]
- Li, J.; Shi, P.; Wang, Z.; Chen, Y.; Chang, C.-C. A Combined Recovery Process of Metals in Spent Lithium-Ion Batteries. Chemosphere 2009, 77, 1132–1136. [Google Scholar] [CrossRef]
- Zhang, G.; Du, Z.; He, Y.; Wang, H.; Xie, W.; Zhang, T. A Sustainable Process for the Recovery of Anode and Cathode Materials Derived from Spent Lithium-Ion Batteries. Sustain. Sci. Pract. Policy 2019, 11, 2363. [Google Scholar] [CrossRef]
- Zhang, G.; He, Y.; Feng, Y.; Wang, H. Enhancement in Liberation of Electrode Materials Derived from Spent Lithium-Ion Battery by Pyrolysis. J. Clean. Prod. 2018, 199, 62–68. [Google Scholar] [CrossRef]
- Zhang, G.; He, Y.; Wang, H.; Feng, Y.; Xie, W.; Zhu, X. Removal of Organics by Pyrolysis for Enhancing Liberation and Flotation Behavior of Electrode Materials Derived from Spent Lithium-Ion Batteries. ACS Sustain. Chem. Eng. 2020, 8, 2205–2214. [Google Scholar] [CrossRef]
- Vieceli, N.; Nogueira, C.A.; Guimarães, C.; Pereira, M.F.C.; Durão, F.O.; Margarido, F. Hydrometallurgical Recycling of Lithium-Ion Batteries by Reductive Leaching with Sodium Metabisulphite. Waste Manag. 2018, 71, 350–361. [Google Scholar] [CrossRef]
- Peng, C.; Liu, F.; Aji, A.T.; Wilson, B.P.; Lundström, M. Extraction of Li and Co from Industrially Produced Li-Ion Battery Waste—Using the Reductive Power of Waste Itself. Waste Manag. 2019, 95, 604–611. [Google Scholar] [CrossRef]
- Yu, J.; Tan, Q.; Li, J. Exploring a Green Route for Recycling Spent Lithium-Ion Batteries: Revealing and Solving Deep Screening Problem. J. Clean. Prod. 2020, 255, 120269. [Google Scholar] [CrossRef]
- Widijatmoko, S.D.; Gu, F.; Wang, Z.; Hall, P. Recovering Lithium Cobalt Oxide, Aluminium, and Copper from Spent Lithium-Ion Battery via Attrition Scrubbing. J. Clean. Prod. 2020, 260, 120869. [Google Scholar] [CrossRef]
- Liu, Y.; Hu, Q.; Li, X.; Wang, Z.; Guo, H. Recycle and Synthesis of LiCoO2 from Incisors Bound of Li-Ion Batteries. Trans. Nonferrous Met. Soc. China 2006, 16, 956–959. [Google Scholar] [CrossRef]
- Song, D.; Wang, X.; Zhou, E.; Hou, P.; Zhang, L. Recovery and Heat Treatment of the Li(Ni1/3Co1/3Mn1/3)O2 Cathode Scrap Material for Lithium Ion Battery. J. Power Sources 2013, 232, 348–352. [Google Scholar] [CrossRef]
- Song, D.; Wang, X.; Nie, H.; Shi, H.; Wang, D.; Guo, F.; Shi, X.; Zhang, L. Heat Treatment of LiCoO2 Recovered from Cathode Scraps with Solvent Method. J. Power Sources 2014, 249, 137–141. [Google Scholar] [CrossRef]
- Xu, Y.; Song, D.; Li, L.; An, C.; Wang, Y.; Jiao, L.; Yuan, H. A Simple Solvent Method for the Recovery of LixCoO2 and Its Applications in Alkaline Rechargeable Batteries. J. Power Sources 2014, 252, 286–291. [Google Scholar] [CrossRef]
- Yang, L.; Xi, G.; Xi, Y. Recovery of Co, Mn, Ni, and Li from Spent Lithium Ion Batteries for the Preparation of LiNi Co Mn O2 Cathode Materials. Ceram. Int. 2015, 41, 11498–11503. [Google Scholar] [CrossRef]
- He, L.-P.; Sun, S.-Y.; Song, X.-F.; Yu, J.-G. Recovery of Cathode Materials and Al from Spent Lithium-Ion Batteries by Utrasonic Cleaning. Waste Manag. 2015, 46, 523–528. [Google Scholar] [CrossRef]
- Nayaka, G.P.; Zhang, Y.; Dong, P.; Wang, D.; Pai, K.V.; Manjanna, J.; Santhosh, G.; Duan, J.; Zhou, Z.; Xiao, J. Effective and Environmentally Friendly Recycling Process Designed for LiCoO2 Cathode Powders of Spent Li-Ion Batteries Using Mixture of Mild Organic Acids. Waste Manag. 2018, 78, 51–57. [Google Scholar] [CrossRef]
- He, K.; Zhang, Z.-Y.; Zhang, F.-S. Selectively Peeling of Spent LiFePO4 Cathode by Destruction of Crystal Structure and Binder Matrix for Efficient Recycling of Spent Battery Materials. J. Hazard. Mater. 2020, 386, 121633. [Google Scholar] [CrossRef]
- Wang, M.; Tan, Q.; Liu, L.; Li, J. Efficient Separation of Aluminum Foil and Cathode Materials from Spent Lithium-Ion Batteries Using a Low-Temperature Molten Salt. ACS Sustain. Chem. Eng. 2019, 7, 8287–8294. [Google Scholar] [CrossRef]
- He, K.; Zhang, Z.-Y.; Alai, L.; Zhang, F.-S. A Green Process for Exfoliating Electrode Materials and Simultaneously Extracting Electrolyte from Spent Lithium-Ion Batteries. J. Hazard. Mater. 2019, 375, 43–51. [Google Scholar] [CrossRef]
- Nayaka, G.P.; Zhang, Y.; Dong, P.; Wang, D.; Zhou, Z.; Duan, J.; Li, X.; Lin, Y.; Meng, Q.; Pai, K.V.; et al. An Environmental Friendly Attempt to Recycle the Spent Li-Ion Battery Cathode through Organic Acid Leaching. J. Environ. Chem. Eng. 2019, 7, 102854. [Google Scholar] [CrossRef]
- Fouad, O.A.; Farghaly, F.I.; Bahgat, M. A Novel Approach for Synthesis of Nanocrystalline γ-LiAlO2 from Spent Lithium-Ion Batteries. J. Anal. Appl. Pyrolysis 2007, 78, 65–69. [Google Scholar] [CrossRef]
- Sun, L.; Qiu, K. Vacuum Pyrolysis and Hydrometallurgical Process for the Recovery of Valuable Metals from Spent Lithium-Ion Batteries. J. Hazard. Mater. 2011, 194, 378–384. [Google Scholar] [CrossRef] [PubMed]
- Kim, H.S.; Shin, E.J. Re-Synthesis and Electrochemical Characteristics of LiFePO4 Cathode Materials Recycled from Scrap Electrodes. Bull. Korean Chem. Soc. 2013, 34, 851–855. [Google Scholar] [CrossRef]
- Zheng, R.; Zhao, L.; Wang, W.; Liu, Y.; Ma, Q.; Mu, D.; Li, R.; Dai, C. Optimized Li and Fe Recovery from Spent Lithium-Ion Batteries via a Solution-Precipitation Method. RSC Adv. 2016, 6, 43613–43625. [Google Scholar] [CrossRef]
- Yang, Y.; Huang, G.; Xu, S.; He, Y.; Liu, X. Thermal Treatment Process for the Recovery of Valuable Metals from Spent Lithium-Ion Batteries. Hydrometallurgy 2016, 165, 390–396. [Google Scholar] [CrossRef]
- Xiao, J.; Li, J.; Xu, Z. Novel Approach for in Situ Recovery of Lithium Carbonate from Spent Lithium Ion Batteries Using Vacuum Metallurgy. Environ. Sci. Technol. 2017, 51, 11960–11966. [Google Scholar] [CrossRef]
- Xiao, J.; Li, J.; Xu, Z. Recycling Metals from Lithium Ion Battery by Mechanical Separation and Vacuum Metallurgy. J. Hazard. Mater. 2017, 338, 124–131. [Google Scholar] [CrossRef]
- Zhang, G.; He, Y.; Feng, Y.; Wang, H.; Zhu, X. Pyrolysis-Ultrasonic-Assisted Flotation Technology for Recovering Graphite and LiCoO2 from Spent Lithium-Ion Batteries. ACS Sustain. Chem. Eng. 2018, 6, 10896–10904. [Google Scholar] [CrossRef]
- Zhang, G.; He, Y.; Wang, H.; Feng, Y.; Xie, W.; Zhu, X. Application of Mechanical Crushing Combined with Pyrolysis-Enhanced Flotation Technology to Recover Graphite and LiCoO2 from Spent Lithium-Ion Batteries. J. Clean. Prod. 2019, 231, 1418–1427. [Google Scholar] [CrossRef]
- Wang, F.; Zhang, T.; He, Y.; Zhao, Y.; Wang, S.; Zhang, G.; Zhang, Y.; Feng, Y. Recovery of Valuable Materials from Spent Lithium-Ion Batteries by Mechanical Separation and Thermal Treatment. J. Clean. Prod. 2018, 185, 646–652. [Google Scholar] [CrossRef]
- Diaz, F.; Wang, Y.; Moorthy, T.; Friedrich, B. Degradation Mechanism of Nickel-Cobalt-Aluminum (NCA) Cathode Material from Spent Lithium-Ion Batteries in Microwave-Assisted Pyrolysis. Metals 2018, 8, 565. [Google Scholar] [CrossRef]
- Wang, M.; Tan, Q.; Liu, L.; Li, J. A Facile, Environmentally Friendly, and Low-Temperature Approach for Decomposition of Polyvinylidene Fluoride from the Cathode Electrode of Spent Lithium-Ion Batteries. ACS Sustain. Chem. Eng. 2019, 7, 12799–12806. [Google Scholar] [CrossRef]
- Zhong, X.; Han, J.; Mao, X.; Chen, L.; Chen, M.; Zhu, H.; Zeng, H.; Qin, W. Innovative Methodology for Green Recycling of Spent Lithium-Ion Batteries: Effective Pyrolysis with DMF. J. Clean. Prod. 2022, 377, 134503. [Google Scholar] [CrossRef]
- Zhong, X.; Liu, W.; Han, J.; Jiao, F.; Qin, W.; Liu, T.; Zhao, C. Pyrolysis and Physical Separation for the Recovery of Spent LiFePO4 Batteries. Waste Manag. 2019, 89, 83–93. [Google Scholar] [CrossRef] [PubMed]
- Lombardo, G.; Ebin, B.; Foreman, M.R.S.J.; Steenari, B.-M.; Petranikova, M. Incineration of EV Lithium-Ion Batteries as a Pretreatment for Recycling—Determination of the Potential Formation of Hazardous by-Products and Effects on Metal Compounds. J. Hazard. Mater. 2020, 393, 122372. [Google Scholar] [CrossRef] [PubMed]
- Kim, S.; Bang, J.; Yoo, J.; Shin, Y.; Bae, J.; Jeong, J.; Kim, K.; Dong, P.; Kwon, K. A Comprehensive Review on the Pretreatment Process in Lithium-Ion Battery Recycling. J. Clean. Prod. 2021, 294, 126329. [Google Scholar] [CrossRef]




| Battery type (Based on Cathode Material) | LCO | LMO | LFP | NCA | NCM |
|---|---|---|---|---|---|
| Chemical Formula | LiCoO2 | LiMn2O4 | LiFePO4 | LiNixCoyAlzO2 | LiNixCoyMnzO2 |
| Operating Voltage (V/Cell) | 3.0–4.2 | 3.0–4.2 | 2.0–3.65 | 3.0–4.2 | 3.6–4.0 |
| Energy Density (Wh/kg) | 150–200 | 100–150 | 90–160 | 200–260 | 160–230 |
| Applications | Small devices (laptops, mobile phones) | Small devices, EVs with combination of NCM | Smaller portable devices, limited applications in EVs | EVs (Tesla vehicles) | EVs (many manufacturers), small appliances, power station applications |
| Remarks | Low safety, high cost and medium performance | Medium safety, medium performance, low lifetime | Low cost, medium performance, high thermal resistance | Medium safety and cost, high performance | Medium safety and cost, high performance |
| Discharge Methods | Condition | Effects | Advantages | Disadvantages | Ref. |
|---|---|---|---|---|---|
| Salt solution-based discharge | 10 wt% NaCl | 15% for 1 h 71.96% for 6 h 100% for 24 h | Cheaper, simple, and efficient | Can corrode, safety issues (Cl2 emission) | [98,99,100] |
| 5 wt% NaCl | 9% for 1 h 88% for 24 h | No corrosion, simple | Time-consuming | [99] | |
| Na2SO4 saturated solution with Fe | 100% for 24 h | No corrosion and emission of Cl2 | Time-consuming | [98] | |
| 10 wt% Na2SO4 with stirrer | 26.31% for 20 h | Cost efficient | Time-consuming | [98] | |
| 10 wt% FeSO4 with stirrer | 75% for 8 h | Relatively efficient | Impossible without stirrer | [98] | |
| 20 wt% Zn2(SO4)3 with stirrer | 37.5% for 20 h | Higher efficiency than Na2SO4 | Time-consuming | [98] | |
| 10 wt% Na2SO4 | 1.16% for 24 h | Relatively cheaper | No significant discharge | [99] | |
| 2 g/L ascorbic acid and 0.8 mol/L MnSO4 | 0.54 V for 8 h | Gentle discharge | Costly | [110] | |
| 0.8 mol/L FeSO4 | 1 V for 2 h | Eco-friendly, efficient discharge | Costly | [111,112] | |
| Ohmic discharge | Water and electric Fe powder used in stainless steel container with a stirrer | 100% for 0.5 h | No corrosion, highly efficient | Complex method | [101] |
| Water and Fe scraps used in stainless steel container with a stirrer | Below 2 V after 4 h | Efficient | Complex method | [102] | |
| Cryogenic discharge | Dipped in liquid nitrogen (−196 °C) for 5 min | 100% for 5 min | Efficient discharge, no corrosion, safe | High cost, cannot apply in industrial scale | [103] |
Disclaimer/Publisher’s Note: The statements, opinions and data contained in all publications are solely those of the individual author(s) and contributor(s) and not of MDPI and/or the editor(s). MDPI and/or the editor(s) disclaim responsibility for any injury to people or property resulting from any ideas, methods, instructions or products referred to in the content. |
© 2023 by the authors. Licensee MDPI, Basel, Switzerland. This article is an open access article distributed under the terms and conditions of the Creative Commons Attribution (CC BY) license (https://creativecommons.org/licenses/by/4.0/).
Share and Cite
Premathilake, D.S.; Botelho Junior, A.B.; Tenório, J.A.S.; Espinosa, D.C.R.; Vaccari, M. Designing of a Decentralized Pretreatment Line for EOL-LIBs Based on Recent Literature of LIB Recycling for Black Mass. Metals 2023, 13, 374. https://doi.org/10.3390/met13020374
Premathilake DS, Botelho Junior AB, Tenório JAS, Espinosa DCR, Vaccari M. Designing of a Decentralized Pretreatment Line for EOL-LIBs Based on Recent Literature of LIB Recycling for Black Mass. Metals. 2023; 13(2):374. https://doi.org/10.3390/met13020374
Chicago/Turabian StylePremathilake, Dilshan Sandaruwan, Amilton Barbosa Botelho Junior, Jorge Alberto Soares Tenório, Denise Crocce Romano Espinosa, and Mentore Vaccari. 2023. "Designing of a Decentralized Pretreatment Line for EOL-LIBs Based on Recent Literature of LIB Recycling for Black Mass" Metals 13, no. 2: 374. https://doi.org/10.3390/met13020374
APA StylePremathilake, D. S., Botelho Junior, A. B., Tenório, J. A. S., Espinosa, D. C. R., & Vaccari, M. (2023). Designing of a Decentralized Pretreatment Line for EOL-LIBs Based on Recent Literature of LIB Recycling for Black Mass. Metals, 13(2), 374. https://doi.org/10.3390/met13020374


