Effect of Parameters on Fatigue Properties and Crack Propagation Behavior of Friction Stir Crack Repaired Al2024
Abstract
1. Introduction
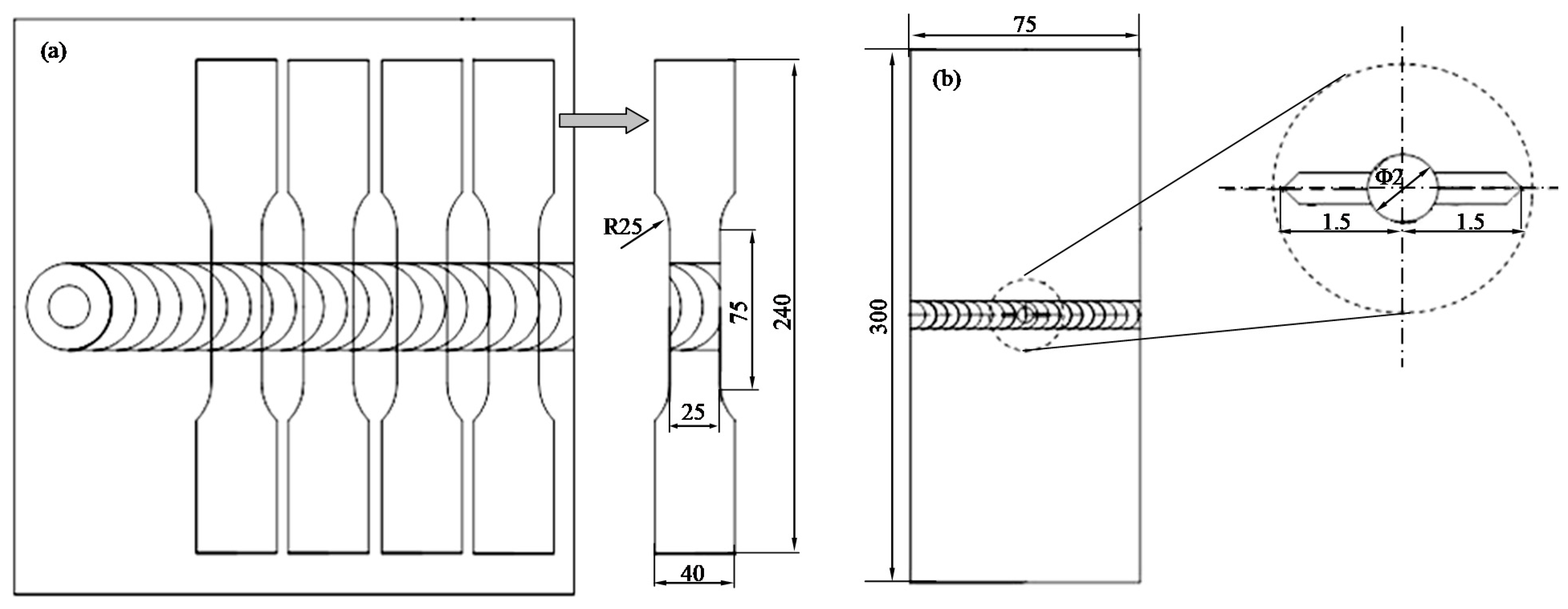
2. Experimental Procedure
3. Results and Discussion
3.1. Surface Morphology of Repaired Specimens
3.2. Fatigue Properties of Repaired Specimens
3.3. Fatigue Crack Propagation of Repaired Specimens
3.4. Fracture Morphology Analysis
4. Conclusions
- (1)
- The repairing parameters can obviously affect the surface morphology of repaired specimens, which can be explained by the advancing pitch λ. With the increase in repairing velocity, λ increased and obvious plastic deformation marks could be found at the repaired surfaces, while with the increase in rotating speed ω, λ decreased, and consequently, a smoother repaired surface could be obtained.
- (2)
- The fatigue life of FSCRed Al2024 was quite sensitive to the repairing parameters under investigation, and there was a “V” type discipline between fatigue life and rotating speed or advancing velocity, which can be clarified by energy input during the repairing process (i.e., both very high and very low energy input attributed to poor joint strength). A quadratic polynomial curve was better to fit the fatigue life data versus advancing pitch.
- (3)
- FCGRs of the repaired specimens were higher than the base material counterpart, and the threshold values ΔKth of the repaired specimens were all lower than that of the base material. The effect of rotating speed on the crack propagation behavior of repaired specimens was higher than that of the advancing velocity. Through analysis, it was found that the best match of rotating speed and advancing velocity was located in the third quadrant.
- (4)
- Cracks initiated from the repaired surface at the arc corrugation in FSCRed specimens rather than cyclic slipping in the base material, and the crack propagation mechanism in the repaired zone was mainly intergranular with few striations or slipping features. A delamination defect formed at the boundary of the repaired layer and base material if improper repairing parameters were adopted, which would lead to early fatigue failure and greatly shorten the fatigue life of the repaired specimen.
Author Contributions
Funding
Conflicts of Interest
References
- Schijve, J. Fatigue of structures and materials in the 20th century and the state of the art. Int. J. Fatigue 2003, 25, 679–702. [Google Scholar] [CrossRef]
- Xi, Z.; Pengcheng, G.; Zhimin, Z.; Qiang, W.; Fafa, Y. Fatigue characteristics of the extruded AZ80 automotive wheel. Int. J. Fatigue 2019, 132, 105393. [Google Scholar] [CrossRef]
- Hosoi, A.; Nagahama, T.; Ju, Y. Fatigue crack healing by a controlled high density electric current field. Mater. Sci. Eng. A 2012, 533, 38–42. [Google Scholar] [CrossRef]
- Murray, J.W.; Clare, A.T. Repair of EDM induced surface cracks by pulsed electron beam irradiation. J. Mater. Process. Technol. 2012, 212, 2642–2651. [Google Scholar] [CrossRef]
- Zheng, X.G.; Shi, Y.N.; Lu, K. Electro-healing cracks in nickel. Mater. Sci. Eng. A 2013, 561, 52–59. [Google Scholar] [CrossRef]
- Infante, V.; Braga, D.F.O.; Duarte, F.; Moreira, P.; Freitas, M.; Castro, P.M.S.T. Study of the fatigue behaviour of dissimilar aluminium joints produced by friction stir welding. Int. J. Fatigue 2016, 82, 310–316. [Google Scholar] [CrossRef]
- Muzvidziwa, M.; Okazaki, M.; Suzuki, K.; Hirano, S. Role of Microstructure on the Fatigue Crack Propagation Behavior of a Friction Stir Welded Ti-6Al–4V. Mater. Sci. Eng. A 2016, 652, 59–68. [Google Scholar] [CrossRef]
- Rodriguez, R.I.; Jordon, J.B.; Allison, P.G.; Rushing, T.; Garcia, L. Low-Cycle Fatigue of Dissimilar Friction Stir Welded Aluminum Alloys. Mater. Sci. Eng. A 2016, 654, 236–248. [Google Scholar] [CrossRef]
- Rao, H.M.; Jordon, J.B.; Ghaffari, B.; Su, X.; Khosrovaneh, A.; Barkey, M.; Yuan, W.; Guo, M. Fatigue and fracture of friction stir linear welded dissimilar aluminum-to-magnesium alloys. Int. J. Fatigue 2016, 82, 737–747. [Google Scholar] [CrossRef]
- Zangabad, P.S.; Khodabakhshi, F.; Simchi, A.; Kokabi, A.H. Fatigue fracture of friction-stir processed Al–Al 3 Ti–MgO hybrid nanocomposites. Int. J. Fatigue 2016, 87, 266–278. [Google Scholar] [CrossRef]
- Mishra, R.S.; Ma, Z.Y.; Charit, I. Friction stir processing: A novel technique for fabrication of surface composite. Mater. Sci. Eng. A 2003, 341, 307–310. [Google Scholar] [CrossRef]
- Asl, A.M.; Khandani, S.T. Role of hybrid ratio in microstructural, mechanical and sliding wear properties of the Al5083/Graphite p/Al2O3p a surface hybrid nanocomposite fabricated via friction stir processing method. Mater. Sci. Eng. A 2013, 559, 549–557. [Google Scholar]
- Tweedy, B.M.; Arbegast, W.A.; Hrabe, R.H. Aging Weapons Systems Repair using Friction Stir Welding. In Proceedings of the TMS 2009 Annual Meeting and Exhibition, San Francisco, CA, USA, 15–19 February 2009. [Google Scholar]
- Han, B.; Huang, Y.; Lv, S.; Feng, J.; Fu, G. AA7075 bit for repairing AA2219 keyhole by filling friction stir welding. Mater. Des. 2013, 51, 25–33. [Google Scholar] [CrossRef]
- Liu, H.J.; Zhang, H.J. Repair welding process of friction stir welding groove defect. Trans. Nonferrous Met. Soc. China 2009, 19, 563–567. [Google Scholar] [CrossRef]
- Besel, M.; Besel, Y.; Mercado, U.A.; Kakiuchi, T.; Uematsu, Y. Fatigue behavior of friction stir welded Al–Mg–Sc alloy. Int. J. Fatigue 2015, 77, 1–11. [Google Scholar] [CrossRef]
- Sharma, C.; Dwivedi, D.K.; Kumar, P. Fatigue behavior of friction stir weld joints of Al–Zn–Mg alloy AA7039 developed using base metal in different temper condition. Mater. Des. 2014, 64, 334–344. [Google Scholar] [CrossRef]
- Sillapasa, K.; Surapunt, S.; Miyashita, Y.; Mutoh, Y.; Seo, N. Tensile and fatigue behavior of SZ, HAZ and BM in friction stir welded joint of rolled 6N01 aluminum alloy plate. Int. J. Fatigue 2014, 63, 162–170. [Google Scholar] [CrossRef]
- Rao, H.M.; Ghaffari, B.; Yuan, W.; Jordon, J.; Badarinarayan, H. Effect of Process Parameters on Microstructure and Mechanical Behaviors of Friction Stir Linear Welded Aluminum to Magnesium. Mater. Sci. Eng. A 2016, 651, 27–36. [Google Scholar] [CrossRef]
- Cavaliere, P.; Squillace, A.; Panella, F. Effect of welding parameters on mechanical and microstructural properties of AA6082 joints produced by friction stir welding. J. Mater. Process. Technol. 2008, 200, 364–372. [Google Scholar] [CrossRef]
- Cavaliere, P.; Santis, A.D.; Panella, F.; Squillace, A. Effect of welding parameters on mechanical and microstructural properties of dissimilar AA6082–AA2024 joints produced by friction stir welding. Mater. Des. 2009, 30, 609–616. [Google Scholar] [CrossRef]
- Toumpis, A.; Galloway, A.; Molter, L.; Polezhayeva, H. Systematic investigation of the fatigue performance of a friction stir welded low alloy steel. Mater. Des. 2015, 80, 116–128. [Google Scholar] [CrossRef]
- Yoshihiko, U.; Toshifumi, K.; Daisuke, O.; Keigo, H. Fatigue crack propagation near the interface between Al and steel in dissimilar Al/steel friction stir welds. Int. J. Fatigue 2020, 138, 1–9. [Google Scholar]
- Deng, C.; Wang, H.; Gong, B.; Gao, R. Effects of microstructural heterogeneity on very high cycle fatigue properties of 7050-T7451 aluminum alloy friction stir butt welds. Int. J. Fatigue 2016, 83, 100–108. [Google Scholar] [CrossRef]
- He, C.; Liu, Y.; Dong, J.; Wang, Q.; Wagner, D.; Bathias, C. Fatigue crack initiation behaviors throughout friction stir welded joints in AA7075-T6 in ultrasonic fatigue. Int. J. Fatigue 2015, 81, 171–178. [Google Scholar] [CrossRef]
- Bhattacharya, T.K.; Das, H.; Pal, T.K. Influence of welding parameters on material flow, mechanical property and intermetallic characterization of friction stir welded 6063 AA to HCP copper dissimilar butt joint without offset. Trans. Nonferrous Met. Soc. China 2015, 25, 2833–2846. [Google Scholar] [CrossRef]
- Kakiuchi, T.; Uematsu, Y.; Suzuki, K. Evaluation of fatigue crack propagation in dissimilar Al/steel friction stir welds. Procedia Struct. Integr. 2016, 2, 1007–1014. [Google Scholar] [CrossRef]
- He, C.; Liu, Y.; Dong, J.; Wang, Q.; Wagner, D.; Bathias, C. Through thickness property variations in friction stir welded AA6061 joint fatigued in very high cycle fatigue regime. Int. J. Fatigue 2016, 82, 379–386. [Google Scholar] [CrossRef]
- Okada, T.; Suzuki, M.; Miyake, H.; Nakamura, T.; Machida, S.; Asakawa, M. Evaluation of crack nucleation site and mechanicak properties for friction stir welded butt joint in 2024–T3 aluminium alloy. Int. J. Adv. Manuf. Technol. 2010, 50, 127–135. [Google Scholar] [CrossRef]
- Su, J.Q.; Nelson, T.W.; Mishra, R.; Chen, B. Microstructural investigation of friction stir welded 7050-T651 aluminium. ACTA Mater. 2003, 51, 713–729. [Google Scholar] [CrossRef]
- Jolu, T.L.; Morgeneyer, T.F.; Denquin, A.; Gourgues-Lorenzon, A.F. Fatigue lifetime and tearing resistance of AA2198 Al–Cu–Li alloy friction stir welds: Effect of defects. Int. J. Fatigue 2015, 70, 463–472. [Google Scholar] [CrossRef]
- Zhou, C.; Yang, X.; Luan, G. Effect of root flaws on the fatigue property of friction stir welds in 2024-T3 aluminum alloys. Mater. Sci. Eng. A 2006, 418, 155–160. [Google Scholar] [CrossRef]












| σb/MPa | σs/MPa | δ/% | φ/% | E/GPa |
|---|---|---|---|---|
| 465.8 | 307.5 | 15.2 | 9.2 | 71.6 |
© 2020 by the authors. Licensee MDPI, Basel, Switzerland. This article is an open access article distributed under the terms and conditions of the Creative Commons Attribution (CC BY) license (http://creativecommons.org/licenses/by/4.0/).
Share and Cite
Wang, L.; Cong, J.; Ren, J.; Hui, L.; Zhou, S. Effect of Parameters on Fatigue Properties and Crack Propagation Behavior of Friction Stir Crack Repaired Al2024. Metals 2020, 10, 1026. https://doi.org/10.3390/met10081026
Wang L, Cong J, Ren J, Hui L, Zhou S. Effect of Parameters on Fatigue Properties and Crack Propagation Behavior of Friction Stir Crack Repaired Al2024. Metals. 2020; 10(8):1026. https://doi.org/10.3390/met10081026
Chicago/Turabian StyleWang, Lei, Jiahui Cong, Jungang Ren, Li Hui, and Song Zhou. 2020. "Effect of Parameters on Fatigue Properties and Crack Propagation Behavior of Friction Stir Crack Repaired Al2024" Metals 10, no. 8: 1026. https://doi.org/10.3390/met10081026
APA StyleWang, L., Cong, J., Ren, J., Hui, L., & Zhou, S. (2020). Effect of Parameters on Fatigue Properties and Crack Propagation Behavior of Friction Stir Crack Repaired Al2024. Metals, 10(8), 1026. https://doi.org/10.3390/met10081026
