A Simulation and Optimization Study of the Swirling Nozzle for Eccentric Flow Fields of Round Molds
Abstract
1. Introduction
2. Mathematical and Physical Models
2.1. The Research Subject
2.2. The Mathematical Model
2.2.1. Model Assumptions
- 1)
- Neglecting the influence of a surface covering agent on the flow, the top surface of the molten steel is a free-slip surface that is satisfied with k = ε = 0 and ∂u/∂z = ∂v/∂z = ∂k/∂z = ∂ε/∂z = w = 0;
- 2)
- The fluid in the mold is a viscous and incompressible fluid, which has unsteady flow and the initial temperature is a uniform distribution;
- 3)
- The effects of the shrinkage of the round bloom and the vibration of the mold on the flow of molten steel are not considered when the steel solidifies;
- 4)
- The latent heat of δ-γ phase transformation is far less than that of solidification, neglecting the effect of the γ metal solid phase transformation and the influence of solidification of the billet shell on the molten steel flow in the mold;
- 5)
- Argon bubbles and inclusions are spherical, without considering collision and growth;
- 6)
- The inclusions do not influence the flow field, but the flow field does influence the movement of the inclusions.
2.2.2. The Governing Equations and Boundary Conditions
- 1)
- The continuity equation:∂ρ/∂t + ∂ρuj/∂xj = 0In the formula, uj represents the velocity component (m/s); xj represents coordinate (m); ρ and t are fluid density (kg/m3) and time (s), respectively;
- 2)
- The Navier-Stokes equation:where ui and uj denote the velocity of i and j direction (m/s); xi and xj stand for coordinates of the i and j directions (m); p is pressure (Pa); μeff indicates the coefficient of effective viscosity (Pa·s) determined by the available turbulence model; and gi stands for the gravity component, (m/s2);∂(ρui)/∂t + ∂(ρuiuj)/∂xj = − ∂p/∂xi + ∂[μeff(∂ui/∂xj + ∂uj/∂xi)]/∂xi + ρgi
- 3)
- The k-ε two equation model. The k equation of turbulent kinetic energy is given by the expression:∂(ρk)/∂t − ∂(ρkuj)/∂xj = ∂[(μt/σk − μ) (∂k/∂xi)]/∂xj + μt (∂uj/∂xi) (∂ui/∂xj + ∂uj/∂xi) − ρεIn this formula, k represents turbulent kinetic energy (m2/s2), and ε denotes the dissipation rate of turbulent flow energy (m2/s3);The ε equation of dissipation rate of turbulent energy:where μt can be calculated by Equations μt = ρCμk2/ε and μeff = μ + μt; in the formula, μt represents the turbulent viscosity (Pa·s); μ is the laminar viscosity (Pa·s); C1, C2, Cμ, σε and σk are empirical constants, C1 = 1.43, C2 = 1.93, Cμ = 0.09, σk = 1.0, σε = 1.43.∂(ρε)/∂t + ∂(ρεuj)/∂xj = ∂[(μt/σε - μ) (∂ε/∂xi)]/∂xi + C1(ε/k)μt(∂uj/∂xi)(∂ui/∂xj + ∂uj/∂xi) - C2ρ(ε2/k)
- 4)
- The energy transfer equation. The energy transfer equation was coupled with the flow field equations. Without considering the effect of temperature on the density of molten steel, the flow field and temperature field of the mold are calculated by single-phase coupling. The energy transfer equation is shown below:where keff can be calculated by equation keff = μ/σT + μt/σt,T; in the formula, H represents the specific enthalpy of molten steel (J/kg); T stands for molten steel temperature (K); and keff is the effective thermal conductivity (W/m/K); σT = 1.00 (K·s2/m2); σt,T = 0.9 (K·s2/m2).∂(ρujH)/∂xi = ∂[keff(∂T/∂xi)]/∂xi
- 5)
- The DPM Model. In the integral Lagrangian coordinate system, the trajectory of a particle (an inclusion or an argon bubble) is described by the particle force differential equation:∂up/∂t = FD(u − up) + gi (ρp − ρ)/ρp + FiIn the formula, u and up are the velocity of the fluid phase and the particle phase (m/s); μi is the dynamic viscosity of the fluid (Pa·s); ρ and ρp are the density of the fluid phase and the particle phase (kg/m3); dp is the particle diameter (m); Re is the Reynolds number of the particle; FD is the momentum exchange coefficient of drag force (1/s); Fi is the liquid inertia force per particle mass acting on particle as particle accelerating (i = {x, y, z}) (m/s2); CD is the drag force coefficient (-).
- 1)
- The entrance is defined at the inlet of liquid steel in the upper part of the submerged nozzle, entrance velocity (Vin) is determined by casting speed in steady pouring according to the principle of mass conservation of molten steel; the temperature of molten steel at the entrance is 1803 K; the turbulent kinetic energy (kinlet) and turbulent energy dissipation rate (εinlet) at the entrance are calculated by kinlet = (3/2) (VinTi)2 and εinlet = Cμ3/4k3/2/l respectively, in which Ti of the turbulence intensity is 3.7%, and l of the turbulence length scale is 0.07d, among which d is nozzle diameter; and Cμ is taken as 0.09;
- 2)
- The exit is set up at the bottom of the calculation domain as free exit “outflow”;
- 3)
- The liquid surface of the mold is set as a free surface, and the upper surface temperature of the liquid slag layer is a constant temperature of 1500 K, with the velocity component perpendicular to the liquid surface of a constant zero;
- 4)
- The wall of the mold with a no-slip surface is treated by the standard wall function of Fluent, and the height distance from the meniscus level dependant heat flux distributionon with the average heat flux (745 kW/m2) is employed as the heat transfer condition.
2.3. The Physical Model
3. Experimental Results and Analysis
3.1. Effect of SEN Eccentric Distance on the Flow Field
3.2. Effect of Selection of the Bottom Structure of the SEN on Eccentric Flow Field
3.3. Effect of Selection of the Rotation Angle of the Side Hole on Eccentric Flow Field
3.3.1. Effect of the Rotation Angle of the Side Hole on Flow Field
3.3.2. Effect of the Swirling SEN Under Eccentric Casting
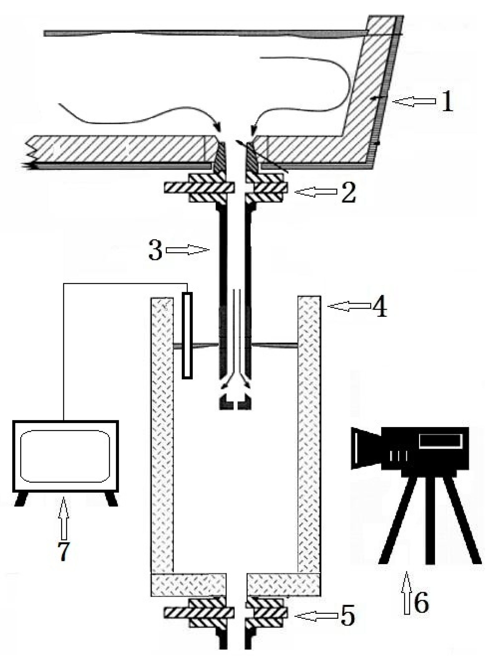
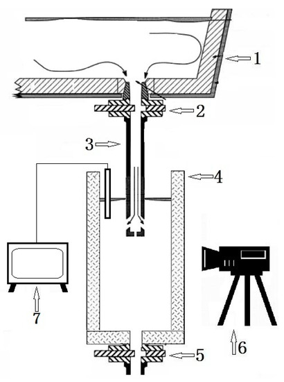
3.4. Comparison with Water Modeling Experiment
4. Conclusions
- 1)
- The eccentric SEN can result in serious bias flow in the mold, causing asymmetrical distribution of flow field for molten steel. The drift index reaches up to 0.46 in the eccentric distance of 50 mm, which leads to problems of slag entrapment and liquid steel exposed in production.
- 2)
- With the increase of the rotation angle on the SEN side holes, the horizontal swirling flows are formed in the flow field of mold so that the impact depth of the stream and turbulent kinetic energy of liquid surface decrease accordingly.
- 3)
- The SEN with a bottom outlet can significantly reduce the bottom pressure and turbulent kinetic energy and weaken the scour of level fluctuation and molten steel for the SEN, thereby prolonging the service life of nozzle.
- 4)
- In the eccentric casting condition with an eccentric distance of 50 mm, the use of the optimized swirling SEN, which employed a five-furcated nozzle with a bottom hole and four side holes and a tangential rotation angle of the side holes of 30°, can effectively inhibit the phenomenon of bias flow in the mold and reduce the mold drift index to 0.28, a decline of more than 39%. Compared to a water modeling experiment, it is found that the optimized swirling nozzle can greatly reduce eccentric flow field and the level fluctuation significantly so that slag entrapment and exposed molten steel disappear.
- 5)
- The optimized swirling SEN can improve the inclusion removal efficiency in model although it is used in the eccentric casting condition, so it is suggested that the optimized swirling SEN should be used in actual continuous casting operation with eccentric casting condition.
- 6)
- The conclusions of the mathematical and physical models in this paper are related to similarity in non-perfect conditions and must be further compared to industrial experience which can be made in future.
Author Contributions
Funding
Conflicts of Interest
References
- Cheng, C.G.; Zhu, J.F.; Huang, S.; Jin, Y.; Liang, Z.W. Numerical simulation analysis of the initial solidification behavior of liquid steel and its influence factors in the corner of billet mold. J. Wuhan Univ. Sci. Technol. 2016, 39, 86–91. [Google Scholar]
- Ren, L.; Zhang, L.; Wang, Q. Measurements of surface velocity and level fluctuation in an actual continuous wide slab casting mold. Metall. Res. Technol. 2017, 114, 102. [Google Scholar] [CrossRef]
- Yang, B.J.; Cai, L.N.; Su, J.Y. Initial development of laminar equivalent model for 3-dimensional turbulent flow in the continuous casting mold. J. Xi’an Jiaotong Univ. 1996, 30, 79–85. [Google Scholar]
- Huang, X.; Thomas, B.G.; Najjar, F.M. Modeling superheat removal during continuous casting of steel slabs. Metall. Mater. Trans. B 1992, 23, 339–356. [Google Scholar] [CrossRef]
- Bai, H.; Thomas, B.G. Turbulent flow of liquid steel and argon bubbles in slide-gate tundish nozzles: Part 1. Model development and validation. Metall. Mater. Trans. B 2001, 32, 253–267. [Google Scholar] [CrossRef]
- Tsukaguchi, Y.; Nakamura, O.; Jonsson, P.; Yokoya, S.; Tanaka, T.; Hara, S. Design of swirling flow submerged entry nozzles for optimal head consumption between tundish and mould. ISIJ Int. 2007, 47, 1436–1443. [Google Scholar] [CrossRef]
- Yokoya, S.; Takagi, S.; Iguchi, M.; Asako, Y.; Westoff, R.; Hara, S. Swirling effect in immersion nozzle on flow and heat transport in billet continuous casting mould. ISIJ Int. 1998, 38, 827–833. [Google Scholar] [CrossRef]
- Wang, W.W.; Zhang, J.Q.; Chen, S.Q.; Dong, J.M. Effect of nozzle outlet angle on the fluid flow and level fluctuation in a bloom casting mould. J. Univ. Sci. Technol. Beijing 2007, 29, 816–821. [Google Scholar]
- Jin, Y.L.; Jin, Y.; Feng, X.W.; Chang, Z.S.; Luo, X.; Yuan, H.; Ye, C. Simulation Study on Optimization of Eccentric Nozzle Structure for Round Mould. Foundry Technol. 2016, 37, 1186–1191. [Google Scholar]
- Gupta, D.; Lahiri, A.K. A water model study of the flow asymmetry inside a continuous slab casting mold. Metall. Mater. Trans. B 1996, 27, 757–764. [Google Scholar] [CrossRef]
- Gupta, D.; Chakraborty, S.; Lahiri, A.K. Asymmetry and oscillation of the fluid flow pattern in a continuous casting mould: a water model study. ISIJ Int. 1997, 37, 654–658. [Google Scholar] [CrossRef]
- Jin, Y.; Ye, C.; Luo, X.; Yuan, H.; Cheng, C.G. The model analysis of inclusion moving in the swirl flow zone sourcing from the inner-swirl-type turbulence controller in tundish. High Temp. Mater. Processes 2017, 36, 541–550. [Google Scholar] [CrossRef]
- Iguchi, M.; Kasai, N. Water model study of horizontal molten steel-Ar two-phase jet in a continuous casting mold. Metall. Mater. Trans. B 2000, 31, 453–460. [Google Scholar] [CrossRef]
- Jin, Y.; Dong, X.S.; Yang, F.; Cheng, C.G.; Li, Y.; Wang, W. Removal mechanism of microscale non-metallic inclusions in a tundish with multi-hole-double-baffles. Metals 2018, 8, 611. [Google Scholar] [CrossRef]
- Yu, H.Q.; Zhu, M.Y. Influence of electromagnetic stirring on transport phenomena in round billet continuous casting mould and macrostructure of high carbon steel billet. Ironmak. Steelmak. 2012, 39, 574–584. [Google Scholar] [CrossRef]
- Li, M.W.; Zhang, G.F.; An, H.H. Numerical simulation of coupled flow in a 150 mm × 150 mm billet continuous casting mould with electromagnetic stirring. Ind. Heat. 2018, 47, 54–58. [Google Scholar]
- Ren, B.J.; Zhu, M.Y.; Wang, H.D.; Chen, Y. 3D numerical simulation of electromagnetic field and flow field in bloom continuous casting mold with electromagnetic stirring. Acta Metall. Sin. 2008, 44, 507–512. [Google Scholar]
- An, H.H.; Bao, Y.P.; Wang, M.; Zhao, L.H. Effects of electromagnetic stirring on fluid flow and temperature distribution in billet continuous casting mould and solidification structure of 55SiCr. Metall. Res. Technol. 2018, 115, 103. [Google Scholar] [CrossRef]
- Zhang, L.; Li, Y.; Wang, Q. Wang, Yan C. Prediction model for steel/slag interfacial instability in continuous casting process. Ironmak. Steelmak. 2015, 42, 705–713. [Google Scholar] [CrossRef]






















| Nozzle Type | Inside Diameter (mm) | Outside Diameter (mm) | Tangential Angle (°) | Side Hole Height (mm) | Side Hole Width (mm) |
|---|---|---|---|---|---|
| Five-fractional radial nozzle (a) | 50 | 100 | 0 | 48 | 32 |
| Five-fractional tangential nozzle (b) | 50 | 100 | 15, 30 | 48 | 32 |
| Section Diameter /(mm) | Liquid Surface of Stable Casting (mm) | Liquid Surface of Overflow (mm) | Immersion Depth of Nozzle (mm) | Casting Speed (m/min) | Casting Temperature (K) |
|---|---|---|---|---|---|
| 600 | 900 | 950 | 160 | 0.30 | 1803 |
| Density (kg/m3) | Viscosity (Pa·s) | Molar Mass (g/mol) | Specific Heat Capacity (J/(kg·K)) | Effective Thermal Conductivity (W/(m2·K)) |
|---|---|---|---|---|
| 7000 | 0.0065 | 55.85 | 750 | 41 |
| Parameters | Prototype | Model |
|---|---|---|
| Section diameter(mm) | 600 | 300 |
| Casting speed(m/min) | 0.3 | 0.212 |
| Water flow speed(m3/h) | 5.09 | 0.900 |
| Mold length(mm) | 900 | 1000 |
| Immersion depth(mm) | 160 | 80 |
| Eccentric distance of SEN(mm) | 50 | 25 |
| Diameter of SEN(mm) | 50 | 25 |
| Steel- slag interfacial tension coefficient(N/m) | 1.4 | - |
| Water- oil interfacial tension coefficient(N/m) | - | 0.05 |
| Reynolds number | 2.65 × 108 | 1.27 × 107 |
| Froude number | 1.06 | 1.06 |
| Weber number | 1.30 × 102 | 1.30 × 102 |
| Liquid Phase | Density (kg/m3) | Dynamic Viscosity (Pa·s) | Kinematic Viscosity (m2/s) |
|---|---|---|---|
| Water | 1000 | 1.0 × 10−3 | 1.0 × 10−6 |
| Molten steel | 7020 | 6.5 × 10−3 | 0.95 × 10−6 |
| 3# aviation kerosene | 800 | 2.0 × 10−3 | 2.5 × 10−6 |
| N100 vacuum pump oil | 880 | 88.0 × 10−3 | 100 × 10−6 |
| Mold powder | 2500~2900 | 20~800 × 10−3 | 8~296.3 × 10−6 |
© 2020 by the authors. Licensee MDPI, Basel, Switzerland. This article is an open access article distributed under the terms and conditions of the Creative Commons Attribution (CC BY) license (http://creativecommons.org/licenses/by/4.0/).
Share and Cite
Lin, P.; Jin, Y.; Yang, F.; Liu, Z.; Jing, R.; Cao, Y.; Xiang, Y.; Cheng, C.; Li, Y. A Simulation and Optimization Study of the Swirling Nozzle for Eccentric Flow Fields of Round Molds. Metals 2020, 10, 691. https://doi.org/10.3390/met10050691
Lin P, Jin Y, Yang F, Liu Z, Jing R, Cao Y, Xiang Y, Cheng C, Li Y. A Simulation and Optimization Study of the Swirling Nozzle for Eccentric Flow Fields of Round Molds. Metals. 2020; 10(5):691. https://doi.org/10.3390/met10050691
Chicago/Turabian StyleLin, Peng, Yan Jin, Fu Yang, Ziyu Liu, Rundong Jing, Yang Cao, Yuyang Xiang, Changgui Cheng, and Yang Li. 2020. "A Simulation and Optimization Study of the Swirling Nozzle for Eccentric Flow Fields of Round Molds" Metals 10, no. 5: 691. https://doi.org/10.3390/met10050691
APA StyleLin, P., Jin, Y., Yang, F., Liu, Z., Jing, R., Cao, Y., Xiang, Y., Cheng, C., & Li, Y. (2020). A Simulation and Optimization Study of the Swirling Nozzle for Eccentric Flow Fields of Round Molds. Metals, 10(5), 691. https://doi.org/10.3390/met10050691

