Impact of Drugs Used in Intensive Care on Routine Coagulation Testing
Abstract
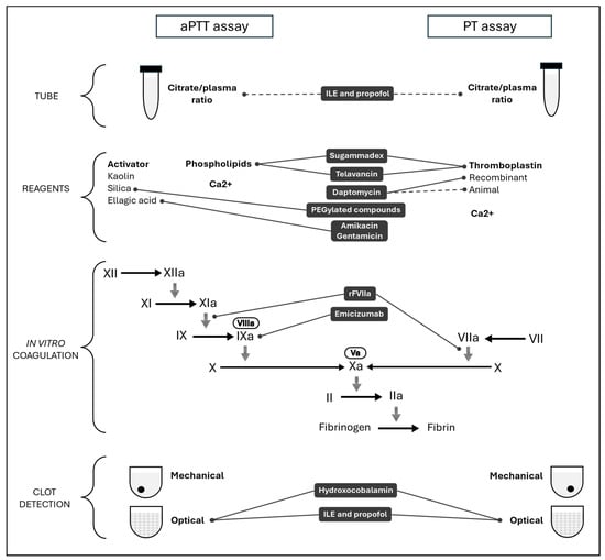
1. Introduction
2. Drugs Interfering with Chromogenic Assays
2.1. Hydroxocobalamin
2.2. Intravenous Lipid Emulsion and Propofol
3. Drugs Interfering with Chronometric Assays
3.1. PEGylated Compounds
3.2. Emicizumab
3.3. Recombinant Activated Factor VII (rFVIIa)
3.4. Antibiotics
3.5. Sugammadex
4. Drugs Affecting the Hemostasis System
4.1. Bridging Anticoagulation
4.2. N-Acetylcysteine
4.3. Corticosteroids
4.4. Serotonin Reuptake Inhibitors and Tramadol
5. Conclusions
Author Contributions
Funding
Institutional Review Board Statement
Informed Consent Statement
Data Availability Statement
Conflicts of Interest
Abbreviations
| aPTT | Activated partial thromboplastin time |
| DOAC | Direct oral anticoagulant |
| DXai | Direct Factor Xa inhibitor |
| Fx | Factor x (e.g., FVIII for factor VIII) |
| HIT | Heparin-induced thrombocytopenia |
| ICU | Intensive care unit |
| ILE | Intravenous lipid emulsion |
| INR | International normalized ratio |
| LMWH | Low-molecular-weight heparin |
| NAC | N-acetylcystein |
| NAPQI | N-accetyl-para-benzoquinoneimine |
| PT | Prothrombin time |
| rFVIIa | Recombinant activated factor VII |
| TT | Thrombin time |
| UFH | Unfractionated heparin |
| VKA | Vitamin K antagonist |
| VKOR | Vitamin K epoxide reductase |
References
- Kim, K.S. Coagulation Assays in Critical Care. J. Clin. Med. 2021, 10, 5369. [Google Scholar]
- Gordon, A.C.; Alipanah-Lechner, N.; Bos, L.D.; Dianti, J.; Diaz, J.V.; Finfer, S.; Fujii, T.; Giamarellos-Bourboulis, E.J.; Goligher, E.C.; Gong, M.N.; et al. From ICU Syndromes to ICU Subphenotypes: Consensus Report and Recommendations for Developing Precision Medicine in the ICU. Am. J. Respir. Crit. Care Med. 2024, 210, 155–166. [Google Scholar] [CrossRef] [PubMed]
- Padoan, A.; Sciacovelli, L.; Zhou, R.; Plebani, M. Extra-Analytical Sources of Uncertainty: Which Ones Really Matter? Clin. Chem. Lab. Med. 2019, 57, 1488–1493. [Google Scholar] [CrossRef]
- Favresse, J.; Lippi, G.; Roy, P.-M.; Chatelain, B.; Jacqmin, H.; ten Cate, H.; Mullier, F. D-Dimer: Preanalytical, Analytical, Postanalytical Variables, and Clinical Applications. Crit. Rev. Clin. Lab. Sci. 2018, 55, 548–577. [Google Scholar] [CrossRef] [PubMed]
- Ortoleva, J.; Shapeton, A.D. Seeing Red: Hydroxocobalamin and Result Interference. J. Cardiothorac. Vasc. Anesth. 2023, 37, 1339–1342. [Google Scholar] [CrossRef]
- Carlsson, C.J.; Hansen, H.E.; Hilsted, L.; Malm, J.; Ødum, L.; Szecsi, P.B. An Evaluation of the Interference of Hydroxycobalamin with Chemistry and Co-Oximetry Tests on Nine Commonly Used Instruments. Scand. J. Clin. Lab. Investig. 2011, 71, 378–386. [Google Scholar] [CrossRef]
- Warner, M.A.; Mauermann, W.J.; Armour, S.; Barbara, D.W. Red Urinary Discolouration Following Hydroxocobalamin Treatment for Vasoplegic Syndrome. Can. J. Anesth/J. Can. Anesth. 2017, 64, 673–674. [Google Scholar] [CrossRef]
- Bak, M.A.; Smith, J.A.; Murfin, B.; Chen, Y. High-Dose Hydroxocobalamin for Refractory Vasoplegia Post Cardiac Surgery. Cureus 2022, 14, e28267. [Google Scholar] [CrossRef]
- Fueyo, L.; Robles, J.; Aguilar, I.; Yáñez, A.M.; Socias, M.; Parera, M. Hemolysis Index to Detect Degree of Hydroxocobalamin Interference with Common Laboratory Tests. J. Clin. Lab. Anal. 2017, 31, e22089. [Google Scholar] [CrossRef]
- Dang, S.; Tsui, A.K.; Herndon, R.; Babiak, C.; Szkotak, A.; Füzéry, A.K.; Raizman, J.E. Hydroxocobalamin Interference in Routine Laboratory Tests: Development of a Protocol for Identifying Samples and Reporting Results from Patients Treated with CyanokitTM. Clin. Biochem. 2021, 91, 31–38. [Google Scholar] [CrossRef]
- Woolley, A.; Golmard, J.-L.; Kitchen, S. Effects of Haemolysis, Icterus and Lipaemia on Coagulation Tests as Performed on Stago STA-Compact-Max Analyser. Int. J. Lab. Hematol. 2016, 38, 375–388. [Google Scholar] [PubMed]
- Cagle, G.; Greene, R.A. Hydroxocobalamin Interference With Chromogenic Anti-Xa Assay in a Patient on Mechanical Circulatory Support. J. Cardiothorac. Vasc. Anesth. 2023, 37, 1241–1244. [Google Scholar] [CrossRef] [PubMed]
- Levine, M.; Skolnik, A.B.; Ruha, A.-M.; Bosak, A.; Menke, N.; Pizon, A.F. Complications Following Antidotal Use of Intravenous Lipid Emulsion Therapy. J. Med. Toxicol. 2014, 10, 10–14. [Google Scholar] [CrossRef]
- Gosselin, S.; Hoegberg, L.C.G.; Hoffman, R.S.; Graudins, A.; Stork, C.M.; Thomas, S.H.L.; Stellpflug, S.J.; Hayes, B.D.; Levine, M.; Morris, M.; et al. Evidence-Based Recommendations on the Use of Intravenous Lipid Emulsion Therapy in Poisoning. Clin. Toxicol. 2016, 54, 899–923. [Google Scholar] [CrossRef]
- Mainali, S.; Davis, S.R.; Krasowski, M.D. Frequency and Causes of Lipemia Interference of Clinical Chemistry Laboratory Tests. Pract. Lab. Med. 2017, 8, 1–9. [Google Scholar] [CrossRef]
- Parsons, L.; Yorde, L.; Lindenbaum, L.; Harrington, A. Propofol Interference in Coagulation Testing. Am. J. Clin. Pathol. 2012, 138, A285. [Google Scholar] [CrossRef][Green Version]
- Negaard, B.J.; Hobbs, R.; Frye, J.R.; Merrill, A.E. Propofol-Induced Interference with Activated Partial Thromboplastin Time–Based Monitoring of Therapeutic Heparin Anticoagulation. Am. J. Health-Syst. Pharm. 2023, 80, 445–451. [Google Scholar] [CrossRef]
- De Baerdemaeker, K.; Foxton, E.; Wood, D.M.; Archer, J.R.H.; Layne, K.; Wolfe, C.; Dargan, P.I. Intravenous Lipid Emulsion Interference in Coagulation Testing: An Ex Vivo Analysis. Clin. Toxicol. 2024, 62, 441–445. [Google Scholar] [CrossRef]
- Lippi, G.; Plebani, M.; Favaloro, E.J. Interference in coagulation testing: Focus on spurious hemolysis, icterus, and lipemia. Semin. Thromb. Hemost. 2013, 39, 258–266. [Google Scholar]
- Gardiner, C.; Lane, P.; Tailor, H.; Mackie, I.J. A Practical Method for Reducing the Interference Due to Lipaemia in Coagulation Tests. Int. J. Lab. Hematol. 2020, 42, 140–144. [Google Scholar] [CrossRef]
- Negrini, D.; Bernardi, D.; Antonelli, G.; Plebani, M. Interference of Lipemia in Samples for Routine Coagulation Testing Using a Sysmex CS-5100 Coagulometer. Int. J. Lab. Hematol. 2019, 41, 772–777. [Google Scholar] [CrossRef] [PubMed]
- Grunbaum, A.M.; Gosselin, S.; Gilfix, B.M.; Blank, D.W. Comment on Complications Following Antidotal Use of Intravenous Lipid Emulsion Therapy (Levine et al., J Med Toxicol 2013). J. Med. Toxicol. 2014, 10, 245–246. [Google Scholar] [CrossRef] [PubMed][Green Version]
- Johnson-Arbor, K.; Salinger, L.; Luczycki, S. Prolonged Laboratory Interference After Administration of Intravenous Lipid Emulsion Therapy. J. Med. Toxicol. 2015, 11, 223–226. [Google Scholar] [CrossRef]
- Moussa, F.; Depasse, F.; Lompret, V.; Hautem, J.-Y.; Girardet, J.-P.; Fontaine, J.-L.; Aymard, P. Determination of Phylloquinone in Intravenous Fat Emulsions and Soybean Oil by High-Performance Liquid Chromatography. J. Chromatogr. A 1994, 664, 189–194. [Google Scholar] [CrossRef]
- Cotto, M.A.; Lutomski, D.M.; Palascak, J.E.; Fant, W.K.; LaFrance, R.J. Fat Emulsion Effects on Prothrombin Time in Warfarin Anticoagulated Patients: An in Vitro Study. JPEN J. Parenter. Enter. Nutr. 1990, 14, 201–203. [Google Scholar] [CrossRef] [PubMed]
- MacLaren, R.; Wachsman, B.A.; Swift, D.K.; Kuhl, D.A. Warfarin Resistance Associated with Intravenous Lipid Administration: Discussion of Propofol and Review of the Literature. Pharmacotherapy 1997, 17, 1331–1337. [Google Scholar] [CrossRef]
- Duerksen, D.R.; Papineau, N. The Prevalence of Coagulation Abnormalities in Hospitalized Patients Receiving Lipid-Based Parenteral Nutrition. J. Parenter. Enter. Nutr. 2004, 28, 30–33. [Google Scholar] [CrossRef] [PubMed]
- Shi, D.; Beasock, D.; Fessler, A.; Szebeni, J.; Ljubimova, J.Y.; Afonin, K.A.; Dobrovolskaia, M.A. To PEGylate or Not to PEGylate: Immunological Properties of Nanomedicine’s Most Popular Component, Poly(Ethylene) Glycol and Its Alternatives. Adv. Drug Deliv. Rev. 2022, 180, 114079. [Google Scholar] [CrossRef]
- Gao, Y.; Joshi, M.; Zhao, Z.; Mitragotri, S. PEGylated Therapeutics in the Clinic. Bioeng. Transl. Med. 2023, 9, e10600. [Google Scholar] [CrossRef]
- Bethel, M.; Adcock, D.; Zalevsky, J.; Young, M. Polyethylene Glycol Prolongation of the APTT in Two Biopharmaceuticals. Int. J. Lab. Hematol. 2007, 29 (Suppl. 1), 69. [Google Scholar]
- Murphy, B.; Parrula, M.C.M.; Perigard, C.J.; Li, J. Artifactual Prolongation of Activated Partial Thromboplastin Time with PEGylated Compounds in Silica-Based Assays. Blood Coagul. Fibrinolysis 2014, 25, 876. [Google Scholar] [CrossRef] [PubMed]
- Müller, J.; Miesbach, W.; Prüller, F.; Siegemund, T.; Scholz, U.; Sachs, U.J. An Update on Laboratory Diagnostics in Haemophilia A and B. Hamostaseologie 2022, 42, 248–260. [Google Scholar] [CrossRef]
- Young, G.A.; Perry, D.J. International Prophylaxis Study Group (IPSG) Laboratory Assay Measurement of Modified Clotting Factor Concentrates: A Review of the Literature and Recommendations for Practice. J. Thromb. Haemost. 2019, 17, 567–573. [Google Scholar] [CrossRef]
- Persson, E.; Foscolo, T.; Hansen, M. Reagent-specific Underestimation of Turoctocog Alfa Pegol (N8-GP) Clotting Activity Owing to Decelerated Activation by Thrombin. Res. Pract. Thromb. Haemost. 2018, 3, 114–120. [Google Scholar] [CrossRef] [PubMed]
- Rosén, P.; Rosén, S.; Ezban, M.; Persson, E. Overestimation of N-GlycoPEGylated Factor IX Activity in a One-Stage Factor IX Clotting Assay Owing to Silica-Mediated Premature Conversion to Activated Factor IX. J. Thromb. Haemost. 2016, 14, 1420–1427. [Google Scholar] [CrossRef]
- Jenkins, P.V.; Bowyer, A.; Burgess, C.; Gray, E.; Kitchen, S.; Murphy, P.; Platton, S.; Riddell, A.; Chowdary, P.; Lester, W. Laboratory Coagulation Tests and Emicizumab Treatment A United Kingdom Haemophilia Centre Doctors’ Organisation Guideline. Haemophilia 2020, 26, 151–155. [Google Scholar] [CrossRef]
- Kershaw, G.; Dix, C.; Chen, V.M.; Cai, N.; Khoo, T.-L. Emicizumab Assay Evaluations and Results from an Australian Field Study of Emicizumab Measurement. Pathology 2022, 54, 755–762. [Google Scholar] [CrossRef] [PubMed]
- Bowyer, A.; Kitchen, S.; Maclean, R. Effects of Emicizumab on APTT, One-Stage and Chromogenic Assays of Factor VIII in Artificially Spiked Plasma and in Samples from Haemophilia A Patients with Inhibitors. Haemophilia 2020, 26, 536–542. [Google Scholar] [CrossRef]
- Adamkewicz, J.I.; Chen, D.C.; Paz-Priel, I. Effects and Interferences of Emicizumab, a Humanised Bispecific Antibody Mimicking Activated Factor VIII Cofactor Function, on Coagulation Assays. Thromb. Haemost. 2019, 119, 1084–1093. [Google Scholar] [CrossRef]
- Shima, M.; Hanabusa, H.; Taki, M.; Matsushita, T.; Sato, T.; Fukutake, K.; Fukazawa, N.; Yoneyama, K.; Yoshida, H.; Nogami, K. Factor VIII-Mimetic Function of Humanized Bispecific Antibody in Hemophilia A. N. Engl. J. Med. 2016, 374, 2044–2053. [Google Scholar] [CrossRef]
- Novembrino, C.; Boscolo-Anzoletti, M.; Galbiati, E.; Shinohara, S.; Peyvandi, F. Effect of Emicizumab-Neutralizing Antibodies on Activated Partial Thromboplastin Time–Based Clotting Time Test Results in Patients Treated with Emicizumab. Res. Pract. Thromb. Haemost. 2023, 7, 102260. [Google Scholar] [CrossRef] [PubMed]
- Oldenburg, J.; Mahlangu, J.N.; Kim, B.; Schmitt, C.; Callaghan, M.U.; Young, G.; Santagostino, E.; Kruse-Jarres, R.; Negrier, C.; Kessler, C.; et al. Emicizumab Prophylaxis in Hemophilia A with Inhibitors. N. Engl. J. Med. 2017, 377, 809–818. [Google Scholar] [CrossRef]
- Nougier, C.; Jeanpierre, E.; Ternisien, C.; Proulle, V.; Hezard, N.; Pouplard, C.; Lasne, D.; With Contributions from the Working Group on Biology of Haemorrhagic Disorders (BIMHO, Under the Aegis of GFHT). Emicizumab Treatment: Impact on Coagulation Tests and Biological Monitoring of Haemostasis According to Clinical Situations (BIMHO Group Proposals). Eur. J. Haematol. 2020, 105, 675–681. [Google Scholar] [CrossRef] [PubMed]
- Brophy, G.M.; Candeloro, C.L.; Robles, J.R.; Brophy, D.F. Recombinant Activated Factor VII Use in Critically Ill Patients: Clinical Outcomes and Thromboembolic Events. Ann. Pharmacother. 2013, 47, 447–454. [Google Scholar] [CrossRef] [PubMed]
- Lisman, T.; Groot, P.G.D. Mechanism of Action of Recombinant Factor VIIa. J. Thromb. Haemost. 2003, 1, 1138–1139. [Google Scholar] [CrossRef]
- Roberts, H.R.; Monroe, D.M.; White, G.C. The Use of Recombinant Factor VIIa in the Treatment of Bleeding Disorders. Blood 2004, 104, 3858–3864. [Google Scholar] [CrossRef]
- Hoffman, M.; Dargaud, Y. Mechanisms and Monitoring of Bypassing Agent Therapy. J. Thromb. Haemost. 2012, 10, 1478–1485. [Google Scholar] [CrossRef]
- Pusateri, A.E.; Park, M.S. Mechanistic Implications for the Use and Monitoring of Recombinant Activated Factor VII in Trauma. Crit. Care 2005, 9, S15–S24. [Google Scholar] [CrossRef][Green Version]
- Martinowitz, U.; Michaelson, M. Israeli Multidisciplinary rFVIIa Task Force Guidelines for the Use of Recombinant Activated Factor VII (RFVIIa) in Uncontrolled Bleeding: A Report by the Israeli Multidisciplinary RFVIIa Task Force. J. Thromb. Haemost. 2005, 3, 640–648. [Google Scholar] [CrossRef]
- Lee, A.I.; Campigotto, F.; Rawn, J.D.; Neuberg, D.; Kaufman, R.M.; Berliner, N. Clinical Significance of Coagulation Studies in Predicting Response to Activated Recombinant Factor VII in Cardiac Surgery Patients. Br. J. Haematol. 2012, 157, 397–400. [Google Scholar] [CrossRef]
- Dunkley, S.; Phillips, L.; McCall, P.; Brereton, J.; Lindeman, R.; Jankelowitz, G.; Cameron, P. Recombinant Activated Factor VII in Cardiac Surgery: Experience from the Australian and New Zealand Haemostasis Registry. Ann. Thorac. Surg. 2008, 85, 836–844. [Google Scholar] [CrossRef] [PubMed]
- Shima, M. Understanding the Hemostatic Effects of Recombinant Factor VIIa by Clot Wave Form Analysis. Semin. Hematol. 2004, 41, 125–131. [Google Scholar] [CrossRef]
- Cid, A.R.; Lorenzo, J.I.; Haya, S.; Montoro, J.M.; Casaña, P.; Aznar, J.A. A Comparison of FVII:C and FVIIa Assays for the Monitoring of Recombinant Factor VIIa Treatment. Haemophilia 2001, 7, 39–41. [Google Scholar] [CrossRef]
- Meijer, K.; Hendriks, H.G.D.; De Wolf, J.T.M.; Klompmaker, I.J.; Lisman, T.; Hagenaars, A.A.M.; Slooff, M.J.H.; Porte, R.J.; van der Meer, J. Recombinant Factor VIIa in Orthotopic Liver Transplantation: Influence on Parameters of Coagulation and Fibrinolysis. Blood Coagul. Fibrinolysis 2003, 14, 169–174. [Google Scholar] [CrossRef] [PubMed]
- Johannessen, M.; Nielsen, G.; Nordfang, O. Comparison of the Factor VII:C Clot Analysis and a Modified Activated Factor VII Analysis for Monitoring Factor VII Activity in Patients Treated with Recombinant Activated Factor VII (NovoSeven). Blood Coagul. Fibrinolysis 2000, 11 (Suppl. 1), S159–S164. [Google Scholar] [CrossRef] [PubMed]
- Saito, M.; Hatakeyama, S.; Hashimoto, H.; Suzuki, T.; Jubishi, D.; Kaneko, M.; Kume, Y.; Yamamoto, T.; Suzuki, H.; Yotsuyanagi, H. Dose-Dependent Artificial Prolongation of Prothrombin Time by Interaction between Daptomycin and Test Reagents in Patients Receiving Warfarin: A Prospective in Vivo Clinical Study. Ann. Clin. Microbiol. Antimicrob. 2017, 16, 27. [Google Scholar] [CrossRef]
- Webster, P.S.; Oleson, F.B.; Paterson, D.L.; Arkin, C.F.; Mangili, A. Interaction of Daptomycin with Two Recombinant Thromboplastin Reagents Leads to Falsely Prolonged Patient Prothrombin Time/International Normalized Ratio Results. Blood Coagul. Fibrinolysis 2008, 19, 32–38. [Google Scholar] [CrossRef]
- Cawthern, K.; Bottenus, R.; Rawal, D.; Triscott, M. PT and INR Interference by the Antibiotic Daptomycin in Commercial Thromboplastin Reagents: Dependence on Phospholipid Composition. Blood 2006, 108, 4129. [Google Scholar] [CrossRef]
- Yamada, T.; Kato, R.; Oda, K.; Tanaka, H.; Suzuki, K.; Ijiri, Y.; Ikemoto, T.; Nishihara, M.; Hayashi, T.; Tanaka, K.; et al. False Prolongation of Prothrombin Time in the Presence of a High Blood Concentration of Daptomycin. Basic. Clin. Pharmacol. Toxicol. 2016, 119, 353–359. [Google Scholar] [CrossRef]
- Gosselin, R.; Dager, W.; Roberts, A.; Freeman, L.; Gandy, L.; Gregg, J.; Dwyre, D. Effect of Telavancin (Vibativ) on Routine Coagulation Test Results. Am. J. Clin. Pathol. 2011, 136, 848–854. [Google Scholar] [CrossRef]
- Barriere, S.L.; Goldberg, M.R.; Janc, J.W.; Higgins, D.L.; Macy, P.A.; Adcock, D.M. Effects of Telavancin on Coagulation Test Results. Int. J. Clin. Pract. 2011, 65, 784–789. [Google Scholar] [CrossRef]
- Amanatullah, D.F.; Lopez, M.J.; Gosselin, R.C.; Gupta, M.C. Case Report: Artificial Elevation of Prothrombin Time by Telavancin. Clin. Orthop. Relat. Res. 2013, 471, 332–335. [Google Scholar] [CrossRef]
- Ero, M.P.; Harvey, N.R.; Harbert, J.L.; Janc, J.W.; Chin, K.H.; Barriere, S.L. Impact of Telavancin on Prothrombin Time and Activated Partial Thromboplastin Time as Determined Using Point-of-Care Coagulometers. J. Thromb. Thrombolysis 2014, 38, 235–240. [Google Scholar] [CrossRef] [PubMed]
- Kaneko, Y.; Sugasaki, M.; Okada, N.; Niimi, M.; Yasui, S.; Hori, T.; Aihara, K.; Takishita, M.; Abe, M.; Nakamura, S. Artifactual Prolongation of the Activated Partial Thromboplastin Time by Amikacin or Gentamicin with Ellagic Acid, but Not Silica Activated Reagent. Int. J. Lab. Hematol. 2021, 44, e72–e75. [Google Scholar] [CrossRef] [PubMed]
- Doi, H.; Osawa, M.; Ozaki, A.; Sato, S.; Fujita, T.; Akiyama, H.; Ito, H. False Prolongation of Activated Partial Thromboplastin Time with Aminoglycoside Antimicrobial Agents: A Case Report. Open Access Maced. J. Med. Sci. 2023, 11, 129–133. [Google Scholar] [CrossRef]
- Sun, H.; Meng, X.; Shao, X.; Duan, L.; Fan, K. Impact of Tigecycline on Coagulation in Severe Infections and Effect of Vitamin K1 Intervention: A Retrospective Single-Center Analysis. Med. Sci. Monit. 2024, 30, e944778. [Google Scholar] [CrossRef]
- Leng, B.; Xue, Y.C.; Zhang, W.; Gao, T.T.; Yan, G.Q.; Tang, H. A Retrospective Analysis of the Effect of Tigecycline on Coagulation Function. Chem. Pharm. Bull. 2019, 67, 258–264. [Google Scholar] [CrossRef]
- Wang, D.; Lin, C.; Gu, C.; Wu, Y.; Wang, S. Tigecycline-Associated Coagulopathy: A Single-Center Retrospective Analysis. Pharmacology 2022, 107, 524–536. [Google Scholar] [CrossRef]
- Zhang, Q.; Zhou, S.; Zhou, J. Tigecycline Treatment Causes a Decrease in Fibrinogen Levels. Antimicrob. Agents Chemother. 2015, 59, 1650–1655. [Google Scholar] [CrossRef]
- Li, Z.; Zeng, Q.; Xu, S.; Li, Y.; Tang, T.; Shi, J.; Song, X.; He, W.; Chen, L.; Liu, G.; et al. Development and Validation of a Nomogram for Predicting Tigecycline-Related Coagulopathy: A Retrospective Cohort Study. Infect. Drug Resist. 2023, 16, 423–434. [Google Scholar] [CrossRef]
- Cui, N.; Cai, H.; Li, Z.; Lu, Y.; Wang, G.; Lu, A. Tigecycline-Induced Coagulopathy: A Literature Review. Int. J. Clin. Pharm. 2019, 41, 1408–1413. [Google Scholar] [CrossRef] [PubMed]
- Bologheanu, R.; Lichtenegger, P.; Maleczek, M.; Laxar, D.; Schaden, E.; Kimberger, O. A Retrospective Study of Sugammadex for Reversal of Neuromuscular Blockade Induced by Rocuronium in Critically Ill Patients in the ICU. Sci. Rep. 2022, 12, 897. [Google Scholar] [CrossRef] [PubMed]
- De Kam, P.-J.; Grobara, P.; Prohn, M.; Höppener, F.; Kluft, C.; Burggraaf, J.; Langdon, R.B.; Peeters, P. Effects of Sugammadex on Activated Partial Thromboplastin Time and Prothrombin Time in Healthy Subjects. Int. J. Clin. Pharmacol. Ther. 2014, 52, 227–236. [Google Scholar] [CrossRef] [PubMed]
- Rahe-Meyer, N.; Fennema, H.; Schulman, S.; Klimscha, W.; Przemeck, M.; Blobner, M.; Wulf, H.; Speek, M.; McCrary Sisk, C.; Williams-Herman, D.; et al. Effect of Reversal of Neuromuscular Blockade with Sugammadex versus Usual Care on Bleeding Risk in a Randomized Study of Surgical Patients. Anesthesiology 2014, 121, 969–977. [Google Scholar] [CrossRef]
- Carron, M. Effects of Sugammadex on Coagulation: It Does Not Represent a Bleeding Risk in Surgical Patients. Int. J. Clin. Pharmacol. Ther. 2014, 52, 824. [Google Scholar] [CrossRef]
- Kang, W.-S.; Lim, H.; Kim, B.-S.; Lee, Y.; Hahm, K.-D.; Kim, S.-H. Assessment of the Effects of Sugammadex on Coagulation Profiles Using Thromboelastographic Parameters. Sci. Rep. 2020, 10, 11179. [Google Scholar] [CrossRef]
- Lee, I.O.; Kim, Y.S.; Chang, H.W.; Kim, H.; Lim, B.G.; Lee, M. In Vitro Investigation of the Effects of Exogenous Sugammadex on Coagulation in Orthopedic Surgical Patients. BMC Anesthesiol. 2018, 18, 56. [Google Scholar] [CrossRef]
- Dirkmann, D.; Britten, M.W.; Pauling, H.; Weidle, J.; Volbracht, L.; Görlinger, K.; Peters, J. Anticoagulant Effect of Sugammadex: Just an In Vitro Artifact. Anesthesiology 2016, 124, 1277–1285. [Google Scholar] [CrossRef]
- Douketis, J.D.; Spyropoulos, A.C.; Murad, M.H.; Arcelus, J.I.; Dager, W.E.; Dunn, A.S.; Fargo, R.A.; Levy, J.H.; Samama, C.M.; Shah, S.H.; et al. Perioperative Management of Antithrombotic Therapy: An American College of Chest Physicians Clinical Practice Guideline. Chest 2022, 162, e207–e243. [Google Scholar] [CrossRef]
- Kovacs, M.J.; Wells, P.S.; Anderson, D.R.; Lazo-Langner, A.; Kearon, C.; Bates, S.M.; Blostein, M.; Kahn, S.R.; Schulman, S.; Sabri, E.; et al. Postoperative Low Molecular Weight Heparin Bridging Treatment for Patients at High Risk of Arterial Thromboembolism (PERIOP2): Double Blind Randomised Controlled Trial. BMJ 2021, 373, n1205. [Google Scholar] [CrossRef]
- Oyakawa, T.; Fukumitsu, M.; Ebihara, A.; Shiga, T. Relevance of Non-Bridging Therapy with Heparin during Temporary Interruption of Direct Oral Anticoagulants in Patients with Cancer-Associated Venous Thromboembolism. Ann. Vasc. Dis. 2022, 15, 121–125. [Google Scholar] [CrossRef]
- Vahanian, A.; Beyersdorf, F.; Praz, F.; Milojevic, M.; Baldus, S.; Bauersachs, J.; Capodanno, D.; Conradi, L.; De Bonis, M.; De Paulis, R.; et al. 2021 ESC/EACTS Guidelines for the Management of Valvular Heart Disease. Eur. Heart J. 2022, 43, 561–632. [Google Scholar] [CrossRef]
- De Caterina, R.; Ten Cate, H.; Pengo, V. Non-Vitamin K Oral Anticoagulants in Valvular Heart Disease before Surgery: A Tale of Bridging vs. No Bridging. Eur. Heart J. 2025, 46, 35–37. [Google Scholar] [CrossRef] [PubMed]
- Winkler, A.M. Measuring and Monitoring of Hemostasis. In Hemostasis Management of the Pediatric Surgical Patient; Academic Press: Cambridge, MA, USA, 2024; pp. 31–48. ISBN 978-0-323-90459-9. [Google Scholar]
- Vandiver, J.W.; Vondracek, T.G. Antifactor Xa Levels versus Activated Partial Thromboplastin Time for Monitoring Unfractionated Heparin. Pharmacotherapy 2012, 32, 546–558. [Google Scholar] [CrossRef] [PubMed]
- Frugé, K.S.; Lee, Y.R. Comparison of Unfractionated Heparin Protocols Using Antifactor Xa Monitoring or Activated Partial Thrombin Time Monitoring. Am. J. Health Syst. Pharm. 2015, 72, S90–S97. [Google Scholar] [CrossRef] [PubMed]
- van Roessel, S.; Middeldorp, S.; Cheung, Y.W.; Zwinderman, A.H.; de Pont, A.C.J.M. Accuracy of APTT Monitoring in Critically Ill Patients Treated with Unfractionated Heparin. Neth. J. Med. 2014, 72, 305–310. [Google Scholar]
- Bertoletti, L.; Ollier, E.; Duvillard, C.; Delavenne, X.; Beyens, M.-N.; De Magalhaes, E.; Bellet, F.; Basset, T.; Mismetti, P.; Laporte, S. Direct Oral Anticoagulants: Current Indications and Unmet Needs in the Treatment of Venous Thromboembolism. Pharmacol. Res. 2017, 118, 33–42. [Google Scholar] [CrossRef]
- Gosselin, R.C.; Adcock, D.M. Assessing Nonvitamin K Antagonist Oral Anticoagulants (NOACs) in the Laboratory. Int. J. Lab. Hematol. 2015, 37 (Suppl. 1), 46–51. [Google Scholar] [CrossRef]
- Jabet, A.; Stepanian, A.; Golmard, J.-L.; Flaujac, C.; Joly, B.S.; Gouin-Thibault, I.; Siguret, V. Are Screening Tests Reliable to Rule Out Direct Oral Anticoagulant Plasma Levels at Various Thresholds (30, 50, or 100 Ng/ML) in Emergency Situations? Chest 2018, 153, 288–290. [Google Scholar] [CrossRef]
- Mackie, I.; Cooper, P.; Lawrie, A.; Kitchen, S.; Gray, E.; Laffan, M. Guidelines on the Laboratory Aspects of Assays Used in Haemostasis and Thrombosis. Int. J. Lab. Hematol. 2013, 35, 1–13. [Google Scholar] [CrossRef]
- Samama, M.M.; Amiral, J.; Guinet, C.; Perzborn, E.; Depasse, F. An Optimised, Rapid Chromogenic Assay, Specific for Measuring Direct Factor Xa Inhibitors (Rivaroxaban) in Plasma. Thromb. Haemost. 2010, 104, 1078–1079. [Google Scholar] [CrossRef] [PubMed]
- Mani, H.; Lindhoff-Last, E. Main Considerable Factors for Correct Laboratory Test Interpretation under DOA Treatment. Thromb. J. 2013, 11, 22. [Google Scholar] [CrossRef]
- Siguret, V.; Boissier, E.; De Maistre, E.; Gouin-Thibault, I.; James, C.; Lasne, D.; Mouton, C.; Godon, A.; Nguyen, P.; Lecompte, T.; et al. GFHT Proposals on the Practical Use of Argatroban—With Specifics Regarding Vaccine-Induced Immune Thrombotic Thrombocytopaenia (VITT). Anaesth. Crit. Care Pain. Med. 2021, 40, 100963. [Google Scholar] [CrossRef]
- Ajmeri, A.N.; Al-Astal, A.; Singh, S. Argatroban Treatment and Decreased Fibrinogen in a Septic Patient. Cureus 2020, 12, e7573. [Google Scholar] [CrossRef] [PubMed]
- Fredenburgh, J.C.; Weitz, J.I. News at XI: Moving beyond Factor Xa Inhibitors. J. Thromb. Haemost. 2023, 21, 1692–1702. [Google Scholar] [CrossRef] [PubMed]
- Veyrat, A.; Depasse, F.; Feriel, J. Contact phase inhibitors: The future of anticoagulation? J. Lab. Med. 2025. [Google Scholar] [CrossRef]
- Atkinson, M.C. The Use of N-Acetylcysteine in Intensive Care. Crit. Care Resusc. 2002, 4, 21–27. [Google Scholar]
- Thijssen, H.H.; Soute, B.A.; Vervoort, L.M.; Claessens, J.G. Paracetamol (Acetaminophen) Warfarin Interaction: NAPQI, the Toxic Metabolite of Paracetamol, Is an Inhibitor of Enzymes in the Vitamin K Cycle. Thromb. Haemost. 2004, 92, 797–802. [Google Scholar] [CrossRef]
- Whyte, I.M.; Buckley, N.A.; Reith, D.M.; Goodhew, I.; Seldon, M.; Dawson, A.H. Acetaminophen Causes an Increased International Normalized Ratio by Reducing Functional Factor VII. Ther. Drug Monit. 2000, 22, 742–748. [Google Scholar] [CrossRef]
- Schmidt, L.E.; Knudsen, T.T.; Dalhoff, K.; Bendtsen, F. Effect of Acetylcysteine on Prothrombin Index in Paracetamol Poisoning without Hepatocellular Injury. Lancet 2002, 360, 1151–1152. [Google Scholar] [CrossRef]
- Lucena, M.I.; López-Torres, E.; Verge, C.; Andrade, R.J.; Puche, M.J.; Seoane, J.; de la Cuesta, F.S. The Administration of N-Acetylcysteine Causes a Decrease in Prothrombin Time in Patients with Paracetamol Overdose but without Evidence of Liver Impairment. Eur. J. Gastroenterol. Hepatol. 2005, 17, 59–63. [Google Scholar] [CrossRef] [PubMed]
- Pizon, A.F.; Jang, D.H.; Wang, H.E. The in Vitro Effect of N-Acetylcysteine on Prothrombin Time in Plasma Samples from Healthy Subjects. Acad. Emerg. Med. 2011, 18, 351–354. [Google Scholar] [CrossRef] [PubMed]
- Jepsen, S.; Hansen, A.B. The Influence of N-Acetylcysteine on the Measurement of Prothrombin Time and Activated Partial Thromboplastin Time in Healthy Subjects. Scand. J. Clin. Lab. Investig. 1994, 54, 543–547. [Google Scholar] [CrossRef]
- Renner, E.L. How to Decide When to List a Patient with Acute Liver Failure for Liver Transplantation? Clichy or King’s College Criteria, or Something Else? J. Hepatol. 2007, 46, 554–557. [Google Scholar] [CrossRef]
- van Zaane, B.; Nur, E.; Squizzato, A.; Gerdes, V.E.A.; Büller, H.R.; Dekkers, O.M.; Brandjes, D.P.M. Systematic Review on the Effect of Glucocorticoid Use on Procoagulant, Anti-Coagulant and Fibrinolytic Factors. J. Thromb. Haemost. 2010, 8, 2483–2493. [Google Scholar] [CrossRef]
- Brotman, D.J.; Girod, J.P.; Posch, A.; Jani, J.T.; Patel, J.V.; Gupta, M.; Lip, G.Y.H.; Reddy, S.; Kickler, T.S. Effects of Short-Term Glucocorticoids on Hemostatic Factors in Healthy Volunteers. Thromb. Res. 2006, 118, 247–252. [Google Scholar] [CrossRef]
- Majoor, C.J.; Sneeboer, M.M.S.; de Kievit, A.; Meijers, J.C.M.; van der Poll, T.; Lutter, R.; Bel, E.H.; Kamphuisen, P.W. The Influence of Corticosteroids on Hemostasis in Healthy Subjects. J. Thromb. Haemost. 2016, 14, 716–723. [Google Scholar] [CrossRef] [PubMed]
- Kamstrup, P.; Rastoder, E.; Hellmann, P.H.; Sivapalan, P.; Larsen, E.L.; Vestbo, J.; Ulrik, C.S.; Goetze, J.P.; Knop, F.K.; Jensen, J.U.S. Effect of 10-Day Treatment with 50 Mg Prednisolone Once-Daily on Haemostasis in Healthy Men-A Randomised Placebo-Controlled Trial. Biomedicines 2023, 11, 2052. [Google Scholar] [CrossRef]
- Boccatonda, A.; D’Ardes, D.; Guagnano, M.T.; Cipollone, F.; Santilli, F. Selective Serotonin Reuptake Inhibitors Related Bleeding Risk: Case Report and Review of Literature. Emerg. Care J. 2023, 19. [Google Scholar] [CrossRef]
- Geiser, F.; Conrad, R.; Imbierowicz, K.; Meier, C.; Liedtke, R.; Klingmüller, D.; Oldenburg, J.; Harbrecht, U. Coagulation Activation and Fibrinolysis Impairment Are Reduced in Patients with Anxiety and Depression When Medicated with Serotonergic Antidepressants. Psychiatry Clin. Neurosci. 2011, 65, 518–525. [Google Scholar] [CrossRef]

| Drug | Type of Interference | PT/INR | aPTT | Fibrinogen # | Anti-Xa |
|---|---|---|---|---|---|
| Hydroxocobalamin * | Chromogenic (similar to hemolysis) | ± | ± | ± | ↘ |
| ILE and propofol * | Chromogenic (lipemia) | ± | ± | ± | ↘ |
| PEGylated compounds | Chronometric (silica-based reagents) | ns | ↗ | ns | ns |
| Emicizumab | Chronometric (mimics FVIIIa cofactor function) | ns | ↘ | ns | ns |
| rFVIIa | Chronometric (TF dependent and independent activation) | ↘ | ↘ | ns | ns |
| Daptomycin ** | Chronometric (phospholipid-dependent) | ± | ns | ns | ns |
| Telavancin *** | Chronometric (phospholipid-dependent) | ± | ↗ | ns | ns |
| Gentamicin and amikacin | Chronometric (ellagic acid-based reagents) | ns | ↗ | ns | ns |
| Sugammadex | Chronometric (phospholipid-dependent) | ↗ | ↗ | ns | ns |
| Long-Term Drug | Bridging | What Does Assay Result Reflect? | |||
|---|---|---|---|---|---|
| PT (INR for VKA) * | aPTT ** | Fibrinogen ***# | Anti-Xa **** | ||
| VKA | UFH | VKA ± UFH | VKA + UFH | Fib | UFH |
| LMWH | VKA ± LMWH | VKA ± LMWH | Fib | LMWH | |
| DXai | UFH | DXai ± UFH | DXai ± UFH | Fib | DXai ± UFH |
| LMWH | DXai ± LMWH | DXai ± LMWH | Fib | DXai ± LMWH | |
| Dabigatran | UFH | Dabi ± UFH | Dabi ± UFH | Fib ± dabi | UFH |
| LMWH | Dabi ± LMWH | Dabi ± LMWH | Fib ± dabi | LMWH | |
Disclaimer/Publisher’s Note: The statements, opinions and data contained in all publications are solely those of the individual author(s) and contributor(s) and not of MDPI and/or the editor(s). MDPI and/or the editor(s) disclaim responsibility for any injury to people or property resulting from any ideas, methods, instructions or products referred to in the content. |
© 2025 by the authors. Licensee MDPI, Basel, Switzerland. This article is an open access article distributed under the terms and conditions of the Creative Commons Attribution (CC BY) license (https://creativecommons.org/licenses/by/4.0/).
Share and Cite
Feriel, J.; Goujon, M.A.; Desez, M.; Depasse, F. Impact of Drugs Used in Intensive Care on Routine Coagulation Testing. Diagnostics 2025, 15, 941. https://doi.org/10.3390/diagnostics15070941
Feriel J, Goujon MA, Desez M, Depasse F. Impact of Drugs Used in Intensive Care on Routine Coagulation Testing. Diagnostics. 2025; 15(7):941. https://doi.org/10.3390/diagnostics15070941
Chicago/Turabian StyleFeriel, Joffrey, Marjorie A. Goujon, Miki Desez, and François Depasse. 2025. "Impact of Drugs Used in Intensive Care on Routine Coagulation Testing" Diagnostics 15, no. 7: 941. https://doi.org/10.3390/diagnostics15070941
APA StyleFeriel, J., Goujon, M. A., Desez, M., & Depasse, F. (2025). Impact of Drugs Used in Intensive Care on Routine Coagulation Testing. Diagnostics, 15(7), 941. https://doi.org/10.3390/diagnostics15070941

