Modeling and Analysis of the Turning Performance of an Articulated Tracked Vehicle That Considers the Inter-Unit Coupling Forces
Abstract
1. Introduction
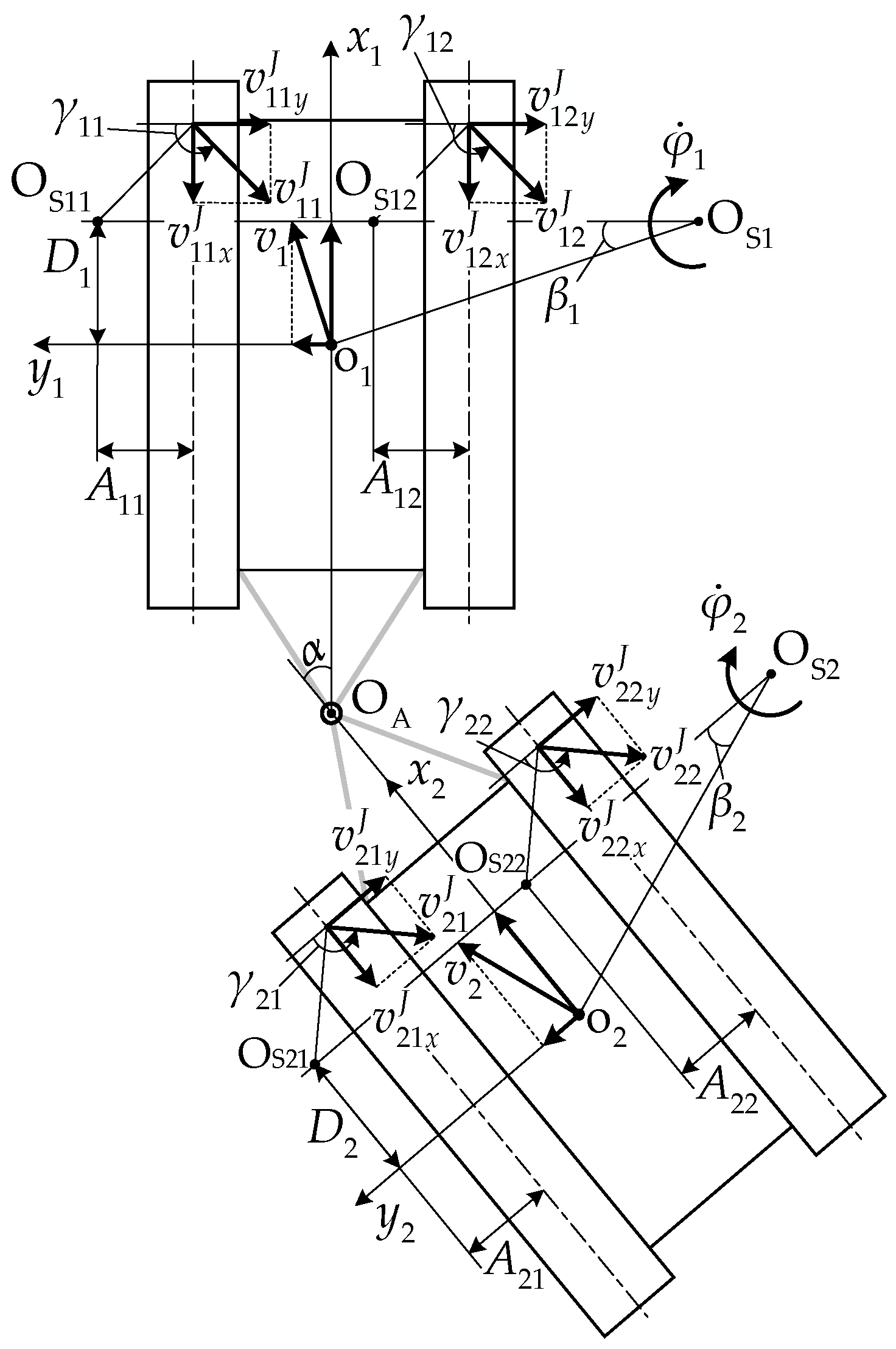
2. Kinematic Model of the ATV Turning Process
2.1. Assumptions
- The turning motion was performed on a flat surface, and unit tilting caused by terrain factors was not considered.
- The centers of mass of the front and rear units coincided with the geometric centers of the respective units.
- The effects of air resistance, track width, and suspension travel were not considered.
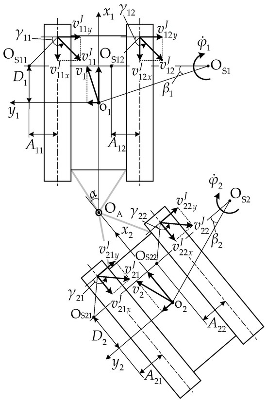
2.2. Definition of the Coordinate Systems
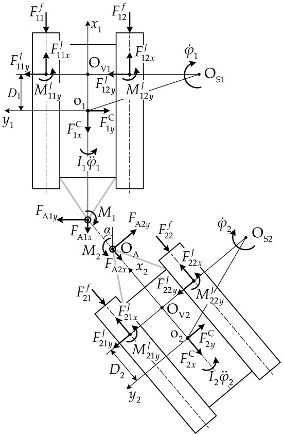
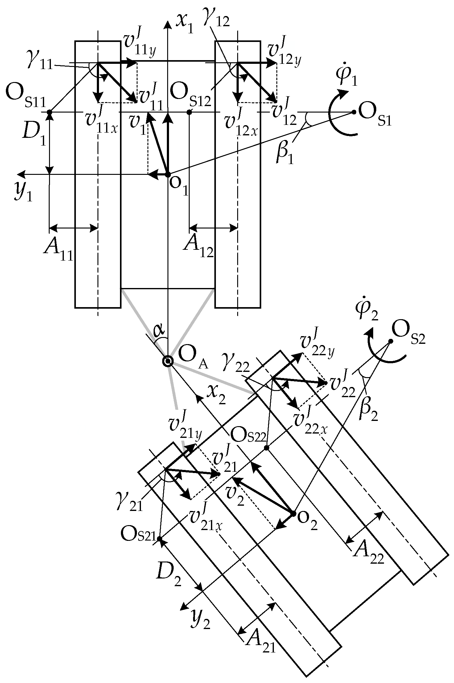
2.3. Unit Motion
2.4. Track Sliding Speed and Shear Displacement
2.4.1. Sliding Speed
2.4.2. Shear Displacement
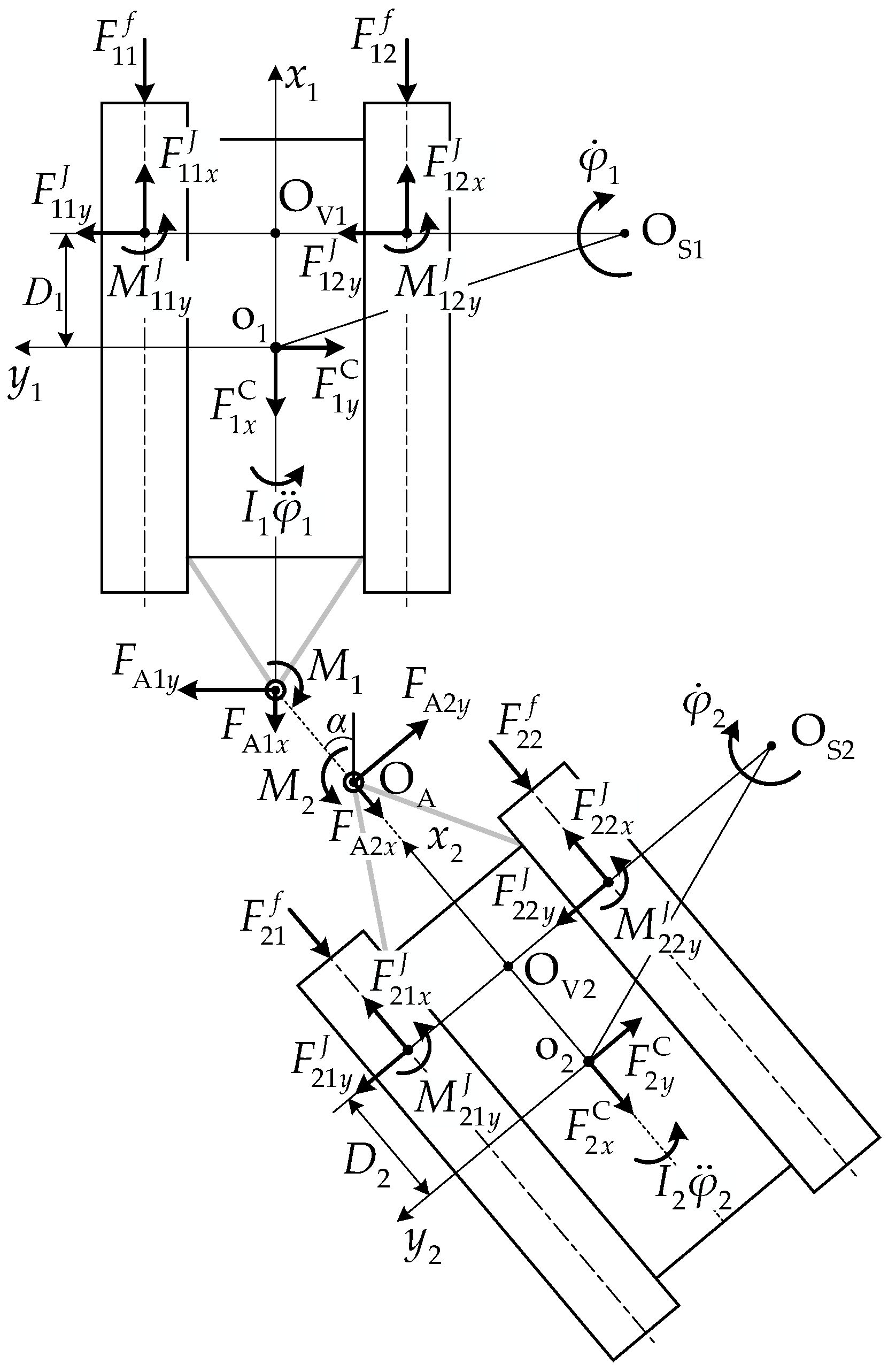
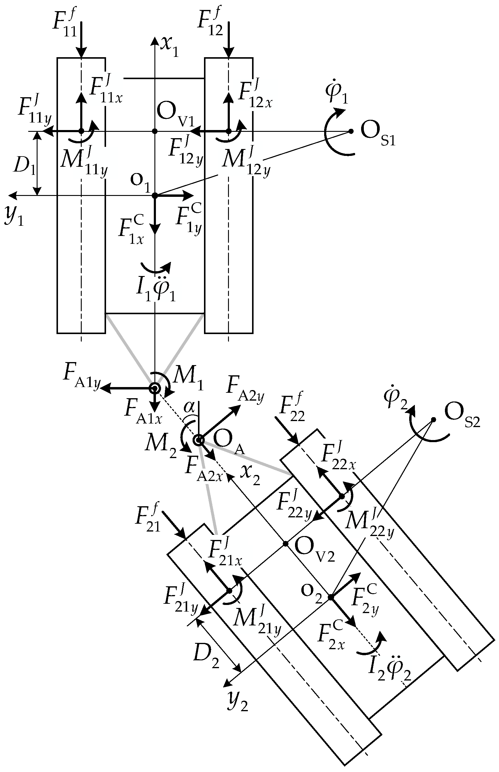
3. Dynamic ATV Turning Model
3.1. Track–Ground Modeling That Considers Inter-Unit Coupling Forces
3.1.1. Normal Loads of the Tracks
3.1.2. Normal Pressure Distributions
3.1.3. Shear Forces and Shear Moments
3.2. Track Motion Resistance
3.2.1. External Motion Resistance
3.2.2. Internal Rolling Resistance
3.3. Driving Method
3.4. Turning Dynamic Equations
4. Model Validation and Analysis of the Calculation Results
4.1. Vehicle and Ground Parameters
4.2. Model Validation
4.3. Analysis of the Calculation Results
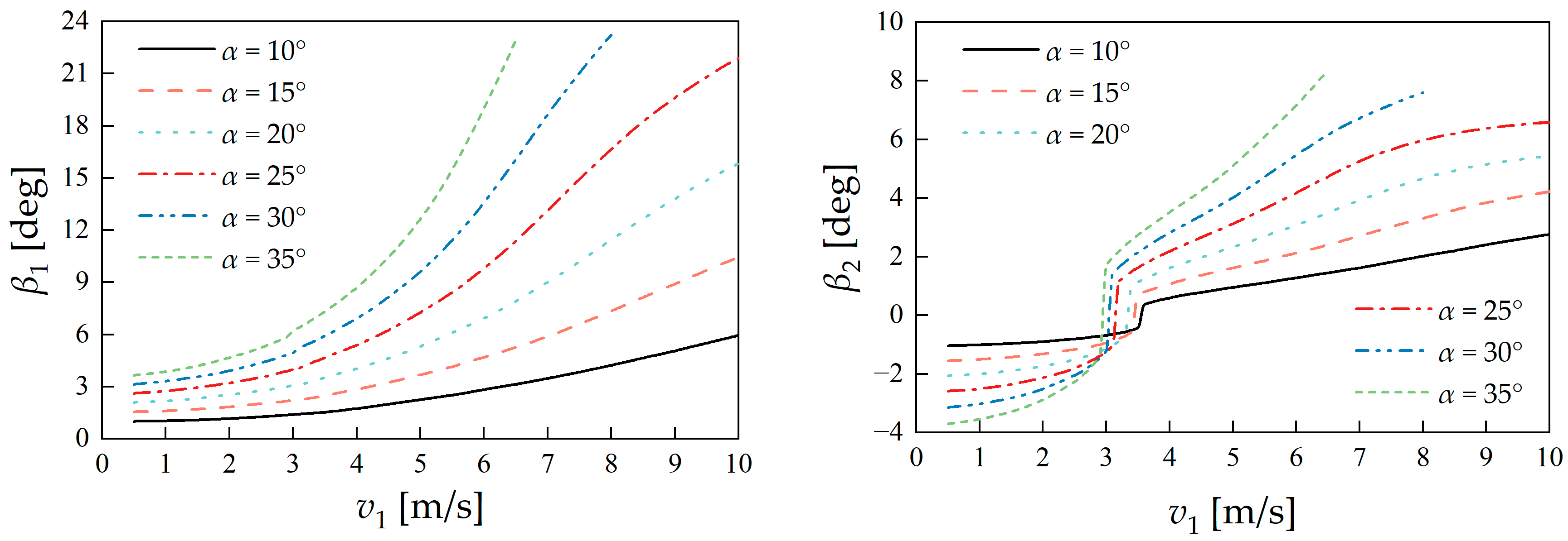
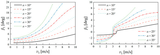
4.3.1. Unit Rotation Centers
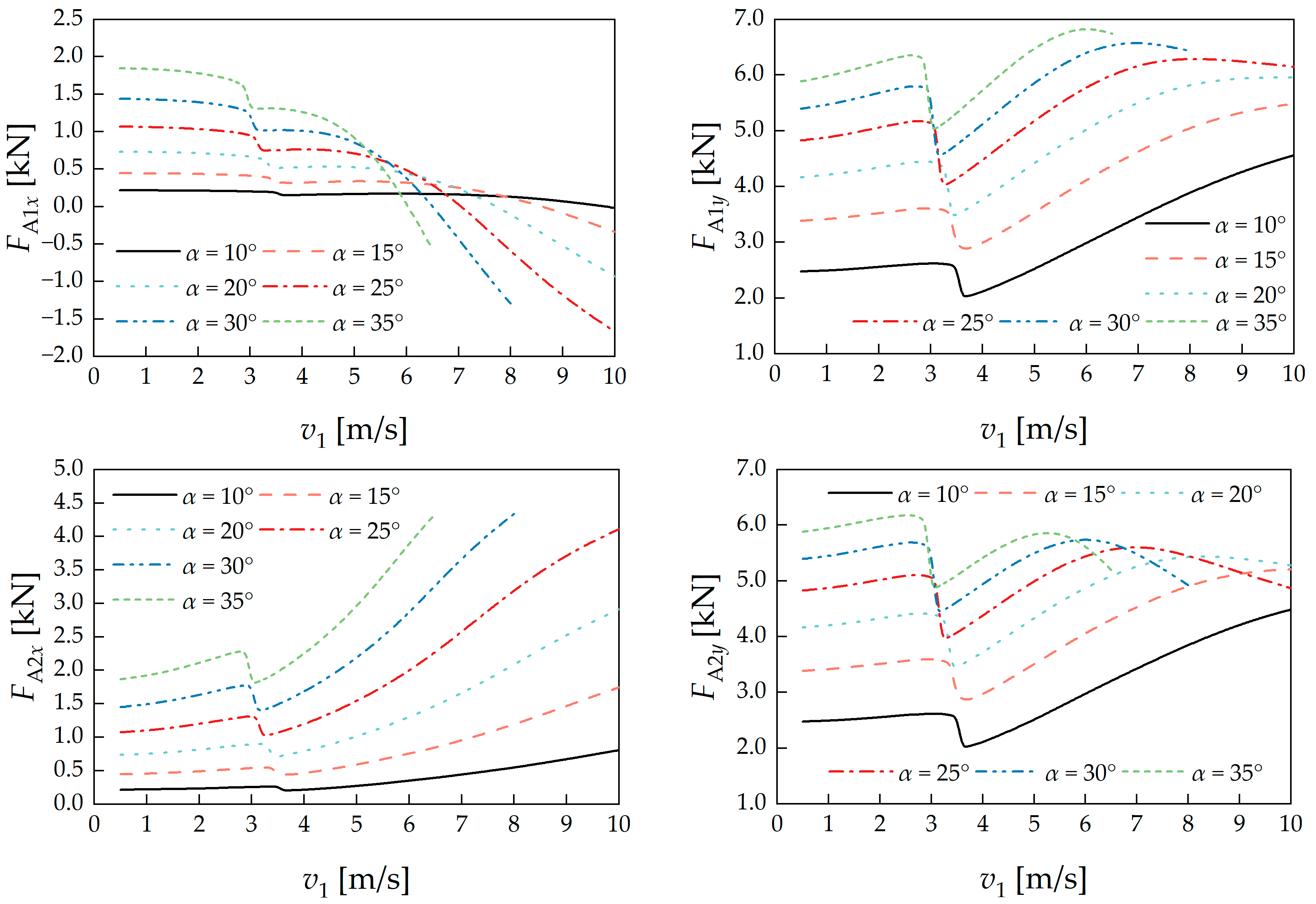
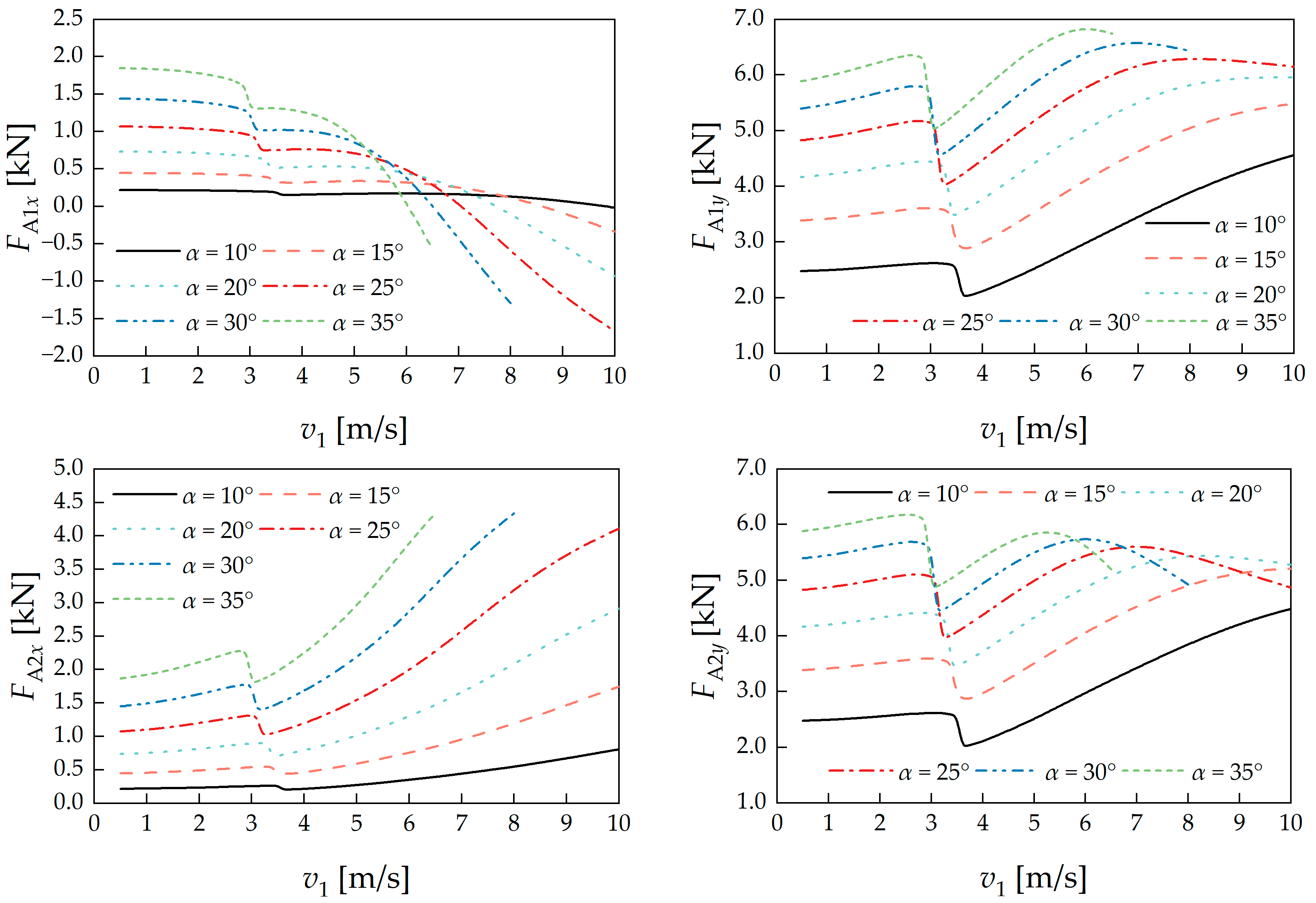
4.3.2. Inter-Unit Coupling Forces
5. Effects of the Coupling Forces
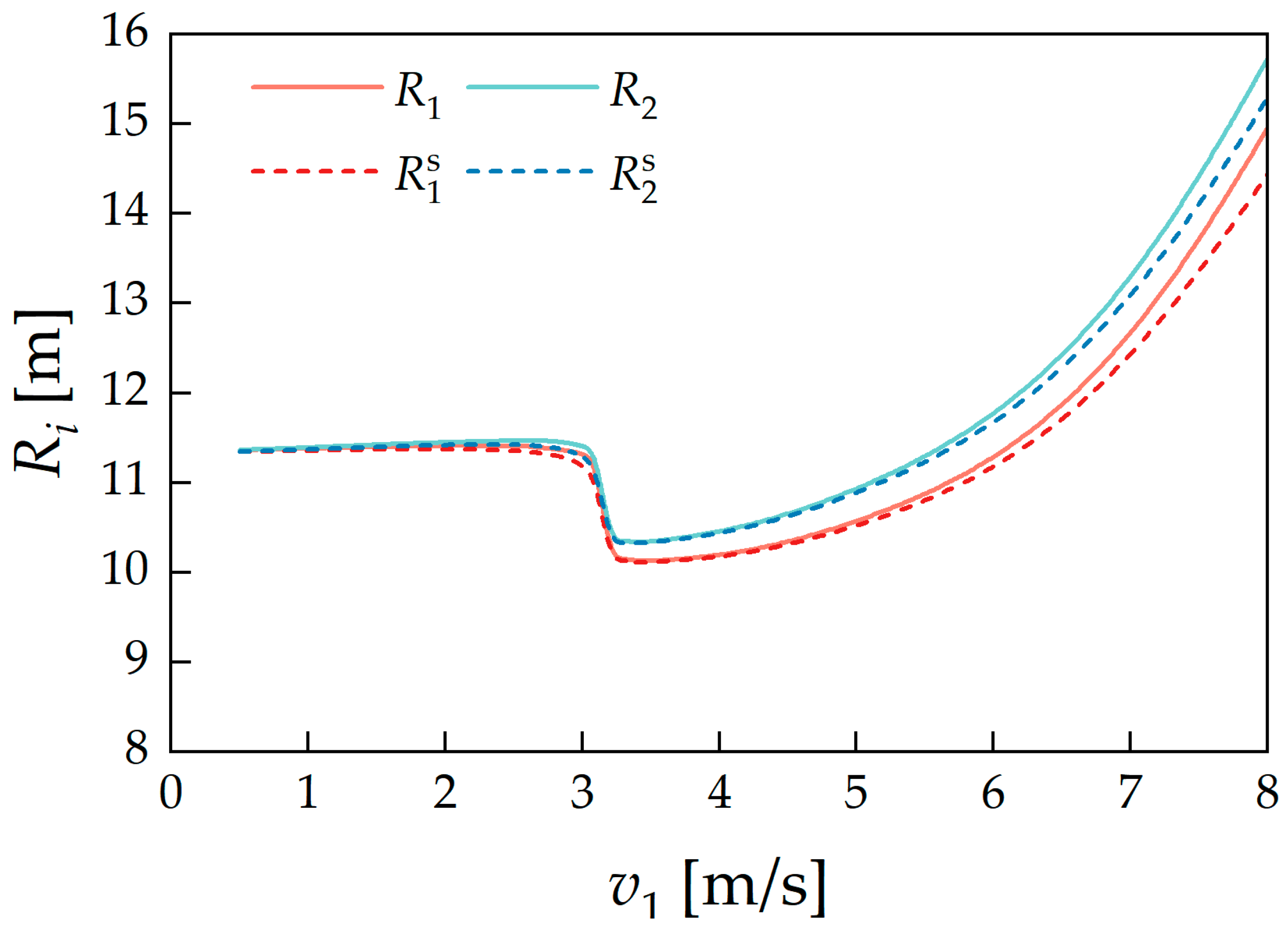
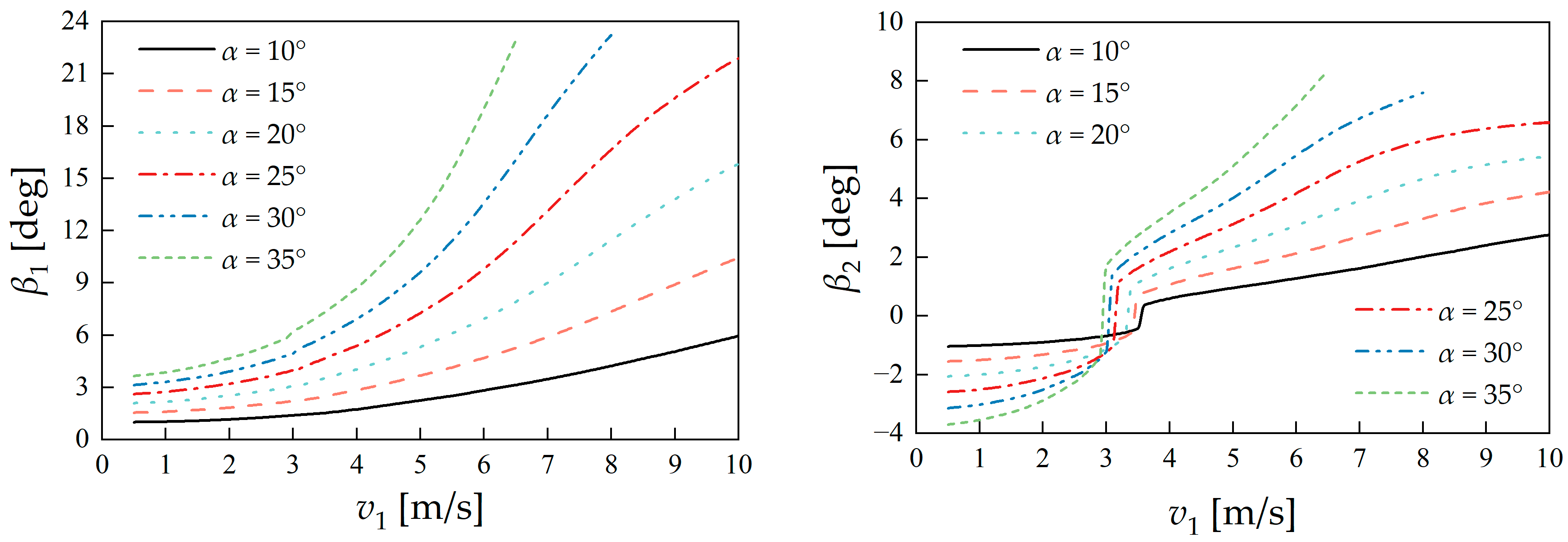
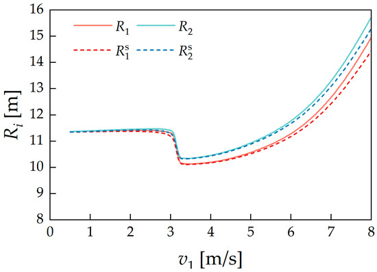
5.1. Effects on the Unit Turning Radii
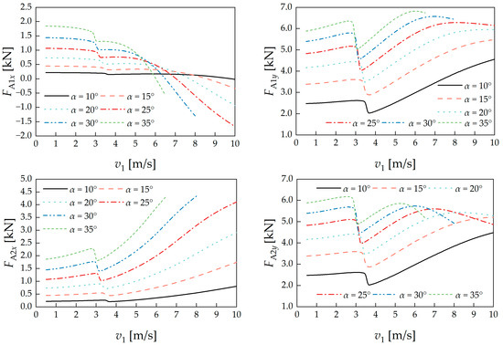
5.2. Effects on the Normal Loads of the Tracks
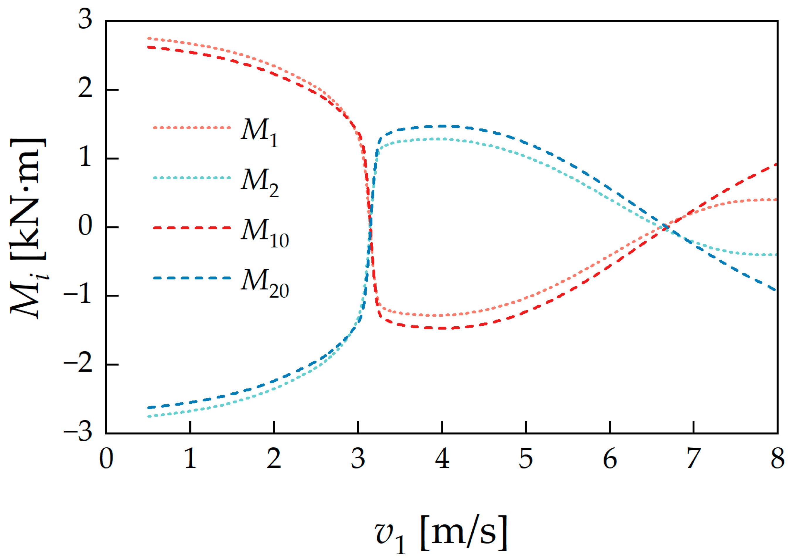
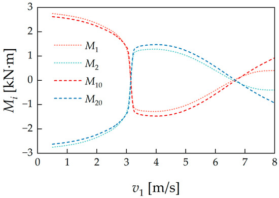
5.3. Effects on the Moment of the Articulation Mechanism
6. Analysis of the Turning Performance
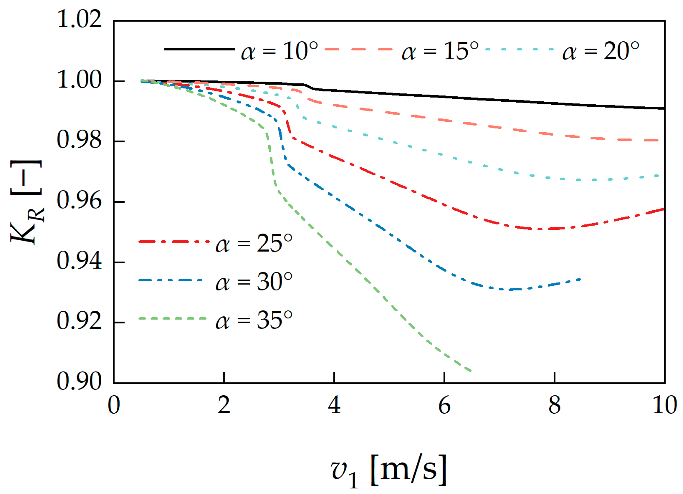
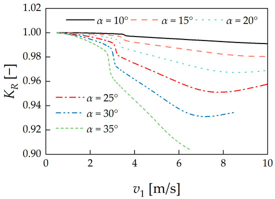
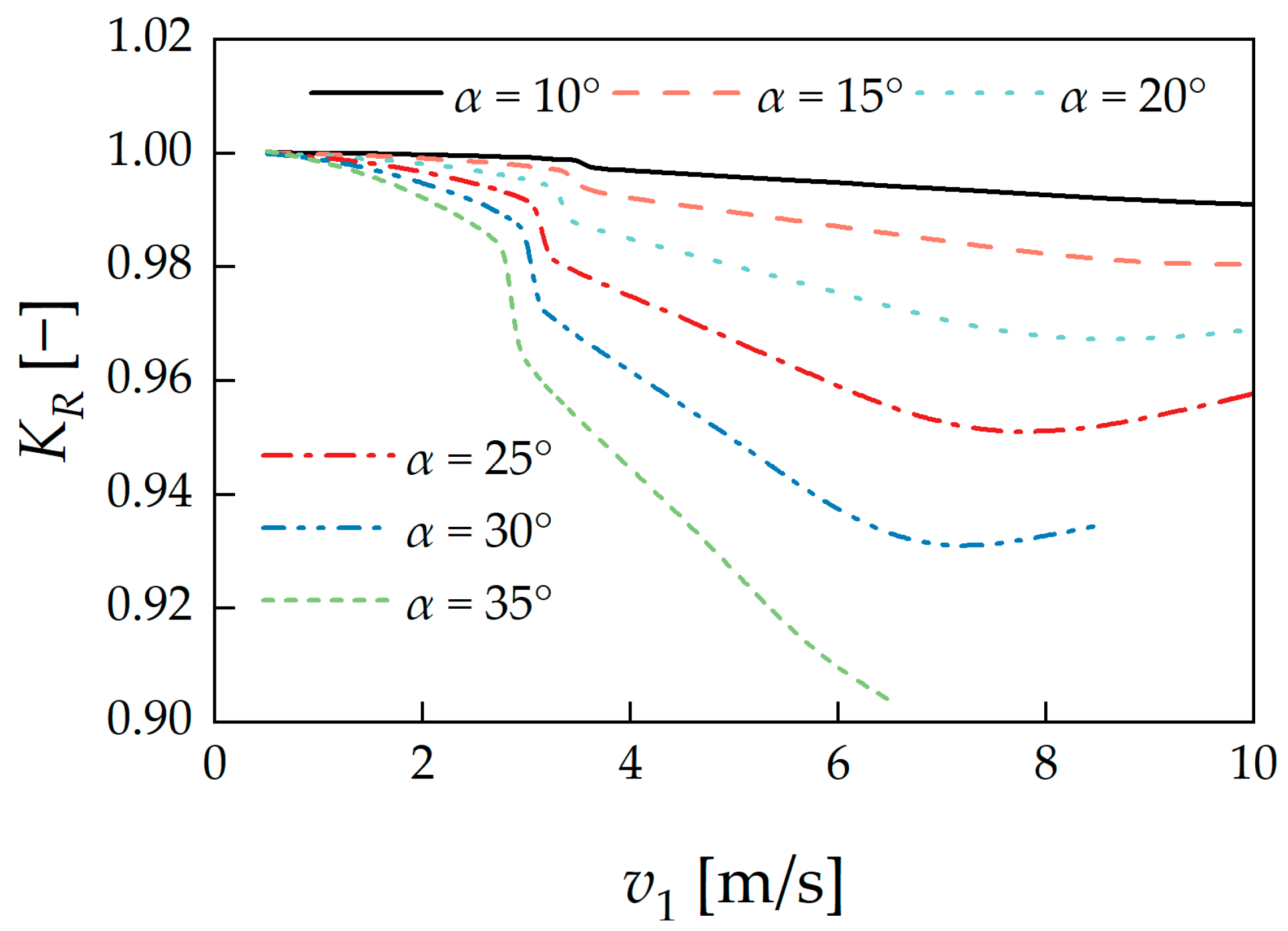
6.1. Turning Radius Ratio
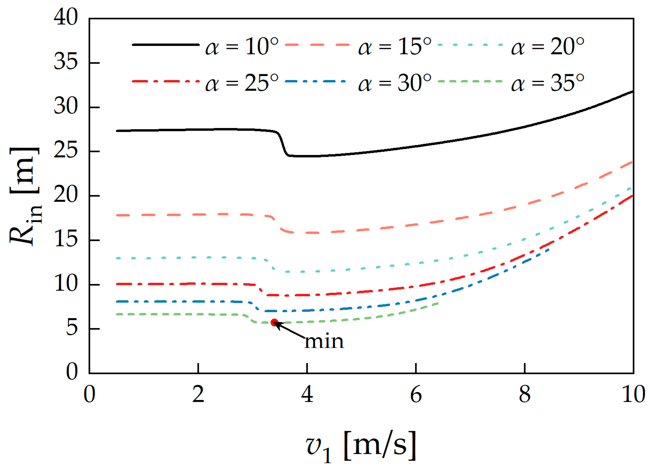
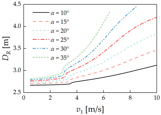
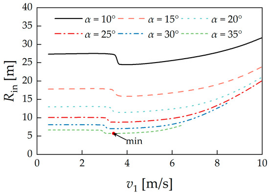
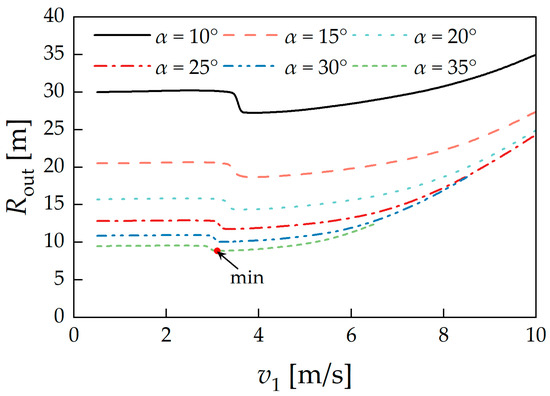
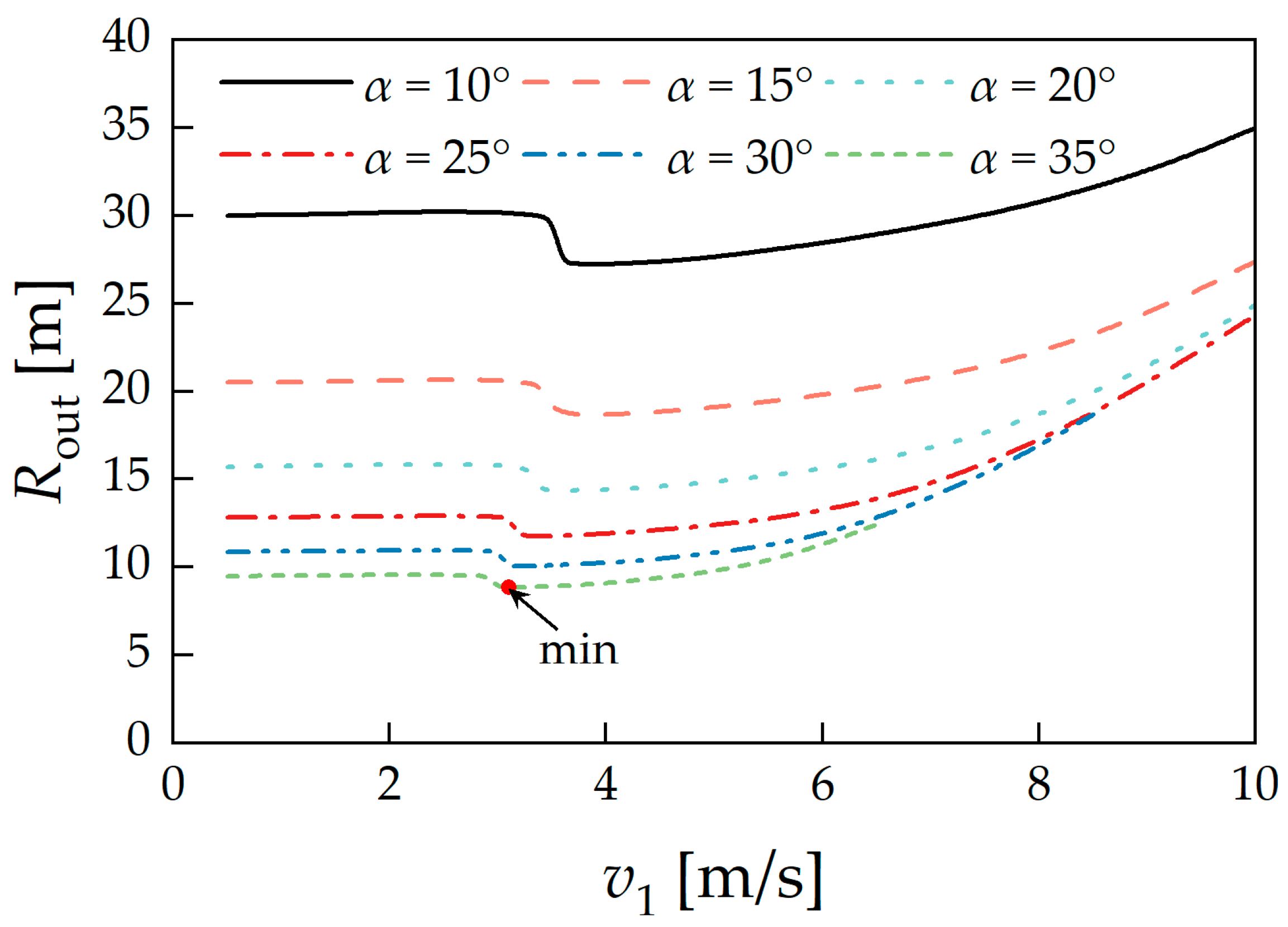
6.2. Minimum Swept Radius
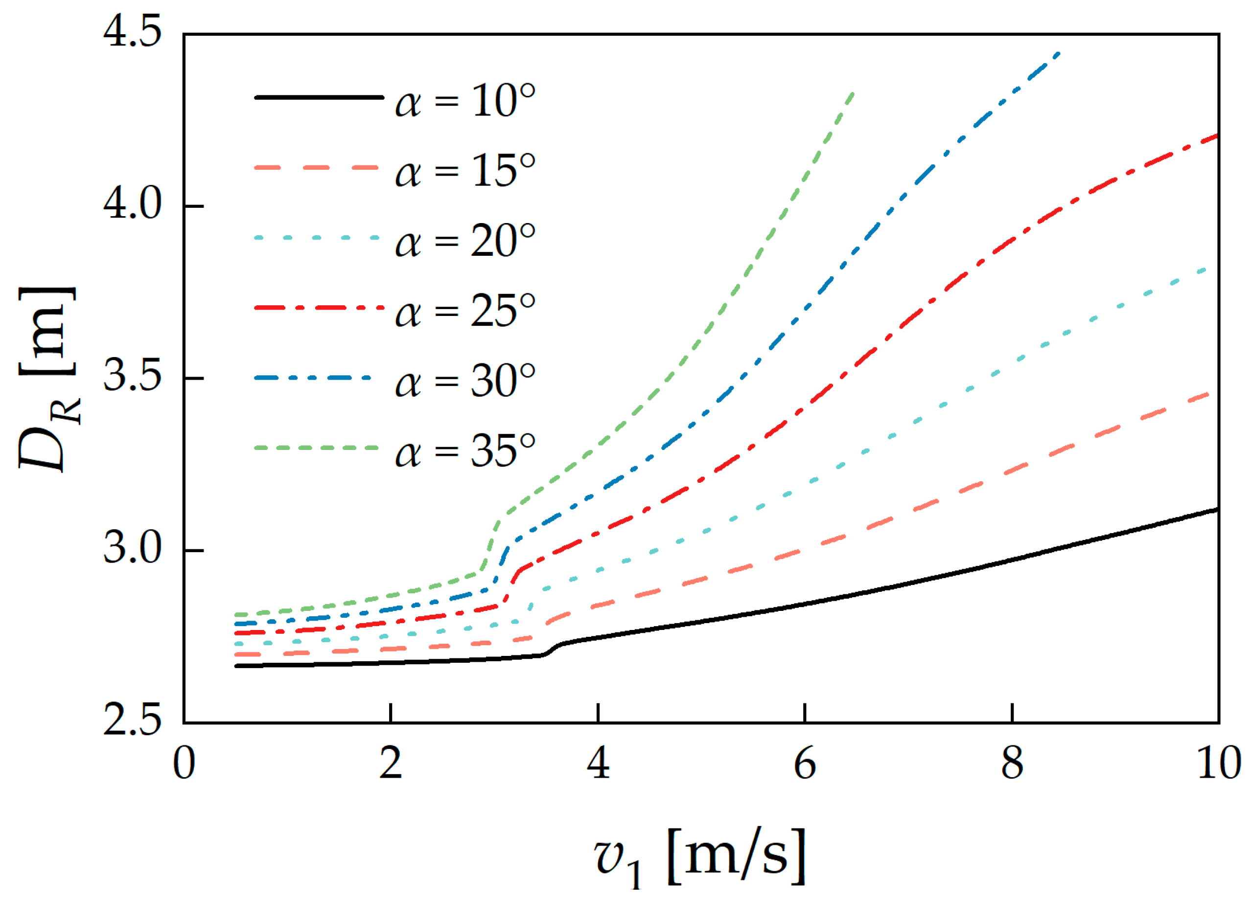
6.3. Turning Space
7. Conclusions
- (1)
- The mechanics of the coupling forces and the moments of the articulation mechanism were explored. The lateral components of the coupling forces provided driving moments for the turning motion of each unit, while the longitudinal components provided resistance to the longitudinal motion of both the front and rear sections when the speed was less than 6 m/s. In addition, the moment of the articulation mechanism primarily balanced the unit moments by means of moment compensation.
- (2)
- The effects of the load transfer and force transmission caused by the coupling forces on the ATV turning motions were investigated. It was found that these effects increased the actual turning radius of each vehicle segment and caused the greatest load to be borne by the outer track of the front unit. When the rotation center of the rear unit was behind its center of mass, the coupling forces increased the moment provided by the articulation mechanism. Conversely, when the rotation center was in front of the center of mass, it decreased the provided moment.
- (3)
- An analysis of the vehicle turning performance revealed that the turning radius of the rear unit was larger than that of the front unit. In addition, the outer swept radius was determined by the path of the outer track of the rear unit, and the lateral displacement increased as both the steering angle and speed increased.
Author Contributions
Funding
Data Availability Statement
Conflicts of Interest
Abbreviations
| Parameter Symbol | Parameter Meaning | Parameter Symbol | Parameter Meaning |
| articulation point | centers of mass of the front and rear units | ||
| masses of the front and rear units | lengths of the track–ground contact sections | ||
| distances between and | B | track center distances | |
| b | track widths | speeds of | |
| , | longitudinal and lateral speed components of | yaw angles of the front and rear units | |
| side slip angles of the front and rear units | instantaneous turning centers | ||
| instantaneous turning radii | lateral distances between and the longitudinal axes of the units | ||
| longitudinal offsets | steering angle | ||
| (, 0) | point lies on the track longitudinal axis at the track–ground interface | , | longitudinal and lateral speed components of |
| r | radius of the pitch circle of drive wheels | angular speeds of the drive wheels | |
| , | longitudinal and lateral components of the sliding speed of | lateral displacement of the instantaneous center of speed | |
| slip angles at | P | direction cosine matrix for the local unit coordinate systems with respect to the global coordinate system | |
| , | sliding speed components of in the global coordinate system | t | time required for point to move from (, 0) to (, 0) |
| , | shear displacements of track ij in the X- and Y-directions of the global coordinate system | total shear displacements of track ij | |
| normal loads of the tracks | , | inertial forces acting on the front and rear units | |
| , | longitudinal and lateral components of the coupling forces | distance from to the ground | |
| distance from to the ground | normal pressure of track ij | ||
| shear stress | friction coefficient | ||
| shear displacement | shear deformation parameter | ||
| area of a differential element at the track–ground interface of track ij | , | longitudinal force and lateral force components on | |
| , | total longitudinal and lateral shear forces | , | longitudinal and lateral shear moment |
| rotation center of the front and rear units | external track motion resistance | ||
| external motion resistance coefficient | output torques from the driving wheels | ||
| moment of inertia of the driving wheel | moment of inertia of the load wheel | ||
| rolling angular speed of the load wheel | rolling linear speed of the load wheel | ||
| , | empirical coefficients | driving force of track ij | |
| moments of the articulation mechanism | moments of the articulation mechanism without considering the load transfer caused by the coupling forces | ||
| track normal loads without considering the load transfer caused by the coupling forces | turning radius ratio | ||
| , | inner and outer swept radii | lateral displacement of the rear unit relative to the front unit |
Appendix A
| Input | Output | ||||||||||||||
| (deg) | (m/s) | (m/s) | (m) | (m) | (deg/s) | (deg) | (deg) | (kN) | (kN) | (kN) | (kN) | (kN) | (kN) | (kN) | (kN) |
| 10 | 1.00 | 1.00 | 28.67 | 28.67 | 1.98 | 1.01 | −1.02 | 25.38 | 23.62 | 23.88 | 25.12 | 1.46 | −1.46 | 0.21 | 2.49 |
| 2.00 | 2.00 | 28.78 | 28.79 | 3.95 | 1.15 | −0.91 | 25.79 | 23.21 | 24.26 | 24.74 | 1.27 | −1.27 | 0.21 | 2.56 | |
| 3.00 | 3.00 | 28.78 | 28.80 | 5.92 | 1.38 | −0.69 | 26.46 | 22.54 | 24.89 | 24.11 | 0.86 | −0.86 | 0.20 | 2.62 | |
| 4.00 | 4.01 | 25.76 | 25.84 | 8.82 | 1.73 | 0.59 | 27.46 | 21.54 | 26.20 | 22.80 | −0.97 | 0.97 | 0.15 | 2.12 | |
| 5.00 | 5.02 | 26.15 | 26.26 | 10.86 | 2.23 | 0.95 | 28.84 | 20.16 | 27.35 | 21.65 | −1.26 | 1.26 | 0.17 | 2.52 | |
| 6.00 | 6.03 | 26.93 | 27.07 | 12.65 | 2.81 | 1.26 | 30.40 | 18.60 | 28.65 | 20.35 | −1.43 | 1.43 | 0.17 | 2.99 | |
| 7.00 | 7.04 | 27.90 | 28.07 | 14.25 | 3.46 | 1.62 | 32.11 | 16.89 | 30.10 | 18.90 | −1.43 | 1.43 | 0.16 | 3.45 | |
| 8.00 | 8.06 | 29.15 | 29.37 | 15.58 | 4.21 | 2.01 | 33.88 | 15.12 | 31.63 | 17.37 | −1.31 | 1.31 | 0.13 | 3.89 | |
| 9.00 | 9.08 | 30.90 | 31.16 | 16.54 | 5.05 | 2.40 | 35.57 | 13.43 | 33.14 | 15.86 | −1.16 | 1.16 | 0.07 | 4.27 | |
| 10.00 | 10.09 | 33.28 | 33.59 | 17.06 | 5.94 | 2.75 | 37.07 | 11.93 | 34.51 | 14.49 | −1.03 | 1.03 | −0.02 | 4.56 | |
| 15 | 1.00 | 1.00 | 19.14 | 19.14 | 2.97 | 1.60 | −1.51 | 25.72 | 23.28 | 23.67 | 25.33 | 1.94 | −1.94 | 0.44 | 3.42 |
| 2.00 | 2.00 | 19.21 | 19.23 | 5.91 | 1.83 | −1.33 | 26.34 | 22.66 | 24.23 | 24.77 | 1.68 | −1.68 | 0.43 | 3.52 | |
| 3.00 | 3.01 | 19.18 | 19.22 | 8.88 | 2.20 | −0.94 | 27.34 | 21.66 | 25.19 | 23.81 | 1.10 | −1.10 | 0.41 | 3.61 | |
| 4.00 | 4.03 | 17.12 | 17.25 | 13.27 | 2.83 | 1.07 | 28.90 | 20.10 | 27.14 | 21.86 | −1.33 | 1.33 | 0.32 | 2.98 | |
| 5.00 | 5.05 | 17.48 | 17.66 | 16.24 | 3.67 | 1.61 | 30.91 | 18.09 | 28.86 | 20.14 | −1.54 | 1.54 | 0.34 | 3.54 | |
| 6.00 | 6.08 | 18.14 | 18.37 | 18.78 | 4.67 | 2.12 | 33.15 | 15.85 | 30.82 | 18.18 | −1.50 | 1.50 | 0.32 | 4.12 | |
| 7.00 | 7.11 | 19.05 | 19.35 | 20.87 | 5.88 | 2.70 | 35.48 | 13.52 | 32.93 | 16.07 | −1.22 | 1.22 | 0.25 | 4.63 | |
| 8.00 | 8.14 | 20.45 | 20.82 | 22.21 | 7.33 | 3.31 | 37.66 | 11.34 | 34.96 | 14.04 | −0.87 | 0.87 | 0.12 | 5.05 | |
| 9.00 | 9.18 | 22.56 | 23.00 | 22.66 | 8.91 | 3.83 | 39.40 | 9.60 | 36.66 | 12.34 | −0.55 | 0.55 | −0.09 | 5.33 | |
| 10.00 | 10.20 | 25.44 | 25.95 | 22.32 | 10.44 | 4.22 | 40.64 | 8.36 | 37.93 | 11.07 | −0.30 | 0.30 | −0.34 | 5.48 | |
| 20 | 1.00 | 1.00 | 14.31 | 14.31 | 3.97 | 2.17 | −2.01 | 26.02 | 22.98 | 23.50 | 25.50 | 2.29 | −2.29 | 0.73 | 4.20 |
| 2.00 | 2.00 | 14.36 | 14.39 | 7.91 | 2.51 | −1.74 | 26.85 | 22.15 | 24.25 | 24.75 | 2.00 | −2.00 | 0.71 | 4.34 | |
| 3.00 | 3.01 | 14.29 | 14.36 | 11.92 | 3.06 | −1.14 | 28.19 | 20.81 | 25.55 | 23.45 | 1.28 | −1.28 | 0.66 | 4.44 | |
| 4.00 | 4.06 | 12.79 | 12.98 | 17.76 | 4.04 | 1.60 | 30.31 | 18.69 | 28.15 | 20.85 | −1.50 | 1.50 | 0.53 | 3.76 | |
| 5.00 | 5.10 | 13.15 | 13.42 | 21.59 | 5.32 | 2.33 | 32.92 | 16.08 | 30.47 | 18.53 | −1.52 | 1.52 | 0.53 | 4.42 | |
| 6.00 | 6.15 | 13.79 | 14.14 | 24.70 | 6.93 | 3.08 | 35.73 | 13.27 | 33.06 | 15.94 | −1.18 | 1.18 | 0.45 | 5.03 | |
| 7.00 | 7.21 | 14.84 | 15.29 | 26.78 | 9.00 | 3.92 | 38.38 | 10.62 | 35.65 | 13.35 | −0.62 | 0.62 | 0.24 | 5.51 | |
| 8.00 | 8.27 | 16.64 | 17.19 | 27.31 | 11.42 | 4.66 | 40.39 | 8.61 | 37.73 | 11.27 | −0.07 | 0.07 | −0.10 | 5.82 | |
| 9.00 | 9.30 | 19.30 | 19.96 | 26.47 | 13.79 | 5.15 | 41.56 | 7.44 | 39.08 | 9.92 | 0.33 | −0.33 | −0.53 | 5.94 | |
| 10.00 | 10.32 | 22.73 | 23.46 | 24.98 | 15.82 | 5.43 | 42.16 | 6.84 | 39.87 | 9.13 | 0.61 | −0.61 | −0.93 | 5.95 | |
| 25 | 1.00 | 1.00 | 11.38 | 11.39 | 4.99 | 2.74 | −2.51 | 26.29 | 22.71 | 23.37 | 25.63 | 2.56 | −2.56 | 1.06 | 4.88 |
| 2.00 | 2.01 | 11.41 | 11.45 | 9.95 | 3.21 | −2.13 | 27.33 | 21.67 | 24.31 | 24.69 | 2.25 | −2.25 | 1.04 | 5.06 | |
| 3.00 | 3.02 | 11.31 | 11.41 | 15.06 | 3.97 | −1.25 | 29.02 | 19.98 | 25.99 | 23.01 | 1.39 | −1.39 | 0.95 | 5.14 | |
| 4.00 | 4.10 | 10.18 | 10.44 | 22.32 | 5.39 | 2.18 | 31.71 | 17.29 | 29.23 | 19.77 | −1.49 | 1.49 | 0.76 | 4.47 | |
| 5.00 | 5.17 | 10.56 | 10.92 | 26.89 | 7.26 | 3.13 | 34.86 | 14.14 | 32.17 | 16.83 | −1.25 | 1.25 | 0.71 | 5.18 | |
| 6.00 | 6.26 | 11.26 | 11.74 | 30.26 | 9.78 | 4.18 | 38.05 | 10.95 | 35.33 | 13.67 | −0.57 | 0.57 | 0.50 | 5.78 | |
| 7.00 | 7.35 | 12.63 | 13.26 | 31.48 | 13.12 | 5.25 | 40.52 | 8.48 | 38.03 | 10.97 | 0.26 | −0.26 | 0.04 | 6.17 | |
| 8.00 | 8.41 | 14.96 | 15.73 | 30.36 | 16.64 | 5.97 | 41.76 | 7.24 | 39.64 | 9.36 | 0.93 | −0.93 | −0.59 | 6.29 | |
| 9.00 | 9.44 | 18.12 | 19.00 | 28.21 | 19.60 | 6.36 | 42.17 | 6.83 | 40.43 | 8.57 | 1.37 | −1.37 | −1.19 | 6.24 | |
| 10.00 | 10.44 | 21.89 | 22.86 | 25.94 | 21.89 | 6.59 | 42.24 | 6.76 | 40.80 | 8.20 | 1.66 | −1.66 | −1.67 | 6.15 | |
| 30 | 1.00 | 1.00 | 9.41 | 9.42 | 6.03 | 3.30 | −3.02 | 26.54 | 22.46 | 23.26 | 25.74 | 2.75 | −2.75 | 1.43 | 5.46 |
| 2.00 | 2.01 | 9.43 | 9.48 | 12.04 | 3.91 | −2.51 | 27.79 | 21.21 | 24.41 | 24.59 | 2.46 | −2.46 | 1.39 | 5.68 | |
| 3.00 | 3.04 | 9.28 | 9.41 | 18.35 | 4.95 | −1.21 | 29.84 | 19.16 | 26.51 | 22.49 | 1.42 | −1.42 | 1.25 | 5.71 | |
| 4.00 | 4.16 | 8.42 | 8.76 | 26.96 | 6.93 | 2.82 | 33.11 | 15.89 | 30.42 | 18.58 | −1.33 | 1.33 | 1.02 | 5.12 | |
| 5.00 | 5.27 | 8.84 | 9.31 | 32.12 | 9.62 | 4.03 | 36.72 | 12.28 | 33.99 | 15.01 | −0.75 | 0.75 | 0.87 | 5.86 | |
| 6.00 | 6.40 | 9.71 | 10.36 | 35.10 | 13.57 | 5.46 | 39.94 | 9.06 | 37.55 | 11.45 | 0.31 | −0.31 | 0.40 | 6.41 | |
| 7.00 | 7.52 | 11.55 | 12.41 | 34.42 | 18.63 | 6.73 | 41.56 | 7.44 | 39.83 | 9.17 | 1.38 | −1.38 | −0.43 | 6.59 | |
| 8.00 | 8.58 | 14.34 | 15.37 | 31.68 | 23.21 | 7.61 | 41.81 | 7.19 | 40.81 | 8.19 | 2.05 | −2.05 | −1.29 | 6.43 | |
| 35 | 1.00 | 1.00 | 7.99 | 8.00 | 7.11 | 3.85 | −3.55 | 26.76 | 22.24 | 23.19 | 25.81 | 2.87 | −2.87 | 1.84 | 5.97 |
| 2.00 | 2.02 | 8.00 | 8.06 | 14.19 | 4.65 | −2.88 | 28.24 | 20.76 | 24.55 | 24.45 | 2.63 | −2.63 | 1.78 | 6.23 | |
| 3.00 | 3.11 | 7.10 | 7.37 | 24.00 | 6.19 | 1.69 | 30.73 | 18.27 | 27.98 | 21.02 | −1.17 | 1.17 | 1.31 | 5.00 | |
| 4.00 | 4.23 | 7.17 | 7.59 | 31.70 | 8.71 | 3.51 | 34.49 | 14.51 | 31.72 | 17.28 | −1.02 | 1.02 | 1.27 | 5.72 | |
| 5.00 | 5.40 | 7.63 | 8.24 | 37.20 | 12.63 | 5.10 | 38.43 | 10.57 | 35.95 | 13.05 | −0.03 | 0.03 | 0.94 | 6.49 | |
| 6.00 | 6.60 | 8.81 | 9.69 | 38.69 | 18.97 | 7.15 | 41.06 | 7.94 | 39.53 | 9.47 | 1.48 | −1.48 | 0.05 | 6.87 | |
References
- Nuttall, C.J. Some Notes on the Steering of Tracked Vehicles by Articulation. J. Terramech. 1964, 1, 38–74. [Google Scholar] [CrossRef]
- Alhimdani, F.F. Steering Analysis of Articulated Tracked Vehicles. J. Terramech. 1982, 19, 195–209. [Google Scholar] [CrossRef]
- Zhang, Y.; Liu, X.; Chen, H.; Qiu, M.; Zhao, Y.; Zhang, X. Slope-Steering Motion Planning for Unmanned Tracked Vehicles Based on SSTP-RRT. IEEE Access 2024, 12, 1–20. [Google Scholar] [CrossRef]
- Tang, S.; Yuan, S.; Hu, J.; Li, X.; Zhou, J.; Guo, J. Modeling of Steady-State Performance of Skid-Steering for High-Speed Tracked Vehicles. J. Terramech. 2017, 73, 25–35. [Google Scholar] [CrossRef]
- Liu, W. Research on Fatigue and Initial Track Tension Optimization of the Track for an All-Terrain Articulated Tracked Vehicle. Ph.D. Thesis, School of Mechanical and Aerospace Engineering, Jilin University, Changchun, China, 2021. [Google Scholar]
- Yugang, L.; Guangjun, L. Modeling of Tracked Mobile Manipulators with Consideration of Track-Terrain and Vehicle-Manipulator Interactions. Robot. Auton. Syst. 2009, 57, 1065–1074. [Google Scholar]
- Watanabe, K.; Kitano, M. Study on Steerability of Articulated Tracked Vehicles—Part 1. Theoretical and Experimental Analysis. J. Terramech. 1986, 23, 69–83. [Google Scholar] [CrossRef]
- Yamakawa, J.; Watanabe, K.; Inagaki, T.; Kitano, M.; Jozaki, H. Turning Characteristics of Articulated Tracked-Vehicles. Trans. JSME Part C 2000, 66, 579–585. [Google Scholar] [CrossRef][Green Version]
- Yamakawa, J.; Watanabe, K.; Yasuda, Y. Turning Characteristics of Articulated Tracked Vehicles (Vehicle Characteristics and Steering Performance). Trans. JSME Part C 2001, 67, 1544–1551. [Google Scholar] [CrossRef][Green Version]
- Tota, A.; Velardocchia, M.; Rota, E.; Novara, A. Steering Behavior of an Articulated Amphibious All-Terrain Tracked Vehicle; 2020-01-0996; SAE Technical Paper; SAE International: Warrendale, PA, USA, 2020. [Google Scholar]
- Tota, A.; Galvagno, E.; Velardocchia, M. Analytical Study on the Cornering Behavior of an Articulated Tracked Vehicle. Machines 2021, 9, 38. [Google Scholar] [CrossRef]
- Dong, C.; Cheng, K.; Hu, W.; Yao, Y. Dynamic Modelling of the Steering Performance of an Articulated Tracked Vehicle Using Shear Stress Analysis of the Soil. Proc. Inst. Mech. Eng. Part D J. Automob. Eng. 2017, 231, 653–683. [Google Scholar] [CrossRef]
- Dong, C.; Cheng, K.; Hu, K.; Hu, W. Dynamic Modeling Study on the Slope Steering Performance of Articulated Tracked Vehicles. Adv. Mech. Eng. 2017, 9, 457–482. [Google Scholar] [CrossRef]
- Yao, Y.; Cheng, K.; Zhang, B.; Lin, J.; Jiang, D.; Gao, Z. A Steering Model for Articulated Tracked Vehicle Considering Soil Deformation on Track-Soil Interaction. Adv. Mech. Eng. 2018, 10, 1–11. [Google Scholar] [CrossRef]
- Wu, J.; Wang, G.; Zhao, H.; Sun, K. Study on Electromechanical Performance of Steering of the Electric Articulated Tracked Vehicles. J. Mech. Sci. Tech. 2019, 33, 3171–3185. [Google Scholar] [CrossRef]
- Hu, K.; Cheng, K. Dynamic Modelling and Stability Analysis of the Articulated Tracked Vehicle Considering Transient Track-Terrain Interaction. J. Mech. Sci. Tech. 2021, 35, 1343–1356. [Google Scholar] [CrossRef]
- Hu, K. Study on the Dynamics Analysis and Path Tracking Control for Articulated Tracked Vehicles. Ph.D. Thesis, School of Mechanical and Aerospace Engineering, Jilin University, Changchun, China, 2024. [Google Scholar]
- Lin, H. Research on Key Control Technologies of Articulated Steering Tracked Vehicle. Ph.D. Thesis, Institute of Automation, Chinese Academy of Sciences, Beijing, China, 2016. [Google Scholar]
- Merritt, H.E. Some considerations influencing the design of highspeed track-vehicles. Proc. Inst. Automob. Eng. 1939, 33, 398–430. [Google Scholar]
- Purdy, D.J.; Wormell, P.J.H. Handling of high-speed tracked vehicles. J. Battlef. Technol. 2003, 6, 17–22. [Google Scholar]
- Crosheck, J. Skid Steering of Crawlers; SAE Technical Paper 750552; SAE International: Warrendale, PA, USA, 1975. [Google Scholar]
- Kitano, M.; Kuma, M. An analysis of horizontal plane motion of tracked vehicles. J. Terramech. 1977, 14, 211–225. [Google Scholar] [CrossRef]
- Galvagno, E.; Rondinelli, E.; Velardocchia, M. Electro-mechanical transmission modelling for series-hybrid tracked tanks. Int. J. Heavy Vehicle Syst. 2012, 19, 256–280. [Google Scholar] [CrossRef]
- Maclaurin, B. A skid steering model with track pad flexibility. J. Terramechanics 2007, 44, 95–110, Erratum in J. Terramechanics 2007, 44, 217–218. [Google Scholar] [CrossRef]
- Wong, J.Y.; Chiang, C.F. A General Theory for Skid Steering of Tracked Vehicles on Firm Ground. Proc. Inst. Mech. Eng. Part D J. Automob. Eng. 2001, 215, 343–355. [Google Scholar] [CrossRef]
- Wong, J.Y. Theory of Ground Vehicles, 4th ed.; Jia, Z.Z.; Li, S.B.; Hu, X.S., Translators; China Machine Press: Beijing, China, 2018. [Google Scholar]
- Wang, H.Y.; Wang, Q.L.; Rui, Q.; Gai, H.T.; Zhou, G.M.; Wan, L.; Zhang, F. Analyzing and Testing Verification the Performance about High-Speed Tracked Vehicles in Steering Process. J. Mech. Eng. 2014, 50, 162–172. [Google Scholar] [CrossRef]
- Rui, Q.; Wang, H.Y.; Wang, Q.L.; Guo, J.; Zou, T.G.; Wan, L. Analysis and Experiment of Tracked Vehicle Steering Torque Based on Shear Stress Model. Acta Armamentarii 2015, 36, 968–977. [Google Scholar]
- Wang, H.Y.; Chen, B.; Rui, Q.; Guo, J.; Shi, L.C. Analysis and Experiment of Steady-State Steering of Tracked Vehicle under Concentrated Load. Acta Armamentarii 2016, 37, 2196–2204. [Google Scholar]
- Islam, M.M.; Ding, X.; He, Y. A closed-loop dynamic simulation-based design method for articulated heavy vehicles with active trailer steering systems. Veh. Syst. Dyn. 2011, 50, 675–697. [Google Scholar] [CrossRef]
- Vella, A.D.; Lisitano, D.; Tota, A.; Wang, B. Analysis of heavy commercial vehicle cornering behaviour through a multibody model. Int. J. Mech. Control 2020, 21, 39–50. [Google Scholar]
- Wu, D.H.; Hai, J. Analysis of dynamic lateral response for a multi-axle-steering tractor and trailer. Int. J. Heavy Veh. Syst. 2003, 10, 281–294. [Google Scholar] [CrossRef]
- Gao, Y.; Gordon, T. Optimal control of vehicle dynamics for the prevention of road departure on curved roads. IEEE Trans. Vehicular Technol. 2019, 68, 9370–9384. [Google Scholar] [CrossRef]
- Wang, B.; Liao, Z.; Guo, S. Adaptive curve passing control in autonomous vehicles with integrated dynamics and camera-based radius estimation. Vehicles 2024, 6, 1648–1660. [Google Scholar] [CrossRef]
- Bakibillah, A.S.M.; Kamal, M.A.S.; Tan, C.P.; Hayakawa, T.; Imura, J. Optimal eco-driving scheme for reducing energy consumption and carbon emissions on curved roads. Heliyon 2023, 10, e23586. [Google Scholar] [CrossRef]
- Zheng, B.; Huang, X.; Tang, J.; Chen, J.; Zhao, R.; Hong, Z.; Tang, T.; Han, M. Evaluation on braking stability of autonomous vehicles running along curved sections based on asphalt pavement adhesion properties. J. Adv. Transp. 2022, 2022, 7348554. [Google Scholar] [CrossRef]
- Li, J.F.; Fan, Z.Y.; Fan, F.M. Analysis of Moving Resistance Coefficient and Moving System Efficiency of Tracked Vehicle. Vehicle Power Technol. 2015, 1–4, 9. [Google Scholar]



















| Parameter | Value | Parameter | Value |
|---|---|---|---|
| 5000 kg | 2.0 m | ||
| 1.5 m | 0.6 m | ||
| 2.0 m | 0.3 m | ||
| 3.0 m | μ | 0.68 | |
| 0.6 m | K | 0.12 |
Disclaimer/Publisher’s Note: The statements, opinions and data contained in all publications are solely those of the individual author(s) and contributor(s) and not of MDPI and/or the editor(s). MDPI and/or the editor(s) disclaim responsibility for any injury to people or property resulting from any ideas, methods, instructions or products referred to in the content. |
© 2025 by the authors. Licensee MDPI, Basel, Switzerland. This article is an open access article distributed under the terms and conditions of the Creative Commons Attribution (CC BY) license (https://creativecommons.org/licenses/by/4.0/).
Share and Cite
Li, N.; Liu, X.; Chen, H.; Zhang, Y. Modeling and Analysis of the Turning Performance of an Articulated Tracked Vehicle That Considers the Inter-Unit Coupling Forces. Machines 2025, 13, 118. https://doi.org/10.3390/machines13020118
Li N, Liu X, Chen H, Zhang Y. Modeling and Analysis of the Turning Performance of an Articulated Tracked Vehicle That Considers the Inter-Unit Coupling Forces. Machines. 2025; 13(2):118. https://doi.org/10.3390/machines13020118
Chicago/Turabian StyleLi, Ningyi, Xixia Liu, Hongqian Chen, and Yu Zhang. 2025. "Modeling and Analysis of the Turning Performance of an Articulated Tracked Vehicle That Considers the Inter-Unit Coupling Forces" Machines 13, no. 2: 118. https://doi.org/10.3390/machines13020118
APA StyleLi, N., Liu, X., Chen, H., & Zhang, Y. (2025). Modeling and Analysis of the Turning Performance of an Articulated Tracked Vehicle That Considers the Inter-Unit Coupling Forces. Machines, 13(2), 118. https://doi.org/10.3390/machines13020118

