Next Article in Journal
Editorial for Special Issue “Minerals and Elements from Fly Ash and Bottom Ash as a Source of Secondary Raw Materials”
Next Article in Special Issue
Status of Recovery of Strategic Metals from Spent Secondary Products
Previous Article in Journal
Down to the Crust: Chemical and Mineralogical Analysis of Ceramic Surface Encrustations on Bronze Age Ceramics from Békés 103, Eastern Hungary
Previous Article in Special Issue
Application of Green Solvents for Rare Earth Element Recovery from Aluminate Phosphors
 
 
Font Type:
Arial Georgia Verdana
Font Size:
Aa Aa Aa
Line Spacing:
Column Width:
Background:
Article

Extraction of REEs (Ce, Tb, Y, Eu) from Phosphors Waste by a Combined Alkali Roasting–Acid Leaching Process

1
Faculty of Materials Metallurgy and Chemistry, Jiangxi University of Science and Technology, Ganzhou 341000, China
2
Guangdong Key Laboratory of Radioactive and Rare Resource Utilization, Shaoguan 512026, China
*
Author to whom correspondence should be addressed.
Minerals 2021, 11(4), 437; https://doi.org/10.3390/min11040437
Submission received: 21 March 2021 / Revised: 15 April 2021 / Accepted: 17 April 2021 / Published: 20 April 2021

Abstract

Rare Earth (RE) phosphors waste contains valuable rare Earth elements (REEs), such as cerium, terbium, yttrium, and europium. In industry, the process of NaOH roasting followed by acid leaching is usually used to extract the REEs from the waste in China. Using this process, the leaching efficiencies of cerium and terbium are clearly lower than those of other REEs, which results in uneven extraction of REEs in the waste and low total REE leaching efficiency. The key reason is that the trivalent cerium and terbium in the waste are oxidized into RE oxides during NaOH roasting, which are difficult to dissolve in acid solution. To solve this problem, an optimized process of controlling the oxygen concentration during NaOH roasting is proposed in this paper. The influences of the oxygen concentration, roasting temperature, roasting time, mass ratio of waste phosphor to NaOH, HCl solution concentration, acid leaching temperature, acid leaching time, and liquid–solid ratio on the REE leaching efficiency were investigated. Under the optimum conditions, the leaching efficiencies of cerium and terbium increased dramatically and the total REE leaching efficiency is 99.11%.

1. Introduction

In general, the useful life of a three-primary color fluorescent lamp is 10,000–20,000 h. If it is illuminated for 10 h per day, a three-primary color fluorescent lamp will be scrapped after 3–6 years. Calculated from the application proportions of REEs in various industries, it was found that 100% of the Eu, 85.2% of the Tb, 76.7% of the Y, etc. were used for the production of phosphors. Rare Earth fluorescent lamps were once mass-produced as a resource for the world’s demand. Taking China’s phosphor capacity as an example, its phosphors yield reached its peak of 7.024 billion FL units and 8000 tons of lighting phosphor in 2011 [1,2]. With time passing by, phosphors REE waste has been produced due to the end of the life of fluorescent lamps. Recycling of waste phosphors has become a research hotspot all over the world.
Phosphors REE waste powder is mostly composed of red, blue, and green powders. Among these powders, the red powder is mainly an oxide structure (Y2O3:Eu3+) [3], and the blue and green powders are mostly complex aluminate structures (BaMgAl10O17:Eu2+ and MgAl11O19:Ce3+,Tb3+) [4]. The content of REE in the phosphors REE waste ranges from 10% to 30%, which becomes a significant RE secondary resource [5].
Compared with physical methods, chemical methods are suitable for obtaining single high-purity RE, which are easily recycled for preparation of various high value-added functional materials, making them the main research direction [6]. Traditional chemical methods mainly involve the direct acid leaching process [7,8,9,10,11,12], in which yttrium and europium in the red powder can be easily leached compared to other REEs (mainly cerium and terbium included) in the blue and green powders. Even if the enhanced leaching methods are used, the leaching efficiencies of REEs in blue and green powders cannot be improved significantly. This is because the yttrium and europium in the red powder exist in the form of oxides, which can dissolve easily in acid solution. However, acid solution cannot effectively destroy the structures of the blue and green powders, which leads to lower leaching efficiencies of REEs in those powders. Therefore, the direct acid leaching process is only suitable for treating the single red powder but is unsuitable for treating the blue, green, or mixed powders. To further improve the total REE leaching efficiency in the waste phosphor, alkali or soda ash roasting followed by acid leaching has been proposed [13,14]. The practice results show that the complex structures of the blue and green powders will be destroyed effectively, and REEs in the blue and green powders will be converted to single RE oxides [15,16]. Accordingly, the leaching efficiencies of cerium and terbium are increased to 60–80% and the leaching efficiencies of europium have been further improved. However, why can only 60–80% of cerium and terbium be leached? There are two facts that provide an answer. The first is that tetravalent cerium and terbium oxides are difficult to dissolve in acid solution [17]. The second is that the trivalent cerium and terbium in the waste phosphor powder are inevitably oxidized to the tetravalent RE oxides by the traditional roasting process [14,16]. In order to avoid the oxidation of RE during roasting, we previously developed an iron powder alkali roasting process [6]. Some iron powder was added in the mixture of alkali and waste phosphor in the process to avoid the oxidation of RE during roasting. The results show that oxidation of trivalent cerium and terbium in the phosphor can be effectively avoided in the process. After washing and acid leaching, the leaching efficiencies of cerium and terbium are >98% and the total REE leaching efficiency is greater than 99%. The addition of iron oxide powder, serving as a reducing agent in the process of alkali roasting, can effectively avoid the oxidation of Ce and Tb elements into high ion valence states.
However, the addition of iron powder increases the iron removal burden in the subsequent purification process and results in other complicated problems in the following RE solvent extraction process, such as emulsification of the organic phase [18].
In order to avoid oxidation of cerium and terbium in phosphors REE waste to high-valence oxides, and to ensure that the impurities are not introduced during the whole extracting system, an optimized process is proposed to extract REEs (Ce, Tb, Y, Eu) from phosphors waste by a combined alkali roasting–acid leaching process

2. Materials and Methods

2.1. Raw Material and Reagents

The waste phosphor used in this study was purchased from a rare earth secondary resource recovery enterprise in Fujian Province, China. Before the tests, the phosphor was dried and ground to −200 mesh. The powder sample was characterized as MgAl11O19:Ce3+,Tb3+ (green phosphor), BaMg2Al16O27:Eu2+ (blue phosphor), and (Y0.95Eu0.05)2O3 (red phosphor) by X-ray diffraction (XRD, Figure 1). The total amounts and distribution of the REEs in the power sample are given in Table 1.
The total amount of REEs in the phosphors REE waste was 22.52%, and the distribution of the key elements cerium, terbium, yttrium, and europium in the total amount of REEs is 35.57%, 18.79%, 37.53%, and 5.63%, respectively (Table 1). The sodium hydroxide and hydrochloric acid used in the experiments were analytical grade, and oxygen and argon were both high purity (>99.99%).

2.2. Experimental Procedure

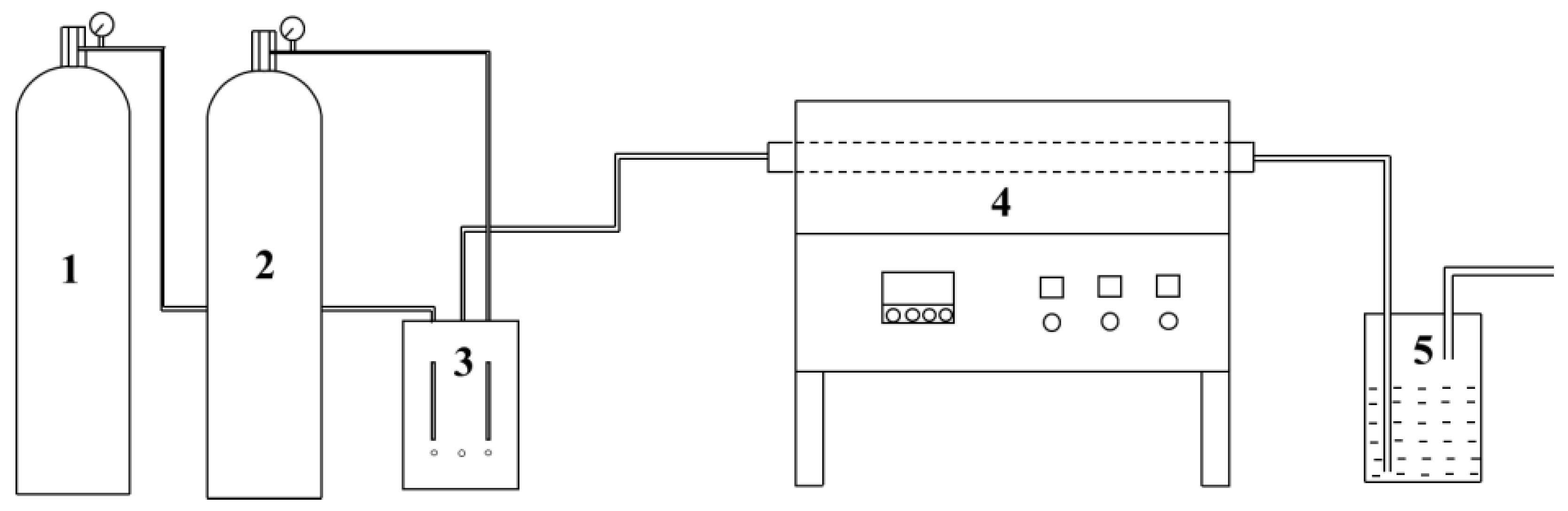
An alkali roasting–acid leaching process (Figure 2) was performed to extract the REEs from the waste phosphor. In each experiment, 10 g of the waste phosphor was mixed with sodium hydroxide at a certain mass ratio, placed in a semi-cylindrical corundum boat, and then the boat was placed in a tubular atmosphere furnace (tube dimensions of 70 mm (diameter) × 1000 mm (length) with a wall thickness of 5 mm). Oxygen and argon were supplied by oxygen and argon gas cylinders. The mixed gas required for the low oxygen concentration was produced by controlling the partial pressures of the two injection gases using a mixing instrument. The mixed gas was then continuously introduced into the tube furnace for 30 min to ensure that all of the air in the tube was discharged, the temperature was increased, and the roasting experiment was performed at a set temperature, filtered, and dried to obtain a dry cake. After being ground, a conventional water bath acid leaching process of the dry filter cake was performed, and the acid leaching slurry was filtered to obtain a filter residue and an RE filtrate.

2.3. Analysis Methods

The total amount and distribution of the REEs in the phosphors REE waste and the total concentration and distribution of the REEs in the solution were analyzed by ICP (725-OES, Agilent Technologies, Palo Alto, CA, USA). Phases of the waste phosphor and intermediate product were performed by XRD (X’Pert Powder, PANalytical, Eindhoven, Noord-Brabant, The Netherlands).

3. Results

3.1. Influence of the Oxygen Concentration

The influence of the oxygen concentration in the roasting atmosphere on the REEs leaching efficiencies was investigated.
The oxygen concentration was calculated by Equation (1):
φ O 2 = V O 2 × A × t V O 2 × A × t + V A r × A × t × 100 % = V O 2 V O 2 + V A r × 100 %
In the formula, V stands for gas flow rate in ml/L; A stands for the cross-sectional area of the gas transfer pipe diameter. The gas transfer pipe model and size in the experiment were the same. t stands for gas ventilation time.
The detailed experimental conditions and results are summarized in Table 2 and Figure 3.
REEs leaching efficiencies decreased with increasing oxygen concentration. The oxygen concentration during alkali roasting had a greater influence on the leaching efficiencies of cerium and terbium than yttrium and europium. When the oxygen concentration in the roasting atmosphere was 0.4%, the leaching efficiencies of the total REEs, cerium, and terbium were 99.15%, 99.11%, and 99.18%, respectively (Figure 3). The high rates of REEs lixiviating efficiencies can be achieved at the roasting oxygen concentration of 0.4%. When the oxygen concentration in the roasting atmosphere was 0.5%, the leaching efficiencies of the total REEs, cerium, and terbium decreased to 91.36%, 81.24%, and 88.40%, respectively. Under the conditions of two different oxygen concentrations, the leaching efficiencies of cerium and terbium were quite different.
XRD characterization (Figure 4) of the water-washing residue of the roasting product under the condition of oxygen concentrations of 0.4% shows that the main phases in the water-washing residue of the roasting product were Y2O3, MgO, Tb2O3, and Ce2O3, indicating that cerium and terbium were still trivalent in the roasting product. These phases can dissolve in the HCl solution as mentioned above. Hence, the reaction of green powder alkali roasting under the condition of oxygen concentrations of 0.4% can be expressed by Equation (2):
Ce0.67Tb0.33MgAl11O19 + 11NaOH → 0.165Tb2O3 + 0.335Ce2O3 + MgO + 11NaAlO2 + 5.5H2O
Compared with Figure 1, the reason why the elements Ba and Al were not detected in water-washing residue (Figure 4) was that magnesia-alumina spinel was decomposed into MgO and NaAlO2. When Ba was transformed into BaO, NaAlO2 was soluble in water and removed during the water washing process. MgO and BaO remained in the water-washing residue. The reason why the XRD peak of Ba is not shown in Figure 4 is because the elements in the residue except rare earth components were mainly Al and Mg, while as the content of Ba was small, the diffraction peak of Ba was not detected by XRD.
In the condition of oxygen concentrations of 0.5% during alkali roasting, the main phases in the water-washing residue of the roasting product were Y2O3, MgO, Tb4O7, CeO2, and Eu2O3 (Figure 5), indicating that cerium and terbium in the roasting product were oxidized to the tetravalent state. However, the phases of Tb4O7 and CeO2 are difficult to dissolve in the HCl solution because the high-valence Tb and Ce cannot exist stably in aqueous solution [17]. Accordingly, the reaction of green powder alkali roasting under this condition can be expressed by Equation (3):
Ce0.67Tb0.33MgAl11O19 + 11NaOH → 0.0825Tb4O7 + 0.67CeO2 + MgO + 11NaAlO2 + 5.5H2O
The results show that the oxidation of cerium and terbium can be effectively inhibited and the REEs leaching efficiencies can be effectively improved by controlling the concentration of oxygen in the roasting atmosphere. Therefore, the commercial process can be optimized in the pretreatment of alkali roasting, as shown in Figure 6.

3.2. Influence of the Roasting Temperature

The influence of the roasting temperature on the REE leaching efficiencies was investigated. The detailed experimental conditions and results are summarized in Table 3 and Figure 7.
The REE leaching efficiencies increased with increasing roasting temperature. At 400 °C, the leaching efficiencies of cerium, terbium, yttrium, and europium were all lower than 50%. In the relatively low roasting temperature, the reaction between sodium hydroxide and the phosphors REE waste was insufficient, and the structure of the aluminate could not be effectively destroyed, leading to low REE leaching efficiencies. When the roasting temperature was increased to 700 °C, the leaching efficiencies of cerium, terbium, yttrium, and europium were 99.11%, 99.18%, 99.21%, and 99.19%, respectively, and the total REE leaching efficiency was 99.15% (Figure 7). A further increase of the roasting temperature only slightly improved the REE leaching efficiencies.

3.3. Influence of the Roasting Time

The influence of the roasting time on the REE leaching efficiencies was investigated. The detailed experimental conditions and results are shown in Table 4 and Figure 8.
The REE leaching efficiencies increased with increasing roasting time. It can be seen from Figure 8 that when roasting for one hour, the leaching efficiencies of cerium, terbium, yttrium, and europium were only 51.65%, 70.83%, 81.65%, and 84.67%, respectively. When the roasting time was extended to 2.5 h, the leaching efficiencies of cerium, terbium, yttrium, and europium were increased to 99.14%, 99.29%, 99.34%, and 99.41%, respectively, and the total REE leaching efficiency was 99.21%. Further increasing the roasting time only slightly changed the REE leaching efficiencies.

3.4. Influence of the Mass Ratio

The influence of the mass ratio of waste phosphor to sodium hydroxide on the REE leaching efficiencies was investigated. The detailed experimental conditions and results are shown in Table 5 and Figure 9.
From Figure 9, the REEs leaching efficiencies increased with decreasing mass ratio. When the mass ratio of phosphors REE waste to sodium alkali was 1:1, the leaching efficiencies of cerium, terbium, yttrium, and europium were 79.36%, 83.11%, 90.11%, and 91.25%, respectively. The main reason for the relatively low REE leaching efficiencies was the insufficient alkali amount. When continuously reducing the mass ratio to 1:3, the leaching efficiencies of cerium, terbium, yttrium, and europium were 99.14%, 99.29%, 99.34%, and 99.41%, respectively, and the total REE leaching efficiency was 99.21%. Although the sodium hydroxide amount was increased (lowing w/w ratio), the leaching efficiencies were only slightly changed.

3.5. Influence of the HCl Solution Concentration

The influence of the HCl solution concentration on the REE leaching efficiencies was investigated. The detailed experimental conditions and results are shown in Table 6 and Figure 10.
From Figure 10, when the HCl solution concentration was 1 mol·L−1, the leaching efficiencies of cerium, terbium, yttrium, and europium were all lower than 40%. The particles of the RE oxides did not fully dissolve at this HCl solution concentration. When the HCl solution concentration was increased to 4 mol·L−1, the leaching efficiencies of cerium, terbium, yttrium, and europium were 99.09%, 99.14, 99.22%, and 99.04%, respectively, and the total REE leaching efficiency was 99.11%. Further increasing the HCl solution concentration only slightly affected the REE leaching efficiencies.

3.6. Influence of the Acid Leaching Temperature

The influence of the acid leaching temperature on the REE leaching efficiencies was investigated. The detailed experimental conditions and results are shown in Table 7 and Figure 11.
From Figure 11, the REE leaching efficiencies increased with increasing acid leaching temperature. When the acid leaching temperature was 40 °C, the leaching efficiencies of cerium, terbium, yttrium, and europium were 97.51%, 97.63%, 98.69%, and 98.28%, respectively. When the acid leaching temperature was increased to 60 °C, the leaching efficiencies of cerium, terbium, yttrium, and europium were 99.09%, 99.14%, 99.22%, and 99.04%, respectively, and the total REE leaching efficiency was 99.11%. Increasing the acid leaching temperature improved the mass transfer rate, which was beneficial for the reaction between HCl solution and the water washing residue. Further increasing the acid leaching temperature only slightly changed the REE leaching efficiencies.

3.7. Influence of the Acid Leaching Time

The influence of the acid leaching time on the REE leaching efficiencies was investigated. The detailed experimental conditions and results are shown in Table 8 and Figure 12.
From Figure 12, the REE leaching efficiencies increased with increasing acid leaching time. When the acid leaching time was 0.5 h, the leaching efficiencies of cerium, terbium, yttrium, and europium were 94.78%, 95.51%, 97.30%, and 97.54%, respectively.
When the acid leaching time was increased to 1h, the leaching efficiencies of cerium, terbium, yttrium, and europium were 99.09%, 99.14%, 99.22%, and 99.04%, respectively, and the total REE leaching efficiency was 99.11%. When the acid leaching time was further extended, there were no obvious changes in the REE leaching efficiencies.

3.8. Influence of the Liquid–Solid Ratio

The influence of the liquid–solid ratio on the REE leaching efficiencies was investigated. The detailed experimental conditions and results are shown in Table 9 and Figure 13.
From Figure 13, when the liquid–solid ratio was 5:1, the leaching efficiencies of cerium, terbium, yttrium, and europium were 44.15%, 50.26%, 80.21%, and 84.95%, respectively, and the total REE leaching efficiency was 71.14%. When the liquid–solid ratio was increased to 10:1, the leaching efficiencies of cerium, terbium, yttrium, and europium were 99.09%, 99.14%, 99.22%, and 99.04%, respectively, and the total REE leaching efficiency was 99.11%. When continuously increasing the liquid–solid ratio above 10:1, the REE leaching efficiencies did not change significantly.
Compared with the commercial process of alkali roasting–acid leaching, the leaching efficiencies of yttrium and europium using the proposed process are equivalent, but the leaching efficiencies of cerium and terbium increase by 20–30% (Figure 14). In addition, the leaching efficiencies of cerium, terbium, yttrium, and europium are all greater than 99%. Therefore, balanced and efficient extraction of the REEs from phosphor REEs waste can be achieved by the proposed process.

4. Conclusions

By alkali roasting in a low-oxygen-concentration atmosphere, the phases of cerium and terbium in phosphors REE waste can be effectively controlled and transformed to RE oxides (Ce2O3 and Tb2O3), which can be easily leached by acid solution. Balanced and efficient extraction of the REEs from phosphors REE waste can be achieved.
After hydrochloric acid leaching, the solvent extraction method is usually used to recover rare earth from acid leaching solution as a subsequent process. Solvent extraction is a mature and industrialized method for extracting rare earth elements [22,23]. Thus, this proposed process does not change the existing original process flow, so it can be easily industrialized.
Under the conditions of an oxygen concentration in mixed gas of 0.4%, a roasting temperature of 700 °C, a roasting time of 2.5 h, a mass ratio of waste phosphor to sodium hydroxide of 1:3, a HCl solution concentration of 4 mol·L−1, an acid leaching temperature of 60 °C, an acid leaching time of 1 h, and a liquid–solid ratio of 10:1, the highest extraction efficiencies obtained of cerium, terbium, yttrium, and europium were 99.09%, 99.14%, 99.22%, and 99.04%, respectively, and the total REE leaching efficiency was 99.11%.

Author Contributions

Methodology, F.Y. and G.-J.L.; Validation, L.-W.X., L.-B.S. and D.-G.L.; Writing—original draft, B.-X.H. and Y.L. All authors have read and agreed to the published version of the manuscript.

Funding

This research was funded by The Research Fund Program of Guangdong Key Laboratory of Radioactive and Rare Resource Utilization (Grant No. 2018B030322009), Cultivation program of State Key Laboratory for green development and high value utilization of ionic rare earth resources in Jiangxi Province (Grant No. 20194AFD44003) and Innovation training Program of Jiangxi University of Science and Technology (Grant No. DC2019-036). The APC was funded by Qingjiang Excellent Young Talents of Jiangxi University of Science and Technology (Grant No. JXUSTQJBJ2017004).

Data Availability Statement

All data generated or analysed during this study are included in this published article.

Acknowledgments

The authors would like to thank to Jiangxi University of Science and Technology for providing equipment and site for the experiment. This manuscript greatly benefited from the valuable comments and suggestions from two anonymous reviewers and Academic Editor of Minerals.

Conflicts of Interest

The authors declare no conflict of interest.

References

  1. Tan, Q.; Li, J.; Zeng, X. Rare Earth Elements Recovery from Waste Fluorescent Lamps: A Review. Crit. Rev. Environ. Sci. Technol. 2015, 45, 749–776. [Google Scholar] [CrossRef]
  2. Yang, F.; Kubota, F.; Baba, Y.; Kamiya, N.; Goto, M. Selective extraction and recovery of rare earth metals from phosphor powders in waste fluorescent lamps using an ionic liquid system. J. Hazard. Mater. 2013, 254–255, 79–88. [Google Scholar] [CrossRef]
  3. Dai, Q.; Foley, M.E.; Breshike, C.J.; Lita, A.; Strouse, G.F. Ligand-passivated Eu:Y2O3 nanocrystals as a phosphor for white light emitting diodes. J. Am. Chem. Soc. 2011, 133, 15475–15486. [Google Scholar] [CrossRef]
  4. Binnemans, K.; Jones, P.T. Perspectives for the recovery of rare earths from end-of-life fluorescent lamps. J. Rare Earths 2014, 32, 195–200. [Google Scholar] [CrossRef]
  5. Binnemans, K.; Jones, P.T.; Blanpain, B.; Gerven, T.V.; Yang, Y.; Walton, A.; Buchert, M. Recycling of rare earths: A critical review. J. Clean. Prod. 2013, 51, 1–22. [Google Scholar] [CrossRef]
  6. Liang, Y.; Liu, Y.; Lin, R.; Guo, D.; Liao, C. Leaching of rare earth elements from waste lamp phosphor mixtures by reduced alkali fusion followed by acid leaching. Hydrometallurgy 2016, 163, 99–103. [Google Scholar] [CrossRef]
  7. Lee, C.-H.; Liao, C.-H.; Popuri, S.R.; Hung, C.-E. Integrated process development for the recovery of Europium and Yttrium from waste fluorescent powder. J. Mater. Cycles Waste Manag. 2017, 19, 1235–1243. [Google Scholar] [CrossRef]
  8. Rabah, M.A. Recyclables recovery of europium and yttrium metals and some salts from spent fluorescent lamps. Waste Manag. 2007, 28, 318–325. [Google Scholar] [CrossRef]
  9. Thakur, N.V. Rare Earth Recovery from Phosphor. U.S. Patent 8,524,176, 3 September 2013. [Google Scholar]
  10. Tunsu, C.; Ekberg, C.; Retegan, T. Characterization and leaching of real fluorescent lamp waste for the recovery of rare earth metals and mercury. Hydrometallurgy 2014, 144–145, 91–98. [Google Scholar] [CrossRef]
  11. Zhang, S.-G.; Liu, H.; Pan, D.-A.; Tian, J.-J. Method for Recovering Rare Earth from Waste Rare Earth Luminescent Material. China Patent CN102,660,688A, 14 November 2013. [Google Scholar]
  12. Zhang, S.-G.; Yang, M.; Liu, H.; Pan, D.-A.; Tian, J.-J. Recovery of waste rare earth fluorescent powders by two steps acid leaching. Rare Met. 2013, 32, 609–615. [Google Scholar] [CrossRef]
  13. Zeng, Y.-L. Study on the Strength Leaching Process of Wasted Rare Earth Phosphors; Jiangxi University of Technology and Science: Ganzhou, China, 2014; pp. 17–21. [Google Scholar]
  14. Liao, C.-F.; Li, Z.-Y.; Zeng, Y.-L.; Chen, J.-Y.; Zhong, L.-Q.; Wang, L. Selective extraction and recovery of rare earth metals from waste fluorescent powder using alkaline roasting-leaching process. J. Rare Earths 2017, 35, 1008–1013. [Google Scholar] [CrossRef]
  15. Wu, Y.-F.; Zhang, Q.-J.; Wang, W.; Cheng, H.-Q.; Zuo, T.-Y. Recovery of Rare Earth in Rare Earth Phosphor Waste by Ultrasonic-Sub-Molten Salt Method. China Patent CN102,828,030A, 19 December 2012. [Google Scholar]
  16. Guo, D.-D. Study on Extraction of Rare Earth from Waste Rare Earth Phosphor Iron Powder by Alkali Melting-Acid Leaching; Jiangxi University of Technology and Science: Ganzhou, China, 2016; pp. 34–37. [Google Scholar]
  17. Liang, Y.; Li, Y.-K.; Xue, L.-Y.; Guo, D.-D. Thermodynamic study on acid decomposition process of Cerium and Terbium Oxides. Rare Met. Cem. Carbides 2017, 45, 8–10. [Google Scholar]
  18. Xu, Z.-X.; Liao, C.-F.; Zhu, S.-P.; Jiang, P.-G. Naphthenic acid separation of waste phosphors in acid leaching solution of iron and aluminum. Nonferrous Met. Sci. Eng. 2019, 10, 19–27. [Google Scholar] [CrossRef]
  19. Liu, H.; Zhang, S.-G.; Pan, D.; Tian, J.-J.; Yang, M.; Wu, M.-L.; Volinsky, A.A. Rare earth elements recycling from waste phosphor by dual hydrochloric acid dissolution. J. Hazard. Mater. 2014, 272, 96–101. [Google Scholar] [CrossRef]
  20. Ippolito, N.M.; Innocenzi, V.; Michelis, I.D.; Medici, F.; Vegliò, F. Rare earth elements recovery from fluorescent lamps: A new thermal pretreatment to improve the efficiency of the hydrometallurgical process. J. Clean. Prod. 2017, 153, 287–298. [Google Scholar] [CrossRef]
  21. He, L.; Ji, W.; Yin, Y.-W.; Sun, W.-M. Study on alkali mechanical activation for recovering rare earth from waste fluorescent lamps. J. Rare Earths 2018, 36, 108–112. [Google Scholar] [CrossRef]
  22. Xie, F.; Zhang, T.-A.; Dreisinger, D.; Doyle, F. A critical review on solvent extraction of rare earths from aqueous solutions. Miner. Eng. 2014, 56, 10–28. [Google Scholar] [CrossRef]
  23. Hidayah, N.-N.; Abidin, S.-Z. The evolution of mineral processing in extraction of rare earth elements using liquid-liquid extraction: A review. Miner. Eng. 2018, 121, 146–157. [Google Scholar] [CrossRef]
Figure 1. XRD pattern of the raw material.
Figure 1. XRD pattern of the raw material.
Minerals 11 00437 g001
Figure 2. Schematic diagram of the roasting experimental setup (1. Oxygen cylinder. 2. Argon cylinder. 3. Gas mixing instrument. 4. Tube furnace. 5. Gas recovery device).
Figure 2. Schematic diagram of the roasting experimental setup (1. Oxygen cylinder. 2. Argon cylinder. 3. Gas mixing instrument. 4. Tube furnace. 5. Gas recovery device).
Minerals 11 00437 g002
Figure 3. Influence of the oxygen concentration on the REEs leaching efficiencies (roasting temperature of 700 °C, roasting time of 3 h, mass ratio of phosphor powder to sodium hydroxide 1:3, HCl solution concentration of 8 mol·L−1, acid leaching temperature of 60 °C, acid leaching time of 1 h, and liquid–solid ratio of 10:1).
Figure 3. Influence of the oxygen concentration on the REEs leaching efficiencies (roasting temperature of 700 °C, roasting time of 3 h, mass ratio of phosphor powder to sodium hydroxide 1:3, HCl solution concentration of 8 mol·L−1, acid leaching temperature of 60 °C, acid leaching time of 1 h, and liquid–solid ratio of 10:1).
Minerals 11 00437 g003
Figure 4. XRD pattern of the water-washing residue of the roasting product under the condition of 0.4% oxygen concentration.
Figure 4. XRD pattern of the water-washing residue of the roasting product under the condition of 0.4% oxygen concentration.
Minerals 11 00437 g004
Figure 5. XRD pattern of the water-washing residue of the roasting product under the condition of 0.5% oxygen concentration.
Figure 5. XRD pattern of the water-washing residue of the roasting product under the condition of 0.5% oxygen concentration.
Minerals 11 00437 g005
Figure 6. Flowsheet comparison between the commercial process and proposed process.
Figure 6. Flowsheet comparison between the commercial process and proposed process.
Minerals 11 00437 g006
Figure 7. Influence of the roasting temperature on the REEs leaching efficiencies (oxygen concentration in the mixed gas of 0.4%, roasting time of 3 h, mass ratio of phosphor powder to alkali 1:3, HCl solution concentration of 8 mol·L−1, acid leaching temperature of 60 °C, acid leaching time of 1 h, and liquid–solid ratio of 10:1).
Figure 7. Influence of the roasting temperature on the REEs leaching efficiencies (oxygen concentration in the mixed gas of 0.4%, roasting time of 3 h, mass ratio of phosphor powder to alkali 1:3, HCl solution concentration of 8 mol·L−1, acid leaching temperature of 60 °C, acid leaching time of 1 h, and liquid–solid ratio of 10:1).
Minerals 11 00437 g007
Figure 8. Influence of the roasting time on the REEs leaching efficiencies (oxygen concentration in the mixed gas of 0.4%, a roasting temperature of 700 °C, a mass ratio of phosphor powder to alkali 1:3, a HCl solution concentration of 8 mol·L−1, an acid immersion temperature of 60 °C, an acid leaching time of 1 h, and a liquid–solid ratio of 10:1).
Figure 8. Influence of the roasting time on the REEs leaching efficiencies (oxygen concentration in the mixed gas of 0.4%, a roasting temperature of 700 °C, a mass ratio of phosphor powder to alkali 1:3, a HCl solution concentration of 8 mol·L−1, an acid immersion temperature of 60 °C, an acid leaching time of 1 h, and a liquid–solid ratio of 10:1).
Minerals 11 00437 g008
Figure 9. Influence of the mass ratio on the REEs leaching efficiencies (oxygen concentration in the mixed gas of 0.4%, roasting temperature of 700 °C, roasting time of 2.5 h, HCl solution concentration of 8 mol·L−1, acid leaching temperature of 60 °C, acid leaching time of 1 h, and liquid–solid ratio of 10:1).
Figure 9. Influence of the mass ratio on the REEs leaching efficiencies (oxygen concentration in the mixed gas of 0.4%, roasting temperature of 700 °C, roasting time of 2.5 h, HCl solution concentration of 8 mol·L−1, acid leaching temperature of 60 °C, acid leaching time of 1 h, and liquid–solid ratio of 10:1).
Minerals 11 00437 g009
Figure 10. Influence of the hydrochloric acid concentration on the REEs leaching efficiencies (oxygen concentration in the mixed gas of 0.4%, roasting temperature of 700 °C, roasting time of 2.5 h, mass ratio of phosphor powder to alkali 1:3, acid leaching temperature of 60 °C, acid leaching time of 1 h, and liquid–solid ratio of 10:1).
Figure 10. Influence of the hydrochloric acid concentration on the REEs leaching efficiencies (oxygen concentration in the mixed gas of 0.4%, roasting temperature of 700 °C, roasting time of 2.5 h, mass ratio of phosphor powder to alkali 1:3, acid leaching temperature of 60 °C, acid leaching time of 1 h, and liquid–solid ratio of 10:1).
Minerals 11 00437 g010
Figure 11. Influence of the acid leaching temperature on the REEs leaching efficiencies (oxygen concentration in the mixed gas of 0.4%, roasting temperature of 700 °C, roasting time of 2.5 h, mass ratio of phosphor powder to alkali 1:3, HCl solution concentration of 4 mol·L−1, acid leaching time of 1 h, and liquid–solid ratio of 10:1).
Figure 11. Influence of the acid leaching temperature on the REEs leaching efficiencies (oxygen concentration in the mixed gas of 0.4%, roasting temperature of 700 °C, roasting time of 2.5 h, mass ratio of phosphor powder to alkali 1:3, HCl solution concentration of 4 mol·L−1, acid leaching time of 1 h, and liquid–solid ratio of 10:1).
Minerals 11 00437 g011
Figure 12. Influence of the acid leaching time on the REEs leaching efficiencies (oxygen concentration in the mixed gas of 0.4%, roasting temperature of 700 °C, roasting time of 2.5 h, material ratio of phosphor powder to alkali 1:3, HCl solution concentration of 4 mol·L−1, acid leaching temperature of 60 °C, and liquid–solid ratio of 10:1).
Figure 12. Influence of the acid leaching time on the REEs leaching efficiencies (oxygen concentration in the mixed gas of 0.4%, roasting temperature of 700 °C, roasting time of 2.5 h, material ratio of phosphor powder to alkali 1:3, HCl solution concentration of 4 mol·L−1, acid leaching temperature of 60 °C, and liquid–solid ratio of 10:1).
Minerals 11 00437 g012
Figure 13. Influence of the liquid–solid ratio on the REEs leaching efficiencies (oxygen concentration in the mixed gas of 0.4%, roasting temperature of 700 °C, roasting time of 2.5 h, material ratio of phosphor powder to alkali 1:3, HCl solution concentration of 4 mol·L−1, acid leaching temperature of 60 °C, and acid leaching time of 1 h).
Figure 13. Influence of the liquid–solid ratio on the REEs leaching efficiencies (oxygen concentration in the mixed gas of 0.4%, roasting temperature of 700 °C, roasting time of 2.5 h, material ratio of phosphor powder to alkali 1:3, HCl solution concentration of 4 mol·L−1, acid leaching temperature of 60 °C, and acid leaching time of 1 h).
Minerals 11 00437 g013
Figure 14. Leaching efficiency of rare earth elements by different methods [19,20,21].
Figure 14. Leaching efficiency of rare earth elements by different methods [19,20,21].
Minerals 11 00437 g014
Table 1. Total RE and RE oxide distribution in the raw material.
Table 1. Total RE and RE oxide distribution in the raw material.
ElementTREOCeO2Tb4O7Y2O3Eu2O3Others
Content/%22.5232.5718.7937.535.635.48
Table 2. Extraction efficiency of Ce, Tb, Y, Eu, and total rare earth under different oxygen concentrations (roasting temperature of 700 °C, roasting time of 3 h, mass ratio of phosphor powder to sodium hydroxide 1:3, HCl solution concentration of 8 mol·L−1, acid leaching temperature of 60 °C, acid leaching time of 1 h, and liquid–solid ratio of 10:1).
Table 2. Extraction efficiency of Ce, Tb, Y, Eu, and total rare earth under different oxygen concentrations (roasting temperature of 700 °C, roasting time of 3 h, mass ratio of phosphor powder to sodium hydroxide 1:3, HCl solution concentration of 8 mol·L−1, acid leaching temperature of 60 °C, acid leaching time of 1 h, and liquid–solid ratio of 10:1).
Oxygen Concentration/%Extraction Efficiency/%
CeTbYEuTREEs
0.199.1399.2499.2499.2199.16
0.299.1099.2199.2299.2199.15
0.499.1199.1899.2199.1999.15
0.581.2488.4099.1899.1591.36
0.680.5987.8498.4299.0289.74
Table 3. Extraction efficiency of Ce, Tb, Y, Eu, and total rare earth under different roasting temperatures (oxygen concentration in the mixed gas of 0.4%, roasting time of 3 h, mass ratio of phosphor powder to alkali 1:3, HCl solution concentration of 8 mol·L−1, acid leaching temperature of 60 °C, acid leaching time of 1 h, and liquid–solid ratio of 10:1).
Table 3. Extraction efficiency of Ce, Tb, Y, Eu, and total rare earth under different roasting temperatures (oxygen concentration in the mixed gas of 0.4%, roasting time of 3 h, mass ratio of phosphor powder to alkali 1:3, HCl solution concentration of 8 mol·L−1, acid leaching temperature of 60 °C, acid leaching time of 1 h, and liquid–solid ratio of 10:1).
Roasting Temperature/°CExtraction Efficiency/%
CeTbYEuTREEs
4005.4724.2046.6514.1725.20
50040.2669.7387.6962.7470.24
60081.2585.1196.6594.2390.35
70099.0995.5999.6999.5599.29
80099.1099.4399.4199.6199.18
Table 4. Extraction efficiency of Ce, Tb, Y, Eu, and total rare earth under different roasting times (oxygen concentration in the mixed gas of 0.4%, a roasting temperature of 700 °C, a mass ratio of phosphor powder to alkali 1:3, a HCl solution concentration of 8 mol·L−1, an acid immersion temperature of 60 °C, an acid leaching time of 1 h, and a liquid–solid ratio of 10:1).
Table 4. Extraction efficiency of Ce, Tb, Y, Eu, and total rare earth under different roasting times (oxygen concentration in the mixed gas of 0.4%, a roasting temperature of 700 °C, a mass ratio of phosphor powder to alkali 1:3, a HCl solution concentration of 8 mol·L−1, an acid immersion temperature of 60 °C, an acid leaching time of 1 h, and a liquid–solid ratio of 10:1).
Roasting Time/hExtraction Efficiency/%
CeTbYEuTREEs
151.6570.8381.6584.6767.05
289.5093.6394.5092.4491.25
2.599.1499.2999.3499.4199.21
399.1699.2799.3699.4399.27
3.599.1799.2899.3699.4299.26
Table 5. Extraction efficiency of Ce, Tb, Y, Eu, and total rare earth under different mass ratio of phosphors REE waste to sodium hydroxide (oxygen concentration in the mixed gas of 0.4%, roasting temperature of 700 °C, roasting time of 2.5 h, HCl solution concentration of 8 mol·L−1, acid leaching temperature of 60 °C, acid leaching time of 1 h, and liquid–solid ratio of 10:1).
Table 5. Extraction efficiency of Ce, Tb, Y, Eu, and total rare earth under different mass ratio of phosphors REE waste to sodium hydroxide (oxygen concentration in the mixed gas of 0.4%, roasting temperature of 700 °C, roasting time of 2.5 h, HCl solution concentration of 8 mol·L−1, acid leaching temperature of 60 °C, acid leaching time of 1 h, and liquid–solid ratio of 10:1).
Mass Ratio of Phosphors REE Waste to Sodium Hydroxide/(w/w)Extraction Efficiency/%
CeTbYEuTREEs
178.3683.1190.1091.2585.81
1.586.6990.2597.3196.5691.22
292.3093.3498.2699.1095.34
2.597.3797.5099.0199.2098.12
399.2099.3999.3799.2599.27
3.599.1299.1199.1699.0499.09
Table 6. Extraction efficiency of Ce, Tb, Y, Eu, and total rare earth under different hydrochloric acid concentrations (oxygen concentration in the mixed gas of 0.4%, roasting temperature of 700 °C, roasting time of 2.5 h, mass ratio of phosphor powder to alkali 1:3, acid leaching temperature of 60 °C, acid leaching time of 1 h, and liquid–solid ratio of 10:1).
Table 6. Extraction efficiency of Ce, Tb, Y, Eu, and total rare earth under different hydrochloric acid concentrations (oxygen concentration in the mixed gas of 0.4%, roasting temperature of 700 °C, roasting time of 2.5 h, mass ratio of phosphor powder to alkali 1:3, acid leaching temperature of 60 °C, acid leaching time of 1 h, and liquid–solid ratio of 10:1).
Hydrochloric Acid Concentration/mol·L−1Extraction Efficiency/%
CeTbYEuTREEs
17.0624.0437.3617.2931.78
250.3871.1883.1088.6474.14
388.6291.0193.4292.7991.06
499.0999.1499.2299.0499.11
599.2199.2999.3099.1999.19
Table 7. Extraction efficiency of Ce, Tb, Y, Eu, and total rare earth under different acid leaching temperatures (oxygen concentration in the mixed gas of 0.4%, roasting temperature of 700 °C, roasting time of 2.5 h, mass ratio of phosphor powder to alkali 1:3, HCl solution concentration of 4 mol·L−1, acid leaching time of 1 h, and liquid–solid ratio of 10:1).
Table 7. Extraction efficiency of Ce, Tb, Y, Eu, and total rare earth under different acid leaching temperatures (oxygen concentration in the mixed gas of 0.4%, roasting temperature of 700 °C, roasting time of 2.5 h, mass ratio of phosphor powder to alkali 1:3, HCl solution concentration of 4 mol·L−1, acid leaching time of 1 h, and liquid–solid ratio of 10:1).
Acid Leaching Temperature/°CExtraction Efficiency/%
CeTbYEuTREEs
0.594.7895.5197.3097.5496.37
199.0999.1499.2399.3799.12
1.599.1199.2799.3399.1699.15
299.1599.2499.3699.2099.27
2.599.1799.2199.3899.2199.28
Table 8. Extraction efficiency of Ce, Tb, Y, Eu, and total rare earth under different acid leaching times (oxygen concentration in the mixed gas of 0.4%, roasting temperature of 700 °C, roasting time of 2.5 h, material ratio of phosphor powder to alkali 1:3, HCl solution concentration of 4 mol·L−1, acid leaching temperature of 60 °C, and liquid–solid ratio of 10:1).
Table 8. Extraction efficiency of Ce, Tb, Y, Eu, and total rare earth under different acid leaching times (oxygen concentration in the mixed gas of 0.4%, roasting temperature of 700 °C, roasting time of 2.5 h, material ratio of phosphor powder to alkali 1:3, HCl solution concentration of 4 mol·L−1, acid leaching temperature of 60 °C, and liquid–solid ratio of 10:1).
Acid Leaching Time/hExtraction Efficiency/%
CeTbYEuTREEs
0.594.7895.5197.3097.5496.37
1.099.0999.1499.2399.3799.12
1.599.1199.2799.3399.1699.15
2.099.1599.2499.3699.2099.27
2.599.1799.2199.3899.2199.28
Table 9. Extraction efficiency of Ce, Tb, Y, Eu, and total rare earth under different liquid–solid ratios (oxygen concentration in the mixed gas of 0.4%, roasting temperature of 700 °C, roasting time of 2.5 h, material ratio of phosphor powder to alkali 1:3, HCl solution concentration of 4 mol·L−1, acid leaching temperature of 60 °C, and acid leaching time of 1 h).
Table 9. Extraction efficiency of Ce, Tb, Y, Eu, and total rare earth under different liquid–solid ratios (oxygen concentration in the mixed gas of 0.4%, roasting temperature of 700 °C, roasting time of 2.5 h, material ratio of phosphor powder to alkali 1:3, HCl solution concentration of 4 mol·L−1, acid leaching temperature of 60 °C, and acid leaching time of 1 h).
Liquid-Solid Ratio/(v/w)Extraction Efficiency/%
CeTbYEuTREEs
5.049.1550.2680.2184.9571.14
7.586.9188.4297.3296.9591.25
10.098.9999.1299.3399.2399.14
12.599.0999.2699.3499.2199.17
15.099.2299.3799.3499.2299.22
Publisher’s Note: MDPI stays neutral with regard to jurisdictional claims in published maps and institutional affiliations.

Share and Cite

MDPI and ACS Style

He, B.-X.; Liang, Y.; Xu, L.-W.; Shao, L.-B.; Liu, D.-G.; Yang, F.; Liang, G.-J. Extraction of REEs (Ce, Tb, Y, Eu) from Phosphors Waste by a Combined Alkali Roasting–Acid Leaching Process. Minerals 2021, 11, 437. https://doi.org/10.3390/min11040437

AMA Style

He B-X, Liang Y, Xu L-W, Shao L-B, Liu D-G, Yang F, Liang G-J. Extraction of REEs (Ce, Tb, Y, Eu) from Phosphors Waste by a Combined Alkali Roasting–Acid Leaching Process. Minerals. 2021; 11(4):437. https://doi.org/10.3390/min11040437

Chicago/Turabian Style

He, Bing-Xuan, Yong Liang, Lue-Wei Xu, Long-Bin Shao, De-Gang Liu, Fei Yang, and Guan-Jie Liang. 2021. "Extraction of REEs (Ce, Tb, Y, Eu) from Phosphors Waste by a Combined Alkali Roasting–Acid Leaching Process" Minerals 11, no. 4: 437. https://doi.org/10.3390/min11040437

APA Style

He, B.-X., Liang, Y., Xu, L.-W., Shao, L.-B., Liu, D.-G., Yang, F., & Liang, G.-J. (2021). Extraction of REEs (Ce, Tb, Y, Eu) from Phosphors Waste by a Combined Alkali Roasting–Acid Leaching Process. Minerals, 11(4), 437. https://doi.org/10.3390/min11040437

Note that from the first issue of 2016, this journal uses article numbers instead of page numbers. See further details here.

Article Metrics

Back to TopTop