Water Quality Sampling and Multi-Parameter Monitoring System Based on Multi-Rotor UAV Implementation
Abstract
1. Introduction
2. Materials and Methods
2.1. Overall Structure of UAV Water Sampling and Detection System
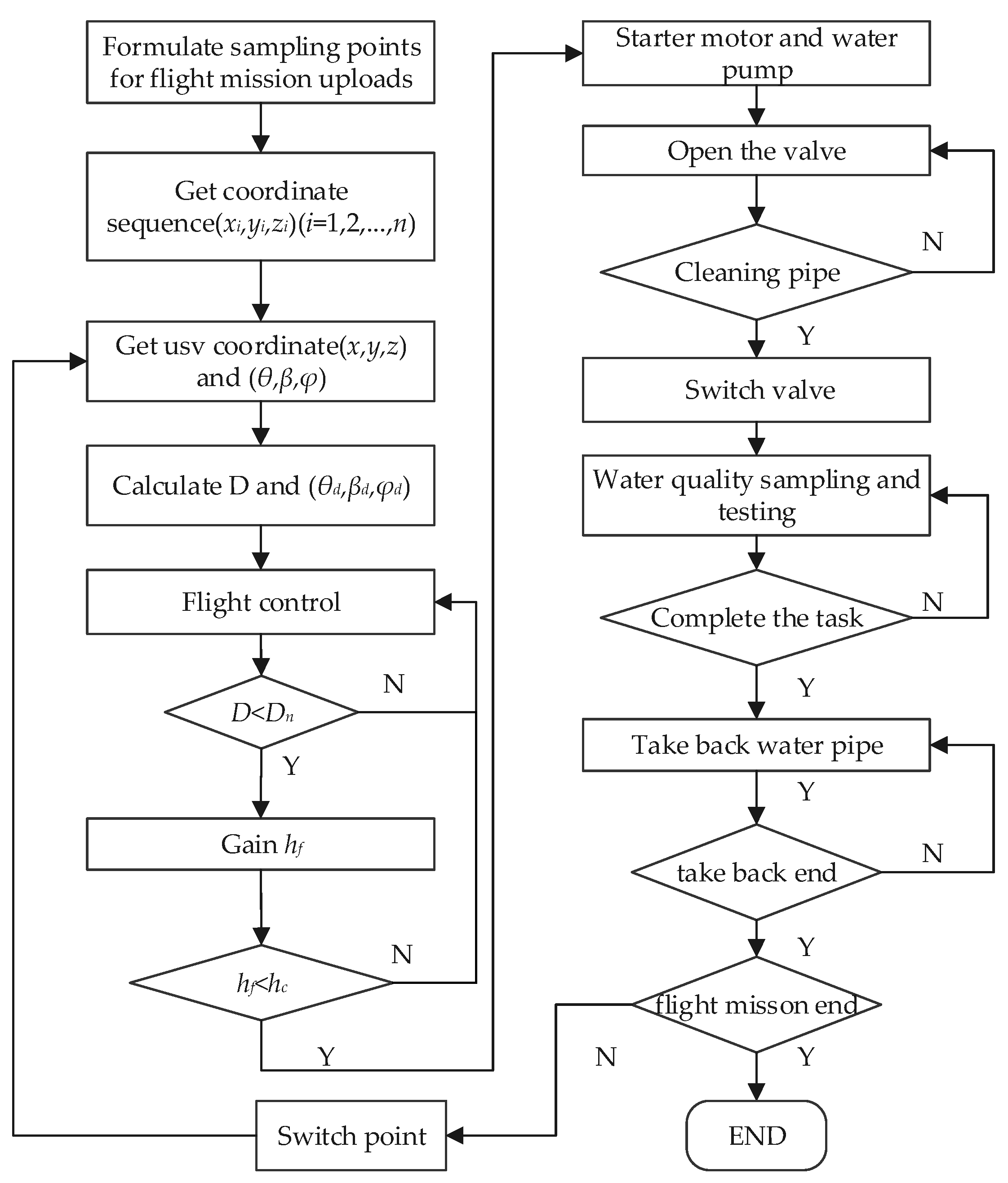
2.2. Control Scheme for Water Sampling and Multi-Parameter Monitoring System
3. Double-Layer Composite Path Planning Algorithm Based on PSO and RRT
3.1. Hierarchical Hybrid Improved PSO Algorithm
3.1.1. Dynamic Adjustment of Model Parameters
3.1.2. Introduction of Crossover and Mutation Operators
3.2. Obstacle Avoidance Path Planning Algorithm Based on Hierarchical Mixed Improved PSO and RRT
3.3. Path Processing
3.4. Implementation Steps of the Improved Algorithm
| Algorithm 1: LHIPSO algorithm |
| Input: ωmax; ωmin; c1; c2; low; up; Pc; Pm; iteration number; sampling point; M; N; UAV point; Output: Sampling point execution sequence |
| 1:Random initialization of M particles 2:for i = 1 to N do//Calculate the distance between the sampling points 3: for j =1 to N do//n is the number of sampling points 4: calculate D(i,j)//D(i,j) is the sampling point distance 5: end for 6:end for 7:for i = 1 to M do//Calculate the fitness value 8: Calculate fitness(i) 9:end for 10:Calculate pbest, gbest//Calculate the local and global optimality value 11:while iter < itermax 12: Array = sort(fitness)//Sort fitness(i) in ascending order according to fitness value 13: The velocity and position of pop(1:low,:) are updated by Equation (4). 14: The velocity and position of pop(low + 1:up,:) are updated by Equation (5). 15: The velocity and position of pop(up + 1:M,:) are updated by the crossover mutation operator. 16: Calculate fitness 17: [minvalue,min_index] = min(fitness)//Determine the minimum fitness value and index 18: if minvalue < fitness(pbest) then//Update the local optimality value 19: pbest = pop(min_index) 20: end if 21: if minvalue< fitness(gbest) then//Update the global optimality value 22: gbest = pbest 23: end if 26:end while 25:Return gbest |
| Algorithm 2: RRT algorithm |
| Input: map; sampling point; N; UAV point; gbest; step Output: UAV flight path |
| 1:Position sequence = [UAV point; sampling point(gbest);UAV point]//The sequence of locations that need to be planned 2:for i = 1 to (N + 1) do//Cyclic planning of adjacent points 3: Xstart = Position sequence[i] 4: T = Xstart 5: Xgoal = Position sequence[i + 1] 6: parent = 1 7: while goalFound = false//Whether to plan to the end 8: Xrand = sample(Xstart, Xgoal) 9: Xnear = Nearest(T, Xrand) 10: Xnew = Steer(Xnear, Xrand, step) 11: if Obstaclecollision(Xnew, Xnear, map) == false//Obstacle judgment 12: parent(Xnew) = Xnear 13: T = [T, Xnew] 14: if distance(Xnew, Xgoal) ≤ Thresholdvalue//Target point judgment 15: goalFound = True 16: break; 17: end if 18: else if 19: continue 20: end if 21: end while 22: Path = [Path, T]//All adjacent point path combinations 23:end for 24:return Path |
4. Experimental Analysis and Results
4.1. Simulation Experiment
4.1.1. Environmental Model Design
4.1.2. Simulation Results and Analysis
4.2. Field Experiment
Fishpond Experiment Data and Analysis
5. Conclusions
Author Contributions
Funding
Data Availability Statement
Conflicts of Interest
References
- Mekonnen, M.M.; Hoekstra, A.Y. Four billion people facing severe water scarcity. Sci. Adv. 2016, 2, e1500323. [Google Scholar] [CrossRef]
- Wang, Z.; Zhong, R.; Lai, C.; Zeng, Z.; Lian, Y.; Bai, X. Climate change enhances the severity and variability of drought in the Pearl River Basin in South China in the 21st century. Agric. For. Meteorol. 2018, 249, 149–162. [Google Scholar] [CrossRef]
- Han, D.; Currell, M.J.; Cao, G. Deep challenges for China’s war on water pollution. Environ. Pollut. 2016, 218, 1222–1233. [Google Scholar] [CrossRef]
- Currell, M.J.; Han, D. The Global Drain: Why China’s Water Pollution Problems Should Matter to the Rest of the World. Environment 2017, 59, 16–29. [Google Scholar] [CrossRef]
- Hu, Y.; Cheng, H. Water pollution during China’s industrial transition. Environ. Dev. 2013, 8, 57–73. [Google Scholar] [CrossRef]
- Liu, Y.; Wang, P.; Gojenko, B.; Yu, J.; Wei, L.; Luo, D.; Xiao, T. A review of water pollution arising from agriculture and mining activities in Central Asia: Facts, causes and effects. Environ. Pollut. 2021, 291, 118209. [Google Scholar] [CrossRef] [PubMed]
- Warren-Vega, W.M.; Campos-Rodríguez, A.; Zárate-Guzmán, A.I.; Romero-Cano, L.A. A Current Review of Water Pollutants in American Continent: Trends and Perspectives in Detection, Health Risks, and Treatment Technologies. Int. J. Environ. Res. Public Health 2023, 20, 4499. [Google Scholar] [CrossRef]
- Liu, W.; Chen, W.; Feng, Q.; Deo, R.C. Situations, challenges and strategies of urban water management in Beijing under rapid urbanization effect. Water Supply 2019, 19, 115–127. [Google Scholar] [CrossRef]
- Hangan, A.; Chiru, C.G.; Arsene, D.; Czako, Z.; Lisman, D.F.; Mocanu, M.; Pahontu, B.; Predescu, A.; Sebestyen, G. Advanced Techniques for Monitoring and Management of Urban Water Infrastructures—An Overview. Water 2022, 14, 2147. [Google Scholar] [CrossRef]
- Ermilio, J.; Pattison, I.; Sohail, M. Performance Monitoring and Sustainable Management of Piped Water Supply Infrastructure in Developing Communities. J. Water Resour. Plan. Manag. 2022, 148, 05021030. [Google Scholar] [CrossRef]
- Tang, M.; Xu, W.; Zhang, C.; Shao, D.; Zhou, H.; Li, Y. Risk assessment of sectional water quality based on deterioration rate of water quality indicators: A case study of the main canal of the Middle Route of South-to-North Water Diversion Project. Ecol. Indic. 2022, 135, 108592. [Google Scholar] [CrossRef]
- Pan, B.; Han, X.; Chen, Y.; Wang, L.; Zheng, X. Determination of key parameters in water quality monitoring of the most sediment-laden Yellow River based on water quality index. Process Saf. Environ. Prot. 2022, 164, 249–259. [Google Scholar] [CrossRef]
- Rand, J.M.; Nanko, M.O.; Lykkegaard, M.B.; Wain, D.; King, W.; Bryant, L.D.; Hunter, A. The human factor: Weather bias in manual lake water quality monitoring. Limnol. Oceanogr. Methods 2022, 20, 288–303. [Google Scholar] [CrossRef]
- Eliades, D.G.; Polycarpou, M.M.; Charalambous, B. A Security-Oriented Manual Quality Sampling Methodology for Water Systems. Water Resour. Manag. 2011, 25, 1219–1228. [Google Scholar] [CrossRef]
- Romić, D.; Castrignanò, A.; Romić, M.; Buttafuoco, G.; Kovačić, M.B.; Ondrašek, G.; Zovko, M. Modelling spatial and temporal variability of water quality from different monitoring stations using mixed effects model theory. Sci. Total Environ. 2020, 704, 135875. [Google Scholar] [CrossRef]
- Asadollahfardi, G.; Heidarzadeh, N.; Mosalli, A.; Sekhavati, A. Optimization of water quality monitoring stations using genetic algorithm, a case study, Sefid-Rud River, Iran. Adv. Environ. Res. 2018, 7, 87–107. [Google Scholar]
- Chen, W.; Hao, X.; Lu, J.; Yan, K.; Liu, J.; He, C.; Xu, X. Research and Design of Distributed IoT Water Environment Monitoring System Based on LoRa. Wirel. Commun. Mob. Comput. 2021, 2021, 9403963. [Google Scholar] [CrossRef]
- Martínez, R.; Vela, N.; El Aatik, A.; Murray, E.; Roche, P.; Navarro, J.M. On the Use of an IoT Integrated System for Water Quality Monitoring and Management in Wastewater Treatment Plants. Water 2020, 12, 1096. [Google Scholar] [CrossRef]
- Cao, H.; Guo, Z.; Wang, S.; Cheng, H.; Zhan, C. Intelligent wide-area water quality monitoring and analysis system exploiting unmanned surface vehicles and ensemble learning. Water 2020, 12, 681. [Google Scholar] [CrossRef]
- Chang, H.C.; Hsu, Y.L.; Hung, S.S.; Ou, G.R.; Wu, J.R.; Hsu, C. Autonomous Water Quality Monitoring and Water Surface Cleaning for Unmanned Surface Vehicle. Sensors 2021, 21, 1102. [Google Scholar] [CrossRef]
- Lally, H.T.; O’Connor, I.; Jensen, O.P.; Graham, C.T. Can drones be used to conduct water sampling in aquatic environments? A review. Sci. Total Environ. 2019, 670, 569–575. [Google Scholar] [CrossRef]
- Bussières, S.; Kinnard, C.; Clermont, M.; Campeau, S.; Dubé-Richard, D.; Bordeleau, P.A.; Roy, A. Monitoring Water Turbidity in a Temperate Floodplain Using UAV: Potential and Challenges. Can. J. Remote Sens. 2022, 48, 565–574. [Google Scholar] [CrossRef]
- Castendyk, D.; Voorhis, J.; Kucera, B. A validated method for pit lake water sampling using aerial drones and sampling devices. Mine Water Environ. 2020, 39, 440–454. [Google Scholar] [CrossRef]
- Caldwell, S.H.; Kelleher, C.; Baker, E.A.; Lautz, L.K. Relative information from thermal infrared imagery via unoccupied aerial vehicle informs simulations and spatially-distributed assessments of stream temperature. Sci. Total Environ. 2019, 661, 364–374. [Google Scholar] [CrossRef]
- Wójcik, K.A.; Bialik, R.J.; Osińska, M.; Figielski, M. Investigation of Sediment-Rich Glacial Meltwater Plumes Using a High-Resolution Multispectral Sensor Mounted on an Unmanned Aerial Vehicle. Water 2019, 11, 2405. [Google Scholar] [CrossRef]
- Chen, J.; Wang, Z.; Wu, X.; Chen, X.; Lai, C.; Zeng, Z.; Li, J. Accuracy evaluation of GPM multi-satellite precipitation products in the hydrological application over alpine and gorge regions with sparse rain gauge network. Hydrol. Res. 2019, 50, 1710–1729. [Google Scholar] [CrossRef]
- Pan, X.; Wang, Z.; Ullah, H.; Chen, C.; Wang, X.; Li, X.; Li, H.; Zhuang, Q.; Xue, B.; Yu, Y. Evaluation of Eutrophication in Jiaozhou Bay via Water Color Parameters Determination with UAV-Borne Hyperspectral Imagery. Atmosphere 2023, 14, 387. [Google Scholar] [CrossRef]
- Koparan, C.; Koc, A.B.; Privette, C.V.; Sawyer, C.B. Adaptive Water Sampling Device for Aerial Robots. Drones 2020, 4, 5. [Google Scholar] [CrossRef]
- Sparaventi, E.; Rodriguez-Romero, A.; Navarro, G.; Tovar-Sánchez, A. A Novel Automatic Water Autosampler Operated From UAVs for Determining Dissolved Trace Elements. Front. Mar. Sci. 2022, 9, 879953. [Google Scholar] [CrossRef]
- Koparan, C.; Koc, A.B.; Privette, C.V.; Sawyer, C.B. In Situ Water Quality Measurements Using an Unmanned Aerial Vehicle (UAV) System. Water 2018, 10, 264. [Google Scholar] [CrossRef]
- Banerjee, B.P.; Raval, S.; Maslin, T.J.; Timms, W. Development of a UAV-mounted system for remotely collecting mine water samples. Int. J. Min. Reclam. Environ. 2020, 34, 385–396. [Google Scholar] [CrossRef]
- Davis, A.; Wills, P.S.; Garvey, J.E.; Fairman, W.; Karim, M.A.; Ouyang, B. Developing and Field Testing Path Planning for Robotic Aquaculture Water Quality Monitoring. Appl. Sci. 2023, 13, 2805. [Google Scholar] [CrossRef]
- Cui, X.; Wang, Y.; Yang, S.; Liu, H.; Mou, C. UAV path planning method for data collection of fixed-point equipment in complex forest environment. Front. Neurorobotics 2022, 16, 1105177. [Google Scholar] [CrossRef] [PubMed]
- Radhakrishnan, V.; Wu, W. Energy Efficient Communication Design in UAV Enabled WPCN Using Dome Packing Method in Water Distribution System. Energies 2022, 15, 3844. [Google Scholar] [CrossRef]
- Ore, J.P.; Elbaum, S.; Burgin, A.; Detweiler, C. Autonomous Aerial Water Sampling. J. Field Robot. 2015, 32, 1095–1113. [Google Scholar] [CrossRef]
- Ostertag, M.; Atanasov, N.; Rosing, T. Trajectory Planning and Optimization for Minimizing Uncertainty in Persistent Monitoring Applications. J. Intell. Robot. Syst. 2022, 106, 2. [Google Scholar] [CrossRef]
- Wu, B.; Guo, D.; Zhang, B.; Zhang, X.; Wang, H.; Wang, H.; Jiang, H. Completion time minimization for UAV enabled data collection with communication link constrained. IET Commun. 2022, 16, 1025–1040. [Google Scholar] [CrossRef]
- Strąk, Ł.; Skinderowicz, R.; Boryczka, U.; Nowakowski, A. A Self-Adaptive Discrete PSO Algorithm with Heterogeneous Parameter Values for Dynamic TSP. Entropy 2019, 21, 738. [Google Scholar] [CrossRef]
- Zhong, Y.; Lin, J.; Wang, L.; Zhang, H. Discrete comprehensive learning particle swarm optimization algorithm with Metropolis acceptance criterion for traveling salesman problem. Swarm Evol. Comput. 2018, 42, 77–88. [Google Scholar] [CrossRef]
- Kumar, G.; Anwar, A.; Dikshit, A.; Poddar, A.; Soni, U.; Song, W.K. Obstacle avoidance for a swarm of unmanned aerial vehicles operating on particle swarm optimization: A swarm intelligence approach for search and rescue missions. J. Braz. Soc. Mech. Sci. Eng. 2022, 44, 56. [Google Scholar] [CrossRef]
- Ma, Z.; Chen, J. Adaptive path planning method for UAVs in complex environments. Int. J. Appl. Earth Obs. Geoinf. 2022, 115, 103133. [Google Scholar] [CrossRef]
- Moazen, H.; Molaei, S.; Farzinvash, L.; Sabaei, M. PSO-ELPM: PSO with elite learning, enhanced parameter updating, and exponential mutation operator. Inf. Sci. 2023, 628, 70–91. [Google Scholar] [CrossRef]
- Li, R.; Zhuang, Q.; Yu, N.; Li, R.; Zhang, H. Improved Hybrid Particle Swarm Optimizer with Sine-Cosine AccelerationCoefficients for Transient Electromagnetic Inversion. Curr. Bioinform. 2021, 17, 60–76. [Google Scholar]
- Wu, P.; Wang, D. Classification of a DNA Microarray for Diagnosing Cancer Using a Complex Network Based Method. IEEE/ACM Trans. Comput. Biol. Bioinform. (TCBB) 2019, 16, 801–808. [Google Scholar] [CrossRef]
- Li, S.; Wang, Z.; Wu, X.; Zeng, Z.; Shen, P.; Lai, C. A novel spatial optimization approach for the cost-effectiveness improvement of LID practices based on SWMM-FTC. J. Environ. Manag. 2022, 307, 114574. [Google Scholar] [CrossRef] [PubMed]
- Khan, I.; Pal, S.; Maiti, M.K. A Hybrid PSO-GA Algorithm for Traveling Salesman Problems in Different Environments. Int. J. Uncertain. Fuzziness Knowl. -Based Syst. 2019, 27, 693–717. [Google Scholar] [CrossRef]
- Janoš, J.; Vonásek, V.; Pěnička, R. Multi-Goal Path Planning Using Multiple Random Trees. Ieeerobotics Autom. Lett. 2021, 6, 4201–4208. [Google Scholar] [CrossRef]
- Zhang, S.; Yao, J.; Wang, R.; Tian, Y.; Wang, J.; Zhao, Y. Selection of inspection path optimization scheme based on analytic hierarchy process and inspection experimental study. J. Mech. Sci. Technol. 2023, 37, 355–366. [Google Scholar] [CrossRef]
- Wang, L.; Wang, H.; Yang, X.; Gao, Y.; Cui, X.; Wang, B. Research on smooth path planning method based on improved ant colony algorithm optimized by Floyd algorithm. Front. Neurorobotics 2022, 16, 955179. [Google Scholar] [CrossRef]
- Zhang, L.; Zhang, Y.; Zeng, M.; Li, Y. Robot navigation based on improved A* algorithm in dynamic environment. Assem. Autom. 2021, 41, 419–430. [Google Scholar] [CrossRef]










| Sensor Name | Component Image | Test Range | Operating Voltage (V)/Current (mA) | Accuracy (at 25 °C) | Output Voltage (V) | Operating Temperature (°C) |
|---|---|---|---|---|---|---|
| pH | ![]() | 0–14 | 5 V/(5–10) mA | ±1% | 0–5 | 0–60 |
| Turbidity | ![]() | 0–1000 NTU | 5 V/40 mA | ±5% | 0–4.5 | −20–90 |
| TDS | ![]() | 0–1000 ppm | (3.3–5.0) V/(3–6) mA | ±5% | 0–2.3 | 0–55 |
| Water Quality Parameters | Depth: 1 m | Depth: 2 m | ||||
|---|---|---|---|---|---|---|
| Maximum Value | Minimum Value | Mean Value | Maximum Value | Minimum Value | Mean Value | |
| TDS (ppm) | 92 | 82 | 84.35 | 88 | 83 | 84.35 |
| Turbidity (NTU) | 84.4 | 16 | 34.16 | 103 | 21.3 | 58.42 |
| pH | 8.52 | 6.95 | 7.72 | 8.44 | 6.9 | 7.485 |
| Nitrite (mg/L) | 0.025 | 0.001 | 0.011 | 0.08 | 0.001 | 0.013 |
| Ammonia Nitrogen (mg/L) | 1.37 | 0.02 | 0.37 | 0.64 | 0.01 | 0.31 |
| DO (mg/L) | 14.42 | 3.5 | 9.47 | 12.65 | 3.87 | 7.25 |
Disclaimer/Publisher’s Note: The statements, opinions and data contained in all publications are solely those of the individual author(s) and contributor(s) and not of MDPI and/or the editor(s). MDPI and/or the editor(s) disclaim responsibility for any injury to people or property resulting from any ideas, methods, instructions or products referred to in the content. |
© 2023 by the authors. Licensee MDPI, Basel, Switzerland. This article is an open access article distributed under the terms and conditions of the Creative Commons Attribution (CC BY) license (https://creativecommons.org/licenses/by/4.0/).
Share and Cite
Zhang, R.; Wang, Z.; Li, X.; She, Z.; Wang, B. Water Quality Sampling and Multi-Parameter Monitoring System Based on Multi-Rotor UAV Implementation. Water 2023, 15, 2129. https://doi.org/10.3390/w15112129
Zhang R, Wang Z, Li X, She Z, Wang B. Water Quality Sampling and Multi-Parameter Monitoring System Based on Multi-Rotor UAV Implementation. Water. 2023; 15(11):2129. https://doi.org/10.3390/w15112129
Chicago/Turabian StyleZhang, Rihong, Zhenhao Wang, Xiaomin Li, Zipeng She, and Baoe Wang. 2023. "Water Quality Sampling and Multi-Parameter Monitoring System Based on Multi-Rotor UAV Implementation" Water 15, no. 11: 2129. https://doi.org/10.3390/w15112129
APA StyleZhang, R., Wang, Z., Li, X., She, Z., & Wang, B. (2023). Water Quality Sampling and Multi-Parameter Monitoring System Based on Multi-Rotor UAV Implementation. Water, 15(11), 2129. https://doi.org/10.3390/w15112129




