A Permeability Estimation Method Based on Elliptical Pore Approximation
Abstract
:1. Introduction
2. Methods
2.1. The Improved Finite Difference Method
2.2. Elliptical Pore Approximation Method for the Calculation of Coefficient w
3. Model Validation
3.1. Model One: Straight Tubes with a Rectangular Cross Section
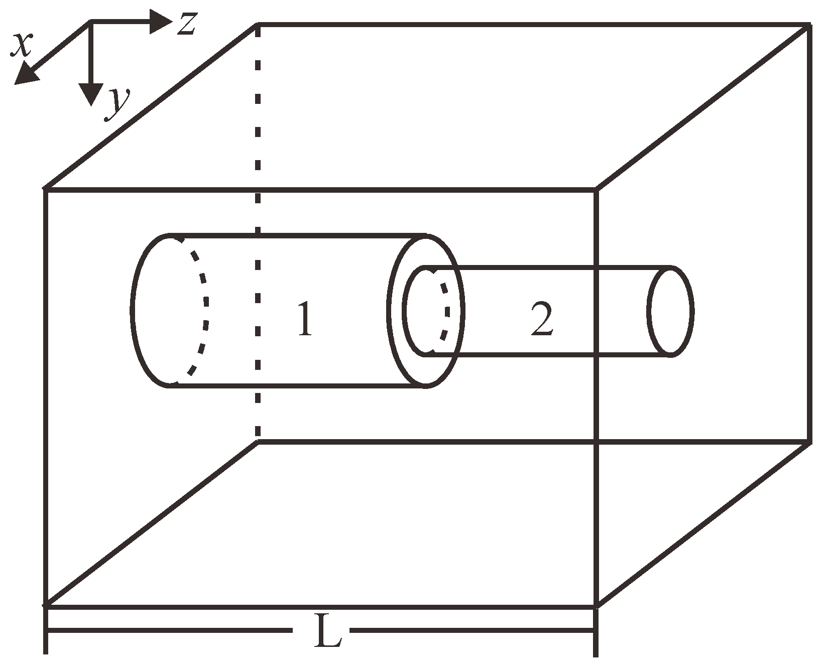
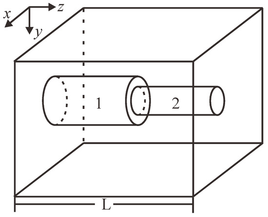
3.2. Model Two: Two Tube Segments with Circular Cross Sections in Sequence
3.3. Model Three: A Model Consisting of Five Tubes with Circular Cross Sections
3.4. Model Four: A Model Consisting of Three Tubes with Circular Cross Sections
3.5. The Permeability of Digital Rock Image
- (1)
- Mark an unlabeled pixel as a seed. Mark the seed and create an empty stack;
- (2)
- All the neighboring pore pixels with a distance of 1 from the seed are retrieved. If the adjacent pore pixels are not marked, the adjacent pore pixels are incorporated into the stack;
- (3)
- Take out a pixel from the top of the stack as a new seed and repeat step (2);
- (4)
- Repeat steps (2) and (3) continuously until the stack is empty again.
4. Results and Discussion
5. Conclusions
Author Contributions
Funding
Institutional Review Board Statement
Informed Consent Statement
Data Availability Statement
Acknowledgments
Conflicts of Interest
Nomenclature
| a | Semi-major axis of the elliptical tube |
| Aij | Cross-sectional area of one cube |
| B | Given column vector of boundary conditions |
| b | Semi-minor axis of the elliptical tube |
| C1 | Carbonate digital rock |
| CT | Computed tomography |
| D | Darcy |
| d | Digital equivalent of r |
| dmax | Digital equivalent of rmax |
| dp/dz | Pressure gradient in direction of z |
| f | Shape factor |
| FDM | Finite difference method |
| fi | Ratio of volumetric flow rate in tube i |
| g | The gravitational acceleration |
| i | Horizontal coordinate on the cross section normal to the macroscopic flow direction |
| IFDM | Improved finite difference method |
| Jij | Mass flux of one cube on a one-cell thick layer normal to the macroscopic flow direction |
| J | Mass flux |
| j | Vertical coordinate on the cross section normal to the macroscopic flow direction |
| K | Effective permeability |
| kkc | Effective permeability calculated by the Kozeny equation |
| Krectangular | Analytical permeability of the straight tube |
| k1 | Permeability of this model in one direction |
| L | Length of the porous media in the macroscopic flow direction |
| Le | The total length of the tube in model four |
| LBM | Lattice-Boltzmann method |
| Nx | The number of pixels in the direction of x |
| Ny | The number of pixels in the direction of y |
| Nz | The number of pixels in the direction of z |
| Qtot | Total volume flow rate of the porous media in the macroscopic flow direction PO: outlet pressure |
| p | The pressure in the model |
| P | Unknown column vector consisting of the pressures of the center of the cubes |
| PI | Inlet pressure |
| FDGPA | Finite-difference geometrical pore approximation |
| Q | Volume flow rate |
| rmax | Largest inscribed radius |
| r | Distance to the pore wall |
| S | The number of different regions |
| Si | Length of tube i |
| Sr | Specific surface area per unit pore volume |
| W | Coefficient matrix |
| 3D | Three dimensional |
| μ | Fluid viscosity |
| ρ | Fluid density |
| wx | Coefficient in direction of x |
| wy | Coefficient in direction of yd |
| wz | Coefficient in direction of z |
| w | Coefficient of one cube |
| Δpij | Pressure drop between this cube and the adjacent cube in the macroscopic flow direction |
| ϕ | Porosity |
| τ | Hydraulic tortuosity |
| δa | The diameters of tube 1 and 5 in model three |
| δb | The diameters of tube 2 and 4 in model three |
| δc | The diameters of tube 3 in model three |
| Δη | Applied piezometric head drop |
References
- Mostaghimi, P.; Blunt, M.J.; Bijeljic, B. Computations of absolute permeability on micro-CT images. Math. Geosci. 2013, 45, 103–125. [Google Scholar] [CrossRef]
- Esterhuizen, G.; Karacan, C. A methodology for determining gob permeability distributions and its application to reservoir modeling of coal mine longwalls. In Proceedings of the SME Annual Meeting, Denver, CO, USA, 25–28 February 2007. [Google Scholar]
- Tutak, M.; Brodny, J. The impact of the strength of roof rocks on the extent of the zone with a high risk of spontaneous coal combustion for fully powered longwalls ventilated with the y-type system—A case study. Appl. Sci. 2019, 9, 5315. [Google Scholar] [CrossRef] [Green Version]
- Arns, C.H.; Knackstedt, M.A.; Pinczewski, M.V.; Lindquist, W.B. Accurate estimation of transport properties from microtomographic images. Geophys. Res. Lett. 2001, 28, 3361–3364. [Google Scholar] [CrossRef]
- Arns, C.H.; Knackstedt, M.A.; Pinczewski, W.V.; Martys, N.S. Virtual permeametry on microtomographic images. J. Pet. Sci. Eng. 2004, 45, 41–46. [Google Scholar] [CrossRef]
- Arns, C.H.; Bauget, F.; Limaye, A.; Sakellariou, A.; Senden, T.; Sheppard, A.; Sok, R.M.; Pinczewski, V.; Bakke, S.; Berge, L.I. Pore scale characterization of carbonates using X-ray microtomography. SPE J. 2005, 10, 475–484. [Google Scholar] [CrossRef]
- Keehm, Y.; Mukerji, T.; Nur, A. Permeability prediction from thin sections: 3D reconstruction and Lattice-Boltzmann flow simulation. Geophys. Res. Lett. 2004, 31, L04606. [Google Scholar] [CrossRef]
- Knackstedt, M.A.; Latham, S.; Madadi, M.; Sheppard, A.; Varslot, T.; Arns, C. Digital rock physics: 3D imaging of core material and correlations to acoustic and flow properties. Lead. Edge 2009, 28, 28–33. [Google Scholar] [CrossRef]
- Zhao, J.; Sun, J.; Liu, X.; Chen, H.; Cui, L. Numerical simulation of the electrical properties of fractured rock based on digital rock technology. J. Geophys. Eng. 2013, 10, 055009. [Google Scholar] [CrossRef]
- Orlov, D.; Ebadi, M.; Muravleva, E.; Volkhonskiy, D.; Koroteev, D. Different Methods of Permeability Calculation in Digital Twins of Tight Sandstones. J. Nat. Gas Sci. Eng. 2021, 87, 103750. [Google Scholar] [CrossRef]
- Cai, J.; Sun, S.; Habibi, A.; Zhang, Z. Emerging Advances in Petrophysics: Porous Media Characterization and Modeling of Multiphase Flow. Energies 2019, 12, 282. [Google Scholar] [CrossRef] [Green Version]
- Tryggvason, G.; Bunner, B.; Esmaeeli, A.; Juric, D.; Al-Rawahi, N.; Tauber, W.; Han, J.; Nas, S.; Jan, Y.-J. A front-tracking method for the computations of multiphase flow. J. Comput. Phys. 2001, 169, 708–759. [Google Scholar] [CrossRef] [Green Version]
- Blunt, M.J. Flow in porous media—Pore-network models and multiphase flow. Curr. Opin. Colloid Interface Sci. 2001, 6, 197–207. [Google Scholar] [CrossRef]
- Parker, J.; Lenhard, R.; Kuppusamy, T. A parametric model for constitutive properties governing multiphase flow in porous media. Water Resour. Res. 1987, 23, 618–624. [Google Scholar] [CrossRef]
- Gao, Z.; Dang, W.; Mu, C.; Yang, Y.; Li, S.; Grebogi, C. A novel multiplex network-based sensor information fusion model and its application to industrial multiphase flow system. IEEE Trans. Ind. Inform. 2018, 14, 3982–3988. [Google Scholar] [CrossRef] [Green Version]
- Saxena, N.; Alpak, F.O.; Hows, A.; Freeman, J.; Hofmann, R.; Appel, M. Estimating Fluid Saturations from Capillary Pressure and Relative Permeability Simulations Using Digital Rock. Transp. Porous Media 2021, 136, 863–878. [Google Scholar] [CrossRef]
- Guo, Z.; Zhao, T. Lattice Boltzmann model for incompressible flows through porous media. Phys. Rev. E 2002, 66, 036304. [Google Scholar] [CrossRef]
- Wang, J.; Chen, L.; Kang, Q.; Rahman, S.S. The lattice Boltzmann method for isothermal micro-gaseous flow and its application in shale gas flow: A review. Int. J. Heat Mass Transf. 2016, 95, 94–108. [Google Scholar] [CrossRef] [Green Version]
- He, X.; Luo, L.-S. Lattice Boltzmann model for the incompressible Navier–Stokes equation. J. Stat. Phys. 1997, 88, 927–944. [Google Scholar] [CrossRef]
- Zakirov, T.; Galeev, A. Absolute permeability calculations in micro-computed tomography models of sandstones by Navier-Stokes and lattice Boltzmann equations. Int. J. Heat Mass Transf. 2019, 129, 415–426. [Google Scholar] [CrossRef]
- Yang, L.; Yang, J.; Boek, E.; Sakai, M.; Pain, C. Image-based simulations of absolute permeability with massively parallel pseudo-compressible stabilised finite element solver. Comput. Geosci. 2019, 23, 881–893. [Google Scholar] [CrossRef]
- Zhang, H.; Yin, X.; Zong, Z. Rock moduli estimation of inhomogeneous two-phase media with finite difference modeling algorithm. J. Geophys. Eng. 2018, 15, 1517–1527. [Google Scholar]
- Alpak, F.; Samardžić, A.; Frank, F. A distributed parallel direct simulator for pore-scale two-phase flow on digital rock images using a finite difference implementation of the phase-field method. J. Pet. Sci. Eng. 2018, 166, 806–824. [Google Scholar] [CrossRef]
- Osorno, M.; Uribe, D.; Ruiz, O.E.; Steeb, H. Finite difference calculations of permeability in large domains in a wide porosity range. Arch. Appl. Mech. 2015, 85, 1043–1054. [Google Scholar] [CrossRef] [Green Version]
- Igboekwe, M.U.; Achi, N.J. Finite difference method of modelling groundwater flow. J. Water Resour. Prot. 2011, 3, 192–198. [Google Scholar] [CrossRef] [Green Version]
- Narasimhan, T.N.; Witherspoon, P.A. An integrated finite difference method for analyzing fluid flow in porous media. Water Resour. Res. 1976, 12, 57–64. [Google Scholar] [CrossRef] [Green Version]
- Shabro, V.; Torres-Verdín, C.; Javadpour, F.; Sepehrnoori, K. Finite-difference approximation for fluid-flow simulation and calculation of permeability in porous media. Transp. Porous Media 2012, 94, 775–793. [Google Scholar] [CrossRef]
- Jqa, B.; Mma, B.; Haab, C. An investigation on the robustness and accuracy of permeability estimation from 3D μ-CT images of rock samples based on the solution of Laplace‘s equation for pressure. Comput. Geosci. 2021, 155, 104857. [Google Scholar]
- Manwart, C.; Aaltosalmi, U.; Koponen, A.; Hilfer, R.; Timonen, J. Lattice-Boltzmann and finite-difference simulations for the permeability for three-dimensional porous media. Phys. Rev. E 2002, 66, 016702. [Google Scholar] [CrossRef] [Green Version]
- Bryant, S.L.; King, P.R.; Mellor, D.W. Network model evaluation of permeability and spatial correlation in a real random sphere packing. Transp. Porous Media 1993, 11, 53–70. [Google Scholar] [CrossRef]
- Srisutthiyakorn, N.; Mavko, G. Computation of grain size distribution in 2-D and 3-D binary images. Comput. Geosci. 2019, 126, 21–30. [Google Scholar] [CrossRef]
- Liu, L.F.; Zhang, Z.P.; Yu, A.B. Dynamic simulation of the centripetal packing of mono-sized spheres. Phys. A Stat. Mech. Its Appl. 1999, 268, 433–453. [Google Scholar] [CrossRef]
- Mason, G.; Mellor, D.W. Simulation of drainage and imbibition in a random packing of equal spheres. J. Colloid Interface Sci. 1995, 176, 214–225. [Google Scholar] [CrossRef]
- Javadpour, F.; Pooladi-Darvish, M. Network modelling of apparent-relative permeability of gas in heavy oils. J. Can. Pet. Technol. 2004, 43, 23–30. [Google Scholar] [CrossRef]
- Raoof, A.; Hassanizadeh, S.M. A new method for generating pore-network models of porous media. Transp. Porous Media 2010, 81, 391–407. [Google Scholar] [CrossRef] [Green Version]
- Wang, J.-Q.; Zhao, J.-F.; Yang, M.-J.; Li, Y.-H.; Liu, W.-G.; Song, Y.-C. Permeability of laboratory-formed porous media containing methane hydrate: Observations using X-ray computed tomography and simulations with pore network models. Fuel 2015, 145, 170–179. [Google Scholar] [CrossRef]
- An, S.; Yao, J.; Yang, Y.; Zhang, L.; Zhao, J.; Gao, Y. Influence of pore structure parameters on flow characteristics based on a digital rock and the pore network model. J. Nat. Gas Sci. Eng. 2016, 31, 156–163. [Google Scholar] [CrossRef]
- Mahabadi, N.; Dai, S.; Seol, Y.; Sup Yun, T.; Jang, J. The water retention curve and relative permeability for gas production from hydrate-bearing sediments: Pore-network model simulation. Geochem. Geophys. Geosystems 2016, 17, 3099–3110. [Google Scholar] [CrossRef]
- Jiang, L.; Liu, Y.; Teng, Y.; Zhao, J.; Zhang, Y.; Yang, M.; Song, Y. Permeability estimation of porous media by using an improved capillary bundle model based on micro-CT derived pore geometries. Heat Mass Transf. 2017, 53, 49–58. [Google Scholar] [CrossRef]
- Tan, M.; Su, M.; Liu, W.; Song, X.; Wang, S. Digital core construction of fractured carbonate rocks and pore-scale analysis of acoustic properties. J. Pet. Sci. Eng. 2021, 196, 107771. [Google Scholar] [CrossRef]
- Betelin, V.; Galkin, V.; Shpilman, A.; Smirnov, N. Digital core simulator—A promising method for developming hard-to-recover oil reserves technology. Mater. Phys. Mech. 2020, 44, 186–209. [Google Scholar]
- Chu, C.F.; Ng, K.M. Flow in packed tubes with a small tube to particle diameter ratio. AIChE J. 1989, 35, 148–158. [Google Scholar] [CrossRef]
- Cai, J.; Perfect, E.; Cheng, C.-L.; Hu, X. Generalized modeling of spontaneous imbibition based on Hagen–Poiseuille flow in tortuous capillaries with variably shaped apertures. Langmuir 2014, 30, 5142–5151. [Google Scholar] [CrossRef] [PubMed]
- White, F.M. Viscous Fluid Flow, 2nd ed.; McGraw Hill: New York, NY, USA, 1991. [Google Scholar]
- van der Vors, H.A. CGSTAB: A fast and smoothly converging variant of BI CG for the solution of nonsymmetrical linear sys tems. SIAM J. Sci. Stat. Comput. 1992, 13, 631–644. [Google Scholar] [CrossRef]
- Wei, S.; Shen, J.; Yang, W.; Li, Z.; Di, S.; Ma, C. Application of the renormalization group approach for permeability estimation in digital rocks. J. Pet. Sci. Eng. 2019, 179, 631–644. [Google Scholar] [CrossRef]
- Berg, C.F. Permeability description by characteristic length, tortuosity, constriction and porosity. Transp. Porous Media 2014, 103, 381–400. [Google Scholar] [CrossRef] [Green Version]
- Ruth, D.; Suman, R. The râle of microscopic cross flow in idealized porous media. Transp. Porous Media 1992, 7, 103–125. [Google Scholar] [CrossRef]
- Kozeny, J. Uber kapillare leitung des wassers in boden. R. Acad. Sci. Vienna Proc. Cl. I 1927, 136, 271–306. [Google Scholar]
- Dong, H. Micro-CT Imaging and Pore Network Extraction. Ph.D. Thesis, Department of Earth Science and Engineering, Imperial College, London, UK, 2007. [Google Scholar]
- Carman, P.C. Fluid flow through granular beds. Trans. Inst. Chem. Eng 1937, 15, 150–166. [Google Scholar] [CrossRef]
- Fauzi, U. An estimation of rock permeability and its anisotropy from thin sections using a renormalization group approach. Energy Sources Part A Recovery Util. Environ. Eff. 2011, 33, 539–548. [Google Scholar] [CrossRef]
- Babadagli, T.; Al-Salmi, S. A review of permeability-prediction methods for carbonate reservoirs using well-log data. SPE Reserv. Eval. Eng. 2004, 7, 75–88. [Google Scholar] [CrossRef]
- Mercier, B.; Meneveaux, D. Shape from silhouette: Image pixels for marching cubes. J. WSCG 2005, 13, 112–118. [Google Scholar]
- Chang, H.; Chen, Z.; Huang, Q.; Shi, J.; Li, X. Graph-based learning for segmentation of 3D ultrasound images. Neurocomputing 2015, 151, 632–644. [Google Scholar] [CrossRef]
- Heckbert, P.S. A Seed Fill Algorithm; Academic Press: Boston, MA, USA, 1990; pp. 275–277. [Google Scholar]
- Dong, H.; Blunt, M.J. Pore-network extraction from micro-computerized-tomography images. Phys. Rev. E 2009, 80, 36307–36318. [Google Scholar] [CrossRef] [PubMed] [Green Version]
























| Berea | C1 | S1 | S2 | S3 | S4 | S5 | S6 | S7 | S8 | S9 | |
|---|---|---|---|---|---|---|---|---|---|---|---|
| Porosity (%) | 19.6 | 23.3 | 14.1 | 24.6 | 16.9 | 17.1 | 21.1 | 24 | 25.1 | 34 | 22.2 |
| Resolution (μm) | 5.35 | 2.85 | 8.68 | 4.96 | 9.1 | 8.96 | 3.997 | 5.1 | 4.80 | 4.89 | 3.40 |
| Original digital rock image size | 4003 | 4003 | 3003 | 3003 | 3003 | 3003 | 3003 | 3003 | 3003 | 3003 | 3003 |
Publisher’s Note: MDPI stays neutral with regard to jurisdictional claims in published maps and institutional affiliations. |
© 2021 by the authors. Licensee MDPI, Basel, Switzerland. This article is an open access article distributed under the terms and conditions of the Creative Commons Attribution (CC BY) license (https://creativecommons.org/licenses/by/4.0/).
Share and Cite
Wei, S.; Wang, K.; Zhang, H.; Zhang, J.; Wei, J.; Han, W.; Niu, L. A Permeability Estimation Method Based on Elliptical Pore Approximation. Water 2021, 13, 3290. https://doi.org/10.3390/w13223290
Wei S, Wang K, Zhang H, Zhang J, Wei J, Han W, Niu L. A Permeability Estimation Method Based on Elliptical Pore Approximation. Water. 2021; 13(22):3290. https://doi.org/10.3390/w13223290
Chicago/Turabian StyleWei, Shuaishuai, Kun Wang, Huan Zhang, Junming Zhang, Jincheng Wei, Wenyang Han, and Lei Niu. 2021. "A Permeability Estimation Method Based on Elliptical Pore Approximation" Water 13, no. 22: 3290. https://doi.org/10.3390/w13223290
APA StyleWei, S., Wang, K., Zhang, H., Zhang, J., Wei, J., Han, W., & Niu, L. (2021). A Permeability Estimation Method Based on Elliptical Pore Approximation. Water, 13(22), 3290. https://doi.org/10.3390/w13223290

