Next Article in Journal / Special Issue
Jackson R. Herring and the Statistical Closure Problem of Turbulence: A Review of Renormalized Perturbation Theories
Previous Article in Journal
Methane Emissions from a State-of-the-Art LNG-Powered Vessel
Previous Article in Special Issue
Two-Dimensional Flow on the Sphere
 
 
Font Type:
Arial Georgia Verdana
Font Size:
Aa Aa Aa
Line Spacing:
Column Width:
Background:
Article

Turbulent Convection at Very High Rayleigh Numbers and the Weakly Nonlinear Theory

by
Katepalli R. Sreenivasan
1,*,† and
Joseph J. Niemela
2,†
1
Department of Physics, Department of Mechanical and Aerospace Engineering, Courant Institute of Mathematical Sciences, New York University, New York City, NY 10012, USA
2
The Abdus Salam International Center for Theoretical Physics, 34151 Trieste, Italy
*
Author to whom correspondence should be addressed.
These authors contributed equally to this work.
Atmosphere 2023, 14(5), 826; https://doi.org/10.3390/atmos14050826
Submission received: 11 March 2023 / Revised: 27 April 2023 / Accepted: 27 April 2023 / Published: 4 May 2023

Abstract

To provide insights into the challenging problem of turbulent convection, Jack Herring used a greatly truncated version of the complete Boussinesq equations containing only one horizontal wavenumber. In light of later observations of a robust large-scale circulation sweeping through convecting enclosures at high Rayleigh numbers, it is perhaps not an implausible point of view from which to reexamine high-Rayleigh-number data. Here we compare past experimental data on convective heat transport at high Rayleigh numbers with predictions from Herring’s model and, in fact, find excellent agreement. The model has only one unknown parameter compared to the two free parameters present in the lowest-order least-squares power-law fit. We discuss why the underlying simplistic physical picture, meant to work at Rayleigh numbers slightly past the critical value of a few thousand, is consistent with the data when the single free parameter in it is revised, over some eleven decades of the Rayleigh number—stretching from about a million to about 10 17 .

1. Introduction

Turbulent thermal convection is a grand problem because of its importance in astrophysical and planetary contexts and ubiquity in engineering applications from the cooling of nuclear reactors to the cooling of computer chips. The scientific paradigm of thermal convection is the so-called Rayleigh–Bénard convection (RBC), in which a layer of viscous fluid between two smooth horizontal plates is heated at the bottom wall and cooled at the top. In practice, the fluid is constrained by side walls that are non-conducting, so the heat input to the bottom plate is communicated to the top plate entirely through the fluid layer. A theoretical analysis of the resulting fluid flow usually incorporates the so-called Boussinesq approximation [1]. Allowing non-Boussinesq effects opens up the problem to many incompletely understood features [1,2,3,4].
We had earlier set out to measure the heat transfer due to turbulent convection in a 1 m tall sample space with a diameter-to-height aspect ratio Γ = 1 / 2 , using cryogenic helium gas as the working fluid [5]. The purpose of using low-temperature helium gas was to enable extremely high Rayleigh numbers (up to 10 17 ) to be attained while keeping conditions nearly Boussinesq (see [2] for a detailed assessment), and to take advantage of the thermal isolation of the apparatus afforded by the cryogenic environment. The details of the experiment and its execution are provided in [2,5] and summarized in the following section. Our goal in this short paper is to compare the analysis of Herring [6,7] with experimental results on heat transport measured in high-Rayleigh-number turbulent convection. While Herring’s formula was derived for the immediate supercritical state of convection where nonlinearities are weak, we find that it agrees with experimental data over 11 decades of Rayleigh number—all in the turbulent state. For an introduction to turbulent convection and its scaling, we refer the reader to reference [8].
A few background comments are in order on the traditional framework of RBC. The thermal driving of the flow is the temperature difference between the top and bottom plates, which is measured in terms of the Rayleigh number, defined as
R a = g α Δ T H 3 ν κ ,
where g is the acceleration due to gravity, α is the isobaric thermal expansion coefficient, Δ T is the temperature difference across a vertical fluid layer of height H, and ν and κ are the kinematic viscosity and thermal diffusivity of the fluid, respectively. The response of the flow is the heat transport across the fluid height, measured in terms of the so-called Nusselt number, N u , which is the actual amount of heat transport effected by convection to that possible (for the same Δ T ) by thermal conduction alone. One could also include the dependence of N u on the Prandtl number, P r = ν / κ , so a fundamental problem of thermal convection is to determine the functional dependence of N u on R a and P r . Another response of the flow is the Reynolds number of the convective motion, but we shall not consider it here.
As in most other turbulence problems (and for all many-body problems in 3D), RBC also cannot be solved fully from a theoretical point of view, so there are only scaling theories. There are two schools of thought. That due to Malkus [9] and Spiegel [10] says that
N u = 0.073 R a 1 / 3 ,
with no dependence on P r . The underlying physics is the so-called marginal stability of the top and bottom boundary layers [11]. On the other hand, Kraichnan [12] argued that the boundary layers will become irrelevant at very high R a and obtained the explicit formula
N u = C P r 1 / 4 { R a / l o g ( R a ) 3 } 1 / 2
on the basis of an analysis of the top and bottom boundary layers (which were particularly incompletely understood then). Even though Kraichnan made valiant efforts to obtain the constant C, the details are tenuous and so nothing is lost, at least for our purposes, in regarding it as an unknown constant. See also [13,14] for similar predictions of the Rayleigh number dependence, but they do not go into any boundary layer details.
Because Kraichnan’s formula demands very high R a , the 1 2 -power dependence on R a (with logarithmic corrections), including an explicit Prandtl number dependence, is thought to represent the “ultimate state” or the “asymptotic state” of RBC. As Spiegel [13] remarked, the difference between formulae (2) and (3) needs to be resolved because it would then suggest the correct physics that operates at high R a . We will take up this thread shortly.
From a different perspective, the weakly nonlinear theory of Herring, as summarized by Busse [15], with a long pedigree involving Lou Howard, Willem Malkus, Paul Roberts, and Fritz Busse, gives
N u = D { R a 3 / 2 l n ( R a ) 3 / 2 } 1 / 5 ,
where the constant D = 0.24 was theoretically calculated by maximizing the heat transport accomplished by a single wavenumber. We now examine the relevance of each formula, (2)–(4), using experimental data described below. We emphasize that the data of [5] have been repeated in part [16], but a completely independent effort would be desirable.

2. Brief Comments on the Experimental Data

As stated above, our goals in the experiments of Ref. [5] were to maximize the Rayleigh number attainable and to place all high Rayleigh numbers within the turbulent regime, for obtaining robust scaling relations. As already stated, cryogenic helium gas was used as the working fluid. The apparatus has been described in the above reference and is briefly repeated here: The sample space was cylindrical in shape and 1 m tall, formed by a thin tubular stainless steel wall 0.267 cm thick, with top and bottom heated plates 3.8 cm in thickness and made of copper annealed under oxygen-free conditions. The thermal conductivity of the copper was on the order of 2 kW m−1 K−1 at a temperature of roughly 5K. Serpentine thin film heaters were attached to both plates. The top plate was connected to a helium reservoir through an adjustable thermal link and held at constant temperature by means of a resistance bridge and servo. A constant heating was applied to the bottom plate, and constant temperature conditions at the plate were attained after an adequate waiting time. The sample space was insulated using radiation shields held at helium and nitrogen temperatures within a common cryo-pumped vacuum space. Corrections were made for a small adiabatic temperature gradient across the fluid due to the relatively large height. An important parameter is the Biot number, comparing the thermal resistance of the plates to that of the fluid, which remains negligibly small up to Rayleigh numbers of 10 16 where it is still under 1%. Consequently, the nature of plume generation is not artificially limited by the thermal recovery time of the plates; it is a particular advantage of low-temperature systems. Cryogenic helium gas has other advantages: (1) it has the lowest kinematic viscosity of all known substances and (2) by operating the experiment close to the critical point, the divergence of the specific heat C P means that R a α ρ 2 C P , where α is thermodynamically related to C P , reaches extremely large values. Quoting from [17], where these factors were discussed in a bit more detail, we have: “For non-interacting gases, α = 1 / T , and so, low temperatures themselves have a particular advantage for buoyancy-driven flows. …In summary, it is the combination α / ν κ that determines the Rayleigh number…”. There are two further advantages in using cryogenic helium: it is possible to stay closer to the Boussinesq approximation than in other fluids while attaining very high values of R a , and one can achieve excellent thermal isolation as indicated above.

3. Power Laws and Herring’s Formula

The experimental data of [5] suggest a power law with a scaling exponent slightly less than 1 / 3 . We showed in [5] that the least squares fit to the data over the entire turbulent range ( 10 6 < R a < 10 17 ) is
N u = 0.124 R a 0.309 .
This is indeed the simplest fit possible with two parameters: the amplitude and the slope of a linear fit of log( N u ) vs. log( R a ). The fit (see the red dashed line in Figure 1) is excellent for the entire data. Note that there is no ambiguity in the data that the small difference of the exponent from 1 / 3 is real, perhaps to be regarded as some kind of intermittency correction (see, for example, Ref. [17]), but there could also be other valid reasons for this slight departure (which could be accounted for by introducing a subleading term). Indeed, numerical simulations at high R a in a slender convection cell [18] suggest an exponent somewhat closer to 1/3, but it certainly appears far from the half-power in R a .
In Figure 1 we also show as the blue dashed line Herring’s prediction for turbulent convection between rigid boundaries, given by Equation (4), with the prefactor D = 0.06 . The prefactor, the only free parameter in the expression, was obtained by fitting the function to the data. We note that the exponent 0.3 in Equation (4) is also applied to the ln( R a ) term so that the effective exponent is slightly larger and, in fact, Herring’s formula fits the data as well as the power-law fit, Equation (5), as can be seen better in Figure 2. We emphasize that, instead of two constants of the power law, only the amplitude is an adjustable parameter in Herring’s formula.
In fact, Figure 2 shows the raw data normalized by both fits and it is clear that each of them is equally good and satisfactory overall. We also note that a considerable substructure to the data exists, which could suggest various changes in the flow, as hinted in the caption to Figure 2, while preserving the same global trend. We shall give in Section 5 a brief interpretation of the empirically determined prefactor in Equation (4).

4. Remarks on the Ultimate State

A brief historical account of the “ultimate” state is provided in the Appendix A. Here we are content to compare the performance of the Kraichnan formula with those of the other two; see Figure 3. To bring them all onto one plot, we set C = 0.04 in the Kraichnan formula and compressed the vertical scale by a factor of about 5. On this scale the bottom two fits mask the substructure apparent in Figure 2 and are almost perfectly straight and horizontal lines, showing that both Equations (4) and (5) work very well from a global perspective. The Kraichnan formula is obviously far from being successful in reducing the data to a horizontal line, so it is clear that it has no global relevance, unlike the other two. However, the curve appears to flatten for high R a , tantalizingly suggesting a possible approach to the ultimate state. We shall consider this proposition below.
Figure 4 shows an enlarged plot of the Nusselt number against R a for the last decade and a half or so. The best fit to those data is a power-law exponent of 0.317, which is only minutely larger (by about 2.5%) than the global exponent of 0.309 (and quite close to the finding in [18]). No reasonable person would think that the slope is approaching a value of half. From a slightly different perspective, Figure 5 shows the high- R a end of the data of Figure 3; it is clear that the tendency to flatten, which might have been inferred from Figure 3, is an illusion caused by the compressed scale. It is not clear what functional form the normalized data in Figure 5 should take, but, if we fit a power law to the last two decades of R a , it yields a power law with an exponent of 0.033 .
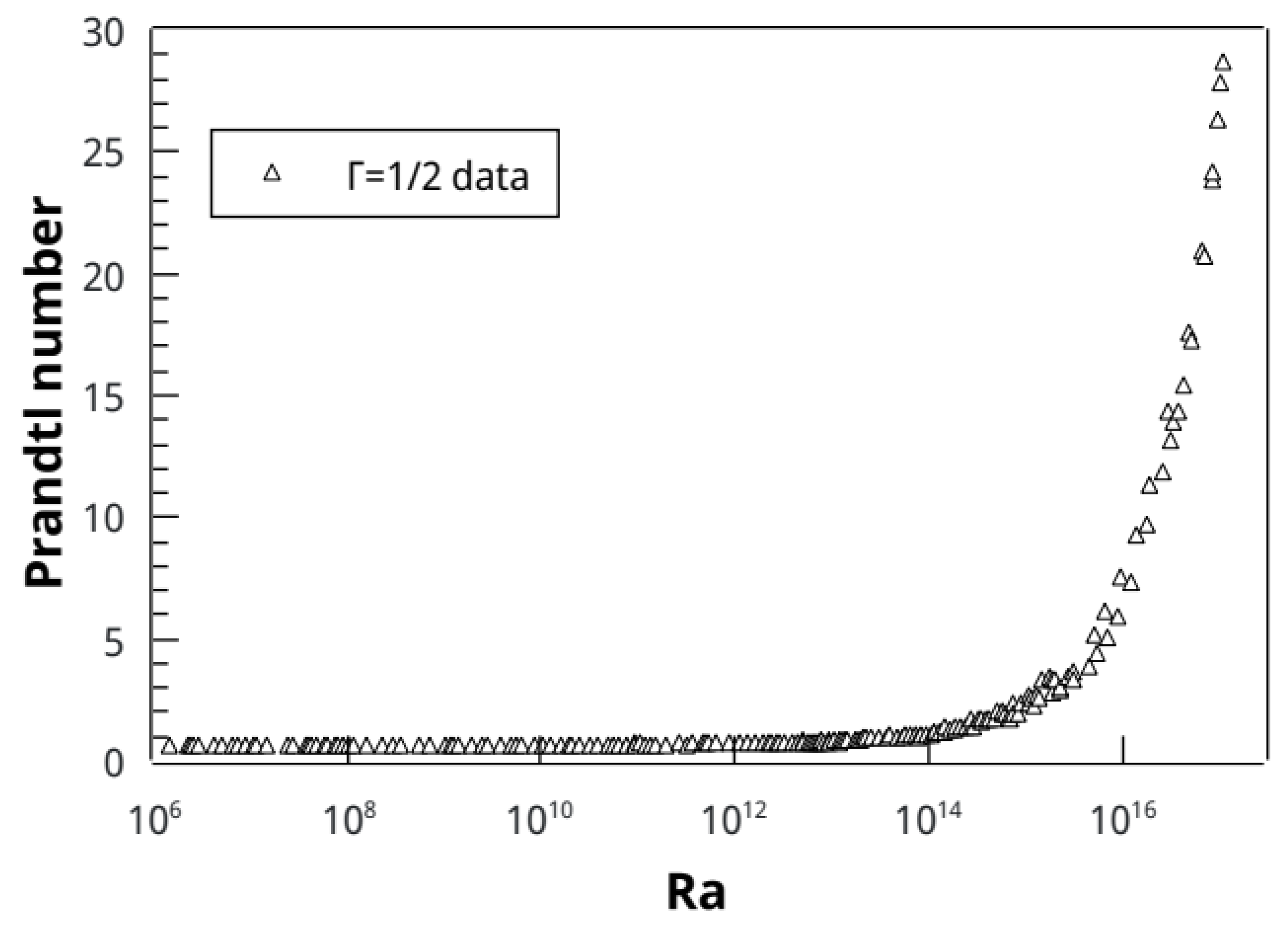
An unstated argument sometimes adduced by the adherents of the ultimate state is to point out that the Prandtl number was not constant in the measurements of [5] over the last two or so decades of R a . This behavior was discussed at length in [2] and is reproduced in Figure 6. However, the variation of the Nusselt number on the Prandtl number is very weak for moderate Prandtl numbers in the range encountered here (see, e.g., [20]). Thus, one cannot argue that the rise in Prandtl number is the reason why the data do not approach the half-power. Our conclusion could be different if the interpretation of the data has the benefit of a precise theory for how the heat transport depends on the Prandtl number.
Figure 3. N u normalized according to Equations (4) and (5) as in Figure 2 but with compressed vertical scale to allow for normalization by Kraichnan’s formula to appear on the same plot. Squares, Nu normalized by Herring’s formula (Equation (4)). Circles, N u normalized by the least-squares fit to the raw data, Equation (5), with a vertical shift of +1.0 for clarity. Triangles, N u normalized according to Kraichnan’s formula for high R a and moderate Prandtl number (Equation (3) with C = 0.04 ) with a vertical shift of +2.0 for clarity (see text). Here and in Figure 5, the dependence on the Prandtl number is left implicit in the notation f( R a ) as applied to Equation (3).
Figure 3. N u normalized according to Equations (4) and (5) as in Figure 2 but with compressed vertical scale to allow for normalization by Kraichnan’s formula to appear on the same plot. Squares, Nu normalized by Herring’s formula (Equation (4)). Circles, N u normalized by the least-squares fit to the raw data, Equation (5), with a vertical shift of +1.0 for clarity. Triangles, N u normalized according to Kraichnan’s formula for high R a and moderate Prandtl number (Equation (3) with C = 0.04 ) with a vertical shift of +2.0 for clarity (see text). Here and in Figure 5, the dependence on the Prandtl number is left implicit in the notation f( R a ) as applied to Equation (3).
Atmosphere 14 00826 g003
Figure 4. N u vs. R a for the highest decade and a half of R a . Symbols: N u evaluated using Kraichnan’s formula (Equation (3) with C = 0.04 ). Line: Least-squares fit to the data giving a slope of 0.317.
Figure 4. N u vs. R a for the highest decade and a half of R a . Symbols: N u evaluated using Kraichnan’s formula (Equation (3) with C = 0.04 ). Line: Least-squares fit to the data giving a slope of 0.317.
Atmosphere 14 00826 g004
Figure 5. N u /f( R a ) vs. R a . The data are normalized using f( R a ) from Kraichnan’s formula (Equation (3) with C = 0.04). Dashed line: least-squares fit to the normalized data for R a > 10 15 . The slope over the last two decades is −0.033, indicating that the experimental data do not follow Kraichnan’s formula. The prefactor 3.31 is dependent on the use of C = 0.04 in Equation (3).
Figure 5. N u /f( R a ) vs. R a . The data are normalized using f( R a ) from Kraichnan’s formula (Equation (3) with C = 0.04). Dashed line: least-squares fit to the normalized data for R a > 10 15 . The slope over the last two decades is −0.033, indicating that the experimental data do not follow Kraichnan’s formula. The prefactor 3.31 is dependent on the use of C = 0.04 in Equation (3).
Atmosphere 14 00826 g005
Figure 6. Prandtl number vs. Rayleigh number for the experiment of Ref. [5], showing a considerable variation at high R a . This variation is an artifact of approaching the critical point of cryogenic helium gas to attain higher and higher Rayleigh numbers. This effect will be even more pronounced if one pushes for high R a in a smaller apparatus.
Figure 6. Prandtl number vs. Rayleigh number for the experiment of Ref. [5], showing a considerable variation at high R a . This variation is an artifact of approaching the critical point of cryogenic helium gas to attain higher and higher Rayleigh numbers. This effect will be even more pronounced if one pushes for high R a in a smaller apparatus.
Atmosphere 14 00826 g006

5. Discussion

The discussion here is mainly about two questions. The first question is why Herring’s formula, derived by optimizing the heat transport by single horizontal wavenumber in the slightly nonlinear supercritical regime, should work well for Rayleigh numbers up to 10 17 . Note that the critical Rayleigh number is 1708 for RBC, and probably higher for this aspect ratio, say a few thousand. Yet the formula seems to apply for an extraordinary range of Rayleigh numbers within which the flow is decidedly turbulent and the range of wavenumbers excited is continuous.
One can perhaps say that this particular success of the Herring formula is a coincidence but that would be an unimaginative stance (given the large number of decades of R a over which the agreement occurs). A possible reason for this behavior can perhaps be found in Herring’s 1966 paper [7], where he states (for free boundaries) that “The physical picture of free boundary convective process predicted by the model is that of a large-scale motion dominating the central region between the conducting plates. This large-scale motion sweeps with it the temperature fluctuation field whose main variations occur in a thin boundary layer of vertical extent 1/Nu. The horizontal scale of both the dominant motion and the temperature fluctuation field is comparable to the distance between the conducting plates." In actuality, this describes rather well the flow observed between rigid boundaries at high R a . Indeed, maintaining the same type of structures at the largest-scale circulation that is present at lower values of supercriticality is not, in fact, unusual (see, for example, ref. [21] for the case of turbulent wakes). Perhaps not unrelated is the later observation by Krishnamurti and Howard [22] of a large-scale flow developing and persisting at high R a , a phenomenon that has been observed widely in turbulent convection. All of this suggests that the same functional form of the relation appropriate to the weakly nonlinear stage remains valid for the turbulent state, except that the prefactor will be different in the two states. This observation is in the spirit of renormalization. While these ideas are not precise, they have been implemented quantitatively in the isotropic and homogeneous flow generated by Gaussian large-scale forcing [23]. If this same program can be extended to convection, it would be possible formally to determine the effective transport coefficient. Until that difficult step is completed, the present observation must be regarded as merely suggestive.
The second question concerns the ultimate state. We are aware that half-power occurs in the presence of roughness [24], when convection occurs in an open-ended tube [25], when the fluid is heated by a body force such as radiation [26], etc. For a more complete enumeration of the possible states of convection, see [27]. As long as the continuum equations hold and the boundary layers on smooth surfaces are intact, it appears to us that their importance to convection will not vanish, and that theories that have no place for viscosity and thermal diffusivity will miss an essential ingredient of the flow. We call attention also to the recent paper by Lindborg [28], which, with some modifications of Kraichnan’s theory, arrived at the one-third-power. We repeat that, to our knowledge, there is no compelling evidence to date, experimental or numerical, in favor of Kraichnan’s formula. We have made that point explicit with respect to the present data.

6. Conclusions

Jack Herring used a greatly truncated version of the complete Boussinesq equations containing only one horizontal wavenumber and obtained a formula for calculating the Nusselt number in the weakly nonlinear supercritical state slightly past the critical Rayleigh number. The same formula works in the fully turbulent state extending over eleven orders of magnitude, if the numerical prefactor is suitably replaced. In this sense, the formula is less empirical in content than a single power law, which requires two constants to be determined from experiment. We have discussed why such a simplistic physical picture could work. We have also considered Kraichnan’s asymptotic formula briefly and presented our reasoning why it does not hold for our experiment. We readily acknowledge that the half-power law exists under different conditions of convection outside the standard RBC.

Author Contributions

Conceptualization, K.R.S.; Methodology, K.R.S. and J.J.N.; Formal analysis, K.R.S. and J.J.N.; Data curation, J.J.N.; Writing—original draft, K.R.S. and J.J.N.; Writing—review & editing, K.R.S. and J.J.N. All authors have read and agreed to the published version of the manuscript.

Funding

This research was was funded by the National Science Foundation grant number DMR-95-29609.

Data Availability Statement

The data used in the paper can be obtained in tabulated form by writing to one of the authors.

Acknowledgments

We had the opportunity for interesting discussions with Jack Herring over the years and in various contexts, and one of the highlights was his model for high-Rayleigh-number convection. Jack was always graceful in his interactions. KRS remembers him as being the same from the very first time he met him in 1977 at NCAR to the last contact. Both of us are grateful that we knew him and have much pleasure in dedicating this short article to his memory. We wish to acknowledge the important role played by Ladislav Skrbek in making the measurements reported in [5].

Conflicts of Interest

The authors declare no conflict of interest.

Appendix A. A Brief History of the Half-Power Law until about the Year 2000

Here, we record the history of the half-power law as best as we know from direct conversations with Ed Spiegel (S henceforth), Charlie Doering [29] and David Goluskin (private communication). When KRS tried to draw K into a discussion on some details in the late 1990’s, he was uncharacteristically adamant in his refusal to discuss any part of the paper, even in passing. We have truncated this brief history around the year 2000, but the relevant references of later origin are mentioned in the main body of the paper.
The originator of the half-power is thought to be Kraichnan [12]—to be referred to as K. However, Ed Spiegel, who was K’s postdoc at the time, also developed similar ideas, though from the somewhat different perspective of astrophysical flows. A reading of [30] gives one the impression that S was well into his research on the topic by 1960, though there is no mention of the half-power law in [30]. S has said that Malkus persuaded him to omit the mention of the half-power in that report. It is amply clear, however, that S had on hand the insight into the physical ideas that led to the specific result he published [31] a year or so after K; we know from S directly that the delay was caused by issues connected to the health of one of his family members.
It is clear that K and S were influenced by each other’s work. K refers to S’s work and acknowledges discussions with him but records that the inspiration for his work was Malkus, who had published his one-third-scaling some years earlier [9] (K also cites C.H.B. Priestley and E. Böhm-Vitense). It may be recalled that the physical essence of Malkus’ result is that the heat flux is both produced by the thermal boundary layer dynamics and limited by it (thus, H should be irrelevant). As Howard [32] clarified soon after, Malkus’ arguments can be cast more elegantly in terms of the marginal instability of the thermal boundary layer. K thought that at very high Rayleigh numbers (which he estimated to be on the order of 10 24 , essentially unattainable in practice), shear effects at the wall will overwhelm the thermal effects to yield the half-power with corrections of the form ((log R a ) 3 / 2 ). This log correction is important to K’s theory, in deriving which he used a great deal of debatable detail. K was well aware of this shortcoming and honest to state so more than once in his paper.
S’s physics was somewhat different. Contrasting with K’s work, he is quoted in [30] as saying: “…the best representation is contained in the recent work of K, but at the moment this is a more difficult representation than we are prepared to cope with”. S had no explicit use for the walls and the boundary layers (true to his preoccupation with astrophysical flows) and regarded that thermal plumes in the bulk of the flow transported heat; and, whatever their origin, their dynamics in the bulk was the rate-controlling mechanism for transport, thus eliminating ν and κ from consideration.
The primary results of K and S are also different in detail. K’s paper is contained in Equation (3) whereas S’s result was that
N u = C ( R a . P r ) 1 / 2 ,
where the coefficient C remained unknown. Aside from the absence of numerical coefficient and log corrections in the above equation, the major difference is the Prandtl number dependence of N u .
It should be clear from this discussion that K and S influenced each other but followed their separate paths and agenda. Moreover, as discussed above, their results are substantially different as well (despite the commonality of the half-power). Our opinion is that they each deserve the credit that came their way. To our knowledge, S always gave credit to K; only when pressed would he acknowledge his unhappiness that K’s result was published before his.
The word “ultimate” to describe the half-power was first coined in the title of their paper by Chavanne et al. [14], who constructed an argument for log correction in the form (log R a ) 3 . It suggests that the details in K’s theory leading to his particular form of log correction is not sacrosanct.
Another major development is the upper-bound theory [33], whose result is
N u 0.167 R a 1 / 2 .
It is clear that Equation (A1) is at variance with the upper bound if P r increases indefinitely. Thus, one should regard Equation (A1) as having been meant only for P r 1 .

References

  1. Tritton, D.J. Physical Fluid Dynamics (Oxford Science Publications); Clarendon Press: Oxford, UK, 1988. [Google Scholar]
  2. Niemela, J.J.; Sreenivasan, K.R. Confined turbulent convection. J. Fluid Mech. 2003, 481, 355–384. [Google Scholar] [CrossRef]
  3. Pandey, A.; Schumacher, J.; Sreenivasan, K.R. Non-Boussinesq low-Prandtl-number convection with temperature-dependent thermal diffusivity. Astrophys. J. 2021, 907, 56. [Google Scholar] [CrossRef]
  4. Pandey, A.; Schumacher, J.; Sreenivasan, K.R. Non-Boussinesq convection at low Prandtl numbers relevant to the Sun. Phys. Rev. Fluids 2021, 6, 100503. [Google Scholar] [CrossRef]
  5. Niemela, J.J.; Skrbek, L.; Sreenivasan, K.R.; Donnelly, R.J. Turbulent convection at very high Rayleigh numbers. Nature 2000, 404, 837–840. [Google Scholar] [CrossRef]
  6. Herring, J.R. Investigation of problems in thermal convection. J. Atmos. Sci. 1962, 20, 325–338. [Google Scholar] [CrossRef]
  7. Herring, J.R. Some analytical results in the theory of thermal convection. J. Atmos. Sci. 1966, 23, 672–677. [Google Scholar] [CrossRef]
  8. Ahlers, G. Turbulent convection. Physics 2009, 2, 74. [Google Scholar] [CrossRef]
  9. Malkus, W.V.R. The heat transport and spectrum of thermal turbulence. Proc. R. Soc. Lond. A 1954, 225, 196–212. [Google Scholar]
  10. Spiegel, E.A. On the Malkus theory of turbulence. In Proceedings of the 1961 Marseille Meeting on Turbulence, Marseille, France, 28 August–2 September 1961; pp. 181–201. [Google Scholar]
  11. Howard, L. Convection at high Rayleigh number. In Proceedings of the 11th International Congress on Applied Mechanics, Munich, Germany, 30 August–5 September 1964; pp. 1109–1115. [Google Scholar]
  12. Kraichnan, R.H. Turbulent thermal convection at arbitrary Prandtl number. Phys. Fluids. 1962, 5, 1374–1389. [Google Scholar] [CrossRef]
  13. Spiegel, E.A. Convection in stars, I. Basic Boussinesq convection. Annu. Rev. Astron. Astrophys. 1971, 9, 323–352. [Google Scholar] [CrossRef]
  14. Chavanne, A.X.; Chilla, F.; Castaing, B.; Hébral, B.; Chabaud, B.; Chaussy, J. Observation of the ultimate regime in Rayleigh-Bénard convection. Phys. Rev. Lett. 1997, 79, 3648–3651. [Google Scholar] [CrossRef]
  15. Busse, F.H. Nonlinear properties of thermal convection. Rep. Prog. Phys. 1978, 41, 1929–1966. [Google Scholar] [CrossRef]
  16. Niemela, J.J.; Babuin, S.; Sreenivasan, K.R. Turbulent rotating convection at high Rayleigh and Taylor numbers. J. Fluid Mech. 2010, 649, 509–522. [Google Scholar] [CrossRef]
  17. Niemela, J.J.; Sreenivasan, K.R. The use of cryogenic helium for classical turbulence: Promises and hurdles. J. Low Temp. Phys. 2006, 143, 163–212. [Google Scholar] [CrossRef]
  18. Iyer, K.P.; Scheel, J.D.; Scumacher, J.; Sreenivasan, K.R. Classical 1/3 scaling of convection holds up to Ra = 1015. Proc. Natl. Acad. Sci. USA 2020, 117, 7594–7598. [Google Scholar] [CrossRef]
  19. Castaing, B.; Gunaratne, G.; Heslot, F.; Kadanoff, L.; Libchaber, A.; Thomae, S.; Wu, X.-Z.; Zaleski, S.; Zanetti, G. Scaling of hard thermal turbulence in Rayleigh-Bénard convection. J. Fluid Mech. 1989, 204, 1–30. [Google Scholar] [CrossRef]
  20. Grossmann, L.; Lohse, D. Thermal convection for large Prandtl numbers. Phys. Rev. Lett. 2001, 86, 3316–3319. [Google Scholar] [CrossRef]
  21. Roshko, A. Experiments on the flow past a circular cylinder at very high Reynolds number. J. Fluid Mech. 1961, 10, 345–356. [Google Scholar] [CrossRef]
  22. Krishnamurti, R.; Howard, L.N. Large scale flow generation in turbulent convection. Proc. Natl. Acad. Sci. USA 1981, 78, 1981–1985. [Google Scholar] [CrossRef]
  23. Sreenivasan, K.R.; Yakhot, V. Dynamics of three-dimensional turbulence from Navier-Stokes equations. Phys. Rev. Fluids 2021, 6, 104604. [Google Scholar] [CrossRef]
  24. Toppaladoddi, S.; Succi, S.; Wettlaufer, J.S. Roughness as a route to the ultimate regime of thermal convection. Phys. Rev. Lett. 2017, 118, 074503. [Google Scholar] [CrossRef]
  25. Arakeri, J.H.; Avilla, F.E.; Dada, J.M.; Tovar, R.O. Convection in a long vertical tube due to unstable stratification—A new type of turbulent flow? Curr. Sci. 2000, 79, 859–866. [Google Scholar]
  26. Lepot, S.; Aumaitre, S.; Gallet, B. Radiative heating achieves the ultimate regime of thermal convection. Phys. Rev. Lett. 2018, 115, 8937–8941. [Google Scholar] [CrossRef]
  27. Grossmann, S.; Lohse, D. Scaling in thermal convection: A unifying theory. J. Fluid Mech. 2000, 407, 22–56. [Google Scholar] [CrossRef]
  28. Lindborg, E. Scaling in Rayleigh-Bénard convection. J. Fluid Mech. 2023, 956, A34. [Google Scholar] [CrossRef]
  29. Doering, C.R. Turning up the heat in turbulent theermal convection. Proc. Natl. Acad. Sci. USA 2020, 117, 9671–9673. [Google Scholar] [CrossRef]
  30. Batchelor, G.K. Considerations of convective instability from the viewpoint of physics. In Aerodynamics Phenomena in Stellar Atmospheres, Proceedings of the 4th Symposium on Cosmical Gas Dynamics, Varenna, Italy, 18–30 August 1960; Thomas, R.N., Ed.; Supplemento del Nuovo Cimento XXII; Nicola Zanichelli: Bologna, Italy, 1960; pp. 385–402. [Google Scholar]
  31. Spiegel, E.A. A generalization of the mixing-length theory of thermal convection. Astrophys. J. 1963, 138, 216–225. [Google Scholar] [CrossRef]
  32. Howard, L.N. Heat transport by turbulent convection. J. Fluid Mech. 1963, 17, 405–432. [Google Scholar] [CrossRef]
  33. Doering, C.R.; Constantin, P. Variational bounds on energy dissiparion in incompressible flows. III Convection. Phys. Rev. E 1996, 53, 5957–5981. [Google Scholar] [CrossRef]
Figure 1. Circles: data obtained with the 1 m tall, aspect ratio 1/2 experiment. Only a subset of the data is plotted to make the lines visible, which would be completely masked by the data. Red solid line: Least-squares fit to the raw data (Equation (5)). Dotted line: N u R a 1 / 3 for comparison. Blue dashed line: Herring’s model, Equation (4) with D = 0.06, this being the one free parameter in the theory (see related text, especially Section 5). The blue and red lines are essentially indistinguishable from each other because of their closeness.
Figure 1. Circles: data obtained with the 1 m tall, aspect ratio 1/2 experiment. Only a subset of the data is plotted to make the lines visible, which would be completely masked by the data. Red solid line: Least-squares fit to the raw data (Equation (5)). Dotted line: N u R a 1 / 3 for comparison. Blue dashed line: Herring’s model, Equation (4) with D = 0.06, this being the one free parameter in the theory (see related text, especially Section 5). The blue and red lines are essentially indistinguishable from each other because of their closeness.
Atmosphere 14 00826 g001
Figure 2. N u normalized according to Equations (4) and (5). Squares, N u normalized by Herring’s formula (Equation (4)). Circles, N u normalized by the least-squares fit to the raw data (Equation (5)) with a vertical shift of +0.5 for clarity. For low R a < 10 10 , say, the slope is smaller than 0.309, reminiscent of the 2/7-th slope discussed in [19]. Our estimate is that the boundary layers in the apparatus of [5] undergo transition at around R a = 10 13 . The last decade may have been influenced by a non-constant Prandtl number (see next section) and/or moderate non-Boussinesq effects. These features are discussed at some length in [2].
Figure 2. N u normalized according to Equations (4) and (5). Squares, N u normalized by Herring’s formula (Equation (4)). Circles, N u normalized by the least-squares fit to the raw data (Equation (5)) with a vertical shift of +0.5 for clarity. For low R a < 10 10 , say, the slope is smaller than 0.309, reminiscent of the 2/7-th slope discussed in [19]. Our estimate is that the boundary layers in the apparatus of [5] undergo transition at around R a = 10 13 . The last decade may have been influenced by a non-constant Prandtl number (see next section) and/or moderate non-Boussinesq effects. These features are discussed at some length in [2].
Atmosphere 14 00826 g002
Disclaimer/Publisher’s Note: The statements, opinions and data contained in all publications are solely those of the individual author(s) and contributor(s) and not of MDPI and/or the editor(s). MDPI and/or the editor(s) disclaim responsibility for any injury to people or property resulting from any ideas, methods, instructions or products referred to in the content.

Share and Cite

MDPI and ACS Style

Sreenivasan, K.R.; Niemela, J.J. Turbulent Convection at Very High Rayleigh Numbers and the Weakly Nonlinear Theory. Atmosphere 2023, 14, 826. https://doi.org/10.3390/atmos14050826

AMA Style

Sreenivasan KR, Niemela JJ. Turbulent Convection at Very High Rayleigh Numbers and the Weakly Nonlinear Theory. Atmosphere. 2023; 14(5):826. https://doi.org/10.3390/atmos14050826

Chicago/Turabian Style

Sreenivasan, Katepalli R., and Joseph J. Niemela. 2023. "Turbulent Convection at Very High Rayleigh Numbers and the Weakly Nonlinear Theory" Atmosphere 14, no. 5: 826. https://doi.org/10.3390/atmos14050826

APA Style

Sreenivasan, K. R., & Niemela, J. J. (2023). Turbulent Convection at Very High Rayleigh Numbers and the Weakly Nonlinear Theory. Atmosphere, 14(5), 826. https://doi.org/10.3390/atmos14050826

Note that from the first issue of 2016, this journal uses article numbers instead of page numbers. See further details here.

Article Metrics

Back to TopTop