Reinforcement Effects of Shear Thickening Fluid over Mechanical Properties of Nonwoven Fabrics
Abstract
1. Introduction
2. Experimentals
2.1. Material
2.2. Preparation of Samples
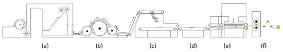
2.2.1. Nonwoven Fabrics
2.2.2. Preparation of Composite Nonwoven Fabrics
2.3. Measurements
2.3.1. Morphological Characterization
2.3.2. Tensile Strength Test
2.3.3. Tearing Strength Test
2.3.4. Bursting Strength Test
2.3.5. Dynamic Impact Test
3. Results and Discussion
3.1. Morphological Characterization
3.2. Tensile Strength of STF Composite Nonwoven Fabrics
3.3. Tearing Strength of STF Composite Nonwoven Fabrics
3.4. Bursting Strength of STF Composite Nonwoven Fabrics
3.5. Dynamic Impact Strength of STF Composite Nonwoven Fabrics
4. Conclusions
Author Contributions
Funding
Data Availability Statement
Acknowledgments
Conflicts of Interest
References
- Laha, A.; Majumdar, A. Shear thickening fluids using silicahalloysite nanotubes to improve the impact resistance of paramid fabrics. Appl. Clay Sci. 2016, 132, 468–474. [Google Scholar] [CrossRef]
- Hamouda, A.M.S.; Risby, M.S. Modeling ballistic impact. In Lightweight Ballistic Composites; Bhatnagar, A., Ed.; Woodhead Publishing: Cambridge, UK, 2006; pp. 101–126. [Google Scholar] [CrossRef]
- Lim, J.; Kim, S.-W. Enhanced damping characteristics of carbon fiber reinforced polymer–based shear thickening fluid hybrid composite structures. J. Intell. Mater. Syst. Struct. 2020, 31, 2291–2303. [Google Scholar] [CrossRef]
- Contreras–Lopez, J.; Ornelas–Tellez, F.; Espinosa–Juarez, E. Nonlinear optimal control for reducing vibrations in civil structures using smart devices. Smart Struct. Syst. 2019, 23, 307–318. [Google Scholar] [CrossRef]
- Wei, M.; Sun, L.; Zhang, C.; Qi, P.; Zhu, J. Shear–thickening performance of suspensions of mixed ceria and silica nanoparticles. Asian J. Mater. Sci. 2019, 54, 346–355. [Google Scholar] [CrossRef]
- Asija, N.; Chouhan, H.; Gebremeskel, S.A.; Singh, R.K.; Bhatnagar, N. High strain rate behavior of STF-treated UHMWPE composites. Int. J. Impact Eng. 2017, 110, 359–364. [Google Scholar] [CrossRef]
- Bender, J.; Wagner, N.J. Reversible shear thickening in monodisperse and bidisperse colloidal dispersions. J. Rheol. 1996, 40, 899–916. [Google Scholar] [CrossRef]
- Sun, L.; Wei, M.; Zhu, J. Low velocity impact performance of fiber-reinforced polymer impregnated with shear thickening fluid. Polym. Test. 2021, 96, 107095. [Google Scholar] [CrossRef]
- Madraki, Y.; Ovarlez, G.; Hormozi, S. Transition from continuous to discontinuous shear thickening: An excluded–volume effect. Phys. Rev. Lett. 2018, 121, 108001. [Google Scholar] [CrossRef]
- Chatterjee, V.A.; Verma, S.K.; Bhattacharjee, D.; Biswas, I.; Neogi, S. Enhancement of energy absorption by incorporation of shear thickening fluids in 3D–mat sandwich composite panels upon ballistic impact. Compos. Struct. 2019, 225, 111148. [Google Scholar] [CrossRef]
- Newstein, M.C.; Wang, H.; Balsara, N.P.; Lefebvre, A.A.; Shnidman, Y.; Watanabe, H.; Osaki, K.; Shikata, T.; Niwa, H.; Morishima, Y. Microstructural changes in a colloidal liquid in the shear thinning and shear thickening regimes. J. Chem. Phys 1999, 111, 4827–4838. [Google Scholar] [CrossRef]
- Barnes, H. Shear–thickening (“Dilatancy”) in suspensions of nonaggregating solid particles dispersed in Newtonian liquids. J. Rheol. 1989, 33, 329–366. [Google Scholar] [CrossRef]
- Decker, M.; Halbach, C.; Nam, C.; Wagner, N.; Wetzel, E. technology. Stab resistance of shear thickening fluid (STF)-treated fabrics. Compos. Sci. Technol. 2007, 67, 565–578. [Google Scholar] [CrossRef]
- Lee, Y.S.; Wetzel, E.D.; Wagner, N.J. The ballistic impact characteristics of Kevlar® woven fabrics impregnated with a colloidal shear thickening fluid. Asian J. Mater. Sci. 2003, 38, 2825–2833. [Google Scholar] [CrossRef]
- Khodadadi, A.; Liaghat, G.; Vahid, S.; Sabet, A.; Hadavinia, H. Ballistic performance of Kevlar fabric impregnated with nan–silica/PEG shear thickening fluid. Compos. Part B 2019, 162, 643–652. [Google Scholar] [CrossRef]
- Majumdar, A.; Butola, B.S.; Srivastava, A. An analysis of deformation and energy absorption modes of shear thickening fluid treated Kevlar fabrics as soft body armour materials. Mater. Des. 2013, 51, 148–153. [Google Scholar] [CrossRef]
- Cao, S.; Chen, Q.; Wang, Y.; Xuan, S.; Jiang, W.; Gong, X. High strain–rate dynamic mechanical properties of Kevlar fabrics impregnated with shear thickening fluid. Compos. Part A 2017, 100, 161–169. [Google Scholar] [CrossRef]
- Haris, A.; Lee, H.; Tay, T.; Tan, V. Shear thickening fluid impregnated ballistic fabric composites for shock wave mitigation. Int. J. Impact Eng. 2015, 80, 143–151. [Google Scholar] [CrossRef]
- Mawkhlieng, U.; Majumdar, A. Deconstructing the role of shear thickening fluid in enhancing the impact resistance of high-performance fabrics. Compos. Part B. 2019, 175, 107167. [Google Scholar] [CrossRef]
- Xu, Y.; Chen, X.; Wang, Y.; Yuan, Z. Stabbing resistance of body armour panels impregnated with shear thickening fluid. Compos. Struct. 2017, 163, 465–473. [Google Scholar] [CrossRef]
- Gürgen, S.; Kuşhan, M.C. The stab resistance of fabrics impregnated with shear thickening fluids including various particle size of additives. Compos. Part A. 2017, 94, 50–60. [Google Scholar] [CrossRef]
- Gürgen, S.; Kuşhan, M.C.; Li, W. Shear thickening fluids in protective applications: A review. Prog. Polym. Sci. 2017, 75, 48–72. [Google Scholar] [CrossRef]
- Maranzano, B.J.; Wagner, N.J. The effects of particle size on reversible shear thickening of concentrated colloidal dispersions. J. Chem. Phys. 2001, 114, 10514–10527. [Google Scholar] [CrossRef]
- Lu, Z.; Wu, L.; Gu, B.; Sun, B. Numerical simulation of the impact behaviors of shear thickening fluid impregnated warp-knitted spacer fabric. Compos. Part B. 2015, 69, 191–200. [Google Scholar] [CrossRef]
- Grover, G.; Verma, S.K.; Thakur, A.; Biswas, I.; Bhatacharjee, D. The effect of particle size and concentration on the ballistic resistance of different shear thickening fluids. Mater. Today Proc. 2020, 28, 1472–1476. [Google Scholar] [CrossRef]
- Wei, M.; Sun, L.; Zhu, J. Effects of parameters controlling the impact resistance behavior of the GFRP fabric impregnated with a shear thickening fluid. Mater. Des. 2020, 196, 109078. [Google Scholar] [CrossRef]
- Zarei, M.; Aalaie, J. Application of shear thickening fluids in material development. J. Mater. Res. Technol. 2020, 9, 10411–10433. [Google Scholar] [CrossRef]
- Lin, T.R.; Lin, T.A.; Lin, M.-C.; Lin, Y.-Y.; Lou, C.-W.; Lin, J.-H. Impact resistance of fiber reinforced sandwich-structured nonwoven composites: Reinforcing effect of different fiber length. Mater. Today Commun. 2020, 24, 101345. [Google Scholar] [CrossRef]
- Mahesh, V.; Harursampath, D.; Mahesh, V. An experimental study on ballistic impact response of jute reinforced polyethylene glycol and nano silica based shear thickening fluid composite. Def. Technol. 2022, 18, 401–409. [Google Scholar] [CrossRef]
- Ghosh, A.; Majumdar, A.; Butola, B.S. Rheometry of novel shear thickening fluid and its application for improving the impact energy absorption of p-aramid fabric. Thin-Walled Struct. 2020, 155, 106954. [Google Scholar] [CrossRef]
- Lin, T.R.; Lin, T.A.; Lin, M.-C.; Lin, Y.-Y.; Lou, C.-W.; Lin, J.-H. Using recycled high-strength polyester and Kevlar® wastes to reinforce sandwich-structured nonwoven fabric: Structural effect and property evaluation. J. Clean. Prod. 2020, 267, 121899. [Google Scholar] [CrossRef]
- Li, T.-T.; Wang, R.; Lou, C.-W.; Lin, J.-H. Static and dynamic puncture behaviors of compound fabrics with recycled high-performance Kevlar fibers. Compos. Part B. 2014, 59, 60–66. [Google Scholar] [CrossRef]













| Specifications | |
|---|---|
| Fire-retardant polyester fibers (wt%) | 50 |
| Nomex recycle woven selvedge (wt%) | 20 |
| Low melting polyester fibers (wt%) | 30 |
| Needle punching times (needle/min) | 200 |
| Needle punching depth (cm) | 1.75 |
| Basis weight (g/m2) | 300 |
| Hot pressing temperature (°C) | 140 |
| STF Concentration (wt%) | Tensile Strength (N) | Tearing Strength (N) | ||
|---|---|---|---|---|
| MD | CD | MD | CD | |
| None | 67.9 ± 6.0 | 153.0 ± 8.8 | 104.3 ± 4.7 | 136.1 ± 11.9 |
| 30 | 121.3 ± 5.3 | 280.1 ± 9.5 | 112.2 ± 5.7 | 180.4 ± 12.8 |
| 35 | 128.6 ± 3.2 | 304.2 ± 9.7 | 122.6 ± 5.5 | 215.0 ± 6.7 |
| 40 | 137.5 ± 5.8 | 330.4 ± 7.2 | 141.3 ± 8.1 | 246.3 ± 6.8 |
| STF Concentration (wt%) | Bursting Strength (N) | Dynamic Impact (N) |
|---|---|---|
| None | 512.0 ± 10.6 | 207.7 ± 12.5 |
| 30 | 557.7 ± 9.8 | 249.2 ± 13.5 |
| 35 | 662.6 ± 12.1 | 315.6 ± 14.1 |
| 40 | 713.8 ± 11.8 | 324.3 ± 4.7 |
Publisher’s Note: MDPI stays neutral with regard to jurisdictional claims in published maps and institutional affiliations. |
© 2022 by the authors. Licensee MDPI, Basel, Switzerland. This article is an open access article distributed under the terms and conditions of the Creative Commons Attribution (CC BY) license (https://creativecommons.org/licenses/by/4.0/).
Share and Cite
Huang, C.-H.; Chien, C.-H.; Shiu, B.-C.; Chen, Y.-S.; Lin, J.-H.; Lou, C.-W. Reinforcement Effects of Shear Thickening Fluid over Mechanical Properties of Nonwoven Fabrics. Polymers 2022, 14, 4816. https://doi.org/10.3390/polym14224816
Huang C-H, Chien C-H, Shiu B-C, Chen Y-S, Lin J-H, Lou C-W. Reinforcement Effects of Shear Thickening Fluid over Mechanical Properties of Nonwoven Fabrics. Polymers. 2022; 14(22):4816. https://doi.org/10.3390/polym14224816
Chicago/Turabian StyleHuang, Chen-Hung, Chih-Hua Chien, Bing-Chiuan Shiu, Yueh-Sheng Chen, Jia-Horng Lin, and Ching-Wen Lou. 2022. "Reinforcement Effects of Shear Thickening Fluid over Mechanical Properties of Nonwoven Fabrics" Polymers 14, no. 22: 4816. https://doi.org/10.3390/polym14224816
APA StyleHuang, C.-H., Chien, C.-H., Shiu, B.-C., Chen, Y.-S., Lin, J.-H., & Lou, C.-W. (2022). Reinforcement Effects of Shear Thickening Fluid over Mechanical Properties of Nonwoven Fabrics. Polymers, 14(22), 4816. https://doi.org/10.3390/polym14224816

