Synergistic Effect of Ultrasound and Polyethylene Glycol on the Mechanism of the Controlled Drug Release from Polylactide Matrices
Abstract
1. Introduction
2. Experimental
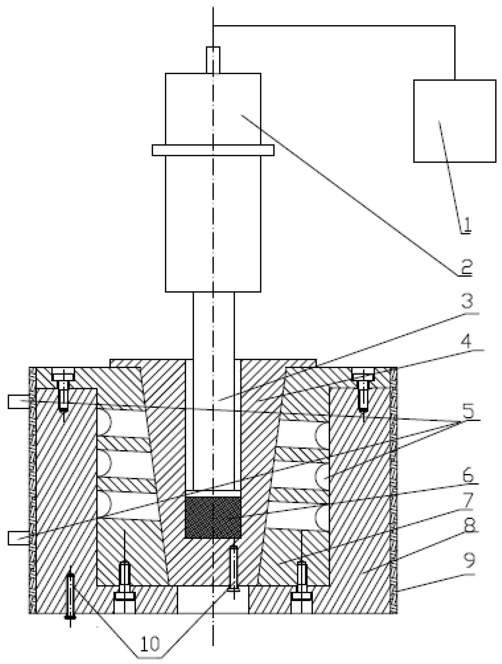
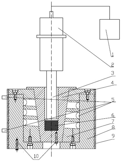
2.1. Materials and Equipment
2.2. Sample Preparation
2.3. Measurements
2.3.1. In-Vitro Release Study
2.3.2. Weight Loss
2.3.3. Scanning Electron Microscopy (SEM)
3. Results and Discussion
3.1. Effect of Ultrasound on the In-Vitro Release Behavior of MB from PLA
3.2. Effect of PEG on the In-Vitro Release Behavior of MB from PLA, All without Any Ultrasound Treatment
3.3. Effect of Ultrasound and PEG on the In-Vitro Release Behavior of MB from PLA
3.4. Mechanism and Kinetics of the Release of MB from PLA Based Matrices
4. Conclusions
Author Contributions
Acknowledgments
Conflicts of Interest
References
- Nair, L.S.; Laurencin, C.T. Biodegradable polymers as biomaterials. Prog. Polym. Sci. 2007, 32, 762–798. [Google Scholar] [CrossRef]
- Freiberg, S.; Zhu, X.X. Polymer microspheres for controlled drug release. Int. J. Pharm. 2004, 282, 1–18. [Google Scholar] [CrossRef] [PubMed]
- Singh, N.K.; Lee, D.S. In situ gelling pH- and temperature-sensitive biodegradable block copolymer hydrogels for drug delivery. J. Control. Release 2014, 193, 214–227. [Google Scholar] [CrossRef]
- Ancer, R. Polymer-Controlled Drug Delivery Systems. Acc. Chem. Res. 1993, 26, 537–542. [Google Scholar]
- Kumari, A.; Yadav, S.K.; Yadav, S.C. Biodegradable polymeric nanoparticles based drug delivery systems. Coll. Surf. B Biointerfaces 2010, 75, 1–18. [Google Scholar] [CrossRef] [PubMed]
- Megeed, Z.; Cappello, J.; Ghandehari, H. Genetically engineered silk-elastinlike protein polymers for controlled drug delivery. Adv. Drug Del. Rev. 2002, 54, 1075–1091. [Google Scholar] [CrossRef]
- Abidian, M.R.; Kim, D.H.; Martin, D.C. Conducting-Polymer Nanotubes for Controlled Drug Release. Adv. Mater. 2006, 18, 405–409. [Google Scholar] [CrossRef]
- Chena, W.; Meng, F.; Cheng, R.; Deng, C.; Feijen, J.; Zhong, Z. Cyclodextrin containing biodegradable particles: From preparation to drug delivery applications. Int. J. Pharm. 2014, 461, 351–366. [Google Scholar]
- Choi, J.; Konno, T.; Takai, M.; Ishihara, K. Smart controlled preparation of multilayered hydrogel for releasing bioactive molecules. Curr. Appl. Phys. 2009, 9, e259–e262. [Google Scholar] [CrossRef]
- Negrın, C.M.; Delgado, A.; Llabres, M.; Evora, C. Methadone implants for methadone maintenance treatment In vitro and in vivo animal studies. J. Control. Release 2004, 95, 413–421. [Google Scholar] [CrossRef]
- Cleek, R.L.; Ting, K.C.; Eskin, S.G.; Mikos, A.G. Microparticles of poly(dl-lactic-co-glycolic acid)/poly(ethyleneglycol) blends for controlled drug delivery. J. Control. Release 1997, 48, 259–268. [Google Scholar] [CrossRef]
- Wischke, C.; Schwendeman, S.P. Principles of encapsulating hydrophobic drugs in PLA/PLGA microparticles. Int. J. Pharm. 2008, 364, 298–327. [Google Scholar] [CrossRef]
- Musumeci, T.; Ventura, C.A.; Giannone, I.; Ruozi, B.; Montenegro, L.; Pignatello, R.; Puglisi, G. PLA/PLGA nanoparticles for sustained release of docetaxel. Int. J. Pharm. 2006, 325, 172–179. [Google Scholar] [CrossRef]
- Maurus, P.B.; Kaeding, C.C. Bioabsorbable implant material review. Oper. Tech. Sport Med. 2004, 12, 158–160. [Google Scholar] [CrossRef]
- Omelczuk, M.O.; McGinity, J.W. The influence of polymer glasstransition temperature and molecular weight on drug release from tablets containing poly(dl-lactic acid). Pharm. Res. 1992, 9, 26–32. [Google Scholar] [CrossRef] [PubMed]
- Omelczuk, M.O.; McGinity, J.W. The influence of thermal treatment on the physical-mechanical and dissolution properties of tablets containing poly(dl-lactic acid). Pharm. Res. 1993, 10, 542–548. [Google Scholar] [CrossRef] [PubMed]
- Miller-Chou, B.A.; Koenig, J.L. A review of polymer dissolution. Prog. Polym. Sci. 2003, 28, 1223–1270. [Google Scholar] [CrossRef]
- Witschi, C.; Doelker, E. Peptide degradation during preparation and in vitro release testing of poly(l-lactic acid) and poly(dl-lactic-co-glycolic acid) microparticles. Int. J. Pharm. 1998, 171, 1–18. [Google Scholar] [CrossRef]
- Rothen-Weinholda, A.; Besseghir, K.; Vuaridel, E.; Sublet, E.; Oudry, N.; Kubel, F.; Gurny, R. Injection-molding versus extrusion as manufacturing technique for the preparation of biodegradable implants. Eur. J. Pharm. Biopharm. 1999, 48, 113–121. [Google Scholar] [CrossRef]
- Frank, A.; Rath, S.K.; Venkatraman, S.S. Controlled release from bioerodible polymers: Effect of drug type and polymer composition. J. Control. Release 2005, 102, 333–344. [Google Scholar] [CrossRef]
- Kiortosis, S.; Kachrimanis, K.; Broussali, T.; Malamataris, S. Drug release from tableted wet granulations comprising cellulosic (HPMC or HPC) and hydrophobic component. Eur. J. Pharm. Biopharm. 2005, 59, 73–83. [Google Scholar] [CrossRef]
- Siegel, S.J.; Kahn, J.B.; Metzger, K.; Winey, K.I.; Werner, K.; Dan, N. Effect of drug type on the degradation rate of PLGA matrices. Eur. J. Pharm. Biopharm. 2006, 64, 287–293. [Google Scholar] [CrossRef]
- Zhang, X.; Xu, Y.; Zhang, X.; Shen, J.; Chen, R.; Xiong, Y.; Li, J.; Wu, H.; Guo, S. Progress on the layer-by-layer assembly of multilayered polymer composites: Strategy, structural control and applications. Prog. Polym. Sci. 2019, 89, 76–107. [Google Scholar] [CrossRef]
- Petlin, D.G.; Tverdokhlebov, S.I.; Anissimov, Y.G. Plasma treatment as an efficient tool for controlled drug release from polymeric materials: A review. J. Control. Release 2017, 226, 57–74. [Google Scholar] [CrossRef] [PubMed]
- Mogal, V.T.; Yin, C.S.; O’Rorke, R.; Boujday, S.; Méthivier, C.; Venkatraman, S.S.; Steele, T.W.J. Tuning Model Drug Release and Soft-Tissue Bioadhesion of Polyester Films by Plasma Post-Treatment. ACS Appl. Mater. Interfaces 2014, 6, 5749–5758. [Google Scholar] [CrossRef]
- Zhou, Y.; Horne, D.; Steele, T.W.J. Tuning Drug Release via Twin Screw Extrusion in Polyester Films. J. Pharm. Sci. 2019. [Google Scholar] [CrossRef]
- Nakamichi, K.; Yasuura, H.; Fukui, H.; Oka, M.; Izumi, S.; Andou, T.; Shimizu, N.; Ushimaru, K. A process for the manufacture of nifedipine hydroxypropyl-methylcellulose phthalate solid dispersions by means of a twin screw extruder and appraisal thereof. Yakuzaigaku 1996, 56, 15–22. [Google Scholar]
- Miller, D.A.; McConville, J.T.; Yang, W.; Williams, R.O.; McGinity, J.W. Hot-Melt Extrusion for Enhanced Delivery of Drug Particles. J. Pharm. Sci. 2007, 96, 361–376. [Google Scholar] [CrossRef] [PubMed]
- Crowley, M.M.; Zhang, F.; Koleng, J.J.; McGinity, J.W. Stability of polyethylene oxide in matrix tablets prepared by hot-melt extrusion. Biomaterials 2002, 23, 4241–4248. [Google Scholar] [CrossRef]
- Repka, M.A.; Gutta, K.; Prodduturi, S.; Munjal, M.; Stodghill, S.P. Characterization of cellulosic hot-melt extruded films containing lidocaine. Eur. J. Pharm. Biopharm. 2005, 59, 189–196. [Google Scholar] [CrossRef]
- Crowley, M.M.; Zhang, F.; Repka, M.A.; Thumma, S.; Upadhye, S.B.; Battu, S.K.; McGinity, J.W.; Martin, C. Pharmaceutical Applications of Hot-Melt Extrusion: Part I. Drug Dev. Ind. Pharm. 2007, 33, 909–926. [Google Scholar] [CrossRef]
- Repka, M.A.; Battu, S.K.; Upadhye, S.B.; Thumma, S.; Crowley, M.M.; Zhang, F.; Martin, C.; McGinity, J.W. Pharmaceutical Applications of Hot-Melt Extrusion: Part II. Drug Dev. Ind. Pharm. 2007, 33, 1043–1057. [Google Scholar] [CrossRef]
- Kopinke, F.D.; Remmler, M.; Mackenzie, K.; Möder, M.; Wachsen, O. Thermal decomposition of biodegradable polyesters—II. Poly(lacticacid). Polym. Degrad. Stab. 1996, 53, 329–342. [Google Scholar] [CrossRef]
- Wachsen, O.; Platkowski, K.; Reichert, K.H. Thermal degradation of poly-l-lactide—Studies on kinetics, modelling and melt stabilisation. Polym. Degrad. Stab. 1997, 57, 87–94. [Google Scholar] [CrossRef]
- Wu, H.; Guo, S. Improved properties of metallocene-catalyzed linear low density polyethylene/polypropylene blends during ultrasonic extrusion. Chin. J. Polym. Sci. 2007, 25, 357–364. [Google Scholar] [CrossRef]
- Li, J.; Guo, S.; Li, X. Degradation kinetics of polystyrene and EPDM melts under ultrasonic irradiation. Polym. Degrad. Stab. 2005, 89, 6–14. [Google Scholar] [CrossRef]
- Li, J.; Liang, M.; Guo, S.; Lin, Y. Studies on chain scission and extension of polyamide 6 melt in the presence of ultrasonic irradiation. Polym. Degrad. Stab. 2004, 86, 323–329. [Google Scholar] [CrossRef]
- Xie, T.; Wu, H.; Bao, W.; Guo, S.; Chen, Y.; Huang, H.; Chen, H.; Lai, S.Y.; Jow, J. Enhanced compatibility of PA6/POE blends by POE-g-MAH prepared through ultrasound-assisted extrusion. J. Appl. Polym. Sci. 2010, 118, 1846–1853. [Google Scholar] [CrossRef]
- Bao, W.; Wu, H.; Xie, T.; Guo, S. Improved Interfacial Properties of PA6/DE Blends by DE-g-MAH Prepared through Ultrasound Assisted Extrusion. Int. Polym. Proc. 2014, 29, 371–378. [Google Scholar] [CrossRef]
- Bao, W.; Wu, H.; Guo, S.; Paradkar, A.; Kelly, A.; Brown, E.; Coates, P. Effect of Ultrasound on Molecular Structure Development of Polylactide. Polym.-Plast. Technol. Eng. 2014, 53, 927–934. [Google Scholar] [CrossRef]
- Peng, B.; Wu, H.; Bao, W.; Chen, Y.; Huang, H.; Lai, S.Y.; Jow, J. Ultrasound initiated maleic anhydride grafted onto a novel polypropylene copolymer. Polym. Eng. Sci. 2012, 52, 518–524. [Google Scholar] [CrossRef]
- Zhao, L.; Li, J.; Guo, S.; Du, Q. Ultrasonic oscillations induced morphology and property development of polypropylene/montmorillonite nanocomposites. Polymer 2006, 47, 2460–2469. [Google Scholar] [CrossRef]
- Ishtiaq, F.; Farooq, R.; Farooq, U.; Farooq, A.; Siddique, M.; Shah, H.; Mukhatar-Ul-Hassan, M.A. Application of Ultrasound in Pharmaceutics. World Appl. Sci. J. 2009, 6, 886–893. [Google Scholar]
- Chaudhari, P.D.; Uttekar, P.S. Melt-Sonocrystallization: A Novel Particle Engineering Technique for Solubility Enhancement. Int. J. Pharm Tech. Res. 2009, 1, 111–120. [Google Scholar]
- Manish, M.; Harshal, J.; Anant, P. Melt sonocrystallization of ibuprofen: Effect on crystal properties. Eur. J. Pharm. Sci. 2005, 25, 41–48. [Google Scholar] [CrossRef]
- Chung, A.J.; Rubner, M.F. Methods of Loading and Releasing Low Molecular Weight Cationic Molecules in Weak Polyelectrolyte Multilayer Films. Langmuir 2002, 18, 1176–1183. [Google Scholar] [CrossRef]
- Disanto, A.R.; Wagner, J.G. Pharmacokinetics of Highly Ionized Drugs II: Methylene Blue—Absorption, Metabolism, and Excretion in Man and Dog after Oral Administration. J. Pharm. Sci. 1972, 61, 1086–1090. [Google Scholar] [CrossRef] [PubMed]
- Wu, B.M.; Borland, S.W.; Giordano, R.A. Solid free-form fabrication of drug delivery devices. J. Control. Release 1997, 40, 77–87. [Google Scholar] [CrossRef]
- Marczenko, Z.; Jarosz, M. Flotation-spectrophotometric determination of palladium with thiocyanate and methylene blue. Analyst 1981, 106, 751–756. [Google Scholar] [CrossRef]
- Zoppi, R.A.; Duek, E.A.R.; Coraca, D.C.; Barros, P.P. Preparation and characterization of poly(l-lactic acid) and poly(ethylene) blends. Mater. Res. 2001, 4, 117–125. [Google Scholar] [CrossRef]
- Cai, Q.; Bei, J.; Wang, S. In vitro study on the drug release behavior from Polylactide-based blend matrices. Polym. Adv. Technol. 2002, 13, 534–540. [Google Scholar] [CrossRef]
- Gibaldi, M.; Feldman, S. Establishment of sink conditions in dissolution rate determinations. Theoretical considerations and application to nondisintegrating dosage forms. J. Pharm. Sci. 1967, 56, 1238–1242. [Google Scholar] [CrossRef] [PubMed]
- Gibaldi, M.; Perrier, D. Pharmacokinetics, Drugs and the Pharmaceutical Sciences, 2nd ed.; Marcel Dekker, Inc.: New York, NY, USA, 1982; Volume 15. [Google Scholar]
- Higuchi, T. Mechanism of sustained-action medication-Theoretical analysis of rate of release of solid drugs dispersed in solid matrices. J. Pharm Sci. 1963, 52, 1145–1149. [Google Scholar] [CrossRef] [PubMed]










| Sample Name | Content of PLA, % | Content of PEG, % | Content of MB, % |
|---|---|---|---|
| PLA | 100 | 0 | 1 |
| PLA-20%PEG6000 | 80 | 20 | 1 |
| PLA-35%PEG6000 | 65 | 35 | 1 |
| PLA-50%PEG6000 | 50 | 50 | 1 |
| Sample Name | Ultrasound Power, W | Preheating Time, min | Ultrasound Time, min | After-Heating Time, min |
|---|---|---|---|---|
| PLA/MB H10 | 0 | 5 | 0 | 5 |
| PLA/MB U3min-50W | 50 | 5 | 3 | 2 |
| PLA/MB U3min-150W | 150 | 5 | 3 | 2 |
| PLA/MB U3min-250W | 250 | 5 | 3 | 2 |
| PLA/PEG/MB H10 | 0 | 5 | 0 | 5 |
| PLA/PEG/MB U3min-50W | 50 | 5 | 3 | 2 |
| PLA/PEG/MB U3min-150W | 150 | 5 | 3 | 2 |
| PLA/PEG/MB U3min-250W | 250 | 5 | 3 | 2 |
| Specimen | Weight of Sample (before Immersion), mg | Weight of Sample (after Immersion), mg | Weight Loss, % |
|---|---|---|---|
| PLA/MB H10 | 37.07 ± 0.39 | 36.92 ± 0.33 | 0.43 ± 0.18 |
| PLA/MB U 3min-50W | 38.19 ± 0.35 | 37.94 ± 0.42 | 0.65 ± 0.19 |
| PLA/MB U 3min-150W | 37.39 ± 1.35 | 37.28 ± 1.32 | 0.29 ± 0.10 |
| PLA/MB U 3min-250W | 38.07 ± 0.72 | 37.60 ± 0.82 | 1.21 ± 0.24 |
| Sample Name | Weight of Tablet (before Immersion), mg | Weight of Tablet (after Immersion), mg | Weight Loss, % |
|---|---|---|---|
| PLA | 36.42 ± 0.36 | 36.29 ± 0.42 | 0.36 ± 0.18 |
| PLA-20%PEG6000 | 39.17 ± 0.71 | 31.80 ± 0.68 | 18.82 ± 0.15 |
| PLA-35%PEG6000 | 37.87 ± 1.27 | 27.10 ± 1.01 | 28.47 ± 0.75 |
| PLA-50%PEG6000 | 37.07 ± 0.24 | 21.80 ± 0.38 | 40.95 ± 0.08 |
| Sample Name | Weight of Sample (before Immersion), mg | Weight of Sample (after Immersion), mg | Weight Loss, % |
|---|---|---|---|
| PLA/PEG/MB H10 | 35.97 ± 0.63 | 25.52 ± 1.15 | 29.05 ± 4.66 |
| PLA/PEG/MB U3min-50W | 35.98 ± 1.32 | 25.45 ± 0.86 | 29.27 ± 1.44 |
| PLA/PEG/MB U3min-150W | 34.88 ± 0.89 | 25.09 ± 0.99 | 28.58 ± 2.34 |
| PLA/PEG/MB U3min-250W | 35.56 ± 0.79 | 24.7 6± 1.58 | 30.37 ± 2.61 |
| Sample | Q | k1, d−1 | k2 × 10−2, d−1/2 | R2 |
|---|---|---|---|---|
| PLA/PEG/MB H10 | 0.55 | 0.92 | 1.55 | 0.99 |
| PLA/PEG/MB U3min-50W | 0.52 | 1.61 | 1.30 | 0.99 |
| PLA/PEG/MB U3min-150W | 0.75 | 2.15 | 1.04 | 0.99 |
| PLA/PEG/MB U3min-250W | 0.64 | 1.44 | 1.32 | 0.99 |
© 2019 by the authors. Licensee MDPI, Basel, Switzerland. This article is an open access article distributed under the terms and conditions of the Creative Commons Attribution (CC BY) license (http://creativecommons.org/licenses/by/4.0/).
Share and Cite
Bao, W.; Zhang, X.; Wu, H.; Chen, R.; Guo, S. Synergistic Effect of Ultrasound and Polyethylene Glycol on the Mechanism of the Controlled Drug Release from Polylactide Matrices. Polymers 2019, 11, 880. https://doi.org/10.3390/polym11050880
Bao W, Zhang X, Wu H, Chen R, Guo S. Synergistic Effect of Ultrasound and Polyethylene Glycol on the Mechanism of the Controlled Drug Release from Polylactide Matrices. Polymers. 2019; 11(5):880. https://doi.org/10.3390/polym11050880
Chicago/Turabian StyleBao, Wenting, Xianlong Zhang, Hong Wu, Rong Chen, and Shaoyun Guo. 2019. "Synergistic Effect of Ultrasound and Polyethylene Glycol on the Mechanism of the Controlled Drug Release from Polylactide Matrices" Polymers 11, no. 5: 880. https://doi.org/10.3390/polym11050880
APA StyleBao, W., Zhang, X., Wu, H., Chen, R., & Guo, S. (2019). Synergistic Effect of Ultrasound and Polyethylene Glycol on the Mechanism of the Controlled Drug Release from Polylactide Matrices. Polymers, 11(5), 880. https://doi.org/10.3390/polym11050880

