Comprehensive Spectroscopic Study of Competing Recombination Channels and Thermal Quenching Mechanisms in β-Ga2O3 Single Crystals
Abstract
1. Introduction
2. Materials and Methods
3. Results
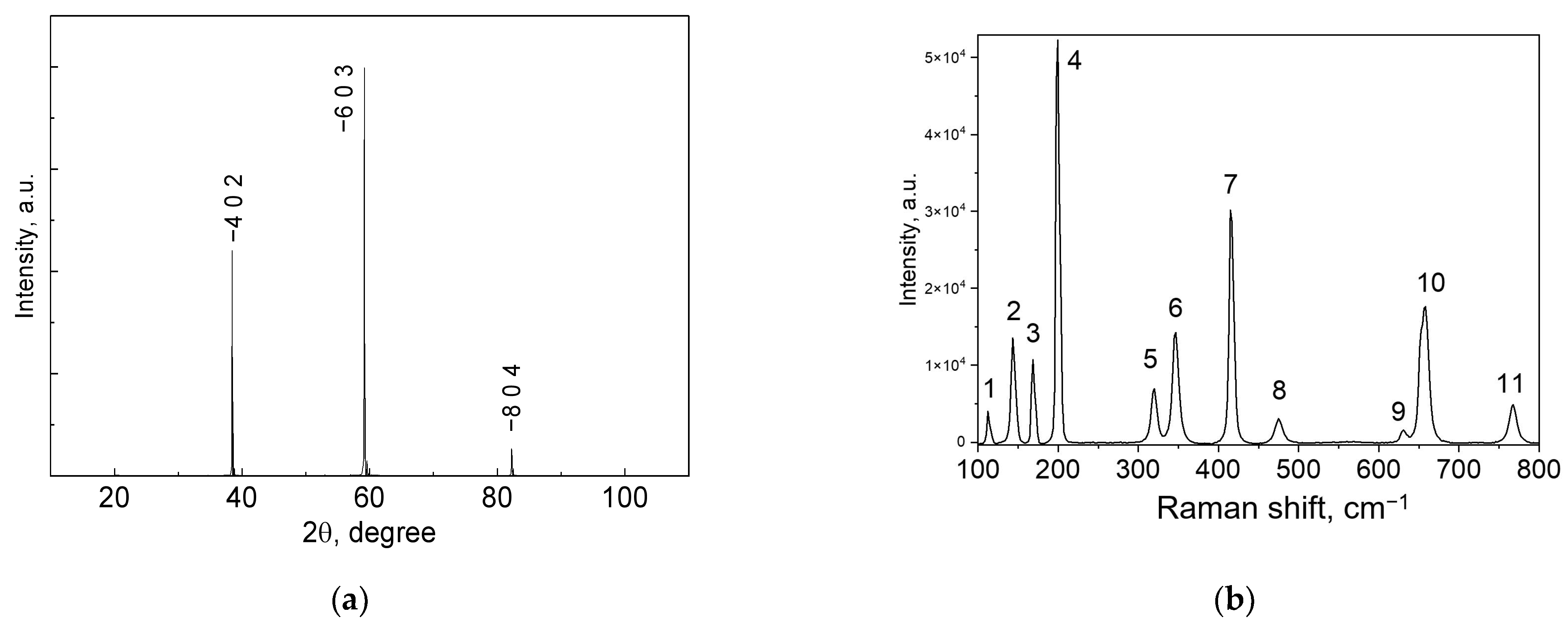
3.1. Structural Study
3.2. Optical Absorption and Band Gap
3.3. Temperature Dependence Luminescence Spectra
3.4. Activation Energy of Thermal Quenching
3.5. Broadening of Emission Lines
4. Discussion
5. Conclusions
Author Contributions
Funding
Data Availability Statement
Acknowledgments
Conflicts of Interest
References
- Stepanov, S.I.; Nikolaev, V.I.; Bougrov, V.E.; Romanov, A.E. Gallium Oxide: Properties and Applications—A Review. Rev. Adv. Mater. Sci. 2016, 44, 63–86. [Google Scholar]
 - Suchikova, Y.; Nazarovets, S.; Popov, A.I. Ga2O3 solar-blind photodetectors: From civilian applications to missile detection and research agenda. Opt. Mater. 2024, 157, 116397. [Google Scholar] [CrossRef]
 - Nikolaev, V.I.; Maslov, V.; Stepanov, S.I.; Pechnikov, A.I.; Krymov, V.; Nikitina, I.P.; Guzilova, L.I.; Bougrov, V.E.; Romanov, A.E. Growth and Characterization of β-Ga2O3 Crystals. J. Cryst. Growth 2017, 457, 132–136. [Google Scholar] [CrossRef]
 - Mastro, M.A.; Kuramata, A.; Calkins, J.; Kim, J.; Ren, F.; Pearton, S.J. Perspective—Opportunities and Future Directions for Ga2O3. ECS J. Solid State Sci. Technol. 2017, 6, 356–359. [Google Scholar] [CrossRef]
 - Suchikova, Y.; Lazarenko, A.; Kovachov, S.; Usseinov, A.; Karipbaev, Z.; Popov, A.I. Formation of porous Ga2O3/GaAs layers for electronic devices. In Proceedings of the 2022 IEEE 16th International Conference on Advanced Trends in Radioelectronics, Telecommunications and Computer Engineering (TCSET), Lviv-Slavske, Ukraine, 22–26 February 2022; pp. 1–4. [Google Scholar] [CrossRef]
 - Xiao, Z.; Chen, H.; Ning, H.; Luo, D.; Fang, X.; Li, M.; Su, G.; He, H.; Yao, R.; Peng, J. Self-Powered Ultraviolet Photodetectors Based on Conductive Polymers/Ga2O3 Heterojunctions: A Review. Polymers 2025, 17, 1384. [Google Scholar] [CrossRef]
 - Koishybayeva, Z.; Konusov, F.; Pavlov, S.; Sidelev, D.; Nassyrbayev, A.; Gadyrov, R.; Tarbokov, V.; Polisadova, E.; Akilbekov, A. Modification of optical and photoelectrical properties of thin gallium oxide films by intense pulsed 200 keV C+ ion beams. Opt. Mater. X 2025, 25, 100399. [Google Scholar] [CrossRef]
 - Suchikova, Y.; Kovachov, S.; Bohdanov, I.; Drozhcha, D.; Kosogov, I.; Karipbayev, Z.T.; Popov, A.I. Synthesis and characterization of β-Ga2O3/por-GaAs/mono-GaAs heterostructures for enhanced portable solar cells. Phys. Chem. Solid State 2024, 25, 546–552. [Google Scholar] [CrossRef]
 - Choudhury, A.; Biswas, I.; Gupta, R.; Dey, A.; Mondal, A. GLAD synthesized Ga2O3 nanowire-based photodiode. Appl. Phys. A 2024, 130, 752. [Google Scholar] [CrossRef]
 - Suchikova, Y.; Kovachov, S.; Karipbaev, Z.; Zhydachevskyy, Y.; Lysak, A.; Popov, A.I. Synthesis of CdO/por-CdS/CdS Heterostructure with Doughnut-Like Crystallites. In Proceedings of the 2023 IEEE 4th KhPI Week on Advanced Technology (KhPIWeek), Kharkiv, Ukraine, 2–6 October 2023; pp. 1–5. [Google Scholar] [CrossRef]
 - von Wenckstern, H. Group-III Sesquioxides: Growth, Physical Properties and Devices. Adv. Electron. Mater. 2017, 3, 1600350. [Google Scholar] [CrossRef]
 - Drozdowski, W.; Makowski, M.; Witkowski, M.E.; Wojtowicz, A.J.; Galazka, Z.; Irmscher, K.; Schewski, R. β-Ga2O3:Ce as a Fast Scintillator: An Unclear Role of Cerium. Radiat. Meas. 2019, 121, 49–53. [Google Scholar] [CrossRef]
 - Li, W.; Zhao, X.; Zhi, Y.; Zhang, X.; Chen, Z.; Chu, X.; Yang, H.; Wu, Z.; Tang, W. Fabrication of Cerium-Doped β-Ga2O3 Epitaxial Thin Films and Deep Ultraviolet Photodetectors. Appl. Opt. 2018, 57, 538. [Google Scholar] [CrossRef]
 - Luchechko, A.; Vasyltsiv, V.; Zhydachevskyy, Y.; Kushlyk, M.; Ubizskii, S.; Suchocki, A. Luminescence Spectroscopy of Cr3+ Ions in Bulk Single Crystalline β-Ga2O3. J. Phys. D Appl. Phys. 2020, 53, 354001. [Google Scholar] [CrossRef]
 - Yanagida, T.; Okada, G.; Kato, T.; Nakauchi, D.; Yanagida, S. Fast and high light yield scintillation in the Ga2O3 semiconductor material. Appl. Phys. Express 2016, 9, 042601. [Google Scholar] [CrossRef]
 - Luchechko, A.; Vasyltsiv, V.; Kostyk, L.; Tsvetkova, O.; Popov, A.I. Shallow and deep trap levels in X-ray irradiated β-Ga2O3: Mg. Nucl. Instrum. Methods Phys. Res. Sect. B Beam Interact. Mater. At. 2019, 441, 12–17. [Google Scholar] [CrossRef]
 - Koishybayeva, Z.; Konusov, F.; Pavlov, S.; Sidelev, D.; Nassyrbayev, A.; Cheshev, D.; Gadyrov, R.; Tarbokov, V.; Akilbekov, A. Influence of short-pulsed Ion irradiation on optical and photoelectrical properties of thin gallium oxide films. Opt. Mater. X 2025, 25, 100394. [Google Scholar] [CrossRef]
 - Luchechko, A.; Vasyltsiv, V.; Kushlyk, M.; Syvorotka, I.; Kostyk, L.; Slobodzyan, D.; Zhydachevskyy, Y. Luminescence and thermally stimulated conductivity of polycrystalline β-Ga2O3: Mn and β-Ga2O3: Mn, Si. J. Vac. Sci. Technol. A 2025, 43, 042802. [Google Scholar] [CrossRef]
 - Khartsev, S.; Hammar, M.; Nordell, N.; Zolotarjovs, A.; Purans, J.; Hallén, A. Reverse-Bias Electroluminescence in Er-Doped β-Ga2O3 Schottky Barrier Diodes Manufactured by Pulsed Laser Deposition. Phys. Status Solidi (A) 2022, 219, 2100610. [Google Scholar]
 - Ono, R.; Kodaira, A.; Tokunaga, T.; Yoshida, H.; Yamamoto, T. A technique to modify the photoluminescence intensity of β-Ga2O3 polycrystals using an electric field during sintering. J. Lumin. 2023, 254, 119508. [Google Scholar] [CrossRef]
 - Snetkov, P.P.; Morozkina, S.N.; Sosnin, I.M.; Bauman, D.A.; Hussainova, I.; Romanov, A.E. Electrospinning as a Method for Fabrication of Nanofibrous Photocatalysts Based on Gallium Oxide. Phys. Status Solidi (A) 2025, 222, 2400669. [Google Scholar] [CrossRef]
 - Xue, R.; Zhang, J.; Liu, H.; Guan, Y.; Ha, S. Photoelectric Properties of the g-ZnO/β-Ga2O3 Heterojunction. Phys. Status Solidi (B) 2025, 262, 2400595. [Google Scholar] [CrossRef]
 - Kondo, R.; Shimazoe, K.; Nishinaka, H. Alloying Ga2O3 with Fe2O3 on Corundum-Structured rh-ITO by Mist CVD and Its Demonstration of Photodetector and Photoelectrode Applications. Phys. Status Solidi (B) 2025, 262, 2400441. [Google Scholar] [CrossRef]
 - Kim, S.; Park, J.H.; Kim, H.W.; Jeon, D.W.; Hwang, W.S. Comparative study of photoinduced wettability and photocatalytic activity in different crystalline Ga2O3 phases. Mater. Sci. Semicond. Process. 2024, 175, 108289. [Google Scholar] [CrossRef]
 - Nikolskaya, A.; Okulich, E.; Korolev, D.; Stepanov, A.; Nikolichev, D.; Mikhaylov, A.; Tetelbaum, D.; Almaev, A.; Bolzan, C.A.; Buaczik, A.; et al. Ion implantation in β-Ga2O3: Physics and technology. J. Vac. Sci. Technol. A 2021, 39, 030802. [Google Scholar] [CrossRef]
 - Almaev, A.; Nikolaev, V.; Butenko, P.; Stepanov, S.; Pechnikov, A.; Yakovlev, N.; Sinyugin, I.; Shapenkov, S.; Scheglov, M. Gas sensors based on pseudohexagonal phase of gallium oxide. Phys. Status Solidi B 2021, 259, 2100306. [Google Scholar] [CrossRef]
 - Almaev, A.; Yakovlev, N.; Kopyev, V.; Nikolaev, V.; Butenko, P.; Deng, J.; Pechnikov, A.; Korusenko, P.; Koroleva, A.; Zhizhin, E. High Sensitivity Low-Temperature Hydrogen Sensors Based on SnO2/κ(ε)-Ga2O3:Sn Heterostructure. Chemosensors 2023, 11, 325. [Google Scholar] [CrossRef]
 - Almaev, A.; Nikolaev, V.; Yakovlev, N.; Butenko, P.; Stepanov, S.; Pechnikov, A.; Scheglov, M.; Chernikov, E. Hydrogen sensors based on Pt/α-Ga2O3:Sn/Pt structures. Sens. Actuators B Chem. 2022, 364, 131904. [Google Scholar] [CrossRef]
 - Butanovs, E.; Zubkins, M.; Nedzinskas, R.; Zadin, V.; Polyakov, B. Comparison of two methods for one-dimensional Ga2O3-ZnGa2O4 core–shell heterostructure synthesis. J. Cryst. Growth 2023, 618, 127319. [Google Scholar] [CrossRef]
 - Khartsev, S.; Nordell, N.; Hammar, M.; Purans, J.; Hallén, A. High-Quality Si-Doped β-Ga2O3 Films on Sapphire Fabricated by Pulsed Laser Deposition. Phys. Status Solidi (B) 2021, 258, 2000362. [Google Scholar] [CrossRef]
 - Zubkins, M.; Vibornijs, V.; Strods, E.; Butanovs, E.; Bikse, L.; Ottosson, M.; Hallén, A.; Gabrusenoks, J.; Purans, J.; Azens, A. Deposition of Ga2O3 Thin Films by Liquid Metal Target Sputtering. Vacuum 2023, 209, 111789. [Google Scholar] [CrossRef]
 - Butanovs, E.; Dipane, L.; Zolotarjovs, A.; Vlassov, S.; Polyakov, B. Preparation of functional Ga2S3 and Ga2Se3 shells around Ga2O3 nanowires via sulfurization or selenization. Opt. Mater. 2022, 131, 112675. [Google Scholar] [CrossRef]
 - Dimitrocenko, L.; Strikis, G.; Polyakov, B.; Bikse, L.; Oras, S.; Butanovs, E. The effect of a nucleation layer on morphology and grain size in MOCVD-grown β-Ga2O3 thin films on C-plane sapphire. Materials 2022, 15, 8362. [Google Scholar] [CrossRef] [PubMed]
 - Yakovlev, N.N.; Almaev, A.V.; Kushnarev, B.O.; Verkholetov, M.G.; Poliakov, M.V.; Zinovev, M.M. β-Ga2O3 Schottky Barrier Diode with Ion Beam Sputter-Deposited Semi-Insulating Layer. Crystals 2024, 14, 123. [Google Scholar] [CrossRef]
 - Zachinskis, A.; Grechenkov, J.; Butanovs, E.; Platonenko, A.; Piskunov, S.; Popov, A.I.; Purans, J.; Bocharov, D. Ir impurities in α- and β-Ga2O3 and their detrimental effect on p-type conductivity. Sci. Rep. 2023, 13, 8522. [Google Scholar] [CrossRef]
 - Osipov, A.V.; Sharofidinov, S.S.; Osipova, E.V.; Kandakov, A.V.; Ivanov, A.Y.; Kukushkin, S.A. Growth and Optical Properties of Ga2O3 Layers of Different Crystalline Modifications. Coatings 2022, 12, 1802. [Google Scholar] [CrossRef]
 - Khartsev, S.; Sarakovskis, A.; Grinberga, L.; Hammar, M.; Nordell, N.; Hallén, A. Electrical and Optical Properties of a Cu2O/β-Ga2O3 pn-Junction. Phys. Status Solidi (A) 2024, 221, 2300958. [Google Scholar] [CrossRef]
 - Suchikova, Y.; Kovachov, S.; Bohdanov, I.; Kosogov, I.; Drozhcha, D.; Popov, A.I. Design and structural characteristics of Ga2O3/por-GaAs/mono-GaAs Heterostructures for Advanced MEMS Applications. In Proceedings of the 2024 IEEE 19th International Conference on the Perspective Technologies and Methods in MEMS Design (MEMSTECH), Zozuli, Ukraine, 16–19 May 2024; pp. 48–51. [Google Scholar] [CrossRef]
 - Mohamed, M.; Janowitz, C.; Unger, I.; Manzke, R.; Galazka, Z.; Uecker, R.; Fornari, R.; Weber, J.R.; Varley, J.B.; Van de Walle, C.G. The electronic structure of β-Ga2O3. Appl. Phys. Lett. 2010, 97, 211903. [Google Scholar] [CrossRef]
 - Varley, J.B.; Schleife, A. Bethe–Salpeter Calculation of Optical-Absorption Spectra of In2O3 and Ga2O3. Semicond. Sci. Technol. 2015, 30, 024010. [Google Scholar] [CrossRef]
 - Tadjer Yamaguchi, K. First principles study on electronic structure of β-Ga2O3. Solid State Commun. 2004, 131, 739–744. [Google Scholar] [CrossRef]
 - Binet, L.; Gourier, D. Origin of the blue luminescence of β-Ga2O3. J. Phys. Chem. Solids 1998, 59, 1241–1249. [Google Scholar] [CrossRef]
 - Onuma, T.; Fujioka, S.; Yamaguchi, T.; Higashiwaki, M.; Sasaki, K.; Masui, T.; Honda, T. Correlation between blue luminescence intensity and resistivity in β-Ga2O3 single crystals. Appl. Phys. Lett. 2013, 103, 041910. [Google Scholar]
 - Usseinov, A.B.; Karipbayev, Z.T.; Purans, J.; Kakimov, A.B.; Bakytkyzy, A.; Zhunusbekov, A.M.; Koketai, T.A.; Kozlovskyi, A.L.; Suchikova, Y.; Popov, A.I. Study of β-Ga2O3 Ceramics Synthesized under Powerful Electron Beam. Materials 2023, 16, 6997. [Google Scholar] [CrossRef]
 - Jiang, J.; Zhang, J. Temperature-resolved photoluminescence, Raman and electrical properties of Li doped Ga2O3 nanostructure. Ceram. Int. 2020, 46, 2409–2412. [Google Scholar] [CrossRef]
 - Meißner, M.; Bernhardt, N.; Nippert, F.; Janzen, B.M.; Galazka, Z.; Wagner, M.R. Anisotropy of optical transitions in β-Ga2O3 investigated by polarized photoluminescence excitation spectroscopy. Appl. Phys. Lett. 2024, 124, 152102. [Google Scholar] [CrossRef]
 - Kumarbekov, K.K.; Kakimov, A.B.; Karipbayev, Z.T.; Kassymzhanov, M.T.; Brik, M.G.; Ma, C.-g.; Piasecki, M.; Suchikova, Y.; Kemere, M.; Konuhova, M. Temperature-dependent luminescence of europium-doped Ga2O3 ceramics. Opt. Mater. X 2025, 25, 100392. [Google Scholar] [CrossRef]
 - Chowdhury, T.; Paul, D.K.; Rahaman, M.R.; Ton-That, C.; Rahman, M.A. Temperature-dependent broadening of spectral lineshapes and kinetics of luminescence centers in monoclinic gallium oxide nanowires. J. Alloys Compd. 2025, 1010, 177609. [Google Scholar] [CrossRef]
 - Modak, S.; Chernyak, L.; Schulte, A.; Xian, M.; Ren, F.; Pearton, S.J.; Ruzin, A.; Kosolobov, S.S.; Drachev, V.P. Temperature dependence of cathodoluminescence emission in irradiated Si-doped β-Ga2O3. AIP Adv. 2021, 11, 125014. [Google Scholar] [CrossRef]
 - Onuma, T.; Nakata, Y.; Sasaki, K.; Masui, T.; Yamaguchi, T.; Honda, T.; Kuramata, A.; Yamakoshi, S.; Higashiwaki, M. Modeling and interpretation of UV and blue luminescence intensity in β-Ga2O3 by silicon and nitrogen doping. J. Appl. Phys. 2018, 124, 075103. [Google Scholar] [CrossRef]
 - Tang, H.; He, N.; Zhu, Z.; Gu, M.; Liu, B.; Xu, J.; Xu, M.; Chen, L.; Liu, J.; Ouyang, X. Temperature-dependence of X-ray excited luminescence of β-Ga2O3 single crystals. Appl. Phys. Lett. 2019, 115, 071904. [Google Scholar] [CrossRef]
 - Vasyltsiv, V.; Kostyk, L.; Tsvetkova, O.; Lys, R.; Kushlyk, M.; Pavlyk, B.; Luchechko, A. Luminescence and Conductivity of β-Ga2O3 and β-Ga2O3:Mg Single Crystals. Acta Phys. Pol. A 2022, 141, 312–317. [Google Scholar] [CrossRef]
 - Mykhaylyk, V.B.; Kraus, H.; Kapustianyk, V.; Rudko, M. Low temperature scintillation properties of Ga2O3. Appl. Phys. Lett. 2019, 115, 081103. [Google Scholar] [CrossRef]
 - Galazka, Z. β-Ga2O3 for wide-bandgap electronics and optoelectronics. Semicond. Sci. Technol. 2018, 33, 113001. [Google Scholar] [CrossRef]
 - Makeswaran, N.; Das, D.; Zade, V.; Gaurav, P.; Shutthanandan, V.; Tan, S.; Ramana, C.V. Size-and phase-controlled nanometer-thick β-Ga2O3 films with green photoluminescence for optoelectronic applications. ACS Appl. Nano Mater. 2021, 4, 3331–3338. [Google Scholar] [CrossRef]
 - Islam, M.M.; Rana, D.; Hernandez, A.; Haseman, M.; Selim, F.A. Study of trap levels in β-Ga2O3 by thermoluminescence spectroscopy. J. Appl. Phys. 2019, 125, 055701. [Google Scholar] [CrossRef]
 - Zatsepin, A.F.; Buntov, E.A.; Pustovarov, V.A. Luminescence of nanoparticles and quantum dots in Zn, Mn-implanted silica layers. Opt. Mater. 2025, 159, 116675. [Google Scholar] [CrossRef]
 - Popov, A.I.; Balanzat, E. Low temperature X-ray luminescence of KNbO3 crystals. Nucl. Instrum. Methods Phys. Res. Sect. B Beam Interact. Mater. At. 2000, 166, 305–308. [Google Scholar] [CrossRef]
 - Lisitsyn, V.M.; Bikhert, Y.V.; Lisitsyna, L.A.; Dauletbekova, A.K.; Reyterov, V.M.; Karipbayev, Z.T. Cathodoluminescence and Radiation-Induced Absorption in YLiF4 Crystals in Excitation by Electron Pulse. Adv. Mater. Res. 2014, 880, 13–18. [Google Scholar] [CrossRef]
 - Millers, D.; Grigorjeva, L.; Chernov, S.; Popov, A.; Lecoq, P.; Auffray, E. The temperature dependence of scintillation parameters in PbWO4 crystals. Phys. Status Solidi (B) 1997, 203, 585–589. [Google Scholar] [CrossRef]
 - Buryi, M.; Laguta, V.; Babin, V.; Laguta, O.; Brik, M.G.; Nikl, M. Rare-earth ions incorporation into Lu2Si2O7 scintillator crystals: Electron paramagnetic resonance and luminescence study. Opt. Mater. 2020, 106, 109930. [Google Scholar] [CrossRef]
 - Buryi, M.; Babin, V.; Laguta, V.; Spassky, D.A.; Nagirnyi, V.; Shlegel, V.N. Electron and hole trapping in Li2MoO4 cryogenic scintillator. Opt. Mater. 2021, 114, 110971. [Google Scholar] [CrossRef]
 - Buryi, M.; Babin, V.; Ligthart, R.A.M.; Nagorny, S.S.; Mikhailik, V.B.; Vaněček, V.; Prouzová Prochazková, L.; Kandel, R.; Nahorna, V.V.; Wang, P. Correlation of Emission, Scintillation and Charge Trapping Properties in Cs2HfCl6 and Cs2ZrCl6 Single Crystals. J. Mater. Chem. C 2021, 9, 2955–2968. [Google Scholar] [CrossRef]
 - Kuramata, A.; Koshi, K.; Watanabe, S.; Yamaoka, Y.; Masui, T.; Yamakoshi, S. High-Quality β-Ga2O3; Single Crystals Grown by Edge-Defined Film-Fed Growth. Jpn. J. Appl. Phys. 2016, 55, 1202A2. [Google Scholar] [CrossRef]
 - Frodason, Y.K.; Johansen, K.M.; Vines, L.; Varley, J.B. Self-trapped hole and impurity-related broad luminescence in β-Ga2O3. J. Appl. Phys. 2020, 127, 075701. [Google Scholar] [CrossRef]
 - Rudin, S.; Reinecke, T.; Segall, B. Temperature-dependent exciton linewidths in semiconductors. Phys. Rev. B 1990, 42, 11218. [Google Scholar] [CrossRef] [PubMed]
 - O’Donnell, K.P.; Chen, X. Temperature dependence of semiconductor band gaps. Appl. Phys. Lett. 1991, 58, 2924–2926. [Google Scholar] [CrossRef]
 - Grivickas, V.; Ščajev, P.; Miasojedovas, S.; Voss, L.; Grivickas, P. Self-Trapped-Exciton Radiative Recombination in β-Ga2O3: Impact of Two Concurrent Nonradiative Auger Processes. ACS Appl. Electron. Mater. 2025, 7, 1829–1841. [Google Scholar] [CrossRef] [PubMed]
 - Varley, J.B.; Janotti, A.; Franchini, C.; Van de Walle, C.G. Role of self-trapping in luminescence and conductivity of wide-band-gap oxides. Phys. Rev. B 2013, 87, 115201. [Google Scholar] [CrossRef]
 - Usseinov, A.; Platonenko, A.; Koishybayeva, Z.; Akilbekov, A.; Zdorovets, M.; Popov, A.I. Pair vacancy defects in β-Ga2O3 crystal: Ab initio study. Opt. Mater. X 2022, 16, 100200. [Google Scholar] [CrossRef]
 - Kang, Y.; Krishnaswamy, K.; Miao, M.; Van de Walle, C.G. Choosing the Correct Hybrid for Defect Calculations: A Case Study on β-Ga2O3. Phys. Rev. B 2017, 95, 161205. [Google Scholar] [CrossRef]
 - Furthmüller, J.; Bechstedt, F. Quasiparticle bands and spectra of Ga2O3 polymorphs. Phys. Rev. B 2016, 93, 115204. [Google Scholar] [CrossRef]
 - Peelaers, H.; Van de Walle, C.G. Brillouin-zone and phonon effects on the band structure of β-Ga2O3. Phys. Rev. B 2015, 92, 235201. [Google Scholar] [CrossRef]
 - Ricci, F.; Bazzani, M.; Catellani, A.; Cicero, G. Optical properties and band gap of β-Ga2O3 from hybrid density functional theory. J. Phys. Condens. Matter 2014, 26, 265501. [Google Scholar] [CrossRef]
 - Usseinov, A.; Koishybayeva, Z.; Platonenko, A.; Pankratov, V.; Suchikova, Y.; Akilbekov, A.; Zdorovets, M.; Purans, J.; Popov, A.I. Vacancy Defects in Ga2O3: First-Principles Calculations of Electronic Structure. Materials 2021, 14, 7384. [Google Scholar] [CrossRef]
 - Zhang, H.; Han, D.; Wang, T.; Li, W.; Shi, J.; Jiang, J. Structural and Optical Properties of β-Ga2O3 from First-Principles Calculations. J. Appl. Phys. 2023, 133, 085702. [Google Scholar]
 - Baldini, M.; Alkauskas, A.; Lyons, J.L.; Van de Walle, C.G. First-principles theory of vibrational and optical properties of β-Ga2O3. Appl. Phys. Lett. 2017, 110, 122103. [Google Scholar] [CrossRef]
 - Peelaers, H.; Varley, J.B.; Van de Walle, C.G. Density functional theory simulations of β-Ga2O3: Band gap and anisotropy. Appl. Phys. Lett. 2015, 107, 011906. [Google Scholar]
 - Brik, M.G.; Srivastava, A.M.; Popov, A.I. A few common misconceptions in the interpretation of experimental spectroscopic data. Opt. Mater. 2022, 127, 112276. [Google Scholar] [CrossRef]
 - Jangir, R.; Porwal, S.; Tiwari, P.; Mondal, P.; Rai, S.K.; Ganguli, T.; Oak, S.M.; Deb, S.K. Photoluminescence study of β-Ga2O3 nanostructures annealed in different environments. J. Appl. Phys. 2012, 112, 034307. [Google Scholar] [CrossRef]
 - Wang, Y.; Dickens, P.T.; Varley, J.B.; Ni, X.; Lotubai, E.; Sprawls, S.; Liu, F.; Lordi, V.; Krishnamoorthy, S.; Blair, S.; et al. Incident wavelength and polarization dependence of spectral shifts in β-Ga2O3 UV photoluminescence. Sci. Rep. 2018, 8, 18075. [Google Scholar] [CrossRef]
 - Wang, M.; Yang, Z.; Zhang, C. Polarized photoluminescence from lead halide perovskites. Adv. Opt. Mater. 2021, 9, 2002236. [Google Scholar] [CrossRef]
 - Yamaga, M.; Ishikawa, T.; Yoshida, M.; Hasegawa, T.; Villora, E.G.; Shimamura, K. Polarization of optical spectra in transparent conductive oxide β-Ga2O3. Phys. Status Solidi (C) 2011, 8, 2621–2624. [Google Scholar] [CrossRef]
 - Cooke, J.; Lou, M.; Scarpulla, M.A.; Sensale-Rodriguez, B. Polarized photoluminescence from Sn, Fe, and unintentionally doped β-Ga2O3. J. Vac. Sci. Technol. A 2024, 42, 022801. [Google Scholar] [CrossRef]
 - Dutton, B.L.; Remple, C.; Jesenovec, J.; Ghandiparsi, S.; Gottlieb, M.S.; Varley, J.B.; Voss, L.F.; McCluskey, M.D.; McCloy, J.S. Polarization and orientation dependent optical properties in Czochralski-grown transition metal doped β-Ga2O3. In Proceedings of the SPIE 12422, Oxide-based Materials and Devices XIV, San Francisco, CA, USA, 30 January–2 February 2023. Volume 12422, pp.23–30. [Google Scholar] [CrossRef]
 






| Property | Value (β-Ga2O3) | 
|---|---|
| Crystal structure | Monoclinic; a = 12.23 Å, b = 3.04 Å, c = 5.80 Å; α = γ = 90°, β = 103.7° | 
| Melting point | 1725 °C | 
| Density | 5.95 × 103 kg/m3 | 
| Vickers hardness | (100) face: 9.7 GPa; (201) face: 12.5 Ga | 
| Young’s modulus | 230 GPa | 
| Thermal conductivity | (100) direction: 13.6 W/(m·K); (010): 22.8 W/(m·K) | 
| Specific heat capacity | 0.49 × 103 J/(kg·K) | 
| Refractive index (450 nm) | 1.97 | 
| Thermal expansion coeff. | (100): 5.3 × 10−6 K−1; (010): 8.9 × 10−6 K−1; (001): 8.2 × 10−6 K−1 (300–1300 K range) | 
| Band | B1 | E1, meV | B2 | E2, meV | 
|---|---|---|---|---|
| Emax | 4.92 | 11.6 | 2357.81 | 154 | 
| 3.55 eV (J1) | 5.44 | 11 | 18.44 | 27 | 
| 3.37 eV (J2) | 5.32 | 12.3 | 2110.23 | 125 | 
| 3.07 (J3) | 4.35 | 10.6 (up to 120 K) | - | - | 
| Parameters | Value | 
|---|---|
| I0 | 224,246.9 | 
| S | 8,261,267.7 | 
| Erel (eV) | 50 meV | 
| B1 | 6.51 | 
| E1 (eV) | 12.6 meV | 
| B2 | 2097.64 | 
| E2 (eV) | 122.4 meV | 
| Band | Γ0 (eV) | A (eV) | Eph (meV) | RMSE (meV) | 
|---|---|---|---|---|
| Integral spectra | 0.611 | 0.505 | 40.2 | 12 | 
| 3.07 eV (J3) | 0.611 | 0.369 | 45.7 | 65 | 
| 3.37 eV (J2) | 0.487 | −0.47 | 64.0 | 54 | 
| 3.55 eV (J1) | 0.264 | 1.351 | 123.9 | 25 | 
Disclaimer/Publisher’s Note: The statements, opinions and data contained in all publications are solely those of the individual author(s) and contributor(s) and not of MDPI and/or the editor(s). MDPI and/or the editor(s) disclaim responsibility for any injury to people or property resulting from any ideas, methods, instructions or products referred to in the content.  | 
© 2025 by the authors. Licensee MDPI, Basel, Switzerland. This article is an open access article distributed under the terms and conditions of the Creative Commons Attribution (CC BY) license (https://creativecommons.org/licenses/by/4.0/).
Share and Cite
Bakytkyzy, A.; Karipbayev, Z.T.; Dauletbekova, A.; Zhunusbekov, A.M.; Kemere, M.; Konuhova, M.; Sarakovskis, A.; Popov, A.I. Comprehensive Spectroscopic Study of Competing Recombination Channels and Thermal Quenching Mechanisms in β-Ga2O3 Single Crystals. Crystals 2025, 15, 909. https://doi.org/10.3390/cryst15100909
Bakytkyzy A, Karipbayev ZT, Dauletbekova A, Zhunusbekov AM, Kemere M, Konuhova M, Sarakovskis A, Popov AI. Comprehensive Spectroscopic Study of Competing Recombination Channels and Thermal Quenching Mechanisms in β-Ga2O3 Single Crystals. Crystals. 2025; 15(10):909. https://doi.org/10.3390/cryst15100909
Chicago/Turabian StyleBakytkyzy, Aizat, Zhakyp T. Karipbayev, Alma Dauletbekova, Amangeldy M. Zhunusbekov, Meldra Kemere, Marina Konuhova, Anatolijs Sarakovskis, and Anatoli I. Popov. 2025. "Comprehensive Spectroscopic Study of Competing Recombination Channels and Thermal Quenching Mechanisms in β-Ga2O3 Single Crystals" Crystals 15, no. 10: 909. https://doi.org/10.3390/cryst15100909
APA StyleBakytkyzy, A., Karipbayev, Z. T., Dauletbekova, A., Zhunusbekov, A. M., Kemere, M., Konuhova, M., Sarakovskis, A., & Popov, A. I. (2025). Comprehensive Spectroscopic Study of Competing Recombination Channels and Thermal Quenching Mechanisms in β-Ga2O3 Single Crystals. Crystals, 15(10), 909. https://doi.org/10.3390/cryst15100909
        
