Abstract
This study investigates the gap-to- ratio (R) of yttrium hydride superconductors within the weak coupling limit. We derived an analytical formula for the gap-to- ratio. The ratio of the gap-to- is dependent on the pressure applied to each superconductor. The maximum ratio, approximately 3.85, is observed in one superconductor, while the lowest ratio, roughly 3.21, is found in another superconductor. Based on the findings of our study, it can be deduced that yttrium hydride superconductors exhibit attributes commonly associated with weak-coupling superconductors. The influence of the Coulomb potential is more pronounced at a critical temperature compared to the ratio of the gap to the critical temperature.
1. Introduction
In early research into high-pressure research on superconductors, it was found that several hydrides, such as hydrogen sulfide [1,2] and lanthanum hydride [3,4], have high critical temperatures of 200 K and 250 K, respectively. This was the first evidence that high-critical temperature superconductors under high pressure existed. When searching for superconducting hydrides with high , the investigated potentially achievable high-pressure crystal structures of lanthanum hydride (La–H) and yttrium hydride (Y–H) were significant because they can obtain extremely high critical temperatures using a process that seems quite comparable [5]. In their research, Liu et al. [5] employed the electron–phonon-coupling constant, denoted as , and the effective Coulomb potential, represented by , with a particular value of and for and superconductors. It was shown that the La-H and Y-H systems exhibit the presence of a stable hydrogen-rich phase for superconductivity in high-pressure conditions. In their study, Snider et al. [6] achieved the synthesis of a yttrium superhydride on and observed that the yttrium superhydride has a maximum critical temperature of 262 at 182 GPa for the superconductor. The coefficient of the isotope effect, denoted as , was determined to be 0.48 by their experimental measurements. In their studies, Kong et al. [7] synthesized the compounds and to investigate their superconducting properties. They reported that the superconducting state in materials and occurs at critical temperatures of around 220 K and 243 K, respectively, when subjected to pressures of 183 GPa and 201 GPa. These findings are consistent with the predictions of with K at 200 GPa [5] and with K at 110 GPa [8]. Nonetheless, these results are inconsistent with the computation that anticipated with K at 400 GPa [9] or K at 250 GPa [5]. The dome-like shape of the critical temperature versus the pressure of and , and the isotope effect coefficients of 0.39 and 0.5 were found. These values of the isotope effect coefficients of and and are in the range of the weak-coupling limit of the BCS theory. The electron–phonon interaction is associated with the pairing mechanism of the superconducting state that can be observed in these hydrides. It was identified and proven that this is the mechanism that causes superconductivity to occur [1,4]. In Ref. [10], it was suggested that the Cooper pairs are associated with the strong electron–phonon constant and that this constant is frequency-dependent. Meanwhile, the isotope effect coefficient of certain hydrides indicates a weak-coupling interaction [7].
In the present study, the authors are interested in the gap-to- ratio of yttrium hydride superconductors. The experimental results reveal that yttrium hydride superconductors exhibit weak-coupling interactions with electron–phonon interactions. However, there has been limited research on the zero-temperature energy gap of a hydride superconductor with evolving pressure. We first performed the experiment for the conventional s-wave superconductor in the Pb superconductor at 3400 bar and observed that the energy gap of the Pb superconductor dependency on pressure was larger than BCS, and rising pressure led to approach the BCS value. As the pressure increased, this ratio decreased [11]. The effect of high pressure on the energy gap of indium and thallium superconducting films was also examined. The value of dropped as the pressure rose [12]. The zero-temperature gap of was estimated from the upper critical field experiment at meV, K and at 155 GPa [13]. In the LaH10 superconductor, the theoretical confirmation of an electron–phonon coupling mechanism with a larger gap-to-Tc ratio than the BCS value in the superconductors [14,15] K with at 300 GPa was observed [14]. In yttrium hydride superconductors, there were reports of and with [6,16,17] and [7,17]. The critical temperature of yttrium hydride superconductors, referred to as , was found to exhibit exceptional properties in experimental studies. Specifically, at a pressure of 182 GPa, the critical temperature reached its maximum, as observed in experiment K [6]. Additionally, experiment K demonstrated that at a pressure of 250 GPa, yttrium hydride superconductors also exhibit a high critical temperature [7]. However, since this is estimated using predictive models,, it suggests that the critical temperature is expected at a pressure of 250 GPa, with its highest at K [5]. The conventional phonon-mediated superconductor is proposed as a potential candidate for this particular superconductor [6,7].
This study investigates the influence of pressure on the superconducting properties of yttrium hydride materials. We investigated the relationship between the gap-to- ratio and the modified density of states and the energy dispersion relation as a function of pressure in the weak-coupling limit. The experimental findings were compared to the numerical results in order to demonstrate the reliability and precision of our calculations.
2. Materials and Methods
2.1. Materials
Consider the crystal structure of yttrium hydrides and their critical temperature: TC, in Figure 1a, with I4/mmm-YH3, had 40 K at 50 GPa [18,19,20,21]. The lattice parameters are , and [9]. In Figure 1b, I4/mmm-YH4 had 85–95 K at 300 GPa. The lattice parameters are , , and [9]. In Figure 1c, Imm2-YH7 had 21–43 K at 165 GPa. Figure 1d shows that Im3m-YH6 had 251–264 K at 200 GPa. The lattice parameters are , and [9]. Figure 1e shows that P63/mmc-YH9 had 253–276 K at 300 GPa. The lattice parameters are , , with , [9]. We found that Im3m-YH6 and P63/mmc-YH9 were attributed to their hydrogen cage structure having a higher TC than (b) I4/mmm-YH4 and (d) Imm2-YH7. In the case of YH10 [9,22], a high TC of about 303 K at 400 GPa was calculated and predicted; the lattice parameters are and . The calculation used [18], which contrasts with a recent study that used a larger value. However, the peculiar geometry by which yttrium hydrides implement a dense hydrogen lattice compromises H packing and structural stability.
Figure 1.
The crystal structure of yttrium hydride superconductors under pressure from 90 GPa to 400 GPa for (a) YH3, (b) YH4, (c) YH7, (d) YH6, (e) YH9, and (f) YH10. Symmetry cages found in YH6 containing six squares + eight hexagons, YH9 consisting of six irregular squares + six pentagons + six hexagons, and YH10 containing six squares + twelve hexagons, differing from the YH3, YH4, and YH7 structure [9,18,22].
2.2. Methods
In this study, we investigated the influence of pressure on the superconducting characteristics of yttrium hydride materials in the weak-coupling limit, beginning with the BCS gap equation [23,24,25] as follows:
Here, the energy of the carrier, , is measured relative to the Fermi energy. represents the interaction potential. The order parameter is dependent on both the temperature (T) and wave vector (k), denoted as .
In the context of hydride superconductors, it is important to include the Coulomb potential as an additional interaction that should be taken into consideration during calculations. Let represent the attractive–phonon interaction and represent the Coulomb repulsion interaction, either of which possesses a characteristic cutoff energy associated with the Debye phonon and Coulomb , respectively. Then, the interaction potential of carrier is [26,27,28] for and for . The superconducting order parameter should be expressed in a manner that demonstrates comparable characteristics as for , and for . The addition of external high pressure to a superconductor can result the a deformation of its crystal structure due to energy , where indicates the volume of the specific unit cell under consideration. We considered the assumption that all atoms within the unit cell absorb external energy and, thus, reside in an excited state. Consequently, the influence of external pressure on the unit cell volumes was taken into consideration. The newly established equilibrium state of the dispersion relation of the carrier is designated as where , in which and present the unit cell volume under pressure and ambient pressure, respectively. We assume in the relation that is a constant related to the Birch–Murnaghan equation of state. The carrier dispersion relation could be analytically represented by an expansion in a power series of .
After the higher order is neglected, we obtain the following:
here and are assumed to be constants with units of energy, and a higher order is neglected, see Appendix A.
Another possible consequence of exerting pressure on a hydride superconductor is the possible fluctuation of the density of states, resulting in the formation of a narrow peak in the density of states. This peak is seen to occur somewhat below the Fermi level [17,28,29]. In our suggested model, we also made the assumption that the fluctuation in carriers under pressure leads to a single narrow fluctuation constant in the density of states. The parameter represents the magnitude of the variation in height, and the parameter is dimensionless. To facilitate the analysis, the position of distortion in the unpressured condition is denoted as , thereby establishing the relationship . As a result, we achieved the following:
In our framework, we suggest that for the impact of high pressure on the physical properties of hydride superconductors, we make the assumption that the modification of the dispersion relation, Equation (2), and the presence of a delta peak in the density of states, Equation (3), should be incorporated into our calculations. Substituting Equations (2) and (3) into the integral form of Equation (1) for a temperature equal to the critical temperature , we obtain the matrix from the gap equation as follows:
here , , and .
For , we obtain the critical temperature equation as follows:
here .
Using the same process for the zero-temperature (T = 0) consideration, and the similar matrix with , we obtain the zero-temperature gap as follows:
Here, the gap-to-Tc can be found, , therefore,
where .
At this point, the variables depend on the volume ratio as , and . In order to establish a connection with the experimental data concerning hydride superconductors, it is preferable to present the curve depicting the relationship between these parameters and the external pressure. The Birch–Murnaghan equation of state [30,31,32,33] is employed to analyze the impact of external pressure on the expansion of a new state in terms of reduced volume . However, an experiment employing the Birch–Murnaghan equation of state for the yttrium hydride superconductor has not been located. Nonetheless, a comparable form of the equation is referenced in Ref. [7]. The data points were extracted from their respective curves and subsequently fitted using a polynomial equation. Following that, we could determine the relationship between external pressure and reduced volume .
3. Results and Discussion
In this paper, we performed calculations to support the abovementioned results using the gap-to- ratio. Several phases of Y-H superconductors were laid out under pressure, including the , , , , and superconductors [7,16,22]. Among these, the superconductor was identified to have the greatest critical temperature. The aim of the present research is to investigate the critical temperature and the gap-to- ratio in the Y-H superconductor. The equations for the critical temperature and the gap-to- ratio may be determined by evaluating Equations (5) and (7), respectively. However, the Birch–Murnaghan equation was not obtained. Therefore, we initially computed the relation of each YH superconductor using the data from Reference [7]. The data points were detached from their respective curves and subsequently fitted with a second-order polynomial equation in order to determine the connection between external pressure and decreased volume . The Debye cutoff temperature was reported as K for , K for , and K for [16]. In our analysis, we utilized the parameter ( 684 K, 1333 K) to represent the whole range of potential values for the Debye cutoff temperature in the Y-H superconductor. The coupling constant () was utilized in the weak-coupling limit with the effective Coulomb potential () employed in the range [5].
The numerical calculations of and of the high-pressure superconductor of the superconductor are shown in Figure 2. The experimental data for were compared to our numerical calculation, as shown in Figure 2a. Within the same parameters of calculation, Figure 2b presents the prediction for the gap-to- ratio . The parameters were 684 K, 1333 K, , , , , , . The , read out from Ref. [7], was found to be for . In our investigation of 684 K, 1333 K and , it was observed that the superconductor exhibits the critical temperature K, while the gap-to- ratio was determined. As the values of decreased and increased, there was a corresponding decrease in the value of . As the pressure decreased, the critical temperature and the gap-to- ratio increased. The Coulomb potential had a greater impact on the critical temperature compared to its influence on the gap-to- ratio.

Figure 2.
The numerical calculations for (a) the critical temperature (Tc) and (b) the gap-to-Tc ratio (R) for the YH9 superconductor.
Figure 3 presents the and versus pressure of the superconductor. The parameters were 684 K, 1333 K, , , , , and . The , read out from Ref. [7], was found to be for . In Figure 3a, our numerical calculation of the critical temperature agrees with the experimental data for K and . It was observed that the superconductor exhibits a critical temperature of K, while the gap-to- ratio () was determined. As the values of decrease and increase, there is a corresponding decrease in the value of . As the pressure decreases, the critical temperature and the gap-to- ratio rises. The impact of pressure on the gap-to- ratio may be observed via an elevation in the Coulomb potential, accompanied by a corresponding reduction in . In particular, the decrease in the gap-to- ratio is clearer than other gap-to- ratios. The influence of the Coulomb potential on the critical temperature is stronger in comparison to its effect on the gap-to- ratio.
Figure 3.
The numerical calculations for (a) the critical temperature (Tc) and (b) the gap-to-Tc ratio (R) for the YH6 superconductor.
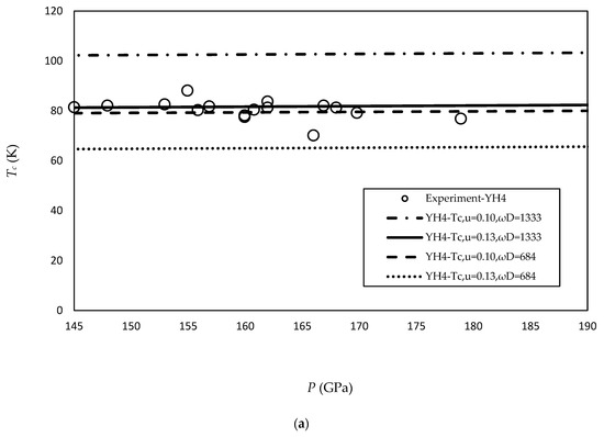
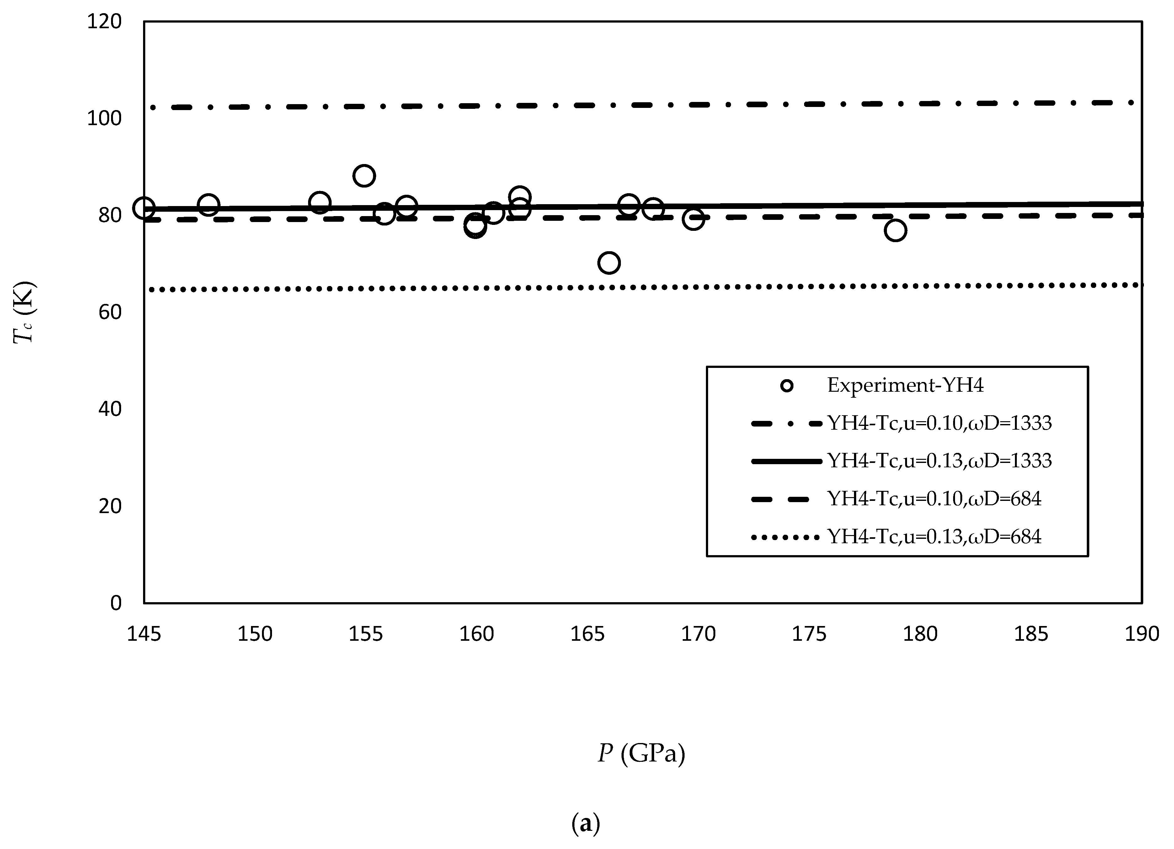
The numerical calculations for the quantities of and in the high-pressure superconductor are presented in Figure 4. The parameters were 684 K, 1333 K, , , , , . The , read out from Ref. [7], was found to be for . Based on the restrictions caused by our available data, we aim to demonstrate that curve serves as an appropriate model for curve . The exhibits a comparable to that of the [7], but there is a lack of data on the critical temperature versus pressure relationship in . is depicted as a representation of the superconductor. The experimental data of the superconductor (70–88 K) fit well with our parameters as K and K, . In our investigation of 684 K, 1333 K and , it was observed that the superconductor exhibits a critical temperature when K, while the gap-to- ratio () was determined. When the pressure increases, the critical temperature also increases, but the gap-to- value decreases. This behavior is contradictory to and .

Figure 4.
The numerical calculations for (a) the critical temperature (Tc) and (b) the gap-to-Tc ratio (R) for the YH4 superconductor.
The numerical values of and for the superconductor are shown in Figure 5. The parameters were 684 K, 1333 K, , , , . We lacked versus data for the superconductor, so we employed a linear fit on the data while assuming that the components of the superconductor and superconductor possess the same phase characteristics as those found in the superconductor and superconductor [7]. Then, the read out from Ref. [7] was found to be for . The experimental data for the superconductor were found in a low-temperature region at about K. Our computation should be appropriately correlated with variables K and . However, we did not include the specific number in order to maintain consistency with other Y-H superconductors. It was observed that the superconductor exhibits a critical temperature when K, while the gap-to- ratio () was determined. The phase shows the lowest critical temperature, but the gap-to- ratio is closer to the BCS value than the other.
Figure 5.
The numerical calculations for (a) the critical temperature (Tc) and (b) the gap-to-Tc ratio (R) for the YH7 superconductor.
In our model, the parameter of YH7 under high pressure had a lower density of state than that of YH6 and YH9. Therefore, a lower critical temperature was found in YH7, which agrees with the calculation and experimental result in Ref. [16]. The higher critical temperature of YH6 and YH9 was due to the large contribution of H to the electronic density of states, resulting in a larger density of states [9,22]. The high Tc of Im3m-YH6 and P63/mmc-YH9 was attributed to their hydrogen cage structure and especially to the large contribution of the H-derived electronic density of states at the Fermi level. This was not successful for the present YH10 to be synthesized [7,34], but YH10 had symmetrical hydrogen cages and a high density of states the same as YH9. That could be a candidate for the high Tc [22].
4. Conclusions
This research investigated the properties of , , , and superconductors, specifically focusing on the analysis of and . The obtained results provide insights into the underlying crystal structural similarities seen in . The data of were utilized to determine the pressure parameters, which, in turn, allowed for the estimation of . The gap-to- ratios are 3.76–3.85, 3.57–3.83, 3.79–3.82, and 3.21–3.68 for the , , , and superconductors, respectively. The phase exhibiting a lower critical temperature indicates a gap-to-Tc ratio that is closer to the BCS value compared to the other phases. Based on our findings, it may be inferred that the Y-H superconductor exhibits characteristics typically associated with weak-coupling superconductors. Meanwhile, the dominant effect of the Coulomb potential is more pronounced at the critical temperature compared to the gap-to-Tc ratio. Finally, we evaluated the McMillan methods [34,35] that used numerical methods to determine strong electron–phonon coupling and high Tc but which were neglected from the BCS-based mechanism [23,24,25,36,37,38,39] and the anti-adiabatic scenario [40] for all types of superconductors. In our model, we used , and K, which ensured weak coupling and were preserved with BCS via the rising .
Author Contributions
P.T. calculated and analyzed the model, comparing this with the experimental data and writing the original draft. P.U. and A.C. initiated and developed the calculation model and validated all study findings. S.M. and T.K. examined the equations and revised the manuscript. All authors have read and agreed to the published version of the manuscript.
Funding
This research received no external funding.
Data Availability Statement
The raw data supporting the conclusions of this article will be made available by the authors on request.
Acknowledgments
We wish to acknowledge the encouragement we received from Prasarnmit Physics Research Unit, Department of Physics, Faculty of Science, Srinakharinwirot University.
Conflicts of Interest
The authors declare no competing financial interests.
Appendix A
Birch–Murnaghan equation, from the ideal gas equation
When ,
Expanding the free energy in the form of a series
when .
Thus, we can relate P and via V from Equations (A8) and (A9).
We can derive the matrix from the gap equation as follows:
Here, , ,
From Equation (A1), the matrix determinant equal to zero is as follows:
This gives
For , we obtain
The critical temperature equation is
here and .
Using the same process at zero-temperature (T = 0), we can obtain the similar matrix (Equation (4)), with
Here,
For , we obtain
The zero-temperature gap is found,
The gap-to-Tc can be found by setting the equation. Because , we can obtain the following equation,
To ensure more accuracy, we use the same equation in integration form that we use for the numerical calculation,
For the gap-to-Tc ratio, ,
Here, .
We then obtain
References
- Drozdov, A.P.; Eremets, M.I.; Troyan, I.A.; Ksenofontov, V.; Shylin, S.I. Conventional superconductivity at 203 Kelvin at high pressures in the sulfur hydride system. Nature 2015, 525, 73–76. [Google Scholar] [CrossRef]
- Einaga, M.; Sakata, M.; Ishikawa, T.; Shimizu, K.; Eremets, M.I.; Drozdov, A.P.; Troyan, I.A.; Hirao, N.; Ohishi, Y. Crystal structure of the superconducting phase of sulfur hydride. Nat. Phys. 2016, 12, 835–838. [Google Scholar] [CrossRef]
- Somayazulu, M.; Ahart, M.; Mishra, A.K.; Geballe, Z.M.; Baldini, M.; Meng, Y.; Hemley, R.J. Evidence for superconductivity above 260 K in lanthanum superhydride at megabar pressures. Phys. Rev. Lett. 2019, 122, 027001. [Google Scholar] [CrossRef] [PubMed]
- Drozdov, A.P.; Kong, P.P.; Minkov, V.S.; Besedin, S.P.; Kuzovnikov, M.A.; Mozaffari, S.; Balicas, L.; Balakirev, F.F.; Graf, D.E.; Prakapenka, V.B.; et al. Superconductivity at 250 K in lanthanum hydride under high pressures. Nature 2019, 569, 528–531. [Google Scholar] [CrossRef] [PubMed]
- Liu, H.; Naumov, I.I.; Hoffmann, R.; Hemley, R.J. Potential high-Tc superconducting lanthanum and yttrium hydrides at high pressure. Proc. Natl. Acad. Sci. USA 2017, 114, 6990–6995. [Google Scholar] [CrossRef] [PubMed]
- Snider, E.; Dasenbrock-Gammon, N.; McBride, R.; Wang, X.; Meyers, N.; Lawler, K.V.; Zurek, E.; Salamat, A.; Dias, R.P. Synthesis of yttrium superhydride superconductor with a transition temperature up to 262 K by catalytic hydrogenation at high pressures. Phys. Rev. Lett. 2021, 126, 117003. [Google Scholar] [CrossRef] [PubMed]
- Kong, P.; Minkov, V.S.; Kuzovnikov, M.A.; Drozdov, A.P.; Besedin, S.P.; Mozaffari, S.; Balicas, L.; Balakirev, F.F.; Prakapenka, V.B.; Chariton, S.; et al. Superconductivity up to 243 K in the yttrium-hydrogen system under high pressure. Nat. Commun. 2021, 12, 5075. [Google Scholar] [CrossRef]
- Li, Y.; Hao, J.; Liu, H.; Tse, J.S.; Wang, Y.; Ma, Y. Pressure-stabilized superconductive yttrium hydrides. Sci. Rep. 2015, 5, 9948. [Google Scholar] [CrossRef] [PubMed]
- Peng, F.; Sun, Y.; Pickard, C.J.; Needs, R.J.; Wu, Q.; Ma, Y. Hydrogen clathrate structures in rare earth hydrides at high pressures: Possible route to room-temperature superconductivity. Phys. Rev. Lett. 2017, 119, 107001. [Google Scholar] [CrossRef]
- Pickard, C.J.; Errea, I.; Eremets, M.I. Superconducting hydrides under pressure. Annu. Rev. Condens. 2020, 11, 57–76. [Google Scholar] [CrossRef]
- Franck, J.P.; Keeler, W.J. Pressure Dependence of the Energy Gap of Superconducting Pb. Phys. Rev. Lett. 1968, 20, 379. [Google Scholar] [CrossRef]
- Galkin, A.A.; Svistunov, V.M.; Dikii, A.P. Effect of high pressure on the energy gap of Indium and Thallium superconducting films. Phys. Status Solidi B 1969, 35, 421–426. [Google Scholar] [CrossRef]
- Talantsev, E.F. Classifying superconductivity in compressed H3S. Mod. Phys. Lett. B 2019, 33, 1950195. [Google Scholar] [CrossRef]
- Durajski, A.P.; Szczęśniak, R.; Li, Y.; Wang, C.; Cho, J.H. Isotope effect in superconducting lanthanum hydride under high compression. Phys. Rev. B 2020, 101, 214501. [Google Scholar] [CrossRef]
- Durajski, A.P.; Wang, C.; Li, Y.; Szczȩśniak, R.; Cho, J.H. Evidence of phonon-mediated superconductivity in LaH10 at high pressure. Ann. Phys. 2021, 533, 2000518. [Google Scholar] [CrossRef]
- Troyan, I.A.; Semenok, D.V.; Kvashnin, A.G.; Sadakov, A.V.; Sobolevskiy, O.A.; Pudalov, V.M.; Ivanova, A.G.; Prakapenka, V.B.; Greenberg, E.; Gavriliuk, A.G.; et al. Anomalous high-temperature superconductivity in YH6. Adv. Mater. 2021, 33, 2006832. [Google Scholar] [CrossRef]
- Ruangrungrote, S.; Chanpoom, T.; Thaninworapak, R.; Udomsamuthirun, P. Investigation of the gap-to-Tc ratio of LaH10 and LaD10 superconductors. Int. J. Mod. Phys. A 2023, 37, 2350230. [Google Scholar] [CrossRef]
- Heil, C.; Di Cataldo, S.; Bachelet, G.B.; Boeri, L. Superconductivity in sodalite-like yttrium hydride clathrates. Phys. Rev. B 2019, 99, 220502. [Google Scholar] [CrossRef]
- Li, Y.; Ma, Y. Crystal structures of YH3 under high pressure. Solid State Commun. 2011, 151, 388–391. [Google Scholar] [CrossRef]
- Machida, A.; Ohmura, A.; Watanuki, T.; Aoki, K.; Takemura, K. Long-period stacking structures in yttrium trihydride at high pressure. Phys. Rev. B 2007, 76, 052101. [Google Scholar] [CrossRef]
- Kim, D.Y.; Scheicher, R.H.; Ahuja, R. Predicted high-temperature superconducting state in the hydrogen-dense transition-metal hydride YH3 at 40 K and 17.7 GPa. Phys. Rev. Lett. 2009, 103, 077002. [Google Scholar] [CrossRef] [PubMed]
- Wang, Y.; Wang, K.; Sun, Y.; Ma, L.; Wang, Y.; Zou, B.; Liu, G.; Zhou, M.; Wang, H. Synthesis and superconductivity in yttrium superhydrides under high pressure. Chin. Phys. B 2022, 31, 106201. [Google Scholar] [CrossRef]
- Bardeen, J.; Cooper, L.N.; Schrieffer, J.R. Microscopic theory of superconductivity. Phys. Rev. 1957, 106, 162. [Google Scholar] [CrossRef]
- Bardeen, J.; Cooper, L.N.; Schrieffer, J.R. Theory of Superconductivity. Phys. Rev. 1957, 108, 1175–1204. [Google Scholar] [CrossRef]
- Udomsamuthirun, P.; Ratanaburi, S.; Saentalard, N.; Yoksan, S. The ratio 2Δ(0)/Tc in BCS superconductivity. J. Supercond. 1996, 9, 603–604. [Google Scholar] [CrossRef]
- Okoye, C.M.I. Isotope shift exponent in two-band high-Tc superconductors with linear- energy-dependent electronic density of states. Phys. C Supercond. 1999, 313, 197–204. [Google Scholar] [CrossRef]
- Udomsamuthirun, P.; Kumvongsa, C.; Burakorn, A.; Changkanarth, P.; Yoksan, S. Effect of density of state on isotope effect exponent of two-band superconductors. Phys. C Supercond. 2005, 425, 149–154. [Google Scholar] [CrossRef]
- Chanpoom, T.; Ruangrungrote, S.; Udomsamuthirun, P. The Investigation of an Anomalous Isotope Exponent of Superconductors Under High Pressure in Weak-Coupling Limit. J. Low Temp. Phys. 2022, 207, 264–277. [Google Scholar] [CrossRef]
- Krzyzosiak, M.; Gonczarek, R.; Gonczarek, A.; Jacak, L. Simple analytical model of the effect of high pressure on the critical temperature and other thermodynamic properties of superconductors. Sci. Rep. 2018, 8, 7709. [Google Scholar] [CrossRef]
- Birch, F. Finite elastic strain of cubic crystals. Phys. Rev. 1947, 71, 809. [Google Scholar] [CrossRef]
- Birch, F. Finite strain isotherm and velocities for single-crystal and polycrystalline NaCl at high pressures and 300 K. J. Geophys. Res. 1978, 83, 1257–1268. [Google Scholar] [CrossRef]
- Murnaghan, F.D. The Compressibility of Media under Extreme Pressures. Proc. Natl. Acad. Sci. USA 1944, 30, 244–247. [Google Scholar] [CrossRef] [PubMed]
- Gonzalez-Platas, J.; Alvaro, M.; Nestola, F.; Angel, R. EosFit7-GUI: A new graphical user interface for equation of state calculations analyses and teaching. J. Appl. Crystallogr. 2016, 49, 1377–1382. [Google Scholar] [CrossRef]
- McMillan, W.L. Transition Temperature of Strong-Coupled Superconductors. Phys. Rev. 1968, 167, 331–344. [Google Scholar] [CrossRef]
- Allen, P.B.; Dynes, R.C. Transition temperature of strong-coupled superconductors reanalyzed. Phys. Rev. B 1975, 12, 905–922. [Google Scholar] [CrossRef]
- Kittel, C.; McEuen, P. Introduction to Solid State Physics; John Wiley & Sons, Ltd.: Hoboken, NJ, USA, 2018. [Google Scholar]
- Fetter, A.; Walecka, J. Quantum Theory of Many-Particle System, International ed.; MaGraw-Hill Inc.: New York, NY, USA, 1995. [Google Scholar]
- Buckel, W. Superconductivity: Fundamentals and Application, 2nd ed.; VCH Publishers Inc.: New York, NY, USA, 1991. [Google Scholar]
- Kim, H.T. Room-temperature-superconducting Tc driven by electron correlation. Sci. Rep. 2021, 11, 10329. [Google Scholar] [CrossRef]
- Sadovskii, M.V. Superconducting Transition Temperature for Very Strong Coupling in the Antiadiabatic Limit of Eliashberg Equations. JETP Lett. 2021, 113, 581–585. [Google Scholar] [CrossRef]
Disclaimer/Publisher’s Note: The statements, opinions and data contained in all publications are solely those of the individual author(s) and contributor(s) and not of MDPI and/or the editor(s). MDPI and/or the editor(s) disclaim responsibility for any injury to people or property resulting from any ideas, methods, instructions or products referred to in the content. |
© 2024 by the authors. Licensee MDPI, Basel, Switzerland. This article is an open access article distributed under the terms and conditions of the Creative Commons Attribution (CC BY) license (https://creativecommons.org/licenses/by/4.0/).






