Deep Learning Classification by ResNet-18 Based on the Real Spectral Dataset from Multispectral Remote Sensing Images
Abstract
1. Introduction
2. Materials and Methods
2.1. Data
2.1.1. Study Area
2.1.2. Remote Sensing Data
2.2. Methods
2.2.1. Pixel Spectral Reflectance Enhancement and Extraction
Vegetation, Soil, and Impervious Surfaces
- Pure-Pixel Spectral Reflectance Enhancement
- 2.
- Pixel Spectral Reflectance Extraction
Water-Pixel Spectral Reflectance Extraction
2.2.2. Accuracy Assessment
2.2.3. Abnormal Spectral Curve Removal and Dataset Establishment
Abnormal Spectral Curve Removal by Euclidean Distance
Dataset Establishment
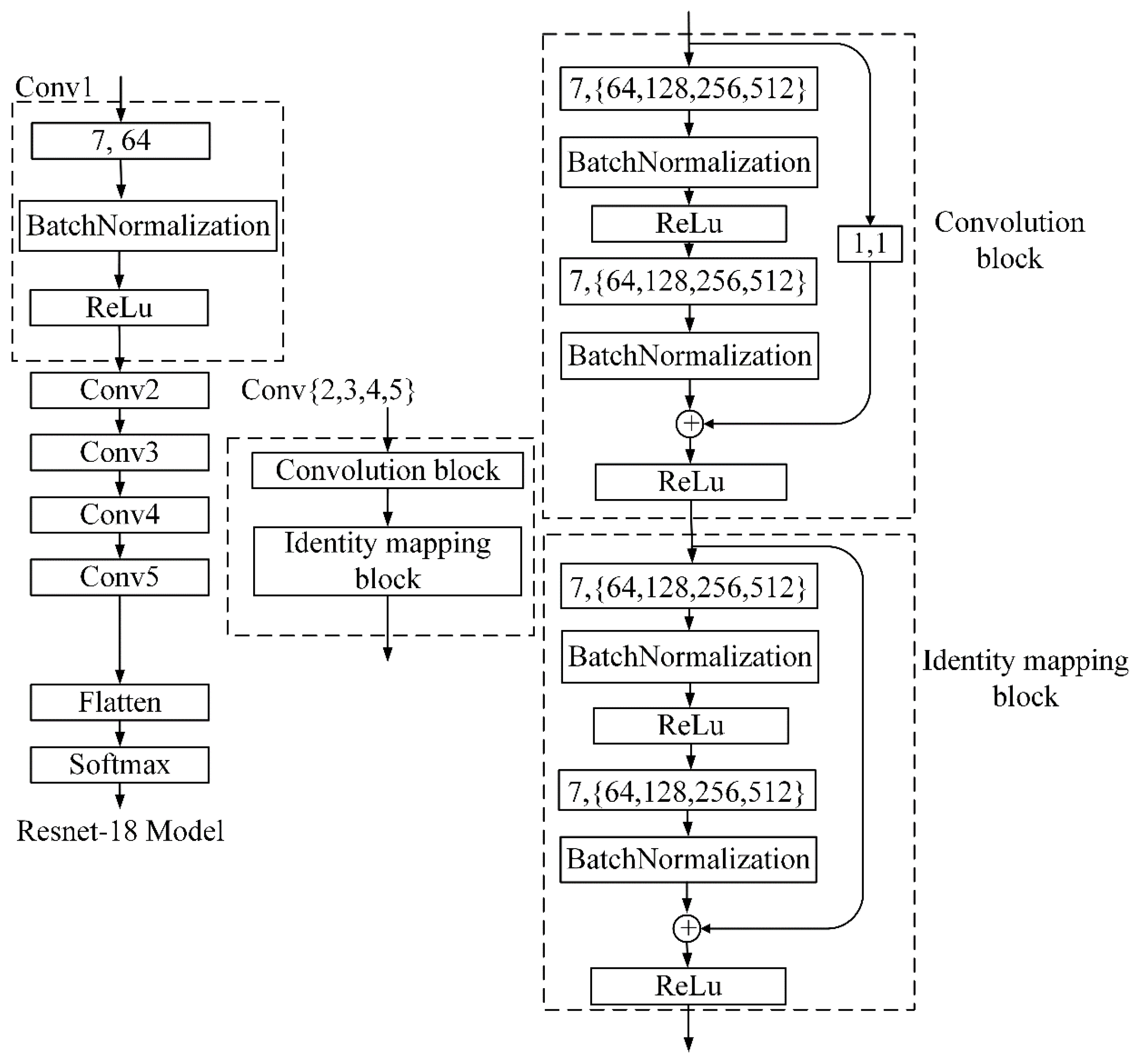
2.2.4. Deep Learning Model Establishment
2.2.5. Accuracy Verification Parameters
3. Results
3.1. Results of Vegetation, Soil, and Impervious Surface Extraction
3.2. Results of Water Extraction
3.3. Results of Classification
4. Discussion
5. Conclusions
- Based on the traditional classification method, the spectral reflectance data of the pixels in the multispectral remote sensing image were extracted and then filtered by the Euclidean distance to establish a sample library supporting the classification of the deep learning model, which reduces the workload and errors of training sample selection.
- When using the spectral unmixing method to identify target objects in multispectral remote sensing images, owing to the similar spectral characteristics of the objects, spectral errors such as the same spectrum for different objects and varying spectra for the same objects occurred; errors occurred in the selection of pure pixels. Using deep learning methods to extract target objects in multispectral remote sensing images, the various spectral characteristics of target objects in multiple backgrounds can be fully considered, and these spectral errors can be reduced. When the spectral index was used to identify target objects in multispectral remote sensing images, the threshold selection was often biased owing to the strong subjectivity of the experimenter. Using deep learning methods to extract target objects in multispectral remote sensing images can reduce subjectivity and improve the classification.
- During the selection of the pixel spectrum, the principles based on deep learning and spectral unmixing were completely different: the higher the spectral purity of the pixel selected in spectral unmixing, the more conducive it was to the improvement of the accuracy of the unmixing result. In the deep learning model, pixel spectral information was used as a training sample, and the outlier of the spectral information of the target ground object also needed to be eliminated. However, certain amounts of spectral data are needed as samples for deep learning training to fully learn the spectral features of the target ground object and then carry out the classification of the ground object. In other words, incorporating all spectral features of all pixels of the target object to the extent possible is crucial.
Author Contributions
Funding
Data Availability Statement
Acknowledgments
Conflicts of Interest
References
- Peng, W. Remote Sensing Instruction; Higher Education Press: Beijing, China, 2002; pp. 47–57. [Google Scholar]
- Tang, G. Remote Sensing Digital Image Processing; China Science Publishing & Media Ltd. (CSPM): Beijing, China, 2004. [Google Scholar]
- Liu, T.; Gu, Y.; Jia, X. Class-guided coupled dictionary learning for multispectral-hyperspectral remote sensing image collaborative classification. Sci. China Technol. Sci. 2022, 65, 744–758. [Google Scholar] [CrossRef]
- Zhao, Y.; Xu, J.; Zhong, K.; Wang, Y.; Hu, H.; Wu, P. Impervious Surface Extraction by Linear Spectral Mixture Analysis with Post-Processing Model. IEEE Access 2020, 8, 128476–128489. [Google Scholar] [CrossRef]
- Zhao, Y.; Xu, J.; Zhong, K.; Wang, Y.; Hu, H.; Wu, P. Impervious surface extraction based on Sentinel—2A and Landsat 8. Remote Sens. Land Resour. 2021, 33, 40–47. [Google Scholar] [CrossRef]
- Li, W. Mapping urban impervious surfaces by using spectral mixture analysis and spectral indices. Remote Sens. 2020, 12, 94. [Google Scholar] [CrossRef]
- Huete, A.; Didan, K.; Miura, T.; Rodriguez, E.P.; Gao, X.; Ferreira, L.G. Overview of the radiometric and biophysical performance of the MODIS vegetation indices. Remote Sens. Environ. 2002, 83, 195–213. [Google Scholar] [CrossRef]
- Rasul, A.; Balzter, H.; Ibrahim, G.R.F.; Hameed, H.M.; Wheeler, J.; Adamu, B.; Ibrahim, S.a.; Najmaddin, P.M. Applying built-up and bare-soil indices from Landsat 8 to cities in dry climates. Land 2018, 7, 81. [Google Scholar] [CrossRef]
- Spectroscopy Lab. Available online: https://www.usgs.gov/labs/spectroscopy-lab (accessed on 5 August 2022).
- Deng, Y. RNDSI: A ratio normalized difference soil index for remote sensing of urban/suburban environments. Int. J. Appl. Earth Obs. Geoinf. 2015, 39, 40–48. [Google Scholar] [CrossRef]
- Xu, H. A New Remote Sensing lndex for Fastly Extracting Impervious Surface Information. Geomat. Inf. Sci. Wuhan Univ. 2008, 33, 1150–1153+1211. [Google Scholar] [CrossRef]
- Xu, H. Analysis of Impervious Surface and its Impact on Urban Heat Environment using the Normalized Difference Impervious Surface Index (NDISI). Photogramm. Eng. Remote Sens. 2010, 76, 557–565. [Google Scholar] [CrossRef]
- Zha, Y.; Gao, J.; Ni, S. Use of normalized difference built-up index in automatically mapping urban areas from TM imagery. Int. J. Remote Sens. 2003, 24, 583–594. [Google Scholar] [CrossRef]
- Wang, Z.; Gang, C.; Li, X.; Chen, Y.; Li, J.; Gang, C.; Li, X.; Chen, Y.; Li, J. Application of a normalized difference impervious index (NDII) to extract urban impervious surface features based on Landsat TM images. Int. J. Remote Sens. 2015, 36, 1055–1069. [Google Scholar] [CrossRef]
- Deng, C.; Wu, C. BCI: A biophysical composition index for remote sensing of urban environments. Remote Sens. Environ. 2012, 127, 247–259. [Google Scholar] [CrossRef]
- Kawamura, M.; Jayamana, S.; Tsujiko, Y. Relation between social and environmental conditions in Colombo Sri Lanka and the Urban Index estimated by satellite remote sensing data. Int. Arch. Photogramm. Remote Sens. 1996, 31, 321–326. [Google Scholar]
- Xu, H. A study on information extraction of water body with the modified normalized difference water index (MNDWI). J. Remote Sens. 2005, 9, 589–595. [Google Scholar]
- Fan, F. The application and evaluation of two methods based on LSMM model—A case study in Guangzhou. Remote Sens. Technol. Appl. 2008, 023, 272–277. [Google Scholar]
- Weng, Q.; Lu, D. A sub-pixel analysis of urbanization effect on land surface temperature and its interplay with impervious surface and vegetation coverage in Indianapolis, United States. Int. J. Appl. Earth Obs. Geoinf. 2008, 10, 68–83. [Google Scholar] [CrossRef]
- Ridd, M.K. Exploring a V-I-S (vegetation-impervious surface-soil) model for urban ecosystem analysis through remote sensing: Comparative anatomy for cities†. Int. J. Remote Sens. 1995, 16, 2165–2185. [Google Scholar] [CrossRef]
- Zhang, H.; Lin, H.; Zhang, Y.; Weng, Q. Remote Sensing of Impervious Surfaces: In Tropical and Subtropical Areas; CRC Press: Boca Raton, FL, USA, 2015; pp. 10–12. [Google Scholar]
- Wu, C.; Murray, A.T. Estimating impervious surface distribution by spectral mixture analysis. Remote Sens. Environ. 2003, 84, 493–505. [Google Scholar] [CrossRef]
- Weng, Q. Remote sensing of impervious surfaces in the urban areas: Requirements, methods, and trends. Remote Sens. Environ. 2012, 117, 34–49. [Google Scholar] [CrossRef]
- Chen, Z.; Wu, W. A review on endmember extraction algorithms based on the linear mixing model. Sci. Surv. Mapp. 2008, 33, 49–51. [Google Scholar]
- Phinn, S.; Stanford, M.; Scarth, P.; Murray, A.T.; Shyy, P.T. Monitoring the composition of urban environments based on the vegetation-impervious surface-soil (VIS) model by subpixel analysis techniques. Int. J. Remote Sens. 2002, 23, 4131–4153. [Google Scholar] [CrossRef]
- Rashed, T.; Weeks, J.R.; Gadalla, M.S. Revealing the anatomy of cities through spectral mixture analysis of multispectral satellite imagery: A case study of the greater Cairo region, Egypt. Geocarto Int. 2001, 16, 5–15. [Google Scholar] [CrossRef]
- Wang, Q.; Lin, Q.; Li, M.; Wang, L. Comparison of two spectral mixture analysis models. Spectrosc. Spectr. Anal. 2009, 29, 2602–2605. [Google Scholar]
- Fan, F.; Wei, F.; Weng, Q. Improving urban impervious surface mapping by linear spectral mixture analysis and using spectral indices. Can. J. Remote Sens. 2015, 41, 577–586. [Google Scholar] [CrossRef]
- Zhao, Y.; Xu, J.; Zhong, K.; Wang, Y.; Zheng, Q. Extraction of urban impervious surface in Guangzhou by LSMA with NDBI. Geospat. Inf. 2018, 16, 90–93. [Google Scholar]
- Krizhevsky, A.; Sutskever, I.; Hinton, G. ImageNet classification with deep convolutional neural networks. Adv. Neural Inf. Process. Syst. 2012, 25. [Google Scholar] [CrossRef]
- Hinton, G.E.; Salakhutdinov, R.R. Reducing the dimensionality of data with neural networks. Science 2006, 313, 504–507. [Google Scholar] [CrossRef]
- Liu, C. Extraction Based on Deep Learning Supported by Spectral Library: Taking Qingdao as an Example. Master’s Thesis, Shandong University of Science and Technology, Qingdao, China, 2020. [Google Scholar]
- Feng, S.; Fan, F. Analyzing the effect of the spectral interference of mixed pixels using hyperspectral imagery. IEEE J. Sel. Top. Appl. Earth Obs. Remote Sens. 2021, 14, 1434–1446. [Google Scholar] [CrossRef]
- Wang, D.; Yang, R.; Liu, H.; He, H.; Tan, J.; Li, S.; Qiao, Y.; Tang, K.; Wang, X. HFENet: Hierarchical Feature Extraction Network for Accurate Landcover Classification. Remote Sens. 2022, 14, 4244. [Google Scholar] [CrossRef]
- Yu, J.; Zeng, P.; Yu, Y.; Yu, H.; Huang, L.; Zhou, D. A Combined Convolutional Neural Network for Urban Land-Use Classification with GIS Data. Remote Sens. 2022, 14, 1128. [Google Scholar] [CrossRef]
- Liu, R.; Tao, F.; Liu, X.; Na, J.; Leng, H.; Wu, J.; Zhou, T. RAANet: A Residual ASPP with Attention Framework for Semantic Segmentation of High-Resolution Remote Sensing Images. Remote Sens. 2022, 14, 3109. [Google Scholar] [CrossRef]
- Yu, J.; Du, S.; Xin, Z.; Huang, L.; Zhao, J. Application of a convolutional neural network to land use classification based on GF-2 remote sensing imagery. Arab. J. Geosci. 2021, 14, 1–14. [Google Scholar] [CrossRef]
- Karra, K.; Kontgis, C.; Statman-Weil, Z.; Mazzariello, J.C.; Mathis, M.; Brumby, S.P. Global land use/land cover with Sentinel 2 and deep learning. In Proceedings of the 2021 IEEE international geoscience and remote sensing symposium IGARSS, Brussels, Belgium, 11–16 July 2021; pp. 4704–4707. [Google Scholar]
- Parekh, J.; Poortinga, A.; Bhandari, B.; Mayer, T.; Saah, D.; Chishtie, F. Automatic Detection of Impervious Surfaces from Remotely Sensed Data Using Deep Learning. Remote Sens. 2021, 13, 3166. [Google Scholar] [CrossRef]
- Manickam, M.T.; Rao, M.K.; Barath, K.; Vijay, S.S.; Karthi, R. Convolutional Neural Network for Land Cover Classification and Mapping Using Landsat Images, Innovations in Computer Science and Engineering; Springer: Berlin/Heidelberg, Germany, 2022; pp. 221–232. [Google Scholar] [CrossRef]
- Mishra, V.K.; Swarnkar, D.; Pant, T. A Modified Neural Network for Land use Land Cover Mapping of Landsat-8 Oli Data. In Proceedings of the 2021 IEEE International India Geoscience and Remote Sensing Symposium (InGARSS), Ahmedabad, India, 6–10 December 2021; pp. 65–69. [Google Scholar] [CrossRef]
- Meerdink, S.K.; Hook, S.J.; Roberts, D.A.; Abbott, E.A. The ECOSTRESS spectral library version 1.0. Remote Sens. Environ. 2019, 230, 111196. [Google Scholar] [CrossRef]
- Baldridge, A.M.; Hook, S.J.; Grove, C.I.; Rivera, G. The ASTER spectral library version 2.0. Remote Sens. Environ. 2009, 113, 711–715. [Google Scholar] [CrossRef]
- ASU Thermal Emission Spectral Librar. Available online: http://tes.asu.edu/spectral/library/ (accessed on 5 August 2022).
- Mineral Spectral Server. Available online: http://minerals.gps.caltech.edu/ (accessed on 5 August 2022).
- CRISM Spectral Library. Available online: http://pds-geosciences.wustl.edu/missions/mro/spectral_library.htm (accessed on 5 August 2022).
- Bishop Spectral Library. Available online: https://dmp.seti.org/jbishop/spectral-library.html (accessed on 5 August 2022).
- Johns Hopkins University Spectral Library. Available online: http://speclib.jpl.nasa.gov/documents/jhu_desc (accessed on 5 August 2022).
- View_SPECPR: Software for Plotting Spectra (Installation Manual and User’s Guide, Version 1.2). Available online: http://pubs.usgs.gov/of/2008/1183/ (accessed on 5 August 2022).
- Li, W. Study on Extraction Method of Inland Surfacewater Body Based on Pixel Unmixing—A Case Study of Different Water Body Types in the Yellow River Basin. Master’s Thesis, Northwest University, Xi’an, China, 2017. [Google Scholar]
- Xu, J.; Zhao, Y.; Xiao, M.; Zhong, K.; Ruan, H. Relationship of air temperature to NDVl and NDBl in Guangzhou City using spatial autoregressive model. Remote Sens. Land Resour. 2018, 30, 186–194. [Google Scholar] [CrossRef]
- Xu, J.; Zhao, Y.; Zhong, K.; Zhang, F.; Liu, X.; Sun, C. Measuring spatio-temporal dynamics of impervious surface in Guangzhou, China, from 1988 to 2015, using time-series Landsat imagery. Sci. Total Environ. 2018, 627, 264–281. [Google Scholar] [CrossRef] [PubMed]
- Liao, P.; Chen, T.; Chung, P. A fast algorithm for multilevel thresholding. J. Inf. Sci. Eng. 2001, 17, 713–727. [Google Scholar]
- Ou, X.; Chang, Q.; Chakraborty, N. Simulation study on reward function of reinforcement learning in gantry work cell scheduling. J. Manuf. Syst. 2019, 50, 1–8. [Google Scholar] [CrossRef]
- He, K.; Zhang, X.; Ren, S.; Sun, J. “Deep Residual Learning for Image Recognition”. In Proceedings of the 2016 IEEE Conference on Computer Vision and Pattern Recognition (CVPR), Las Vegas, NV, USA, 27–30 June 2016; pp. 770–778. [Google Scholar] [CrossRef]













| Band Name | Landsat 8 OLI | Sentinel-2A MSI | ||||
|---|---|---|---|---|---|---|
| Band Number | Resolution (m) | Wavelength (μm) | Band Number | Resolution (m) | Wavelength (μm) | |
| Coastal | B1 | 30 | 0.433–0.453 | |||
| Blue | B2 | 30 | 0.450–0.515 | B2 | 10 | 0.458–0.523 |
| Green | B3 | 30 | 0.525–0.600 | B3 | 10 | 0.543–0.578 |
| Red | B4 | 30 | 0.630–0.680 | B4 | 10 | 0.650–0.680 |
| NIR | B5 | 30 | 0.845–0.885 | B8 | 10 | 0.785–0.900 |
| SWIR 1 | B6 | 30 | 1.560–1.660 | B11 | 20 | 0.855–0.875 |
| SWIR 2 | B7 | 30 | 2.100–2.300 | B12 | 20 | 2.100–2.280 |
| Experiments | Threshold I | Threshold II (High IS/Low IS/Soil/Water/Vegetation) |
|---|---|---|
| Experiment 1 | 0.75 | 999/999/999/999 |
| Experiment 2 | 0.75 | 1.2/1.0/0.5/1.3/0.3 |
| Experiment 3 | 0.85 | 999/999/999/999 |
| Experiment 4 | 0.85 | 1.2/1.0/0.5/1.3/0.3 |
| Threshold I | Threshold II (High IS/Low IS/Soil/Water/Vegetation) | Kappa | OA |
|---|---|---|---|
| 0.75 | 999/999/999/999 | 0.7736 | 0.8786 |
| 1.2/1.0/0.5/1.3/0.3 | 0.8288 | 0.9098 | |
| 0.85 | 999/999/999/999 | 0.8156 | 0.9013 |
| 1.2/1.0/0.5/1.3/0.3 | 0.8808 | 0.9436 |
Publisher’s Note: MDPI stays neutral with regard to jurisdictional claims in published maps and institutional affiliations. |
© 2022 by the authors. Licensee MDPI, Basel, Switzerland. This article is an open access article distributed under the terms and conditions of the Creative Commons Attribution (CC BY) license (https://creativecommons.org/licenses/by/4.0/).
Share and Cite
Zhao, Y.; Zhang, X.; Feng, W.; Xu, J. Deep Learning Classification by ResNet-18 Based on the Real Spectral Dataset from Multispectral Remote Sensing Images. Remote Sens. 2022, 14, 4883. https://doi.org/10.3390/rs14194883
Zhao Y, Zhang X, Feng W, Xu J. Deep Learning Classification by ResNet-18 Based on the Real Spectral Dataset from Multispectral Remote Sensing Images. Remote Sensing. 2022; 14(19):4883. https://doi.org/10.3390/rs14194883
Chicago/Turabian StyleZhao, Yi, Xinchang Zhang, Weiming Feng, and Jianhui Xu. 2022. "Deep Learning Classification by ResNet-18 Based on the Real Spectral Dataset from Multispectral Remote Sensing Images" Remote Sensing 14, no. 19: 4883. https://doi.org/10.3390/rs14194883
APA StyleZhao, Y., Zhang, X., Feng, W., & Xu, J. (2022). Deep Learning Classification by ResNet-18 Based on the Real Spectral Dataset from Multispectral Remote Sensing Images. Remote Sensing, 14(19), 4883. https://doi.org/10.3390/rs14194883

